Visonic MCT-340 SMA Door / Window Sensor

INTRODUCTION
The MCT-340 is a fully supervised, wireless magnetic door / window sensor, for use with ZigBee enabled home security panels. The sensor includes a built-in reed switch (that opens upon removal of a magnet placed near it).
The MCT-340 tamper switch is activated when the cover is removed.
A periodic supervision message is transmitted automatically. The target receiver is thus informed, at regular intervals, of the unit’s active participation in the system.
Operating power is obtained from an on-board 3 V Lithium battery. When the battery voltage is low, a “low battery” message will be sent to the receiver 60 days before expiration of battery life (for operation in room temperature).

SPECIFICATIONS
| WIRELESS | |
| Supported Network | ZigBee H.A 1.2 |
| Frequency | 2.4 GHz as per IEEE 802.15.4 |
| Tamper Alert | Reported when a tamper event occurs and in any subsequent message, until the tamper switch is restored. |
| ELECTRICAL | |
| Internal Battery: | 3V Lithium battery, type CR2032. Use Varta only. |
| Nominal Battery Capacity | 230 mAh |
| Battery Life Expectancy | 3 years (for typical use). |
| Note: Inability to connect with wireless network, or wireless link quality no higher than 20% may significantly reduce the expected battery life. | |
| Battery Power Test | Performed immediately upon battery insertion and periodically every several hours |
| Battery Supervision | Automatic transmission of battery condition data as part of any status report. |
| ENVIRONMENTAL | |
| Operating Temperature | 0°C to 55°C (32°F to 131°F). |
| Dimensions | 66 x 25 x 10 mm (2-9/16 x 1 x 6/16 in.) |
| Weight (including battery) | 15g (0.5 oz) |
ACTIVATING AND PAIRING THE SENSOR
To pair the sensor to the security panel, you must set it to pairing mode.
- First set the panel to pairing mode and then the sensor.
- To activate, pull the activation strip (from either side) that protrudes from the back of the sensor.
- The LED blinks 3 times every 5 seconds (repeated for up to 20 times) to indicate that the sensor is searching for a security panel.
Note: If sensor pairing is not successful during the searching process by tripping the door / window sensor or by pressing the tamper switch the searching process will restart. - Complete the pairing procedure on the security panel (see the pairing instructions in the security panel’s installation guide).
Note: Pairing should be performed before installation.
INSTALLATION AND SENSOR TESTING
CAUTION: This equipment shall be installed by Service Personnel in non-hazardous indoor locations only.
Mounting
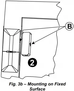
NOTE: It is highly recommended to attach the door / window sensor to the top of the door/window on the fixed frame and the magnet to the movable part (door or window). Make sure that the magnet is located not more than 6 mm (0.25 in.) from the sensor’s marked side.
The sensor should be mounted on the fixed surface and the magnet on the moving surface (see Figure 3b).
- Peel away the release liners from the two strips of double-sided adhesive tape and attach to the device and magnet.

- Align the device with the magnet according to the location marks and fasten the device and magnet to the mounting surface. The sensor should be mounted on the fixed surface and magnet on the moving surface.

A. Double-sided adhesive tape
B. Magnetic location marks
Note: Silicone can also be used to securely mount the device and magnet.
Sensor Testing
Close the door or window, thus restoring it to the undisturbed state
BATTERY REPLACEMENT


- Press down on the battery cover and slide in the direction shown in Figure 4a to open.
- Pull back on the clip and remove the battery as shown in Figure 4b.
- Insert the new battery into the sensor while observing battery polarity (see Figure 4b).
- Close the battery cover.
Note: The required battery is CR2032 Lithium 3V, manufactured by
REBOOTING THE SENSOR
You can reboot the sensor, as follows:
- Remove the battery cover.
- Press and release the tamper switch for 1 to 2 sec. (see Figure 4b).
- Close the battery cover.
DEFAULTING THE SENSOR
| CAUTION! The defaulting process removes the device from the network and enables re-¬pairing |
Open the battery cover and pull back the clip to remove the battery (see Figure 4).
- Press and hold down the sensor’s tamper switch (see Figure 4b).
- Insert the battery into the sensor while observing battery polarity (see Figure 4b).
- Release the tamper switch within 4 seconds (the LED blinks 3 times every 5 seconds).
- To re-pair the sensor, follow the instructions in section 3.
TROUBLESHOOTING
If you encounter one of the following problems with the MCT-340 SMA, perform the suggested remedy.
Problem | Remedy |
| Attempt to pair the sensor is unsuccessful. | Make sure that the sensor has been defaulted and is set to pairing mode (see section 4). |
| Make sure the security panel supports the MCT-340 SMA. | |
| The sensor and the panel do not communicate. | Perform the signal strength testing procedure described in the security panel installation manual. Make sure that the signal is sufficient. If necessary, replace the sensor’s battery. |
| The sensor sends a Low Battery indication. | To ensure continuous proper operation, replace the battery within two weeks of the first Low Battery indication. |
| Panel does not arm because of an unrecognized sensor malfunction | Consult with your installer or system provider before you disable a zone. Disable the detector zone (see the security panel user manual). Note that disabling a sensor zone lowers the overall security level of your system. |
COMPLIANCE WITH STANDARDS
FCC
| This device complies with Part 15 of the FCC Rules and RSS-210 of Industry and Science Canada. Operation is subject to the following two conditions: (1) This device may not cause harmful interference, and (2) this device must accept any interference received, including interference that may cause undesired operation. This device complies with Industry Canada license-exempt RSS standard(s). Operation is subject to the following two conditions: (1) this device may not cause interference, and (2) this device must accept any interference, including interference that may cause undesired operation of the device. |
FCC ID: WP3MCT340SMA
IC: 1467CMCT340SMA
Reed Switch Positions
Note: Dimensions in the following table are typical.
Wood | Supports | Iron | ||
Opening | Closing | Direction | Opening | Closing |
| 15 mm | 14 mm | X | 13 mm | 12 mm |
29 mm | 24 mm | Y | 11 mm | 8 mm |
| 37 mm | 31 mm | Z | 11 mm | 8 mm |

USA/CANADA
Complies with:
USA: CFR 47 part 15, Canada: RSS 210.
ANSI/UL 634, ULC – S306
FCC Compliance Statement
This device has been tested and found to comply with the limits for a Class B digital device, pursuant to Part 15 of the FCC Rules. These limits are designed to provide reasonable protection against harmful interference in residential installations. This equipment generates uses and can radiate radio frequency energy and, if not installed and used in accordance with the instructions, may cause harmful interference to radio and television reception.
However, there is no guarantee that interference will not occur in a particular installation. If this device does cause such interference, which can be verified by turning the device off and on, the user is encouraged to eliminate the interference by one or more of the following measures:
– Re-orient or re-locate the receiving antenna.
– Increase the distance between the device and the receiver.
– Connect the device to an outlet on a circuit different from the one that supplies power to the receiver.
– Consult the dealer or an experienced radio/TV technician.
WARNING! Changes or modifications to this unit not expressly approved by the party responsible for compliance could void the user’s authority to operate the equipment.
PRODUCT LIMITATIONS
Visonic Ltd. wireless systems are very reliable and are tested to high standards. However, due to low transmitting power and limited range (required by FCC and other regulatory authorities), there are some limitations to be considered:
A. Receivers may be blocked by radio signals occurring on or near their operating frequencies, regardless of the digital code used.
B. A receiver responds only to one transmitted signal at a time.
C. Wireless devices should be tested regularly to determine whether there are sources of interference and to protect against faults.
The user is cautioned that changes or modifications to the unit, not expressly approved by Visonic Ltd., could void the user’s FCC or other authority to operate the equipment.
| W.E.E.E. Product Recycling Declaration For information regarding the recycling of this product you must contact the company from which you originally purchased it. If you are discarding this product and not returning it for repair then you must ensure that it is returned as identified by your supplier. This product is not to be thrown away with everyday waste. Directive 2002/96/EC Waste Electrical and Electronic Equipment. |
EMAIL: [email protected]
INTERNET: www.visonic.com
©VISONIC LTD. 2014 MCT-340 SMA D-305291 (Rev, 10/14) Please refer to the separate Warranty statement






















