PRO-FORM 500 SPX

| Model No. PFEX03820.0 Serial No. ______________ Write the serial number in the space above for reference. |
| ACTIVATE YOUR WARRANTY |
| To register your product and activate your warranty today, go to my.proform.com. |
| CUSTOMER CARE |
| For service at any time, go to support.proform.com. Or call 1-888-533-1333 Mon.–Fri. 6 a.m.–6 p.m. MT Sat. 8 a.m.–12 p.m. MT Please do not contact the store. |
Read all precautions and instructions in this manual before using this equipment. Keep this manual for future reference. |
WARNING DECAL PLACEMENT
| This drawing shows the location(s) of the warning decal(s). If a decal is missing or illegible, see the front cover of this manual and request a free replacement decal. Apply the decal in the location shown. Note: The decal(s) may not be shown at actual size.
|
IMPORTANT PRECAUTIONS
WARNING: To reduce the risk of serious injury, read all important precautions and instructions in this manual and all warnings on your exercise bike before using your exercise bike.
ICON assumes no responsibility for personal injury or property damage sustained by or through the use of this product.
- It is the responsibility of the owner to ensure that all users of the exercise bike are adequately informed of all precautions.
- Before beginning any exercise program, consult your physician. This is especially important for persons over age 35 or persons with pre-existing health problems.
- The exercise bike is not intended for use by persons with reduced physical, sensory, or mental capabilities or lack of experience and knowledge, unless they are given supervision or instruction about use of the exercise bike by someone responsible for their safety.
- Use the exercise bike only as described in this manual.
- The exercise bike is intended for home use only. Do not use the exercise bike in a commercial, rental, or institutional setting.
- Keep the exercise bike indoors, away from moisture and dust. Do not put the exercise bike in a garage or covered patio, or near water.
- Place the exercise bike on a level surface, with a mat beneath it to protect the floor or carpet. Make sure that there is at least 2 ft. (0.6 m) of clearance around the exercise bike.
- Inspect and properly tighten all parts each time the exercise bike is used. Replace any worn parts immediately.
- Keep children under age 16 and pets away from the exercise bike at all times.
- Wear appropriate clothes while exercising; do not wear loose clothes that could become caught on the exercise bike. Always wear athletic shoes for foot protection.
- The exercise bike should not be used by persons weighing more than 250 lbs. (113 kg).
- Be careful when mounting and dismounting the exercise bike.
- Always keep your back straight while using the exercise bike; do not arch your back.
- The exercise bike does not have a freewheel; the pedals will continue to move until the flywheel stops. Reduce your pedaling speed in a controlled way.
- To stop the flywheel quickly, press the resistance knob downward.
- When the exercise bike is not in use, tighten the resistance knob completely to prevent the flywheel from moving.
- To avoid damaging the brake pads, do not lubricate the brake pads.
- Over exercising may result in serious injury or death. If you feel faint, if you become short of breath, or if you experience pain while exercising, stop immediately and cool down.

BEFORE YOU BEGIN
Thank you for selecting the new PROFORM® 500 SPX exercise bike. Cycling is an effective exercise for increasing cardiovascular fitness, building endurance, and toning the body. The 500 SPX exercise bike provides a selection of features designed to make your workouts at home more effective and enjoyable.
For your benefit, read this manual carefully before you use the exercise bike. If you have questions after reading this manual, please see the front cover of this manual. To help us assist you, note the product model number and serial number before contacting us. The model number and the location of the serial number decal are shown on the front cover of this manual.
Before reading further, please familiarize yourself with the parts that are labeled in the drawing below.

PART IDENTIFICATION CHART
Use the drawings below to identify the small parts needed for assembly. The number in parentheses below each drawing is the key number of the part, from the PART LIST near the end of this manual. The number following the key number is the quantity needed for assembly. Note: If a part is not in the hardware kit, check to see if it has been preassembled. Extra parts may be included.

ASSEMBLY
- To hire an authorized service technician to assemble this product, call 1-800-445-2480.
- Assembly requires two persons.
- Place all parts in a cleared area and remove the packing materials. Do not dispose of the packing materials until you finish all assembly steps.
- Left parts are marked “L” or “Left” and right parts are marked “R” or “Right.”
- To identify small parts, Check above.
- In addition to the included tool(s), assembly requires the following tool(s):
one adjustable wrench
one rubber mallet
Assembly may be easier if you have a set of wrenches. To avoid damaging parts, do not use power tools.
- Go to my.proform.com on your computer and register your product.
• documents your ownership
• activates your warranty
• ensures priority customer support if assistance is ever needed
Note: If you do not have internet access, call Customer Care (see the front cover of this manual) and register your product.
- If there are shipping tubes (not shown) attached to the front and rear of the Frame (1), remove and discard the shipping tubes and the hardware attaching them.
Orient the Front Stabilizer (4) as shown.
Attach the Front Stabilizer (4) to the Frame (1) with two M8 x 55mm Carriage Bolts (9), two M8 Washers (3), and two M8 Flange Nuts (2).
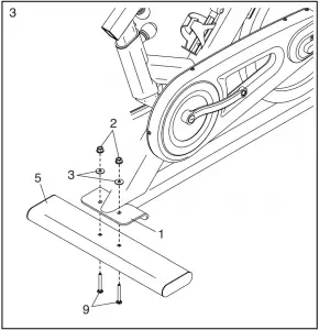
- Attach the Rear Stabilizer (5) to the Frame (1) with two M8 x 55mm Carriage Bolts (9), two M8 Washers (3), and two M8 Flange Nuts (2).

- Locate the Adjustment Knob (A) on the rear of the Frame (1). Loosen the Adjustment Knob, pull it outward, remove the Saddle Post (6), and release the Adjustment Knob.
Orient the Saddle Post (6) as shown. Next, pull the Adjustment Knob (A) outward, insert the Saddle Post into the Frame (1), move it upward or downward to the desired position, and then release the Adjustment Knob into an adjustment hole in the Saddle Post. Tighten the Adjustment Knob. Make sure that the Adjustment Knob is firmly engaged in an adjustment hole.
Orient the Saddle Carriage (32) as shown. Next, locate the Adjustment Knob (B) on the Saddle Post (6). Then, loosen the Adjustment Knob, pull it downward, insert the Saddle Carriage into the Saddle Post, move it to the desired position, and then release the Adjustment Knob into an adjustment hole in the Saddle Carriage. Tighten the Adjustment Knob.
- Orient the Saddle (31) as shown.
Slide the Saddle (31) onto the Saddle Carriage (32); make sure that the Saddle is level and is pointing straight ahead. Then, tighten the two nuts (C) beneath the Saddle.
- Orient the Handlebar (7) and the Handlebar Post (72) as shown. Attach the Handlebar to the Handlebar Post with four M8 x 16mm Bolts (76) and four M8 Locknuts (77); start all the Locknuts, and then tighten them.
Next, locate the Adjustment Knob (15) on the front of the Frame (1). Loosen the Adjustment Knob and pull it outward. Then, insert the Handlebar Post (72) into the Frame. Move the Handlebar Post (72) upward or downward to the desired position, release the Adjustment Knob (15) into an adjustment hole in the Handlebar Post, and then tighten the Adjustment Knob. Make sure that the Adjustment Knob is firmly engaged in an adjustment hole.
- Identify the Right Pedal (11).
Using an adjustable wrench, firmly tighten the Right Pedal (11) clockwise into the Right Crank Arm (49).
Firmly tighten the Left Pedal (not shown) counterclockwise into the Left Crank Arm (not shown). IMPORTANT: You must turn the Left Pedal counterclockwise to attach it.
- The Console (58) can use two AAA batteries (not included); alkaline batteries are recommended.
Do not use old and new batteries together or alkaline, standard, and rechargeable batteries together. IMPORTANT: If the Console has been exposed to cold temperatures, allow it to warm to room temperature before you insert batteries. Otherwise, you may damage the console displays or other electronic components. Remove the battery cover, and insert the batteries into the battery compartment (D).
Make sure to orient the batteries as shown by the diagram inside the battery compartment.
Then, reattach the battery cover.
- Slide the Console (58) onto the Console Bracket (10) on the Handlebar (7).

- Hold the wire (E) on the Reed Switch (59) on the left side of the exercise bike as shown.
Connect the wire (E) on the Reed Switch (59) to the wire (F) on the Console (58).
- Insert the wire (E) on the Reed Switch (59) into the Clip (64) on the left side of the Frame (1).
Next, insert the Reed Switch (59) into the Clamp (30) on the Frame (1).
Then, rotate the Flywheel (37) so that the Magnet (20) is facing the Reed Switch (59).
See the inset drawing. Move the Reed Switch (59) so that it is 1/2″ (1–2 cm) away from the Magnet (20).
- Orient the Tablet Holder (73) as shown, and press it onto the Handlebar (7) in the location shown. Center the Tablet Holder on the Handlebar and rotate it forward or backward to the desired position.
While a second person holds the Tablet Holder (73) in place, attach the Tablet Holder with the Clamp Bracket (74) and two M6 x 40mm Screws (75) as shown in the inset drawing.
- After the exercise bike is assembled, inspect it to make sure that it is assembled correctly and that it functions properly. Make sure that all parts are properly tightened before you use the exercise bike.
Extra parts may be included. Place a mat under the exercise bike to protect the floor.
HOW TO USE THE EXERCISE BIKE
HOW TO ADJUST THE ANGLE OF THE SADDLE
You can adjust the angle of the saddle to the position that is most comfortable. You can also slide the saddle forward or backward to increase your comfort or to adjust the distance to the handlebar.
To adjust the saddle, loosen the nuts (A) on the saddle clamp a few turns, and then tilt the saddle upward or downward or slide the saddle forward or backward to the desired position. Then, retighten the nuts.
HOW TO LEVEL THE EXERCISE BIKE
If the exercise bike rocks slightly on your floor during use, turn one or more of the leveling feet on the front and rear stabilizers (see the drawing Above) until the rocking motion is eliminated
HOW TO ADJUST THE HORIZONTAL POSITION OF THE SADDLE
To adjust the position of the saddle, first loosen the adjustment knob (B) and pull it downward.
Then, move the saddle forward or backward, release the adjustment knob into an adjustment hole in the saddle carriage, and firmly tighten the adjustment knob. Make sure that the adjustment knob is engaged in an adjustment hole.
HOW TO ADJUST THE SADDLE POST
For effective exercise, the saddle should be at the proper height. As you pedal, there should be a slight bend in your knees when the pedals are in the lowest position.
To adjust the height of the saddle post, first loosen the adjustment knob
(C) and pull it outward. Then, move the saddle post upward or downward, release the adjustment knob into an adjustment hole in the saddle post, and firmly tighten the adjustment knob. Make sure that the adjustment knob is engaged in an adjustment hole.
HOW TO ADJUST THE HANDLEBAR POST
To adjust the height of the handlebar post, first loosen the adjustment knob (D) and pull it outward.
Then, move the handlebar post upward or downward, release the adjustment knob into an adjustment hole in the handlebar post, and firmly tighten the adjustment knob. Make sure that the adjustment knob is engaged in an adjustment hole.
HOW TO ADJUST THE PEDALING RESISTANCE
To increase the resistance of the pedals, turn the resistance knob (E) clockwise; to decrease the resistance, turn the resistance knob counterclockwise.
To stop the flywheel, push the resistance knob downward. The flywheel should quickly come to a complete stop.
IMPORTANT: When the exercise bike is not in use, tighten the resistance knob completely.
HOW TO USE THE TABLET HOLDER
IMPORTANT: The tablet holder (F) is designed for use with most full-size tablets. Do not place any other electronic device or object in the tablet holder.
To insert a tablet into the tablet holder (F), set the bottom edge of the tablet in the tray. Make sure that the tablet is firmly secured in the tablet holder. To adjust the position of the tablet holder, see assembly step 12 on page 12. Reverse these actions to remove the tablet from the tablet holder.
HOW TO MAINTAIN THE EXERCISE BIKE
Regular maintenance is important for optimal performance and to reduce wear. Inspect and properly tighten all parts each time the exercise bike is used.
Replace any worn parts immediately.
To clean the exercise bike, use a damp cloth and a small amount of mild detergent. IMPORTANT: To avoid damage to the console, keep liquids away from the console and keep the console out of direct sunlight.
HOW TO TROUBLESHOOT THE CONSOLE
If the console display becomes dim, replace the batteries (see assembly step 8 on page 10); most console problems are the result of low batteries.
If the exercise bike will not be used for an extended period of time, remove the batteries from the console.
HOW TO ADJUST THE REED SWITCH
If the console does not display correct feedback, the reed switch should be adjusted.
To adjust the reed switch, see assembly step 11 above. Slide the Reed Switch (59) slightly closer to or away from the Magnet (20). Then, turn the Flywheel (37) for a moment.
Repeat these actions until the console displays correct feedback.
FEATURES OF THE CONSOLE
The easy-to-use console features six modes that provide instant exercise feedback during your workouts.
Scan (SCAN)— This mode displays the time, speed, distance, calories, and odometer modes, for a few seconds each, in a repeating cycle.
Time (TIME)—This mode displays the elapsed time.
Note: If you set a time goal (see step 2 on this page), this display will show the time remaining in your workout.
Speed (SPEED)— This mode displays your pedaling speed, in miles per hour.
Distance (DIS)— This mode displays the distance that you have pedaled during your workout, in miles.
Note: If you set a distance goal (see step 2 on this page), this display will show the distance remaining in your workout.
Calories (CAL)— This mode displays the approximate number of calories you have burned during your workout. Note: If you set a calorie-burning goal (see step 2 on this page), this display will show the number of calories yet to be burned in your workout. Odometer (ODO)—This mode displays the total distance, in miles, that has been pedaled since the odometer was last reset. Note: To reset the odometer, remove the batteries from the console and then reinsert them.
HOW TO USE THE CONSOLE
Make sure that batteries (not included) are installed in the console (see assembly step 8 above). If there is a sheet of plastic on the console, remove the plastic.
- Turn on the console.
To turn on the console, press any button on the console or simply begin pedaling. - Set a workout goal if desired.
To set a time, distance, or calorie-burning goal for your workout, press the Mode button repeatedly until the word TIME, DIS, or CAL appears in the display. Make sure that the word SCAN does not appear in the display.
Next, press the Set button repeatedly to set a goal.
To set a goal quickly, hold down the Set button. To reset the goal, press and hold the Mode button until zeros appear in the display. - Begin pedaling and follow your progress with the display.
Scan mode— To select the scan mode, press the Mode button repeatedly until the word SCAN appears in the display.
Time, speed, distance, calories, or odometer mode— To select one of these modes for continuous display, press the Mode button repeatedly until the name of the desired mode appears in the display. Make sure that the word SCAN does not appear in the display.
As you exercise, the console will provide instant feedback about your workout.
When a workout goal is not set, an upward pointing arrow will appear in the display when the time, distance, or calories mode is selected. When a workout goal is set, a downward-pointing arrow will appear in the display when the time, distance, or calories mode is selected.
If you have set a workout goal, the display will count down and show zeros when you reach your goal; if you continue to exercise, the display will begin to count upward. - When you are finished exercising, the console will turn off automatically.
If the pedals do not move for a few seconds, the console will pause.
The console has an auto-off feature. If the pedals do not move and the console buttons are not pressed for a few minutes, the power will turn off automatically to save the batteries.
FCC INFORMATION
This equipment has been tested and found to comply with the limits for a Class B digital device, pursuant to part 15 of the FCC Rules. These limits are designed to provide reasonable protection against harmful interference in a residential installation. This equipment generates, uses, and can radiate radio frequency energy and, if not installed and used in accordance with the instructions, may cause harmful interference to radio communications.
However, there is no guarantee that interference will not occur in a particular installation. If this equipment does cause harmful interference to radio or television reception, which can be determined by turning the equipment off and on, try to correct the interference by one or more of the following measures:
- Reorient or relocate the receiving antenna.
- Increase the separation between the equipment and the receiver.
- Connect the equipment into an outlet on a circuit different from that to which the receiver is connected.
- Consult the dealer or an experienced radio/TV technician for help
FCC CAUTION: To assure continued compliance, use only shielded interface cables when connecting to computer or peripheral devices. Changes or modifications not expressly approved by the party responsible for compliance could void the user’s authority to operate this equipment.
EXERCISE GUIDELINES
These guidelines will help you to plan your exercise program. For detailed exercise information, obtain a reputable book or consult your physician. Remember, proper nutrition and adequate rest are essential for successful results.
EXERCISE INTENSITY
Whether your goal is to burn fat or to strengthen your cardiovascular system, exercising at the proper intensity is the key to achieving results. You can use your heart rate as a guide to find the proper intensity level.
The chart below shows recommended heart rates for fat burning and aerobic exercise.
To find the proper intensity level, find your age at the bottom of the chart (ages are rounded off to the nearest ten years). The three numbers listed above your age define your “training zone.” The lowest number is the heart rate for fat burning, the middle number is the heart rate for maximum fat burning, and the highest number is the heart rate for aerobic exercise.
Burning Fat—To burn fat effectively, you must exercise at a low intensity level for a sustained period of time. During the first few minutes of exercise, your body uses carbohydrate calories for energy. Only after the first few minutes of exercise does your body begin to use stored fat calories for energy. If your goal is to burn fat, adjust the intensity of your exercise until your heart rate is near the lowest number in your training zone. For maximum fat burning, exercise with your heart rate near the middle number in your training zone
Aerobic Exercise— If your goal is to strengthen your cardiovascular system, you must perform aerobic exercise, which is activity that requires large amounts of oxygen for prolonged periods of time. For aerobic exercise, adjust the intensity of your exercise until your heart rate is near the highest number in your training zone.
HOW TO MEASURE YOUR HEART RATE
To measure your heart rate, exercise for at least four minutes. Then, stop exercising and place two fingers on your wrist as shown. Take a six second heartbeat count, and multiply the result by 10 to find your heart rate. For example, if your six-second heartbeat count is 14, your heart rate is 140 beats per minute.
WORKOUT GUIDELINES
Warming Up— Start with 5 to 10 minutes of stretching and light exercise. A warm-up increases your body temperature, heart rate, and circulation in preparation for exercise.
Training Zone Exercise— Exercise for 20 to 30 minutes with your heart rate in your training zone. (During the first few weeks of your exercise program, do not keep your heart rate in your training zone for longer than 20 minutes.) Breathe regularly and deeply as you exercise; never hold your breath.
Cooling Down— Finish with 5 to 10 minutes of stretching. Stretching increases the flexibility of your muscles and helps to prevent post-exercise problems.
EXERCISE FREQUENCY
To maintain or improve your condition, complete three workouts each week, with at least one day of rest between workouts. After a few months of regular exercise, you may complete up to five workouts each week, if desired. Remember, the key to success is to make exercise a regular and enjoyable part of your everyday life.
PART LIST

Key No. | Qty. | Description |
| 1. | 1 | Frame |
| 2. | 4 | M8 Flange Nut |
| 3. | 10 | M8 Washer |
| 4. | 1 | Front Stabilizer |
| 5. | 1 | Rear Stabilizer |
| 6. | 1 | Saddle Post |
| 7. | 1 | Handlebar |
| 8. | 1 | Water Bottle Holder |
| 9. | 4 | M8 x 55mm Carriage Bolt |
| 10. | 1 | Console Bracket |
| 11. | 1 | Right Pedal |
| 12. | 1 | Left Pedal |
| 13. | 2 | M12 Flange Nut |
| 14. | 10 | #8 x 20mm Screw |
| 15. | 3 | Adjustment Knob |
| 16. | 1 | Brake Pad Assembly |
| 17. | 2 | M5 Locknut |
| 18. | 4 | M5 Washer |
| 19. | 2 | M5 x 30mm Bolt |
| 20. | 1 | Magnet |
| 21. | 1 | Brake Bracket |
| 22. | 6 | M8 Pulley Locknut |
| 23. | 1 | Brake Cover |
| 24. | 1 | Resistance Knob |
| 25. | 2 | Carriage Sleeve |
| 26. | 1 | Spring |
| 27. | 1 | Square Spacer |
| 28. | 1 | Resistance Spacer |
| 29. | 1 | Carriage Cap |
| 30. | 1 | Clamp |
| 31. | 1 | Saddle |
| 32. | 1 | Saddle Carriage |
| 33. | 1 | 3/8″ Square Nut |
| 34. | 1 | Drive Pulley |
| 35. | 1 | Crank |
| 36. | 1 | Axle |
| 37. | 1 | Flywheel |
| 38. | 9 | #10 x 12mm Screw |
| 39. | 1 | Outer Guard |
| 40. | 1 | Drive Belt |
| 41. | 1 | Drive Belt Guard Cover |
| 42. | 1 | Inner Guard |
| 43. | 1 | #12 x 15mm Screw |
| 44. | 1 | Brake Bracket Pad |
| 45. | 2 | Crank Cap |
| 46. | 2 | M8 x 18mm Screw |
| 47. | 1 | Left Crank Arm |
| 48. | 2 | Crank Bearing |
| 49. | 1 | Right Crank Arm/Sprocket |
| 50. | 2 | M6 x 40mm Bolt |
| 51. | 2 | Frame Sleeve |
| 52. | 2 | Wheel |
| 53. | 2 | M6 Locknut |
| 54. | 2 | M8 Nut |
| 55. | 4 | Leveling Foot |
| 56. | 2 | M8 x 55mm Bolt |
| 57. | 4 | 3/8″ Nut |
| 58. | 1 | Console |
| 59. | 1 | Reed Switch/Wire |
| 60. | 1 | M5 x 12mm Screw |
| 61. | 1 | Brake Cover Spacer |
| 62. | 4 | M6 Washer |
| 63. | 1 | Console Bracket Screw |
| 64. | 1 | Clip |
| 65. | 2 | Snap Ring |
| 66. | 2 | M12 Jam Nut |
| 67. | 1 | Axle Spacer |
| 68. | 2 | Flywheel Bearing |
| 69. | 4 | M12 Large Washer |
| 70. | 6 | M8 x 20mm Screw |
| 71. | 2 | M8 x 10mm Screw |
| 72. | 1 | Handlebar Post |
| 73. | 1 | Tablet Holder |
| 74. | 1 | Clamp Bracket |
| 75. | 2 | M6 x 40mm Screw |
| 76. | 4 | M8 x 16mm Bolt |
| 77. | 4 | M8 Locknut |
| * | – | Assembly Tool |
| * | – | User’s Manual |
Note: Specifications are subject to change without notice. For information about ordering replacement parts, see the back cover of this manual. *These parts are not illustrated.
ORDERING REPLACEMENT PARTS
To order replacement parts, please see the front cover of this manual. To help us assist you, be prepared to provide the following information when contacting us:
- the model number and serial number of the product (see the front cover of this manual)
- the name of the product (see the front cover of this manual)
- the key number and description of the replacement part(s) (see the PART LIST and the EXPLODED DRAWING near the end of this manual)
LIMITED WARRANTYIMPORTANT: To protect your fitness equipment with an extended service plan, Check above. |
| ICON Health & Fitness, Inc. (ICON) warrants this product to be free from defects in workmanship and material, under normal use and service conditions. The frame is warranted for five (5) years from the date of purchase. Parts and labor are warranted for ninety (90) days from the date of purchase. This warranty extends only to the original purchaser (customer) and is not transferrable. ICON’s obligation under this warranty is limited to repairing or replacing, at ICON’s option, the product through one of its authorized service providers. All repairs for which warranty claims are made must be preauthorized by ICON. If replacement parts are shipped while the product is under warranty, the customer will be responsible for a minimal handling charge. For in-home service, the customer may be responsible for a minimal trip charge. This warranty does not extend to freight damage to the product. This warranty will automatically be voided by the following conditions: (1) if the product is used as a store display model, (2) if the product is purchased or transported outside the USA, (3) if all instructions and warnings in this manual are not followed, (4) if the product is abused or improperly or abnormally used, or (5) if the product is used for commercial or rental purposes. No other warranty beyond that specifically set forth above is authorized by ICON. ICON is not responsible or liable for the following damages: (1) indirect, special, or consequential damages arising out of or in connection with the use or performance of the product; (2) damages with respect to any economic loss, loss of property, loss of revenues or profits, loss of enjoyment or use, or costs of removal or installation; or (3) other consequential damages of any kind. Some states do not allow the exclusion or limitation of incidental or consequential damages. Accordingly, the above limitation may not apply to the customer. The warranty extended hereunder is in lieu of any and all other warranties, and any implied warranties of merchantability or fitness for a particular purpose are limited in their scope and duration to the terms set forth herein. Some states do not allow limitations on how long an implied warranty lasts. Accordingly, the above limitation may not apply to the customer. This warranty provides specific legal rights; the customer may have other rights that vary from state to state. For warranty service, please call the telephone number on the front cover of this manual. Please be prepared to provide the model number and serial number of the product (see the front cover of this manual). ICON Health & Fitness, Inc., 1500 S. 1000 W., Logan, UT 84321-981 |
![]()
































