TAHOLI DJ-ES281632AAN Cooker Hood

SAFETY INSTRUCTIONS
This manual explains the proper installation and use of your cooker hood, please read it carefully before using even if you are familiar with the product. The manual should be kept in a safe place for future reference.
Never to do:
- Do not try to use the cooker hood without the grease filters or if the filters are excessively greasy!
- Do not install above a cooker with a high level grill.
- Do not leave frying pans unattended during use because overheated fats or oils might catch fire.
- Never leave naked flames under the cooker hood.

- If the cooker hood is damaged, do not attempt to use.
- Do not flambé under the cooker hood.
- CAUTION: Accessible parts may become hot when used with cooking appliances.
- The minimum distance between the supporting surface for the cooking vessels on the hob and the lowest part of the cooker hood. (When the cooker hood is located above a gas appliance, this distance shall be at least 65 cm)
- The air must not be discharged into a flue that is used for exhausting fumes from appliances burning gas or other fuels. Range hoods and other cooking fume extractors may adversely affect the safe operation of appliances burning gas or other fuels (including those in other rooms) due to back flow of combustion gases. These gases can potentially result in carbon monoxide poisoning. After installation of a range hood or other cooking fume extractor, the operation of open flued gas appliances should be tested by acompetent person to ensure that back flow of combustion gases does not occur.

Always to do:
- Important! Always switch off the electricity supply at the mains during installation and maintenance such as light bulb replacement.
- The cooker hood must be installed in accordance with the installation instructions and all measurements followed.
- All installation work must be carried out by a competent person or qualified electrician.
- Please dispose of the packing material carefully. Children are vulnerable to it.
- Pay attention to the sharp edges inside the cooker hood especially during installation and cleaning.
- Make sure the ducting has no bends sharper than 90 degrees as this will reduce the efficiency of the cooker hood.
- Warning: Failure to install the screws or fixing device in accordance with these instructions may result in electrical hazards.
- Warning: Before obtaining access to terminals, all supply circuits must be disconnected.
Always to do:
- Always put lids on pots and pans when cooking on a gas cooker.
- When in extraction mode, air in the room is being removed by the cooker hood. Please make sure that proper ventilation measures are being observed. The cooker hood removes odours from room but not steam.
- There shall be adequate ventilation of the room when the cooker hood is used at the same time as appliances burning gas or other fuels.
- Cooker hood is for domestic use only.
- If the supply cord is damaged, it must be replaced by the manufacturer, its service agent or similarly qualified persons in order to avoid a hazard.
- This appliance can be used by children aged from 8 years and above and persons with reduced physical, sensory or mental capabilities or lack of experience and knowledge if they have been given supervision or instruction concerning use of the appliance in a safe way and understand the hazards involved. Children shall not play with the appliance. Cleaning and user maintenance shall not be made by children without supervision.
- Caution: The appliance and its accessible parts can become hot during operation. Be careful to avoid touching the heating elements. Children younger than 8 years old should stay away unless they are under permanent supervision.
- There is a fire risk if cleaning is not carried out in accordance with the instructions.
- Regulations concerning the discharge of air have to be fulfilled.
- Clean your appliance periodically by following the method given in the chapter MAINTENANCE.
- For safety reason, please use only the same size of fixing or mounting screw which are recommended in this instruction manual.
- Regarding the details about the method and frequency of cleaning, please refer to maintenance and cleaning section in the instruction manual.
- Cleaning and user maintenance shall not be made by children without supervision.
- When the cooker hood and appliances supplied with energy other than electricity are simultaneously in operation, the negative pressure in the room must not exceed 4 Pa(4 x 10-5 bar).
- WARNING: Danger of fire: do not store items on the cooking surfaces.
- A steam cleaner is not to be used.
- NEVER try to extinguish a fire with water, but switch off the appliance and then cover flame e.g. with a lid or a fire blanket.
WARNING
- Before servicing or cleaning unit, unplug or disconnect the cooker hood from the power supply.
- TO REDUCE THE RISK OF A RANGE TOP GREASE FIRE:
A. Never leave surface units unattended at high settings. Boil overs cause smoking and greasy spillovers that may ignite. Heat oils slowly on low or medium settings.
B. Always turn hood ON when cooking at high heat or when flam being food (i.e. Crepes Suzette, Cherries Jubilee, Peppercorn Beef Flambé).
C. Clean ventilating fans frequently.
D. y. Grease should not be allowed to accumulate on fan or filter.
E. Use proper pan size. Always use cookware appropriate for the size of the surface element. - TO REDUCE THE RISK OF INJURY TO PERSONS IN THE EVENT OF A RANGE TOP GREASE FIRE, OBSERVE THE FOLLOWING:
A. SMOTHER FLAMES with a close-fitting lid, cookie sheet, or metal tray, then turn off the burner. BE CAREFUL TO PREVENT BURNS. If the flames do not go out immediately, EVACUATE AND CALL THE FIRE DEPARTMENT.
B. NEVER PICK UP A FLAMING PAN – You may be burned.
C. DO NOT USE WATER, including wet dishcloths or towels – a violent steam explosion will result.
D. Use an extinguisher ONLY if:- You know you have a Class ABC extinguisher, and you already know how to operate it.
- The fire is small and contained in the area where it started.
- The fire department is being called.
- You can fight the fire with your back to an exit.
a Based on “Kitchen Fire safety Tips” published by NFPA.
- To Reduce The Risk Of Fire Or Electric Shock, Do Not Use This Fan With Any Solid-State Speed Control Device.
For the permanently-connected cooker hood - TO REDUCE THE RISK OF FIRE, ELECTRIC SHOCK, OR INJURY TO PERSONS, OBSERVE THE FOLLOWING:
A. Use this unit only in the manner intended by the manufacturer. If you have questions, contact the manufacturer.
B. Before servicing or cleaning unit, switch power off at service panel and lock the service disconnecting means to prevent power from being switched on accidentally. When the service disconnecting means cannot be locked, securely fasten a prominent warning device, such as a tag, to the service panel.
For the cord-connected cooker hood - To provide protection against electric shock, connect to properly grounded outlets only.
CAUTION: For General Ventilating Use Only. Do Not Use To Exhaust Hazardous Or Explosive Materials And Vapors.
WARNING
- TO REDUCE THE RISK OF FIRE, USE ONLY METAL DUCTWORK.
For the permanently-connected cooker hood - TO REDUCE THE RISK OF FIRE, ELECTRIC SHOCK, OR INJURY TO PERSONS, OBSERVE THE FOLLOWING:
A. Installation work and electrical wiring must be done by qualified person(s) in accordance with all applicable codes and standards, including fire-rated construction.
B. Sufficient air is needed for proper combustion and exhausting of gases through the flue (chimney) of fuel burning equipment to prevent back drafting. Follow the heating equipment manufacturer’s guideline and safety standards such as those published by the National Fire Protection Association (NFPA), and the American Society for Heating, Refrigeration and Air Conditioning Engineers (ASHRAE), and the local code authorities.
C. When cutting or drilling into wall or ceiling, do not damage electrical wiring and other hidden utilities.
D. Ducted fans must always be vented to the outdoors.
E. If this unit is to be installed over a tub or shower, it must be marked as appropriate for the application and be connected to a GFCI (Ground Fault Circuit Interrupter) – protected branch circuit.
For the cord-connected cooker hood - GROUNDING INSTRUCTIONS
This appliance must be grounded. In the event of an electrical short circuit, grounding reduces the risk of electric shock by providing an escape wire for the electric current. This appliance is equipped with a cord having a grounding wire with a grounding plug. The plug must be plugged into an outlet that is properly installed and grounded.
WARNING – Improper grounding can result in a risk of electric shock.
Consult a qualified electrician if the grounding instructions are not completely understood, or if doubt exists as to whether the appliance is properly grounded.
Do not use an extension cord. If the power supply cord is too short, have a qualified electrician install an outlet near the appliance.
CAUTION
- To reduce risk of fire and to properly exhaust air, be sure to duct air outside. Do not vent exhaust air into spaces within walls or ceilings or into attics, crawl spaces, or garages.
- Take care when using cleaning agents or detergents.
- Avoid using food products that produce flames under the Range Hood.
- To avoid motor bearing damage and noisy and/or unbalanced impellers, keep drywall spray, construction dust, etc. off power unit.
- Your hood motor has a thermal overload which will automatically shut off the motor if it becomes overheated. The motor will restart when it cools down. If the motor continues to shut off and restart, have the hood serviced.
- For best capture of cooking impurities, the bottom of the hood should be a minimum of 26″ (65 cm) and a maximum of 30″ (75 cm) above the cooking surface.
- Two installers are recommended because of the large size and weight of this hood.
- This product is equipped with a thermostat which may start blower automatically. To reduce the risk of injury and to prevent power from being switched on accidentally, switch power off at service panel and lock or tag service panel.
- Use with approved wiring for electrical connections only.
- Please read specification label on product for further information and requirements.
- Use only with cooker hood cord-connection kits that have been investigated and found acceptable for use with this model cooker hood.
INSTALLATION (VENT OUTSIDE)
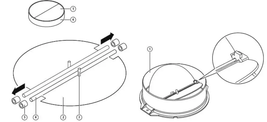
MOUNTING OF THE V-FLAP
If the cooker hood does not have an assembled V-flap 1, you should mount the half-parts to its body. The images only show an example of how to mount the V-flap, because the outlet may vary according to different models and configurations.
To mount the V-flap 1 you should:
- Mount two half-parts 2 into the body 6;
- the pin 3 should be top oriented;
- the axis 4 should be inserted into the holes 5 on the body;
- repeat all the operations for the 2nd half-part.
If you have an outlet to the outside, your cooker hood can be connected as below picture by means of an extraction duct (enamel, aluminum, flexible pipe or non-flammable material with an interior diameter of 150mm)

- Before installation, turn the unit off and unplug it from the outlet.

- The cooker hood should be placed at a distance of 65~75cm above the cooking surface for best effect. See pic 1.

- Drill a hole in the cupboard, with hole wide 715*265(mm).Refer to pic 2. Make sure the distance between the edge of the hole and the edge of the cupboard edge is at least 35mm.

- Remove the aluminum filter and remove the two front panel screws.
- Use a screwdriver to secure the 8pcs ST4*18 screws and fix the hood body to the cupboard.
- Replace the front panel with the two screws and replace the filter.
- Install the v-flaps to the outlet and fix the expansion pipe to the outlet with a cable tie.
Note:The expansion pipe is not included in the product.

WARNING:
- For safety reason, please use only the same size of fixing or mounting screws which are recommended in this instruction manual.
- Failure to install the screws or fixing device in accordance with these instructions may result in electrical hazards.
Start Using Your Cooker Hood
Electronic button with LED display

- Power-on: After connecting the cooker hood to the main supply, the backlight of all buttons will turn on and the buzzer sounds for once. The LED display is closed . The cooker hood doesn’t work and enters into stand-by mode.
- (Lamp) button:
Press (Lamp) button, the lights will be on. Press again, the lights will be off. The above steps can be repeated operating. The lamp funtion could be operated without pressing the (Power) button. - (Power) button:
- Press (Power) button ,the cooker hood starts to work at the low speed and the LED display will display “1”. Press again, the cooker hood will stop.The cooker hood speeds can only be adjusted when starting the power button.
- After switching off the speeds of cooker hood by power button, when press the power button again to start-up the hood, motor will work at the speed before the last exit.
- (Speed) button:
The cooker hood has five speed levels , the corresponding LED display will be”1”,”2”,”3” ,”4” ,”5”.- After switching on the power button,the hood starts to work at first speed and the LED display will display “1”.
- Press (Speed) button again when it works at first speed, the cooker hood works at second speed and the LED display will display “2”.
- Press (Speed) button again when it works at second speed, the cooker hood at the third speed and the LED display will display “3”.
- Press (Speed) button again when it works at third speed, the cooker hood at the fourth speed and the LED display will display “4”.
- Press (Speed) button again when it works at fourth speed, the cooker hood at the fifth speed and the LED display will display “5”.
- During the working, you can touch (Speed) button to change the speed circularly: “1→2→3→4→5→1→2→3→……”
- (Timer) button:
The timer button is only used for the timer function when the hood is working. (Press the button will be invalid when the hood is under standby mode or open the
lamp separately).- Press the timer button, the hood enter into the timer function. The timer setting is 9mins and the display shows “9”.
- After the timing function starts, the display shows “9”, “8”, “7”…, decreasing by minute. After the timing is completed, the motor will automatically cut off the power immediately and the motor output will be turned off. The lights are off at the same time.
- Press the timer button once to enter the timer function. Press again to exit the timer function. The above steps can be operated repeatedly. In the timing state, pressing the speed button will automatically exit the timing function.
Connecting the remote control
- A New remote control has to establish a new connection to the cooker hood when used for first time. One remote control could possibly control several cooker hood at the same time.
Connection process between remote control and cooker hood
- Within 15S after the cooker hood connects to the power supply, long press for
seconds, the indicators light begin flashing from one button to another ,the cooker hood is in connection mode, press any button on remote control to confirm the connection. The connection process finished and the remote control can be used for speed selection, lighting and timer setting. - If you want to connect again, you will need to clear the code that has been set up previously.
- To clear the code, press for
seconds, the indicators light begin flashing from one button to another, the cooker is in connection mode. Then, press again for
seconds, the previous connection code is cleared. - When the previous code has been cleared, the cooker hood back to standby mode, press for
seconds, the indicate light flashing from one button to another ,the cooker hood is in connection mode, then, press any button on remote control to confirm the connection.
Remote control

- Lighting press button once, the light is on, press again, the light is off. The lighting button it is controlled separately and will not affect any other functions.
- Turning on/ Increasing motor speed button
, the motor has totally 5 speeds.- Press
once,the motor will work at first speed (Turning on). - When the hood works at 1st speed,press
again,the motor changes to second speed. - Base on the second speed condition, press
again, the motor is running in the third speed. Press again, then will be the fourth speed, the fifth speed… - When it is on the fifth speed condition, press
again,the hood still works at fifth speed.
- Press
- Turning off/Decreasing motor speed key

press the button and the motor begins shift to a lower speed and the LCD screen display the speed level. Repeating press the button, it keep on decreasing the motor speed till the cooker hood turning off.
- Timer
Press the button to set up the timer on/off function.
TROUBLESHOOTING
| Fault | Possible Cause | Solution |
| Light on, but motor does not work | Fan switch turned off | Select a fan switch position. |
| Fan switch failed | Contact service center. | |
| Motor failed | Contact service center. | |
| Light does not work, motor does not work | House fuses blown | Reset/Replace fuses. |
| Mains power cable is loose or disconnected | Refit mains power cable to power outlet. Switch power outlet on. |
| Oil leakage | One way valve and the outlet are not tightly sealed | Take down the one way valve and seal with sealant. |
| Leakage from the connection of chimney and cover | Take chimney down and seal. | |
| Lights not working | Broken or faulty bulbs | Replace bulbs as per this instruction. |
| Insufficient suction | The distance between the cooker hood and the gas top is too far | Refit the cooker hood to the correct distance. |
| The Cooker hood inclines | The fixing screw is not tight enough | Tighten the hanging screw and make it horizontal. |
NOTE:
Any electrical repairs to this appliance must conform to your local, state and federal laws.Please contact the service centre if in any doubt before undertaking any of the above.Always disconnect the unit from the power source when opening the unit.
MAINTENANCE AND CLEANING
Caution:
- Before maintenance or cleaning is carried out, the cooker hood should be disconnected from the mains power supply.
Ensure that the cooker hood is switched off at the wall socket and the plug removed. - External surfaces are susceptible to scratches and abrasions, so please follow the cleaning instructions to ensure the best possible result is achieved without damage.
GENERAL
Cleaning and maintenance should be carried out with the appliance cold especially when cleaning.Avoid leaving alkaline or acid substances (lemon juice, vinegar etc.) on the surfaces.
STAINLESS STEEL
The stainless steel must be cleaned regularly (e.g.weekly) to ensure a long life expectancy.Dry with a clean soft cloth. A specialized stainless steel cleaning fluid may be used.
NOTE:
Ensure that wiping is done along with the grain of the stainless steel to prevent any unsightly crisscross scratching patterns from appearing.
CONTROL PANEL SURFACE
The inlay control panel can be cleaned using warm soapy water. Ensure the cloth is clean and well wrung before cleaning. Use a dry soft cloth to remove any excess moisture left after cleaning.
Important
Using neutral detergents and avoid using harsh cleaning chemicals, strong household detergents or products containing abrasives,as this will affect the appearance of the appliance and potentially remove any printing of artwork on the control panel and will void manufactures warrantee.

GREASE MESH FILTERS
The mesh filters can be cleaned by hand. Soak them for about 3 minutes in water with a mild detergent and then brush it gently with a soft brush. Do not apply too much pressure so as to avoid any damage to it . (Leave to dry naturally out of direct sun light) Filters should be washed separately to crockery and kitchen utensils. It is advisable not to use rinse aid.
INSTALLING GREASE MESH FILTERS
- To install filters for the following four steps:
- Angle the filter into the slots at the back of the hood.
- Push the button on the handle of the filter.
- Release the handle once the filter fits into a resting position.
- Repeat to install all filters.
CARBON FILTER-not supplied
Activated carbon filter can be used to trap odors. Normally the activated carbon filter should be changed every 3 to 6 months according to your cooking habits. The installation procedure of activated carbon filter is as below:
- Before installing or replacing the carbon filters, disconnect the mains power to the unit.
- Press the filter lock and remove the mesh filter.
- Turn the carbon filter on both sides of the motor anti-clockwise. Replace the carbon filters with the new carbon filters.
- Place the mesh filter.
- Connect the power supply to the wall socket.
NOTE
- Make sure the filter is securely locked. Otherwise, it would loosen and cause danger.
- When activated carbon filter attached, the suction power will be lowered.
BULB REPLACEMENT
IMPORTANT
- The bulb must be replaced by the manufacturer, its service agent or similarly qualified persons.
- Always switch off the electricity supply before carrying out any operations on the appliance. When handling bulb, make sure it has completely cooled down before any direct contact with hands.
- When handling bulbs hold with a cloth or gloves to ensure perspiration does not come in contact with the bulb as this can reduce the life of the bulb.
Note:
- Before changing the lights, make sure that the appliance is turned off and unplugged.
- Protect against danger when changing lights, such as wearing gloves.
Changing the lights:
- Remove the grease filter.
- Use a tool or the hand to press the spring splinter of both sides of LED light to the inside, until the light is pressed out.Then slightly pull the light connecting wire out and replace the lights.
- Apply the reverse procedure to install the light back.
- LED modules– round lamp
- Max wattage: 2×1.5W
- Voltage range: DC 12V
- Dimensions:

ENVIRONMENTAL PROTECTION
This product is marked with the symbol on the selective sorting of waste electronic equipment. This means that this product must not be disposed of with household waste but must be supported by a system of selective collection in accordance with Directive
2012/19/EU. It will then be recycled or dismantled to minimize impacts on the environment, electrical and electronic products are potentially dangerous for the environment and human health due to the presence of hazardous substances. For more information, please contact your local or regional authorities.
NOTE:
The following shows how to reduce total environmental impact (e.g. energy use) of the cooking process).
- Install the cooker hood in a proper place where there is efficient ventilation.
- Clean the cooker hood regularly so as not to block the airway.
- Remember to switch off the cooker hood light after cooking.
- Remember to switch off the cooker hood after cooking.
INFORMATION FOR DISMANTLING
Do not dismantle the appliance in a way which is not shown in the user manual. The appliance could not be dismantled by user. At the end of life, the appliance should not be disposed of with household waste. Check with your Local Authority or retainer for recycling advice.






















