X C S1.5K
Center Channel Loudspeaker
Owner’s Manual
XCS1.5K Center Channel Loudspeaker
Safety First
Please read the Safety Instructions included in a separate document called “Important Additional Operation Information Guide.”
Thank You From All of Us at McIntosh
Your decision to own this McIntosh XCS1.5K Loudspeaker System ranks you at the very top among discriminating music listeners. You now have “The Best.” The McIntosh dedication to quality is assurance that you will receive many years of listening enjoyment from this unit.
Please take a short time to read the information in this manual. We want you to be as familiar as possible with all the features and functions of your new McIntosh.
Please Take a Moment
The serial number, purchase date, and McIntosh Dealer name are important to you for possible insurance claims or future services. The spaces below have been provided for you to record that information:
Serial Number: _________________
Purchase Date: _________________
Dealer Name: _________________
General Information
CAUTION: The XCS1.5K weight is 178 pounds (80.74 kg). It requires three or more persons to safely handle the Loudspeaker System.
- Loudspeaker Cables of adequate size are important to ensure that there will be no significant power loss or heating. Cable size is specified in Gauge numbers or AWG (American Wire Gauge). The smaller the Gauge number, the larger the wire size: If the Loudspeaker Cables are 50 feet (38.1m) or less, use at least 12 Gauge (AWG) wire size or larger. If the Loudspeaker Cables are 100 feet (76.2m) or less, use at least 10 Gauge (AWG) wire size or larger.
- For additional connection information, refer to the owner’s manual(s) for any component(s) connected to the XCS1.5K Loudspeaker.
- The XCS1.5K’s built-in speaker protection incorporates a number of protection devices in the crossover networks. The tweeter and midrange arrays are protected from overdrive by these devices. The protection allows a certain amount of overdrive but extended periods will trigger protection. If an obvious lack of high, mid, or low frequencies is noticed, the Protection Device may have activated. These devices will automatically reset when the volume level is reduced significantly and kept low until the output of the affected Loudspeaker Element returns to normal.
- When the XCS1.5K Loudspeaker System is driven by more than one amplifier, the output levels of the different amplifiers connected to the Loudspeaker System must be adjusted to achieve a proper balance between the low, midrange, and high frequencies reproduced. This adjustment is best achieved through the use of audio test equipment operated by a qualified installer.
Introduction
The XCS1.5K Center Channel Loudspeaker is the next evolution in high-power, high-resolution Home Theater Loudspeaker Design. High-end Loudspeaker development is a marriage of art and science. The XCS1.5K is the culmination of decades of work (and—we must admit—play). Since the early 1970s, engineers at McIntosh have been performing painstaking loudspeaker research and development—examining minute changes as well as exploring new technologies. An example of utilizing innovation is the XCS1.5K’s use of McIntosh’s advanced Bessel Array technology, which, among other benefits, provides a wide listening area from a short-line array. The latest sound principles and the highest quality components combine to deliver strikingly realistic sound with exquisite detail and imaging. Combining all these elements to produce the most musical output possible is the art of this mission. The result is this masterpiece of sound reproduction.
The new McIntosh XCS1.5K Loudspeaker System is a Center Channel Loudspeaker capable of reproducing the full dynamic range of a symphony orchestra with very low audible distortion. It is the perfect match for the famous XRT1.1K and XRT2.1K Column Loudspeakers when used in a Home Theater / Music System. It uses the same acoustic technology found in the XRT1.1K and XRT2.1K Column Loudspeakers developed by McIntosh Acoustic Engineers. The technology has been refined over the years and is now the 6th generation of the design and provides superior quality sound reproduction in a full range system.
The XCS1.5K Loudspeaker utilizes a Horizontal Bessel and Hybrid Bessel Array for the Tweeters and Midrange speaker units. The Sound Waves from this Horizontal Array produce a stable and focused symmetrical horizontal sound image. Since the audio power fed to each row is distributed among all the drivers, each driver does not have to work as hard, resulting in greater power handling capability, greatly reduced power compression, and a dramatic reduction in distortion.
The Low-Frequency Section of the System consists of four 8-inch Carbon Fiber Cone Woofers capable of long cone excursions. The sound produced has very low levels of harmonic distortion and a frequency response down to 32Hz. They have a large motor assembly made with high-coercivity ceramic magnets for stable high-temperature operation. The woofer design also utilizes an aluminum shorting ring and copper-capped pole piece. This results in lower distortion due to more linear magnetic flux in the voice coil gap. A good example of this low distortion is incredible smoothness and effortless clarity in the reproduction of the human voice.
The Crossover Networks used in the XCS1.5K Loudspeaker System is phase matched between the Low Frequency, Midrange, and High-Frequency Sections to ensure a smooth frequency response over the entire audible range. The crossover inductors are selected so they will not add audible distortion. The network capacitors are film-type for extra reliability. All the Capacitors and Inductors are chosen for high current capacity. The midrange and tweeter sections use auto-resetting over-current devices to provide an extra measure of protection.
Performance Features
High-Temperature Neodymium-Iron-Boron Alloy Magnets – The fourteen 2.5-inch Midranges and 25 three-quarter-inch Dome Tweeters all use the Neodymium-Iron-Boron magnets. This Alloy has the highest flux density per unit of volume and helps to keep the Loudspeaker System weight to a minimum while preserving the utmost in performance. The four 8-inch woofer/midrange speakers use a ferrite magnet circuit with an aluminum demodulating ring.
Low Harmonic and Intermodulation Distortion – The XCS1.5K Loudspeaker System is capable of reproducing the full dynamic range of a symphony orchestra with very low audible distortion of any kind.
High Power Handling – The Loudspeaker Elements and Crossover Components of the XCS1.5K are all chosen for use with powerful amplifiers up to 1,500 watts.
Superior Imaging – Using hybrid Bessel Arrays ensures a wide listening angle, superior imaging, and high power handling.
Versatile Operation and Placement – In addition to the regular connections, the XCS1.5K Loudspeaker System provides separate connections for Bi-Amplification and Tri-Amplification hookups, as well as Bi-Wiring and Tri-Wiring.
Gold Plated Input Connectors – The XCS1.5K input connectors are gold-plated for superior corrosion resistance and high electrical conductivity.
Dimensions
Top View | Front View |
Side View | Drivers Position |
Unpacking and Assembly
CAUTION: When this Loudspeaker is assembled it weighs 178 pounds (80.74 kgs). It requires three or more persons to safely handle during assembly, adjustment, and placement in the room.
To protect the fine finish of the XCS1.5K Loudspeaker System during the adjustment process, it is advisable to prepare a suitable adjustment area. A freshly vacuumed carpeted area covered with a soft, clean fabric, such as large bed linen or blanket would be suitable. Start by unpacking the Loudspeaker.
It is recommended that the Professionals at your McIntosh Dealer, who are skilled in all aspects of installation and operation, install the XCS1.5K Loudspeaker System and any associated audio equipment.
- Put the carton box in a vertical position. (FIG.1)
- Open the box and take out the array box. (FIG.2)
- Pull the cabinet+base out. (FIG.3)
- Put the cabinet+base on the floor, in a horizontal position, and remove the foam shells. (FIG.4)
- Open the array box, take out the array, and remove the foam shells. (FIG.5-6)
- Collect bolts, lock-nuts, and aesthetic discs which are placed in an accessory box.
- Remove the protective rubber tips from the four pre-installed bolts. (A pair of bolts protrude from each of two metal plates in the front of the cabinet.)
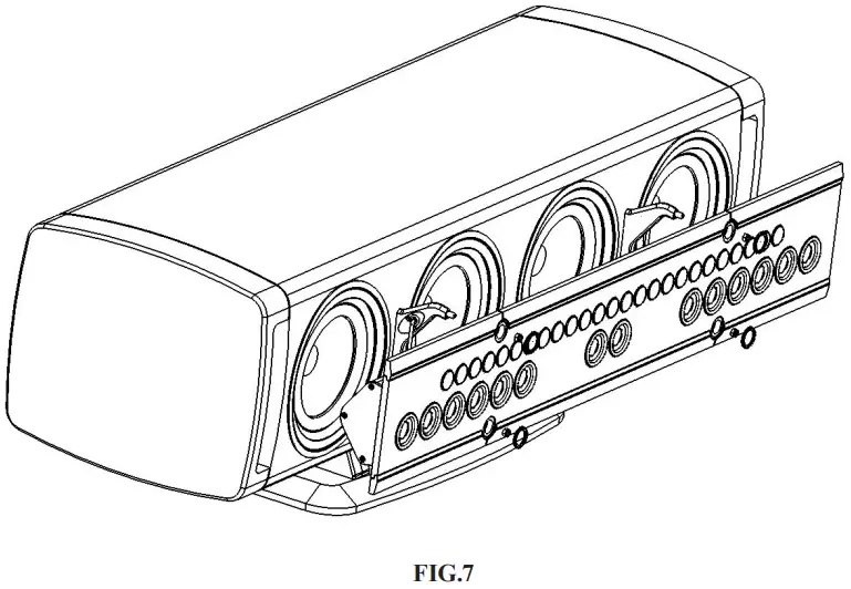
- Carefully, position the Tweeter/Midrange array over the four bolts. Note the correct orientation is with the tweeter array above the midrange array. (FIG.7)
- Place a locknut on each bolt and using the supplied lock nut driver tool, tighten the four Lock Nuts. Do Not Over Tighten. When snug, stop. (FIG.8)
- Cover each tightened lock nut with a magnetic cover.
- Connect the two upper and two lower cables into the sockets on the back of the Midrange/Tweeter Column. Red color-coded labels mark the red cable connectors.
- There are five different elevation positions for the loudspeaker, which are selected using the two knobs placed on the base aluminum supports:
Loosening and removing the knobs, you can adjust the speaker position by sliding the cabinet on the base supports. Once you’ve selected the position (0° – 7.5° – 15° – 22.5° – 30°), place the knobs in the related hole and screw until the speaker is fixed. (FIG.9)
![]() | ![]() | ![]() |
![]() | ![]() | ![]() |
![]() | ![]() | ![]() |
Installation
The XCS1.5K Loudspeaker is designed for use as a Center Channel in a Home Theater System. The XCS1.5K has been developed to tonally match the McIntosh XRT2.1K and XRT1.1K Tower Loudspeakers, ensuring proper timbre of vocals and instrumentals as the sonic image moves across the virtual stage in front of you. Because room acoustics and placement may impact the response of the speaker, it is sometimes necessary to have a professional installer conduct measurements and apply corrections.
The XCS1.5K Loudspeaker’s Smooth Frequency Response may be altered by the large object(s) located in the path of the sound waves or by locating the Loudspeaker too close to a side wall. There should be an unobstructed area in front of the XCS1.5K Loudspeaker on either side of the center axis for the best performance. The optimum location in a Home Theater System is directly under or in front of the TV/Monitor.

Prepare the Speaker Wire
If the speaker wire is not already terminated, remove ½ inch (12.7 mm) of insulation from the wire end and twist the strands together. For runs under 25 feet, use at least 14AWG wire. For runs under 50 feet use at least 12AWG, and for longer runs up to 100 feet, use 10AWG. 10AWG, being the larger wire, can be used in all the above cases if desired. The above guidelines are for 8 Ohm connections. The XCS1.5K is an 8 Ohm speaker, but, for reference purposes, when using 4 Ohm speaker connections, subtract 2 from the gauge. For 2 Ohms subtract 4. For example, a minimum gauge for a 50-foot 2-ohm run would be 10AWG.
When using a very powerful amp with an output of 1000 watts or more, it is best to use a thicker speaker wire of at least 12AWG in all cases.
Loudspeaker Input Terminal Connection
When connecting the speaker wire to the XCS1.5K Loudspeaker Input Terminals, please follow these steps:
- Rotate the end of the Input Terminal Post counterclockwise until an opening appears.

- Insert the Loudspeaker hookup cable into the Input Terminal Post opening or the cable spade lug around the center post of the Input Terminal.

- Rotate the end of the Input Terminal Post clockwise until it is finger-tight.
- Place the supplied McIntosh wrench over the end of the Input Terminal and rotate it one-quarter of a turn (90°) to secure the Loudspeaker cable connection. Do not over-tighten.
The patented, gold-plated Solid Cinch™ speaker binding posts will also accept banana plug connections. Push the banana plug into the opening at the top of the binding post.
Single Amplifier Connection
The XCS1.5K has three pairs of Input Terminals labeled BASS, MID, and HIGH. If a single amplifier is to be used to power the XCS1.5K, connect the single amplifier to one pair of Input Terminals and the supplied Jumper Cables can be used to connect the remaining two pairs of Input Terminals. Attach the Spade Terminals of the Jumper Cables as described above in Loudspeaker Input Terminal Connection. Use Jumpers to connect Negative Terminals to Negative Terminals and Positive to Positive. In the end, the pair of Input Terminals with the amplifier connected should be daisy chained to the remaining terminals that do not have an amplifier attached. Be careful to observe the correct polarity. Never connect an input pair with an amplifier attached to another pair with another amplifier attached.

Multiple Amplifier Connections
The XCS1.5K Speaker can be powered by up to three separate power amplifiers. To use three power amplifiers, follow the instructions “Loudspeaker Input Terminal Connection” above for each pair of cables from each power amplifier to each of the three pairs of terminals on the XCS1.5K (HIGH, MID, and BASS). Do not use jumper cables, and always take care to observe proper polarity.
To power the XCS1.5K with two amplifiers, connect each power amp to a separate pair of terminals. Use a pair of jumper cables to connect the shared terminals. Typically, one amplifier would power the BASS, and the HIGH and MID terminals would be powered by a separate power amplifier with jumpers connecting the pairs. It does not matter which pair of jumpered terminals you choose to connect to the Power Amplifier.
Less Resistance
The XCS1.5K is an 8 Ohm speaker, and this is the recommended connection from an amplifier. Some people will use a 4 Ohm connection from an amplifier as a kind of equalization. For instance, using a 4 Ohm connection on the HIGH will result in a 3db drop in that range. Bass can be lowered in the same manner for use in a boomy room. If this is something you wish to play around with, just remember to NEVER use a higher Ohm output of an amplifier such as 16 Ohm. This will result in heat generation beyond the amplifier’s design.
Specifications
System Driver Complement
Four 8” 8-Ohm long-throw carbon fiber sandwich cone Woofers, cascaded in pairs for woofer and MR bands
Fourteen 2.5″ 4-Ohm aluminum Midranges
Twenty-five 3/4″ 4-Ohm aluminum dome Tweeters
Impedance
8 ohms Nominal
Frequency Response
32Hz – 20kHz
Sensitivity
88dB (2.83V/1m equivalent)
Crossover Frequencies
150Hz, 500Hz, and 3kHz
Power Handling
1,500 Watts Maximum
General Specifications
Finish Enclosures
High Gloss Black Aluminum Sides, Brushed
Aluminum Front and Back, High Gloss Black Top and Bottom
Finish Grille
Black Knit Cloth with High Gloss Black Trim
Overall Dimensions
The width is 49-31/32 inches (126.92 cm)
Height is 17-3/16 inches (43.66 cm) including feet
Depth is 21-7/32 inches (53.9 cm)
Weight
178 pounds (80.74 kg) net
209 pounds (94.79 kg) in the shipping carton
Packing Instructions
In the event it is necessary to repack the equipment for shipment, the equipment must be packed exactly as shown on the next page. To protect the finish of the Loudspeaker it is advisable to place it in the original protective cotton blue cover before placing them into the shipping carton.
Use the original shipping carton and interior parts only if they are all in good serviceable condition. If a shipping carton or any of the interior part(s) are needed, please call or write the Customer Service Department of McIntosh Laboratory. Please see the Part List for the correct part numbers.
Part List
| Quantity | Part Number | Description |
| 1 | 34395 | Top shipping carton |
| 1 | 34396 | Bottom shipping carton |
| 1 | 34398 | Top foam |
| 1 | 34397 | Bottom foam |
| 1 | 34353 | Blue Protective cloth cover |

Technical Assistance
If at any time you have questions about your McIntosh product, contact your McIntosh Dealer who is familiar with your McIntosh equipment and any other brands that may be part of your system. If you or your Dealer wish additional help concerning a suspected problem, you can receive technical assistance for all McIntosh products at:
McIntosh Laboratory, Inc.
2 Chambers Street
Binghamton, New York 13903
Phone: 607-723-1545
Fax: 607-724-0549
Customer Service
If it is determined that your McIntosh product is in need of repair, you can return it to your Dealer. You can also return it to the McIntosh Laboratory Service Department. For assistance on factory repair return procedure, contact the McIntosh Service Department at:
McIntosh Laboratory, Inc.
2 Chambers Street
Binghamton, New York 13903
Phone: 607-723-3515
Fax: 607-723-1917
McIntosh Laboratory, Inc.
2 Chambers Street
Binghamton, NY 13903
www.mcintoshlabs.com






























