Series IEF Insertion Electromagnetic Flow Transmitter
Specifications – Installation Instructions
Bulletin F-IEF-QS
Bulletin F-IEF-QS IEF Series Insertion Electromagnetic Flow Transmitter
![]() | ![]() |
Shown with A-IEF-VLV-BR accessory valve | – The LCD option shown |

The Series IEF Insertion Electromagnetic Flow Transmitter is an adjustable insertion flowmeter featuring electromagnetic technology that accurately and reliably measures fluid velocity in addition to providing several continuous signal outputs. This series is specifically designed to offer superior performance paired with simple installation and use. One unit is adjustable to fit pipe sizes from 4 to 36˝ (101.6 to 914.4 mm), and offers several output options including selectable BACnet MS/TP or Modbus ® RTU communications protocol over 2-wire RS-485 in addition to the standard analog, frequency and alarm outputs.
FEATURES/BENEFITS
- Field configurable, integral, or remote setup displays (-LCD option or accessory A-IEF-DSP) allow for ultimate flexibility by accommodating a variety of application configurations with one model through multiple display configurations i.e. pipe size, pipe material, liquid type, analog output, pulse/frequency output, alarm outputs, communication outputs, damping, and calibration factor.
- High-performance accuracy is maintained through temperature, density or viscosity.
- Setup Wizard and installation tool are simple to use allowing for quick and precise installation.
- Accessory setup kit A-IEF-KIT ensures exact installation application depth with included thickness gage and measuring tape.
- Long Life Cycle and minimal maintenance requirements with no moving parts to wear or break and electrodes that discourage fouling.
- Isolation valve accessory options allow for installation in operational systems via hot-tap kit or easy removal without system downtime.
- NIST calibration certificate included standard for Carbon Steel Schedule 40 pipes sized 4˝ (100 mm), 6˝ (150 mm), 8˝ (200 mm), and 10˝ (250 mm) with high accuracy option.
APPLICATIONS
- Boiler feed water
- Chilled water
- Open and closed loop condenser water
- Irrigation system
- Municipal water distribution
- Process and coolant flow
- Groundwater remediation
- Chemical processing
- Pump protection
- Wastewater
- Mining
SPECIFICATIONS
Service: Compatible clean or dirty noncoating, conductive liquids.
Range: 0 to 20 ft/s (0 to 6 m/s).
Wetted Materials: Body shaft/fitting: 316SS; Electrodes: 316SS; Electrode cap: Polymer/Polystyrene; O-ring: Silicone.
Accuracy: IEF-HX-X: ±0.5% of reading at calibrated velocity; ±1% of reading from 2 to 20 ft/s (0.6 to 6 m/s) ±0.02 ft/s (±0.006 m/s) at < 2 ft/s (0.6 m/s). IEF-SX-X: ±1% FS.
Temperature Limits: Ambient: -20 to 160°F (-29 to 71°C); Process: 15 to 250°F (-9 to 121°C); Storage: -40 to 185°F (-40 to 85°C).
Process Connection: 1˝ NPT or BSPT with accessory full port ball valve options.
Pressure Limits: 400 psi (27.6 bar) @ 100º F (37.8°C).
Pressure Drop: < 0.1 psi at 12 ft/s in 4˝ (101.6 mm) and larger pipe.
Outputs:
(1) Analog: 4 to 20 mA, 0 to 5 V, 0 to 10 V or 2 to 10 V (display selectable);
(1) Pulse/Frequency: 0 to 15 V peak pulse, 0 to 500 Hz or scalable pulse output (display selectable);
(2) Alarms: (1) Empty pipe detection or minimum/maximum velocity, (display selectable); (1) Reverse flow output indication.
Power Requirements: 12 to 42.4 VDC, .25 A @ 24 VDC; 12 to 36 VAC.
Electrical Connection: Removable terminal blocks, model selectable 1/2˝ female NPT conduit connection, PG 16 gland or PG 16 gland with (2) 10 ft (3 m) 9 conductor 22 AWG plenum rated cables, accessory cable lengths up to 200 ft (61 m) optional.
Display (-LCD option): 2˝ ( 5.08 cm) x 2˝ (5.08 cm) graphic LCD with backlight.
Conductivity: >20 micro siemens.
Enclosure Material: Powder-coated die-cast aluminum.
Enclosure Ratings: NEMA 6P (IP68) (Non display models); NEMA 4X (IP66) (-LCD option).
Compliance: BTL, CE, NSF/ANSI 61 and 372.
COMMUNICATIONS (-COM OPTION)
Type: BACnet MS/TP or Modbus ® RTU communication protocol (default disabled, display selectable).
Supported Baud Rates: 9600, 19200, 38400, 57600, 76800, or 115200 bps (display selectable).
Device Load: 1/8 unit load.
ADDITIONAL SPECIFICATIONS
Applicable Pipe Material: Most popular plastic and metal pipes; i.e. Carbon steel, SS, copper, UPVC/PVDF, galvanized steel, mild steel, and brass*.
Applicable Pipe Size: IEF-HX-X: 4 to 10˝ (101 to 254 mm); IEF-SX-X: 4 to 36˝ (101 to 914 mm).
Diameter Length Requirements: >10 upstream, >5 downstream.
Glycol: 0 to 100% display selectable.
*Brass fittings and pipe not suitable for use with NSF Certified models.
| MODEL CHART | ||||||
| Example | IEF | -L | N | -CND | -LCD | IEF-LN-CND-LCD |
| Series | IEF | Insertion electromagnetic flow transmitter | ||||
| Accuracy
| L | Standard accuracy < 4 to10″ (200 to 250 mm) pipe; 1% FS | ||||
| H | Standard accuracy > 10 to 36″ (250 to 900 mm) pipe; 1% FS | |||||
| H | Standard accuracy 4 to 36″ (100 to 900 mm) pipe; 1% FS | |||||
| F | High accuracy 4″ (100 mm) pipe; 1% of reading | |||||
| I | High accuracy 6″ (150 mm) pipe; 1% of reading | |||||
| 1W | High accuracy 8″ (200 mm) pipe; 1% of reading | |||||
| H | High accuracy 10″ (250 mm) pipe; 1% of reading | |||||
| I | High accuracy 4 to 10″ (100 to 250 mm) pipe; 1% of reading | |||||
| Process Connection | z | 1 male NPT | ||||
| B | 1″ male BSPT | |||||
| Electrical Housing | CND | 1/2″ female NPT conduit connection without cable | ||||
| Connector | PG | PG gland without cable | ||||
| 10 | PG gland with 10′ cable | |||||
| Options | LCD | Integral LCD display | ||||
| COM | BACnet or Modbus” communication protocol (display selectable) | |||||
| NIST | Six-point NIST traceable calibration certificate | |||||
| FC | Factory calibration certificate for 0.5% of reading at a single point | |||||
| CC | Custom configured for specific installation | |||||
| Note: For the CC option, must provide completed configuration paperwork. | ||||||
| ACCESSORIES | |
| Model | Description |
| A-IEF-KIT | Setup kit (includes setup display, thickness gage, and measuring tape) |
| A-IEF-DSP | Setup display |
| A-IEF-CBL-50 | Plenum-rated cable 50 ft (15.2 m) |
| A-IEF-VLV-BR | 1-1/4″ full port isolation valve brass |
| A-IEF-VLV-SS | 1-1/4″ full port isolation valve 316SS |
| A-IEF-INGD | Installation alignment kit |
| A-IEF-PA | AC wall adapter |
INCLUDED WITH THE FLOWMETER
Carefully unpack the shipping container of your new Series IEF Insertion Electromagnetic Flow Transmitter and remove the following items:
- (1) Series IEF Insertion Electromagnetic Flow Transmitter
- (1) A-IEF-INGD Installation Alignment Kit:
(1) Alignment Scale
(2) Alignment Rods
(2) Thumbscrews - (1) 3 mm Allen Wrench (not shown)

RECOMMENDED TOOLS
- (2) 12˝ (300 mm) adjustable wrenches
- (1) 12˝ (300 mm) pipe wrench
SETUP
Selecting Installation Location
- Although the unit may be installed in any orientation, the ideal mounting position is on the side of the pipe (2 o’clock or 10 o’clock position) as this generally minimizes possible air or sediment interference with the Series IEF.
Note: When installing a unit with an integral display select an installation location that allows for clear viewing of the display and proper earth ground.
Insert the IEF in a pipe via a threaded Tee, Saddle, or welded integrally reinforced branch connection outlet fitting.
If a Hot-Tap option is required, use a 1-1/4˝ valve kit with proper mounting hardware available in Model A-IEF-VLV-BR or A-IEF-VLV-SS. A 1˝ (25.4 mm) hole in the pipe is required for proper installation.
- Select a location that will minimize flow distortion with adequate upstream and downstream pipe diameters as displayed. The ideal installation will have a minimum of 10 pipe diameters upstream relative to the instrument and a minimum distance of 5 pipe diameters downstream.

INSTALLATION
- To prepare the meter for installation, mount the provided alignment scale to the side of the meter with the two provided thumbscrews. The thumbscrews are to be inserted through the alignment scale slots and into the holes in the side of the lid as shown in Figure 4, finger tighten only. Be sure to orient the alignment scale as shown in the figure below. The actual scale setting is determined in the next step.
For Custom Configured Models (-CC Option) - Locate the configuration tag attached to the Series IEF to identify the value of the alignment scale setting. Position the alignment scale such that the scale setting is lined-up with the seam of the enclosure as shown in Figure 4. Minor scale marks are in 1/20ths Securely tighten the thumbscrews.
- Refer to Preparing the Unit for Installation section.
For Field Configurable Models
2. For field configuration a display is required (-LCD option or accessory A-IEF DSP) and needs to be powered via normal field wiring or with the AC wall adapter accessory A-IEF-PA ( A-IEF-DSP and A-IEF-PA are also available in the accessory setup kit A-IEF-KIT).
3. When using the AC wall adapter and the cable is supplied, connect the red (positive +) and black (common -) wires of the cable bundle marked “A” to the open terminals of the AC wall adapter. This will provide temporary power to the meter to complete the installation setup.
4. For field wiring refer to the wiring chart tag attached to the Series IEF to identify the terminal block pins for positive (+) and common (-) connections.
5. Unscrew the four captured cover screws using the supplied 3 mm Allen wrench to remove and set aside the enclosure cover.
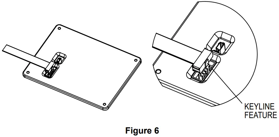
6. Insert one connector of the ribbon cable supplied in the setup kit into the connector labeled “Display” in the middle of the unit. Be sure to orient the keying feature/tab. See Figure 5 below:

7. Plug the other end of the cable into the bottom of the supplied portable display being sure to orient the keying feature/tab as shown:
8. Apply power to the unit and the display will turn-on automatically. Follow the on-screen directions for entering the necessary parameters to setup the unit and obtain the alignment scale setting value.
NOTICE
Precise pipe measurements are required for high-performance installation. The A-IEF-KIT includes setup display A-IEFDSP, thickness gage UTG, and measuring tape A-IEF-MSTP used to obtain these measurements. When the precise pipe measurement information is known select Option 2 High-Performance setup in the Install Kit option of the display selection
NOTICE
When using measuring tape A-IEF-MSTP to measure pipe circumference use the 100ths side to measure the circumference of the pipe without insulation.
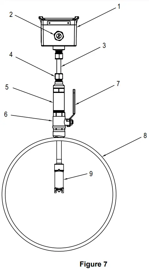
Preparing the Unit for installation (Refer to Figure 7)
- Apply appropriate sealant to the process collet (5) threads such as applying suitable sealant tape or paste.
- Install the process collet (5) in valve (6) then tighten by hand.
- Tighten the process collet (5) with a wrench using the hex geometry until snug.
NOTICE
Use two wrenches, one to hold the valve and another wrench to turn the process collet. - Slowly open the valve handle (7) checking for leaks.
- If leaks occur around threaded connections, close the valve and tighten those connections.

- Enclosure
- Cable Nut
- Probe Shaft
- Compression Fitting
- Process Collet
- Valve (optional)
- Valve Handle (optional)
- Pipe
- Sensor Probe
NOTICE
Do not adjust the housing compression nut at top of the probe shaft (3).
Sensor Alignment
A depth and flow alignment installation tool is provided to ensure proper depth insertion and flow alignment. To set the insertion depth verify the alignment scale has not moved from its original setting based on the alignment scale value set previously.
Loosen compression nut (4) to allow the shaft (3) freedom to travel up and down and rotate inside the process collet (5).
Install Depth and Alignment Rods
- Remove alignment rods from the sides of the alignment scale by sliding them out.
- Insert the two rods into the alignment scale as shown.

- Rotate the transmitter so the pipe alignment rod is parallel with the flow in the pipe.

- Slide the shaft (3) down into the process collet (5) until the depth rod contacts the pipe. If pipe insulation is present press the rod through the insulation.
a. Tighten the nut (4) to 15 ft.-lbs (20.3 N m)
b. Remove the flow alignment rod and loosen the thumbscrews to slide the alignment tool up to allow removal of the depth alignment rod. Store both rods in the storage slots on the sides of the alignment scale. Tighten thumbscrews and leave the alignment tool mounted on the unit for storage.
GROUNDING
Metallic Pipe
For proper operation, the instrument must be earth grounded.
Connect a ground wire to meter housing via the ground lug on the housing collet.
Connect the ground wire to known earth ground.
If the pipe is grounded, connect the ground wire to the metal pipe using suitable devices such as grounding clamps.

Non-Metallic Pipes
Connect a ground wire to the transmitter housing per the ground lug on the housing collet.
Connect the ground wire to known earth ground.
Ground the fluid to earth.

POWER SUPPLY
Choose a power supply with a voltage and current rating sufficient to meet the power specifications under all operating conditions.
If the power supply is unregulated, make sure the output voltage remains within the required voltage range under all power line conditions.
DWYER INSTRUMENTS, INC.
P.O. BOX 373 • MICHIGAN CITY, INDIANA 46360, U.S.A.
Phone: 219/879-8000
Fax: 219/872-9057
www.dwyer-inst.com
e-mail: [email protected]
©Copyright 2022 Dwyer Instruments, Inc.
Modbus® is a registered trademark of Schneider Electric USA, Inc.
Printed in U.S.A. 7/22
FR# 444458-01 Rev. 4




For Custom Configured Models (-CC Option)




















