FP212G Flextool Submersible Pumps
Pump Head
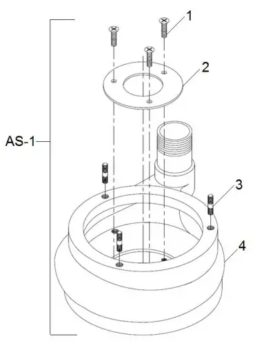
Pump Head – Complete Assembly (All Types)
Pump Head (All Types)
| Item No. | Product Code | Description | Qty | Remarks |
| 1 | NPS06170-UNIT | FLX EYE NUT 0.375” BSW (610510) | 3 | |
| 2 | NPS07469-UNIT | FLX CAMLOCK ADAPTOR 50MM (206308) | 1 | Suits FP212G & FP212A Only |
| 3 | NPS06169-UNIT | FLX STRAINER ALUMINIUM (206311) | 1 | Suits FP212G & FP212A |
| NPS09522-UNIT | FLX STRAINER CAST IRON (206321) | 1 | Suits FP212C | |
| 4 | NPS06902-UNIT | FLX BOLT 0.375” BSW x 2.5” (590425) | 3 |
Assembly / Service Kits – Pumps Head (All Types)
| Item No. | Product Code | Description | Qty | Remarks |
| 1 | NPS06170-UNIT | FLX EYE NUT 0.375” BSW (610510) | 3 | |
| 2 | NPS07469-UNIT | FLX CAMLOCK ADAPTOR 50MM (206308) | 1 | Suits FP212G & FP212A Only |
| 3 | NPS06169-UNIT | FLX STRAINER ALUMINIUM (206311) | 1 | Suits FP212G & FP212A |
| NPS09522-UNIT | FLX STRAINER CAST IRON (206321) | 1 | Suits FP212C | |
| 4 | NPS06902-UNIT | FLX BOLT 0.375” BSW x 2.5” (590425) | 3 |
| Item No. | Product Code | Description | Qty | Remarks |
| AS-1 | NPS06127-UNIT | FLX ASSY PUMP HEAD GENERAL (206300) | 1 | Suits FP212G (General Purpose) |
| NPS08495-UNIT | FLX ASSY PUMP HEAD ABRAISIVE (206300PA) | 1 | Suits FP212A (Abrasion Resistant) | |
| NPS09701-UNIT | FLX ASSY PUMP HEAD CHEMICAL (206300PC) | 1 | Suits FP212C (Chemical Resistant) | |
| AS-2 | NPS08498-UNIT | FLX ASSY PUMP HEAD TOP ALUMINIUM (206390) | 1 | Suits FP212G &F P212A |
| NPS01585-UNIT | FLX ASSY PUMP HEAD TOP CAST IRON (206391) | 1 | Suits FP212C | |
| AS-3 | NPS06255-UNIT | FLX ASSY PUMP BODY ALUMINIUM (206380) | 1 | Suits FP212G |
| NPS08496-UNIT | FLX ASSY PUMP BODY CAST IRON (206381) | 1 | Suits FP212A & FP212C |
Pump Head – Top Assy (All Types)
| Item No. | Product Code | Description | Qty | Remarks |
| 1 | See Remarks | FLX O-RING 1.049” x 0.103” (510433) | 1 | Use SK-1 |
| 2 | NPS06131-UNIT | FLX HOUSING ADAPTOR (206301) | 1 | |
| 3 | See Remarks | FLX O-RING 1.687” x 0.139” (510434) | 1 | Use SK-1 |
| 4 | See Remarks | FLX SEAL 0.75” x 1.25” x 0.25” (530111) | 3 | Use SK-1 |
| 5 | See Remarks | FLX CIRCLIP EXTERNAL 20MM (670211) | 1 | Use SK-1 |
| 6 | See Remarks | FLX BEARING NSK 6204 (550501) | 1 | Use SK-1 |
| 7 | See Remarks | FLX SPACER (206302) | 1 | Use SK-1 |
| 8 | See Remarks | FLX BEARING NACHI 5204 (550559) | 1 | Use SK-1 |
| 9 | NPS08489-UNIT | FLX SPINDLE (206303) | 1 | |
| 10 | See Remarks | FLX O-RING 0.626” x 0.103” (510435) | 1 | Use SK-1 |
| 11 | See Remarks | FLX SLEEVE (206304) | 1 | Use SK-1 |
| 12 | See Remarks | FLX HOUSING ALUMINIUM (206305) | 1 | Use AS-2 (Suits FP212G & FP212A) |
| See Remarks | FLX HOUSING CAST IRON (206315) | 1 | Use AS-2 (Suits P212C) | |
| 13 | See Remarks | FLX WEAR PLATE (206306) | 1 | Use AS-2 |
| 14 | See Remarks | FLX SCREW CSK M6X12 (633509) | 3 | Use AS-2 |
| 15 | See Remarks | FLX SEAL 1” x 1.625” x 0.375” (530510) | 4 | Use SK-1 |
| 16 | NPS06476-UNIT | FLX IMPELLER CAST IRON (206307) | 1 |
Assembly / Service Kits – Pumps Head Top Assy (All Types)
| Item No. | Product Code | Description | Qty | Remarks |
| AS-1 | NPS08498-UNIT | FLX ASSY PUMP HEAD TOP ALUMINIUM (206390) | 1 | Suits FP212G & FP212A |
| NPS01585-UNIT | FLX ASSY PUMP HEAD TOP CAST IRON (206391) | 1 | Suits FP212C | |
| AS-2 | NPS06128-UNIT | FLX ASSY HOUSING ALUMINIUM (206392) | 1 | Suits FP212G & FP212A Inc Items: 12 – 14 |
| NPS02229-UNIT | FLX ASSY HOUSING CAST IRON (206393) | 1 | Suit: P212C Inc Items: 12 – 14 |
Pump Head – Body Assy (All Types)
| Item No. | Product Code | Description | Qty | Remarks |
| 1 | See Remarks | FLX SCREW CSK M6X12 (633509) | 3 | Use AS-1 Not used on Cast Iron Pump Body |
| 2 | See Remarks | FLX WEAR PLATE (206309) | 1 | Use AS-1 Not used on Cast Iron Pump Body |
| 3 | NPS06303-UNIT | FLX STUD SS 0.375” BSW x 1.7” (590392) | 3 | |
| 4 | See Remarks | FLX BODY HOUSING ALUMINIUM (206310) | 1 | Use AS-1 (Suits FP212G) |
| See Remarks | FLX BODY HOUSING CAST IRON (206320) | 1 | Use AS-1 (Suits P212A & P212) |
Assembly / Service Kits – Pumps Head Body Assy (All Types)
| Item No. | Product Code | Description | Qty | Remarks |
| AS-1 | NPS06255-UNIT | FLX ASSY PUMP BODY ALUMINIUM (206380) | 1 | Suits all FP212G |
| NPS08496-UNIT | FLX ASSY PUMP BODY CAST IRON (206381) | 1 | Suits all FP212A & FP212C |

Flexshaft
Flexshaft (All Types)
| Item No. | Product Code | Description | Qty | Remarks |
| 1 | See Remarks | FLX FERRULE PUMP END 32MM (206103) | 1 | Use AS-1 or AS-2 |
| See Remarks | FLX FERRULE PUMP END 38MM (206108) | 1 | Use AS-1 or AS-2 | |
| 2 | See Remarks | FLX END SUPPORT SPRING 32MM (206102) | 2 | Use AS-1 or AS-2 |
| See Remarks | FLX END SUPPORT SPRING 38MM (206105) | 2 | Use AS-1 or AS-2 | |
| 3 | See Remarks | FLX COLLAR 32MM (340303) | 2 | Use AS-1 or AS-2 |
| See Remarks | FLX COLLAR 38MM (206112) | 2 | Use AS-1 or AS-2 | |
| 4 | See Remarks | FLX MIDDLE SUPPORT SPRING 32MM (206111) | 1 | Use AS-1 or AS-2 |
| See Remarks | FLX MIDDLE SUPPORT SPRING 38MM (206106) | 1 | Use AS-1 or AS-2 | |
| 5 | See Remarks | FLX FERRULE COUPLING END 32MM (310315) | 1 | Use AS-1 or AS-2 |
| See Remarks | FLX FERRULE COUPLING END 38MM (206104) | 1 | Use AS-1 or AS-2 | |
| 6 | See Remarks | FLX CORE END SCREW 13MM (206101) | 1 | Use AS-1 or AS-3 |
| See Remarks | FLX CORE END SCREW 15MM (206107) | 1 | Use AS-1 or AS-3 | |
| 7 | See Remarks | FLX INNER CORE 6M X 13MM (810124) | 1 | Use AS-1 or AS-3 |
| See Remarks | FLX INNER CORE 9M X 13MM (810155) | 1 | Use AS-1 or AS-3 | |
| See Remarks | FLX INNER CORE 6M X 15MM (810180) | 1 | Use AS-1 or AS-3 | |
| See Remarks | FLX INNER CORE 9M X 15MM (810183) | 1 | Use AS-1 or AS-3 | |
| 8 | See Remarks | FLX CORE END HEX 13MM (049210) | 1 | Use AS-1 or AS-3 |
| See Remarks | FLX CORE END HEX 15MM (053270) | 1 | Use AS-1 or AS-3 |
Assembly / Service Kits – Flexshaft (All Types)
| Item No. | Product Code | Description | Qty | Remarks |
| AS-1 | NPS01590-UNIT | FLX FLEXSHAFT ASSY 6M x 32MM (206946GZ) | 1 | Suits FP212G 6m long x 32mm casing diameter Inc Items: AS-2 & AS-3 |
| NPS01593-UNIT | FLX FLEXSHAFT ASSY 9M x 32MM (206949GZ) | 1 | Suits FP212G 9m long x 32mm casing diameter Inc Items: AS-2 & AS-3 | |
| NPS01592-UNIT | FLX FLEXSHAFT ASSY 6M x 38MM (206946CGZ) | 1 | Suits FP212A & FP212C 6m long x 38mm casing diameter Inc Items: AS-2 & AS-3 | |
| NPS01594-UNIT | FLX FLEXSHAFT ASSY 9M x 38MM (206949CGZ) | 1 | Suits FP212A & FP212C 9m long x 38mm casing diameter Inc Items: AS-2 & AS-3 | |
| AS-2 | NPS01586-UNIT | FLX CASING ASSY 6M x 32MM (206946G) | 1 | Suits FP212G 6m long x 32mm casing diameter Inc Items: 1 – 5 |
| NPS01588-UNIT | FLX CASING ASSY 9m x 32MM (206949G) | 1 | Suits FP212G 9m long x 32mm casing diameter Inc Items: 1 – 5 | |
| NPS01587-UNIT | FLX CASING ASSY 6M x 38MM (206946CG) | 1 | Suits FP212A &F P212C 6m long x 38mm casing diameter Inc Items: 1 – 5 | |
| NPS01589-UNIT | FLX CASING ASSY 9M x 38MM (206949CG) | 1 | Suits FP212A & FP212C 9m long x 38mm casing diameter Inc Items: 1 – 5 | |
| AS-3 | NPS01595-UNIT | FLX INNER CORE ASSY 6M x 13MM (206946Z) | 1 | Suits FP212G 6m long x 13mm core diameter Inc Items: 6 – 8 |
| NPS01598-UNIT | FLX INNER CORE ASSY 9M x 13MM (206949Z) | 1 | Suits FP212G 9m long x 13 mm core diameter Inc Items: 6 – 8 | |
| NPS01596-UNIT | FLX INNER CORE ASSY 6M x 15MM (206946CZ) | 1 | Suits FP212A & FP212C 6m long x 15mm core diameter Inc Items: 6 – 8 | |
| NPS01600-UNIT | FLX INNER CORE ASSY 9M x 15MM (206949CZ) | 1 | Suits FP212A & FP212C 9m long x 15mm core diameter Inc Items: 6 – 8 |
Coupling
Coupling Assy (All Types)
Coupling (All Types)
| Item No. | Product Code | Description | Qty | Remarks |
| 1 | See Remarks | FLX BEARING HOUSING (360421) | 1 | Use AS-1 |
| 2 | See Remarks | FLX HEX ADAPTOR (046310) | 1 | Use SK-1 |
| 3 | See Remarks | FLX BEARING (550102) | 2 | Use SK-1 |
| 4 | See Remarks | FLX SPACER (046330) | 1 | Use SK-1 |
| 5 | See Remarks | FLX CIRCLIP (670105) | 1 | Use SK-1 |
| 6 | See Remarks | FLX SPINDLE 3-TEETH (360422) | 1 | Use AS-1 |
Coupling (All Types) Assembly / Service Kits
| Item No. | Product Code | Description | Qty | Remarks |
| AS-1 | NPS01575-UNIT | FLX COUPLING ASSY (360420) | 1 | Inc Items: 1 – 6 |
Parchem Construction Supplies
1956 Dandenong Road, Clayton VIC 3168, Australia
Phone: 1300 353 986
flextool.com.au
ABN 80 069 961 968
This manual summarises our best knowledge of the product based on the information available at the time of publication. You should read this manual carefully and consider the information in the context of how the product will be used. Our responsibility for products sold is subject to our standard terms and conditions of sale.
DISCLAIMER:
Any advice, recommendation, information, assistance or service provided by us in this manual is given in good faith and is believed by us to be appropriate and reliable. However, any advice, recommendation, information, assistance or service provided by us is provided without liability or responsibility PROVIDED THAT the foregoing shall not exclude, limit, restrict or modify the right entitlements and remedies conferred upon any person or the liabilities imposed upon us by any condition or warranty implied by Commonwealth, State or Territory Act or ordinance void or prohibiting such exclusion limitation or modification. The product can be expected to perform as indicated in this manual so long as operation and operational procedures of the individual products are followed as recommended in this manual. Design and technical specifications may be subject to changes.
© This publication is copyright. All rights are reserved. Flextool is a registered trade mark of Parchem Construction Supplies Pty Ltd.
FOR MORE INFORMATION
CONTACT US ON 1300 353 986 OR VISIT flextool.com.au






















