Step2Health XL Bedside Safety Step Instruction Manual
How To Use
4 STEPS TO GET IN BED
- Approach step2bed, turn sideways towards bed and grab tall grab bar.

- With hands on tall bar, step onto step and turn backside to bed.

- With hands on tall grab bar sit down.

- Lay down to resting position and lift legs over small rail into bed.

5 STEPS TO GET OUT OF BED
- Reach closest arm over to grab tall grab bar

- Use rail to lift shoulders off the bed while swinging legs over short rail place feet on step.

- Take 15-30 seconds while sitting up to gain your composure.

- (When ready) Use one hand on tall grab rail or two hands (one on tall rail, one on short rail) and stand up.

- While keeping one hand on tall grab bar slowly step off step2bed onto floor.

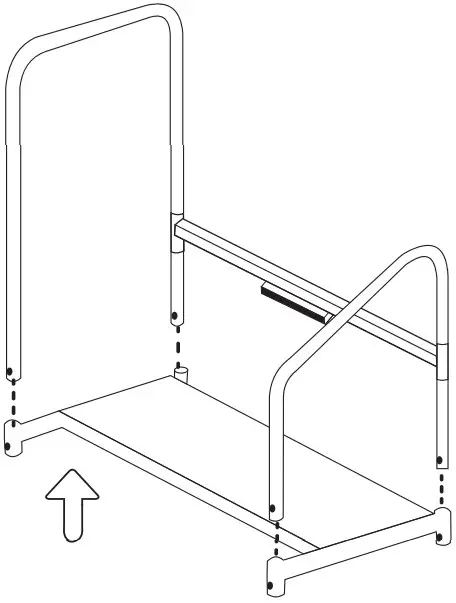
Assembly Instructions

- Insert A & B into holes of part C (Part A towards head of bed) (Part C with light bracket underneath cross bar)

- Raise part C to align with holes

- Insert two bolts (F) then apply & tig hten nuts.

- Insert A & B into holes of part D and raise to align with bolt holes.

- Turn st0pBlBdckbocisfde.

- Insert all four legs (E) to desired height.



- Insert four bolts (F) then apply & tighten nuts

- Starxdlstbg2 bd&Lippi t.

- Peel two-sided tape off back of light (G) and attach to light bracket on part C with light & sensor facing out. See other side for details.


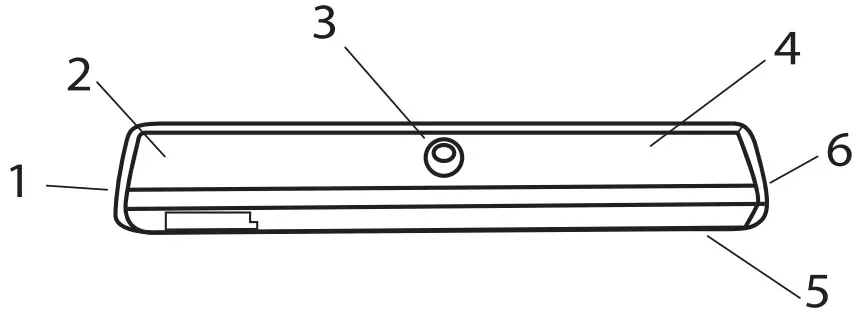
Light Fixture

- battery cover
- lightsensor
- motion sensor
- lighting luminous area
- magnet fixed bar
- switch

Locate lig ht with magnet strip and double-sided tape
Attach magnet side (front) of double-sided tape to the magnet side of the lig ht.
Remove liner on the tape, and attach to crossbar of Step2Bed.
Features
- Can be taped and applied without screws.
- Light will turn on automatically when passing by and turn off after leaving.
- If the light sensor detects enough lights, then it will not turn on even if there is movement of human body
Specifications
- Work voltage: DC3-6V
- Static features: 50uA
- Induction distance: 3-5m
- Induction angle: <1 1 0
- Delay time: 1 5s
- Power by: 4 *AAA battery
- Warm light
Instructions For Attaching Velcro
Thankyouiag/aiicfBrrpuictlaa bbeatpgg/adâ!tWt/’éibppetifbdttssypzuarratl$aaurloved I e›resI ke it has so maqpettharf8miliies.
As a courtesy, we have also included velcro in this unit in order to make the step2bed even more stable
(1) Velcro
SAFETY FIRST!
Please note that the velcro should not impede the use of the step2bed XL or cause any tripping hazard.

- The velcro should be wrapped beneath the step—on and around the back legs closest to the bed.

- Next, wrap the other end around the bed frame, securely fastening the velcro ensuring afirm grip.










































