SmartPower SYSTEMS Smart 30 3 Phase Surge Protector

INSTALLATION INSTRUCTION
Use this user’s guide for the following products:
CAUTION
- Use only in dry locations indoors.
- Avoid dropping the unit.
- Only plug the Smart30 into a three pronged grounded outlet. This unit is not to be used with any type of ground “lift” or pin eliminator.
- Do not open the Smart30 unit, there are no serviceable parts inside. Opening the unit will void your warranty.
CAUTION
- This device features an internal protection that will disconnect the surge protective component at the end of its useful life but will maintain power to the load now unprotected. If this situation is undesirable for the application, follow the manufacturer’s instructions for replacing the device.
CAUTION
- Do not install this device if there is not at least 10 meters (30 feet) or more of wire between the electrical outlet and the electrical service panel.
WALL MOUNT INSTALLATION
To mount your Smart30 unit to a wall or other surface, first, install four screws (not included) on the wall, where monitoring lights can be observed. Leave 1/4 inch of the screw exposed. Use the two mounting holes in the back of the Smart30 by sliding them into the exposed part of the screws and lock into place.
INSTALLATION OF SMART30
- Turn off and un-plug equipment to be protected from wall outlet.
- Plug the equipment into the Smart30 Unit.
- Plug the Smart30 unit into grounded wall outlet.
- Your equipment is now fully protected. Place the Smart30 where monitoring lights can be observed.

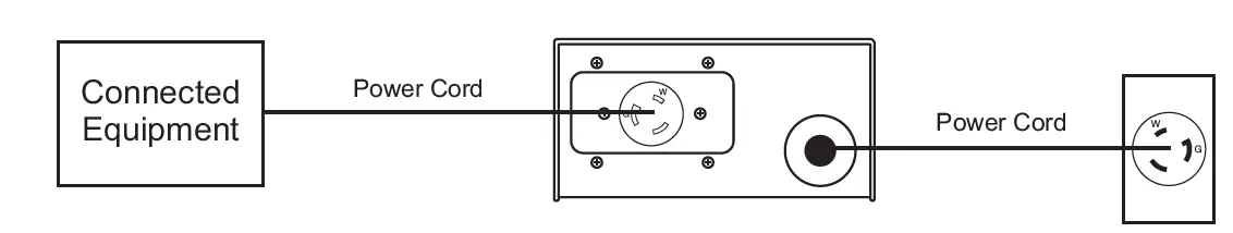
- 3-PHASE FRONT VIEW
- 3-PHASE REAR VIEW

CAUTION
In the case of reverse phase sequence in 3-phase models (RED LED ON), the phase sequence should be corrected at the wall outlet by a certified electrician. Reverse phase sequence might lead to malfunction of the 3-phase equipment.
- SINGLE PHASE FRONT VIEW
- SINGLE PHASE REARVIEW

- If you have any questions call us at our Tech Support line toll-free at 1-800-772-7633 or email us at s[email protected]
OTHER POWER PROTECTION PRODUCTS
TRANSFORMER-BASED FILTER SERIES (TBF™) POWER FILTERS
Considered to be one of the most significant developments in the power protection industry. TBF™ Filters contain innovative technology that combines Surge Suppression and Noise Isolation which filters the noise on the ground to less than 0.5 Volts (US Patent # 6229682). Exclusive “POVP” Prolonged Over Voltage Protector (US Patent # 6560086) disconnects the output power if the voltage exceeds 155 volts. Exclusive Smart Technology (US Patent #5721661) protects microprocessor-based equipment against reverse polarity or no ground. The patented TBF™ filters prevent 90% of the power problems experienced by your POS system, computer, copier, and facsimile machine.
UNINTERRUPTIBLE POWER SUPPLIES – UPS SERIES
Smart Power Systems’ Uninterruptible Power Supplies (UPS) integrated TBF™ Technology provides online power conditioning.
WARRANTY
All Smart30 units are guaranteed free of defects in material or workmanship for 5 years. See our website for more details – www.smartpowersystems.com
$25,000 Connected Equipment Warranty
If the Smart Power Systems equipment fails and this failure allows a surge to pass through and damage the connected equipment, Smart Power Systems will pay for the repair or replacement of the connected equipment of the original purchaser . Please take the time to register each Smart Power Systems’ product along with the connected equipment devices connected to it within 10 days of date of purchase in order for you to take advantage of this product warranty and connected equipment protection policy. See our website for more details – www.smartpowersystems.com
IMPORTANT
- If for any reason you need to return the Smart30 unit to the manufacturer, you should obtain an RMA (Return Material Authorization) number before returning the unit. To request an RMA number please call 1-800-772-7633 or visit the website at www.smartpowersystems.com/rma.htm
- 7409 Railhead Ln. – Houston, Texas 77086 – Tel:(713)464-8000 – Fax:(713)984-0841 E-mail: [email protected] – www.smartpowersystems.com Meets UL 1449 3rd. Edition Requirements




















