ATRV DC Caravan Door
Content of the shipment
| Name | Quantity | Picture | Marks |
| DC Door
| 1
| ![]() | |
| “D” shaped door holder bracket | 1 | ![]() | |
| Striker back brace | 2 | ![]() | |
| Striker plastic cap | 2 | ![]() | |
| M5X16 Screw
| 2 | ||
| KEY | 3 | ||
![]() | |||
| Rubber trim | 1 | ![]() | the wall thickness is 30-35mm |
| Rubber trim | 1 | ![]() | the wall thickness is 25-29mm or 36-40mm |
| Striker mounting bracket pad | 1 | ||
| Installation Instructions |
Installation
NOTICE: THESE NEW DOORS COME COMPLETE WITH PACKERS IN PLACE TO ENABLE THEM TO BE FITTED WITH MINIMAL EFFORT.
THE INNER DOOR AND FRAME ARE HELD IN PLACE BY FOUR (4) PACKERS. THE PACKERS ARE RUBBER AND ARE LOCATED BETWEEN THE INNER DOOR AND THE FRAME AND NEAR DOOR LOCK. THESE SHOULD NOT BE REMOVED UNTIL THE OUTER FRAME IS SECURED TO THE CARAVAN FRAME
Cut out
According to door size( HxW), cut out the hole (0HxOW).The embedded reinforcement is required around the hole,as Fig. 1.If fix the striker back brace and striker cover, you must leave enough space for it around the hole in the caravan

Installation of the outer frame
- Take out the door from the box and check if the packers are in place. (THESE SHOULD NOT BE REMOVED UNTIL THE OUTER FRAME IS SECURED TO THE CARAVAN FRAME).
- Add sealing compound on the door frame As in Fig.2.

- Position the door frame into the caravan cut-out and locate in desired position .as in Fig.3

- Fix the door frame to the caravan frame with the MINIMUM of one screw in each outside corner area. The door frame should now be fixed into position and unable to move within the caravan frame. As in Fig. 4

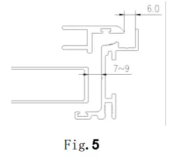
- Check inside the van for the gap between the door frame and the caravan frame. If necessary pack between the two to reinforce the join. (If the balance of the fixing is to be through the inner area of the frame, it is recommended to minimize the gap between the two frames to prevent distortion of the door frame and to ensure the door lock bolts engage when door is closed and the gap between the security door and the door frame is between 7to 9.As shown in Fig. 5

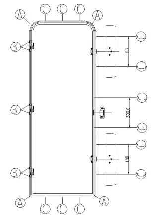
- Open inner door, discard packers and finish fixing door frame to caravan frame. as in Fig. 6 (B/C).


Check the door and lock function
- After door is installed, the lock can be opened and closed freely, and the door can be closed with a little force, and the central lock tongue can be easily engaged with the centre striker plate.
- Rotate the handle, the top and bottom dead bolts can move up and down smoothly in the strikers. The force to rotate the handle is appropriate. Easy to unlock/lock with the key and Deadlock catch. And the key can turn back to original position automatically.
- Rotate the release lever, the outer door and the Security door can be automatically separated. If the release lever is not rotated, the security door and the outer door must not be separated. the outer door and the security door can be joined easily. See the Operation instruction for details.
Notice:
- The handle and key must be rotated into place.
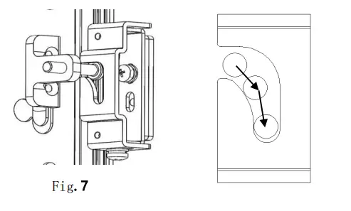
- The lock is debugged before leaving the factory. If the dead bolt does not smoothly engaged with the striker as Fig.7,the striker can be adjusted up and down as Fig.8.


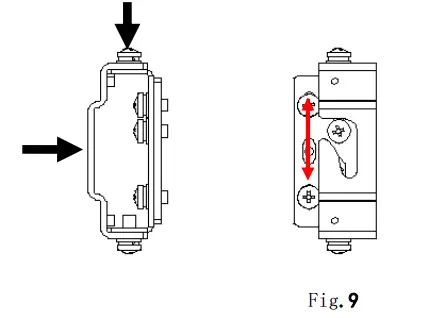
- If the force of rotating the handle istoo big or if the door is not closed tightly, the striker can be adjusted back and forth as in Fig. 9.

Fix rubber trim
- When the wall thickness is 30-35mm, use rubber trim (MD-XJT-002) as in Fig.10.

- When the wall thickness is 25-29mm or 36-40mm, use rubber trim (MD-XJT-004). as in Fig. 11.

Note:
- It is necessary to tighten the rubber trim to prevent wrinkling.
- The rubber trim at the strikers needs to be cut off.
- The rubber trim joints should be glued.
- If the rubber trim warps at corners, glue or double-sided tape can be used.
Fix striker back brace with M5X12 as Fig. 12.
fix striker plastic cover as Fig. 13.

install the ĀDā shaped door holder to the wall of the caravan.
Please eliminate all glue material around the door.
Notice:
- The door can not be used before it is fixed firmly.
- During travel, ensure that the door is in a lock state.
- Do not rotate the handle freely when the door is open. If you do that, the dead bolt will hit the striker when closing the door.






































