MEDIC THERAPEUTICS ROHS Portable Contactless Digital Infrared Thermometer

INTRODUCTION: PRODUCT & CLASSIFICATION
This product measures body temperature by collecting the infrared thermal radiation from a human’s forehead. While producing quick and accurate measurements, it is simple and convenient to operate.
Scope of Use: Measuring the forehead thermal radiation of a human subject in order to determine the subject’s body temperature.
FUNDAMENTAL WORKING PRINCIPLES
Objects emit infrared thermal radiation energy. Their radiation energy wavelength and level are directly determined by their surface temperature. Based on this principle, the design of this product adopts a high-precision infrared sensor, used for detecting the infrared radiation energy emitted by the human body with the wavelength of 5~14um.Through accurate calculation, compensations and correcting agents, this product accurately measures human body temperature.
PRODUCT FEATURES
- Stable and reliable high precision infrared sensor
- Environmental temperature adaptability, enabling the product to be used across a variety of environments
- Automatically saves the last temperature measured
- Two unit options of measurement: Celsius and Fahrenheit
- Shuts down automatically to save battery energy
TECHNICAL PARAMETERS
| Measurement Mode | Contactless |
| Measuring Distance | 1~5cm |
| Maximum permissible errors | ±0.2°C/32.4°F |
| Resolution ratio | 0.1°C/32.2°F |
| Power supply | DC 3V |
| Backlight | High brightness backlight |
| According to the unit | °C/°F |
| Auto power-off | 15s |
| Size | 150mm x 80mm x 45mm |
| Weight | 180g |
| Operating Environmental Conditions | 16°C/60.8°F~ 40°C/104°F |
| Storage environment | 0°C/32°F ~ 50°C/122°F |
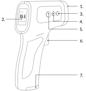
COMPONENTS

- Infrared detector
- LCD Screen
- Down key
- Up key
- Set key
- Measuring key
- Battery cover
FUNCTION SETTINGS
The product provides three function settings which include:
- Switching the unit of temperature
- Turning the audio on/off
- Switching the measurement modes
Comparison table of function settings:
Menu | Function | “+”key | “-”key | Initial value |
F1 | Switching temperature units | Switch °C/°F | Switch °C/°F | °C |
| F2 | Turning audio on or off | Sound ON/ OFF | Sound ON/ OFF | ON |
F3 | Switching measurement modes | Switch Body/ Surface | Switch Body/ Surface | Body |
| F4 | Factory calibration | N/A | N/A | N/A |
Temperature Unit settings (F1):
When the thermometer is turned on, press the “SET” key. Hold until the LCD displays “F1”. And then press the “+”key or”-“key to switch to “°C” or “°F”.
Audio settings (F2):
When the machine is turned on, press the “SET” key until the LCD displays”F2″. And then press the “+”key or “-“key to turn the sound on/off.
Measurement Mode settings (F3)
When the machine is turned on, press the “SET” key, until the LCD displays “F3”. And then press the “+”key or “-“key to switch between Body and Surface modes.
MEASUREMENT METHOD
Measuring Body Temperature:
Make sure the measurement mode is set to body mode. Aim the probe of the thermometer at the center of the subject’s forehead and maintain a vertical distance of about 1cm ~ 5cm. After pressing the measurement button for one second, there will be a “di” sound; the measured value is displayed and the test is completed. If the measured temperature is abnormal, it will be followed by a “di…Beep” sound. The LCD screen will display different colors according to different temperatures:
Green: Normal Temperature
Orange: Low Fever
Red: High Fever or Test Exception
When the change of the environment’s temperature has a great impact on the forehead temperature, first align the thermometer with the earlobe and then take the subject’s temperature.
Measuring Surface Temperature:
Make sure the measurement mode is set to surface mode. Point the probe of the thermometer at the object to be measured and maintain the vertical distance of about 1cm ~ 5cm. After pressing the measurement button for one second, there will be a “di” sound. The measured value is displayed and the test is completed.
Tips:
- Keep the inner cavity of the sensor and probe clean before and after use.
- Store the thermometer in a stable temperature environment. When the ambient temperature changes drastically, let the thermometer sit for about ten minutes prior to use.
- Do not measure the body temperature immediately after measuring the temperature of an extremely high or low temperature object.
- If the measurement object comes from an environment with a great difference from the current test environment temperature, let the thermometer sit in the test environment for at least five minutes.
- Avoid taking measurements when the forehead is exposed to wind, water, sweat, or has applied cosmetics. Do not take measurements within 30 minutes of exercising, showering, or eating.
- Do not disassemble or modify the machine, otherwise it will cause inaccurate measurement results.
MAINTENANCE AND PRECAUTIONS
- Keep the inner cavity of the sensor and probe clean, otherwise the accuracy of measurement will be negatively affected. Use a clean soft cloth, cotton swab or medical alcohol wipes to clean the areas exposed to dirt. Allow to dry before use.
- Read this manual carefully before use to make sure the battery is properly installed.
- Do not immerse the thermometer in liquid. Do not leave it in high or low temperature environments for a long period of time.
- Do not collide, drop or put sharp objects in the thermometer. Do not disassemble yourself.
- It is recommended to practice using the thermometer several times to get familiar with the measurement methods. Try not to change the factory settings.
- Measurements are not a substitute for a physician’s diagnosis.
- Please contact the seller or manufacturer if there is any trouble during use.
- Please dispose of the waste and residue at the end of the service life of the product accordingly with local laws and regulations.
TROUBLESHOOTING
| Diagnosis | Solution |
| Screen displays “LO” OR “HI” |
|
| Screen displays “ERROR” | Confirm that ambient temperature is 16°C/60.8°F~ 40°C/104°F. If not, move the machine to a 16°C/60.8°F~ 40°C/104°F environment and allow to sit for 30 minutes prior to using. |
| Buttons not responding | Unload and reload the batteries. Make sure that you are operating under the correct menu settings. |
| No display or display is abnormal | Reload the batteries. |
| No prompting | Check to see whether the prompt tone setting is on/off. |
| Shuts down immediately after turning on | Check the battery level and reload the battery. |



















