
ELECTRIC HOT FOOD TABLE
OPERATOR MANUAL

Model Number: PA0200 /PA0203/PA0204/PA0205
IMPORTANT SAFETY INFORMATION
When using electrical appliances, basic safety precautions should always be followed, including the following:
- Read all instructions carefully and completely.
- For commercial use only.
- Do not touch hot surfaces.
- Protect against electrical shock by keeping all cords, plugs, and other electrical components away from water or other liquids.
- Unplug this unit when not in use and before cleaning.
- Allow the unit to cool before putting on or taking off parts.
- Do not operate this or any appliance with a damaged electrical cord or plug.
- Do not operate this or any appliance after it has malfunctioned or been damaged in any way.
- Do not use outdoors.
- Do not place on or near a hot gas or electric burner.
- Attach the plug to the appliance first, then plug the electrical cord into the wall outlet.
- Disconnect the unit by turning the temperature and timer control to “OFF”, then removing the electrical plug from the wall outlet.
- Do not use appliances for any application other than intended use.
- Do not insert metal utensils or oversized foods into this unit as they may cause a fire and heighten the risk of electrical shock.
- Do not store any item on top of this unit when in operation.
- Do not allow this oven to touch or be covered by flammable material, such as curtains, draperies, walls, etc., when in operation.
- Do not clean with metal scouring pads as pieces can break off and touch electrical components, heightening the risk of electrical shock
- Never place materials such as paper, cardboard, plastic, etc. in this oven.
- Do not cover the interior of this unit with metal foil as it may cause the oven to overheat.
- Avoid scratching the surface or nicking the edges of this unit’s tempered, safety glass door. If the oven door has a scratch or nick, contact customer service before use.
- Turn the appliance off by turning the temperature and timer control to the “OFF” position.
- Note that the use of accessories not recommended by the manufacturer may result in injury.
- Children should be supervised to ensure that they do not play with the oven.
- This appliance is not intended for use by persons (including children) with reduced physical sensory or mental capabilities, or lack of experience and knowledge unless they have been given supervision or instruction concerning the use of the appliance by a person responsible for their safety.
- When using the appliance in shops, snack bars, hotels, etc., check the voltage and outlet to make sure the appliance is correctly connected with power.
- Place unit on a flat surface that is well ventilated. The appliances must be supervised during operation, DO NOT leave the appliance without powering off.
Improper installation, adjustment, alteration, service, or maintenance can cause property damage, injury, or death. Read the Installation, Operating, and Maintenance Instructions thoroughly before installing or servicing this equipment
NOTE: Save these instructions for future reference.
| Model | Volts | Wells | Watts/well | Total Watts | PH |
| PA0200 | 120V | 2 | 500W | 1000W | 1 |
| PA0203 | 120V | 3 | 500W | 1500W | 1 |
| PA0204 | 208-240V | 4 | 750W | 2240-3000W | 1 |
| PA0205 | 208-240V | 5 | 750W | 2800-3750W | 1 |
ELECTRIC SPECIFICATIONS DIMENSION
| Model | Length | Width | Height | Top Opening | Unit Weight |
| PA0200 | 30” | 29.52” | 33.5” | 2 | 63.90 lbs |
| PA0203 | 44” | 29.52” | 33.5” | 3 | 83.70 lbs |
| PA0204 | 58” | 29.52” | 33.5” | 4 | 108.00 lbs |
| PA0205 | 72” | 29.52” | 33.5” | 5 | 130.50 lbs |
INSTALLATION INSTURCITON
If the carton appears damaged, or damage is discovered once the carton is opened, stop immediately and contact the freight company to file a damage claim.
CAUTION: The steam table is shipped without the legs, under-shelf, or cutting board shelf attached. Please read the installation and operation instructions before operating the unit. Remove all supports and packaging materials before operating the unit. Failure to remove all packaging materials may lead to a fire and/ or damage to the appliance.
- Remove all external packaging that is protecting a top portion of the unit
- Remove all internal packaging to the unit, if present.
- Visually inspect all external and internal portions of the unit for damage.
- Wipe down the exterior of the unit using a damp cloth with warm water. Do not use abrasive pads or cleaners as they will damage the stainless steel surface.
Note: Ambient Conditions- make sure that the operating location is in an area where the ambient temperature is held constant (minimum 70ºF). Please avoid areas such as near exhaust fans and air conditioning ducts.
Waring! Operating environment
Ensure that the operating location is at a reasonable distance from combustible walls and materials otherwise combustion or discoloration could occur.
Caution! Operating environment
Place the unit on a stable, level floor. The unit must be level, both front and back and left to right, in order to maintain an equal water depth throughout the wells. To eliminate rocking or adjust height turn the adjustable feet in the proper direction until the desired results are obtained.
Note: Maximum adjustment is 1 inch - Before plugging the unit into a wall outlet or permanently electrical connecting, the unit should be adjusted to the desired height and aligned with other equipment.
- The voltage and wattage ratings of this hot food table are given on the device nameplate. Connect the hot food table to a circuit having a voltage and type of current similar to that stamped on the device nameplate. For movable equipment, a proper cord and plug are included for connection to the matching power supply outlet.
- Plug unit into a grounded electrical outlet with correct voltage, and plug configuration. a. Waring! Using any receptacle that is not designed to match the attached cord and plug MAY cause personal injury and WILL void your warranty. Please attach the Hot Food Table, to an individual branch circuit
- For permanent installations, connections to the supply lines may be made through conduit or armored cable. Use copper wire for the power supply or suitable copper to aluminum wire connector.
- The body of the appliance should be grounded by connecting the ground stud provide in the junction box to a good electrical ground.
- The hot food table is not fused and consequently must be connected to a fused circuit equipped with suitable disconnect means, as required by local code authorities.
- To assembly, the units follow steps 1 thru 6 listed below.
NOTICE:
UNIT IS SHIPPED UNASSEMBLED. TO MEET NATIONAL SANITATION FOUNDATION STANDARDS, THE INSTALLER MUST USE A NSF-APPROVED SILICONE SALANT TO SEAL THE SEAMS BETWEEN THE UNIT AND ASSEMBLED PARTS.

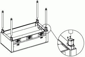
Step 1: Insert the bullet leg into the 4 tubes.
CAUTION: When inserting bullet legs uses a soft mallet only. To avoid damaging the leg inserts.

Step 2: Place the unit on the floor upside down. Be sure to protect the top surface and well from damage when the unit is placed on the top of the floor. Once the legs are in place tighten the set screws in the leg inserts.

Step 3: Slide the shelf over the legs.

Step 4: Locate the shelf at a minimum of 6 inches from the floor to allow for cleaning and to comply with NSF standards. Tighten the 4 set screws located in each corner of the shelf leg inserts.

Step 5: Install the supporting board on the fixing brackets first, then position this part in the front of the shell with screws.

Step 6: Install the cutting board stops through the shelf and the shelf support brackets at each end as shown.
BEFORE USING YOUR HOT FOOD TABLE
- Wipe down the exterior of the unit using a damp cloth with warm water. Do not use abrasive pads or cleaners as they will damage the stainless steel surface.
- Check if all portions are well assembled.
- Check if the power cord matches the outlet well.
THIS UNIT COMES WITHOUT PANS, GET PANS BEFORE USING
USING YOUR HOT FOOD TABLE
OPERATION INSTRUCTION FOR HOT FOOD TABLE
- PREHEAT – To preheat individual sections, turn the switch dial to 6 for 10 – 20 minutes before the foods are placed in the compartments. Ensure that pan openings are covered to prevent loss of heat.
a. Water – This is not necessary for this model. Air heating is easier and quicker to heat than water makes the waterless steam table faster and more economical to operate than a
table using water. Foods can be kept moist by keeping them at the correct temperature. Foods dry out only when excessive temperatures are reached, so when foods tend to
dry out, REDUCE HEAT. - If only part of the food warmers is needed, the compartment not in use does not need to be heated.
- SWITCH SETTINGS
a. The most satisfactory switch settings must be determined by experience based on the nature of the foodservice and the type of operation as well as the individual preference of the restaurant operator. The proper switch setting necessary to keep foods at the desired temperature will vary dependent upon the frequency of turnover, size of food
containers, amount of food in each container, room temperature, location of food warmer with respect to the range or other heated equipment, air outlets, fans, doors, and
passageways.
OPERATION INSTRUCTION
Before the unit is used for the first time, turn the temperature knob to “6” and heat the well for 20- 30 minutes. Do not be alarmed if smoke appears; this preheat should burn off any residue or dust on the heating element.
WARNING: Steam can cause serious burns. Always wear some type of protective covering on your hands and arms when removing lids or pans from the unit. Lift the lid or pan in a way that will direct escaping steam away from your face and body.
4. Never place food or water directly into the well. Always use pans.
5. Wet or dry operation is recommended.
6. Always place covers on pans when not serving to prevent food from drying out and to reduce your operating costs.
a. DRY OPERATION
- Pre-heat the well on “HIGH” for approximately 15 minutes.
- After preheating, set the control to your desired serving temperature.
CLEANING
Ensure the appliance has been turned off and has had sufficient time for all surfaces to cool down before cleaning.
DAILY CLEANING
1. Turn the control knob to the OFF position and allow the unit to cool before cleaning. 2. Drain or remove water from the well.
CAUTION: Do not allow water to splash or run onto the controls or wiring.
3. Use a soft cloth or sponge with a mild detergent to clean the entire warmer assembly. Rinse completely with warm water and then dry.
4. A plastic scouring pad and a mild detergent may be used to remove hardened food.
NOTICE: Do not use steel wool.
WEEKLY CLEANING
- Scale deposits due to the mineral content of the water may be removed using a plastic scouring pad and a de-scaling agent approved for use on stainless steel. It is important
to keep these deposits from building up as they may cause corrosion of the stainless steel well. - After de-scaling, the good assembly should be rinsed thoroughly with a solution of vinegar and water to neutralize all cleaner residues.
- Wipe the good assembly dry and leave uncovered.
WARNING
Do not use any highly caustic cleaners, acids, or ammonia. These may cause corrosion and/or damage to the stainless steel well. Do not allow water to stand in the well for long
periods of time. Water must be removed from the well and the well cleaned after each use.
CLEANING PROCEDURES FOR POLYETHYLENE OR ABS (RUBBER) COMPOSITION TABLE TOPS OR CUTTING BOARDS
If no cleaning equipment is available; use hot water, a granular cleanser or detergent, and a stiff bristle brush. (Abrasive action is necessary, as simply wiping the board will not suffice.) After scrubbing, rinse thoroughly with hot water. Allow lying flat.
The cutting board is easy to move out for cleaning, wipe off the water, and dry it before putting it back in the unit. The use of cleavers on synthetic boards or tabletops is not recommended.
TROUBLESHOOTING
Problem: The oven does not become hot after being switched on.
(A)Be sure that the power cord is well plugged into a proper electric source. B, Be sure that the temperature control knob is correctly set.
Problem: Unit does not maintain proper food temperature.
(A)Are the controls set to the proper setting?
(B)If used with water, was hot water used to fill well? If not, allow extra preheat time.
(C)Has the unit been pre-heated for 30-45 minutes?
(D)Were pans of food placed into the unit at or above the desired temperature?
(F)Has the food been kept covered?
(G)Are there air conditioning ducts, take-up air ducts, or fans located near or over the unit, causing cool drafts?
(H)Has the unit been connected to a proper electrical source of the proper voltage? If so, is there a “low” voltage condition?
PREVENTATIVE MAINTENANCE SCHEDULE
Please follow the cleaning section for the daily and weekly preventative maintenance schedule.
- Use the proper tools.
• When cleaning stainless steel products, use non-abrasive tools. Soft cloths and plastic scouring pads will not harm steel’s passive layer. Stainless steel pads also
can be used but the scrubbing motion must be in the direction of the manufacturers’ polishing marks. - Keep your food equipment clean.
• Use alkaline, alkaline chlorinated, or non-chloride cleaners at recommended strength. Clean frequently to avoid the build-up of hard, stubborn stains. If you boil water in stainless steel equipment, remember the single most likely cause of damage is chlorides in the water. Heating cleaners that contain chlorides have a similar effect. - Rinse.
• If chlorinated cleaners are used, rinse and wipe equipment and supplies dry immediately. The sooner you wipe off standing water, especially when it contains cleaning agents, the better. After wiping equipment down, allow it to air dry; oxygen helps maintain the stainless steel’s passivity film. - Never use hydrochloric acid (muriatic acid) on stainless steel.



















