MULTI TOOL
OPERATOR MANUAL
MTG305
DESCRIPTION
1.1 PURPOSE
You may use this product for cutting and sanding purposes.
1.2 OVERVIEW

- Shaft lock button
- On/off button
- LED light
- Clamping plate
- Variable speed dial
1.3 PACKING LIST
- Multi tool
- Accessory ( 4)
- Manual
GENERAL POWER TOOL SAFETY WARNINGS
WARNING
Read all safety warnings, instructions, illustrations and specifications provided with this power tool. Failure to follow all instructions listed below may result in electric shock, fire and/or serious injury.
Save all warnings and instructions for future reference.
The term “power tool” in the warnings refers to your mains operated (corded) power tool or battery-operated (cordless) power tool.
2.1 WORK AREA SAFETY
- Keep work area clean and well lit. Cluttered or dark areas invite accidents.
- Do not operate power tools in explosive atmospheres, such as in the presence of flammable liquids, gases or dust. Power tools create sparks which may ignite the dust or fumes.
- Keep children and bystanders away while operating a power tool. Distractions can cause you to lose control.
2.2 ELECTRICAL SAFETY
- Power tool plugs must match the outlet. Never modify the plug in any way. Do not use any adapter plugs with earthed (grounded) power tools. Unmodified plugs and matching outlets will reduce risk of electric shock.
- Avoid body contact with earthed or grounded surfaces, such as pipes, radiators, ranges and refrigerators. There is an increased risk of electric shock if your body is earthed or grounded.
- Do not expose power tools to rain or wet conditions. Water entering a power tool will increase the risk of electric shock.
- Do not abuse the cord. Never use the cord for carrying, pulling or unplugging the power tool. Keep cord away from heat, oil, sharp edges or moving parts.
- Damaged or entangled cords increase the risk of electric shock.When operating a power tool outdoors, use an extension cord suitable for outdoor use. Use of a cord suitable for outdoor use reduces the risk of electric shock.
- If operating a power tool in a damp location is unavoidable, use a ground fault circuit interrupter (GFCI) protected supply. Use of an GFCI reduces the risk of electric shock.
2.3 PERSONAL SAFETY
- Stay alert, watch what you are doing and use common sense when operating a power tool. Do not use a power tool while you arc tired or under the influence of drugs, alcohol or medication. A moment of inattention while operating power tools may result in serious personal injury.
- Use personal protective equipment. Always wear eye protection. Protective equipment such as a dust mask, non-skid safety shoes, hard hat or hearing protection used for appropriate conditions will reduce personal injuries.
- Prevent unintentional starting. Ensure the switch is in the off position before connecting to power source and/or battery pack, picking up or carrying the tool.
- Carrying power tools with your finger on the switch or energizing power tools that have the switch on invitesaccidents.
- Remove any adjusting key or wrench before turning the power tool on. A wrench or a key left attached to a rotating part of the power tool may result in personal injury.
- Do not overreach. Keep proper footing and balance at all times. This enables better control of the power tool in unexpected situations.
- Dress properly. Do not wear loose clothing or jewellery. Keep your hair, clothing and gloves away from moving parts. Loose clothes, jewellery or long hair can be caught in moving parts.
- If devices are provided for the connection of dust extraction and collection facilities, ensure these arc connected and properly used. Use of dust collection can reduce dust related hazards.
- Do not let familiarity gained from frequent use of tools allow you to become complacent and ignore tool safety principles. A careless action can cause severe injury within a fraction of a second.
2.4 POWER TOOL USE AND CARE
- Do not force the power tool. Use the correct power tool for your application. The correct power tool will do the job better and safer at the rate for which it was designed.
- Do not use the power tool if the switch does not turn it on and off. Any power tool that cannot be controlled with the switch is dangerous and must be repaired.
- Disconnect the plug from the power source and/or remove the battery pack, if detachable, from the power tool before making any adjustments, changing accessories, or storing power tools. Such preventive safety measures reduce the risk of starting the power tool accidentally.
- Store idle power tools out of the reach of children and do not allow persons unfamiliar with the power tool or these instructions to operate the power tool. Power tools are dangerous in the hands of untrained users.
- Maintain power tools and accessories. Check for misalignment or binding of moving parts, breakage of parts and any other condition that may affect the power tool’s operation. If damaged, have the power tool repaired before use. Many accidents are caused by poorly maintained power tools.
- Keep cutting tools sharp and clean. Properly maintained cutting tools with sharp cutting edges are less likely to bind and are easier to control.
- Use the power tool, accessories and tool bits etc. in accordance with these instructions, taking into account the working conditions and the work to be performed. Use of the power tool for operations different from those intended could result in a hazardous situation.
2.5 BATTERY TOOL USE AND CARE
- Recharge only with the charger specified by the manufacturer. A charger that is suitable for one type of battery pack may create a risk of fire when used with another battery pack.
- Use power tools only with specifically designated battery packs. Use of any other battery packs may create a risk of injury and fire.
- When battery pack is not in use, keep it away from other metal objects like paper clips, coins, keys, nails, screws, or other small metal objects that can make a connection from one terminal to another. Shorting the battery terminals together may cause burns or fire.
- Under abusive conditions, liquid may be ejected from the battery; avoid contact. If contact accidentally occurs, flush with water. If liquid contacts eyes, additionally seek medical help. Liquid ejected from the battery may cause irritation or burns.
- Do not use a battery pack or tool that is damaged or modified. Damaged or modified batteries may exhibit unpredictable behavior resulting in fire, explosion or risk of injury.
- Do not expose a battery pack or tool to fire or excessive temperature. Exposure to fire or temperature above 130°C(265 F) may cause explosion.
- Follow all charging instructions and do not charge the battery pack or tool outside the temperature range specified in the instructions. Charging improperly or at temperatures outside the specified range may damage the battery and increase the risk of fire.
2.6 SERVICE
- Have your power tool serviced by a qualified repair person using only identical replacement parts. This will ensure that the safety of the power tool is maintained.
- Never service damaged battery packs. Service of battery packs should only be performed by the manufacturer or authorized service providers.
SAFETY WARNINGS FOR MULTI-TOOL
- Hold power tool by insulated gripping surfaces, when performing an operation where the cutting accessory may contact hidden wiring. Cutting accessory contacting a “live” wire may make exposed metal parts of the power tool “live” and could give the operator an electric shock.
- Use clamps or another practical way to secure and support the workpiece to a stable platform. Holding the work by hand or against your body leaves it unstable and may lead to loss of control.
- To reduce the risk of explosion, electric shock and property damage, always check the work area for hidden gas pipes, electrical wires or water pipes when making blind or plunge cuts.
- Keep hands away from all cutting edges and moving parts. Do not reach underneath the workpiece
- Do not use dull or damaged blade, which can cause excessive friction, blade binding and kickback.
- Know your workpiece. Remove nail and screw heads before scraping. Hitting hard objects with blade may cause the tool to kick back
SYMBOLS ON THE PRODUCT
Some of the following symbols may be used on this tool.
Please study them and learn their meaning. Proper interpretation of these symbols will allow you to operate the tool better and safer.
| Symbol | Explanation |
| V | Volts |
| W | Watt |
| Ah | Ampere-hours |
| Li-ion | Lithium-ion battery |
| n0 | No-load speed |
| min-¹ | Revolutions or reciprocations per minutes (RPM) |
| Direct current | |
| Safety alert | |
| Read and understand all instructions before operating the product, and follow all warnings and safety instructions. | |
![]() | Wear car protection. |
![]() | Wear eye protection |
| Do not expose the product to rain or moist conditions. | |
![]() | Wear a dust mask |
ENVIRONMENTALLY SAFE BATTERY DISPOSAL

The toxic and corrosive materials below arc in the batteries used in this machine: Lithium-ion, a toxic material.
WARNING
Discard all toxic materials in a specified manner to prevent contamination of the environment. Before discarding damaged or worn out Li-ion battery, contact your local waste disposal agency, or the local Environmental Protection Agency for information and specific instructions. Take the batteries to a local recycling and/or disposal center, certified for lithium-ion disposal.
WARNING
If the battery pack cracks or breaks, with or without leaks, do not recharge it and do not use. Discard it and replace with a new battery pack. DO NOT TRY TO REPAIR IT! To prevent injury and risk of fire, explosion, or electric shock, and to avoid damage to the environment:
- Cover the terminals of the battery with heavy-duty adhesive tape.
- DO NOT try to remove or destroy any of the battery pack components.
- DO NOT try to open the battery pack.
- If a leak develops, the released electrolytes are corrosive and toxic. DO NOT get the solution in the eyes or on skin, and do not swallow it.
- DO NOT put these batteries in your regular household trash.
- DO NOT incinerate.
- DO NOT put them where they will become part of any waste landfill or municipal solid waste stream.
- Take them to a certified recycling or disposal center.
RISK LEVELS
The following signal words and meanings are intended to explain the levels of risk associated with this product.
| SYMBOL | SIGNAL | MEANING |
| DANGER | Indicates an imminently hazardous situation, which, if not avoided, will result in death or serious injury. | |
| WARNING | Indicates a potentially hazardous situation, which, if not avoided, could result in death or serious injury. | |
| CAUTION | Indicates a potentially hazardous situation, which, if not avoided, may result in minor or moderate injury. | |
| CAUTION | (Without Safety Alert Symbol) Indicates a situation that may result in property damage. |
PROPOSITION 65
WARNING
This product contains a chemical known to the state of California to cause cancer, birth defects or other reproductive harm. Some dust created by power sanding, sawing, grinding, drilling, and other construction activities contains chemicals known to cause cancer. birth defects or other reproductive harm. Some examples of these chemicals are:
- Lead from lead-based paints;
- Crystalline silica from bricks and cement and other masonry products;
- Arsenic and chromium from chemically treated lumber.
Your risk of exposure to these chemicals varies depending on how often you do this type of work. To reduce your exposure to these chemicals, work in a well-ventilated area, and work with approved safety equipment, such as dust masks that are specially designed to filter out microscopic particles.
Save these instructions.
INSTALLATION
8.1 UNPACK THE MACHINE
WARNING
Make sure that you correctly assemble the machine before use.
WARNING
- If the parts have damage, do not use the machine.
- If you do not have all the parts, do not operate the machine.
- If the parts are damaged or missing, speak to the service center.
- Open the package.
- Read the documentation in the box.
- Remove all the unassembled parts from the box.
- Remove the machine from the box.
- Discard the box and package in compliance with local regulations.
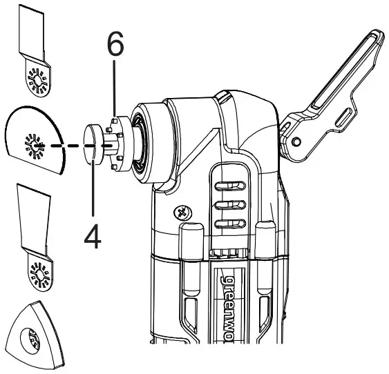
8.2 INSTALL THE ACCESSORY
- Pull the quick-release lever (I) and turn it counterclockwise to loose the clamping plate (4).

- Install the accessory and place it firmly onto the locating pins (6).

NOTE
Make sure that the clamping plate is placed well into the holder of the machine, otherwise you cannot spin the quick release lever. - Turn the quick-release lever clockwise to fasten the clamping plate and accessory.

- Put the quick release lever down.
8.3 INSTALL THE BATTERY PACK

WARNING
- If the battery pack or charger is damaged, replace the battery pack or the charger.
- Stop the machine and wait until the motor stops before you install or remove the battery pack.
- Read and understand the instructions in the battery and charger manual.
- Align the lift ribs on the battery pack with the grooves in the battery compartment.
- Push the battery pack into the battery compartment until the battery pack locks into place.
- When you hear a click, the battery pack is installed.
8.4 REMOVE THE BATTERY PACK
- Push and hold the battery release button.
- Remove the battery pack from the machine.
OPERATION
WARNING
Alwyas wear eye protection
WARNING
Do not use any attachments or accessories not recommended by the manufacturer of this product.
9.1 START THE MACHINE

- Push the on/off button in the on position.
9.2 STOP THE MACHINE
- Push the on/off button in the off position.
9.3 ADJUST THE VARIABLE SPEED
The machine can be set at 6-speed adjustment positions.The “I” position indicates the lowest and the “6” position indicates the highest speed. You can adjust different speed by turning the speed dial (5) from “l” to “6” position.

9.4 OPERATE THE MACHINE

WARNING
Always remove battery pack before changing or removing accessories. Only use accessories recommended for this machine. Others can be dangerous.
Sawing/Cutting
For maximum performance, operate the machine at a high speed.
- Install a sawing/cutting blade at an angle easy to use. Correctly clamp the workpiece.
- Start the machine and let it to reach full speed.
- Use moderate pressure without burning or scorching the workpiece.
Scraping
For maximum performance, operate the machine at a low speed.
- Install a scraping blade at an angle easy to use.
- Start the machine and let it to reach full speed.
- Use light pressure and a low angle without gouging and damaging the workpiece.
Sanding
For maximum performance, operate the machine at a high speed.
- Attach a sanding disc, or cut sandpaper to fit the backing pad.
- Always begin with a coarse grit, using successively finer grits to get the desired finish.
- Start the machine and let it to reach full speed.
- Use light pressure and long, sweeping, side to side strokes, advancing forward to produce the desired finish.
WARNING
To reduce the risk of injury, keep hands away from the blade and all moving parts. Always wear safety goggles or glasses with side shields.
MAINTENANCE
CAUTION
Do not let brake fluids, gasoline, petroleum-based materials touch the plastic parts. Chemicals can cause damage to the plastic, and make the plastic unserviceable.
CAUTION
Do not use strong solvents or detergents on the plastic housing or components.
WARNING
Remove the battery pack from the machine before maintenance
10.1 CLEAN THE MACHINE
CAUTION
The machine must be dry. Humidity can cause risks of electrical shocks.
- Clear the unwanted material out of the air vent with a vacuum cleaner.
- Do not spray the air vent or put the air vent in solvents.
- Clean the housing and the plastic components with a moist and soft cloth.
TECHNICAL DATA
| Voltage | 24 V |
| No Load Speed | 5000 – 18000 min-¹ |
| Oscillation angle | 3.2° |
| Weight with battery | 2.11 lbs (0.96 kg) |
| Battery model | LB24A020/BAG708 and other BAG series |
| Charger model | 2978602/2903102 and other CAG series |
LIMITED WARRANTY
3 YEAR IMITED WARRANTY
Greenworks hereby warranties this product, to the original purchaser with proof of purchase, for a period of three (3) years against defects in materials, parts or workmanship.
Greenworks, at its own discretion, will repair or replace any and all parts found to be defective, through normal use, free of charge to the customer. This warranty is valid only for units which have been used for personal use that have not been purchased or rented for industrial/commercial use, and that have been maintained in accordance with the instructions in the owners’manual supplied with the product when new.
ITEMS NOT COVERED BY WARRANTY:
- Any part that has become inoperative due to misuse, commercial use, abuse, neglect, accident, improper maintenance, or alteration; or
- The unit, if it has not been operated and/or maintained in accordance with the owner’s manual: or
- Normal wear;
- Routine maintenance items such as lubricants, blade sharpening;
- Normal deterioration of the exterior finish due to use or exposure.
HELPLINE:
Warranty service is available by calling our toll-free helpline at 1-888-909-6757.
TRANSPORTATION CHARGES:
Transportation charges for the movement of any power equipment unit or attachment are the responsibility of the purchaser. It is the purchaser’s responsibility to pay transportation charges for any part submitted for replacement under this warranty unless such return is requested in writing by Greenworks.
| USA address: | Canadian address: |
| Greenworks Tools | Greenworks Tools Canada, Inc. |
| P.O. Box 1238 | P.O. Box 93095, Newmarket, Ontario |
| Mooresville, NC 28115 | L3Y 8K3 |

























