SAFETY INSTRUCTIONS
PLEASE READ THIS MANUAL FIRST
Thank you for buying M product. Read this manual first as it will help you operate the system properly. Please keep this manual for future reference.
WARNING: This product must be installed by professionals. When using hanging brackets or rigging other than those supplied with the product, please ensure they comply with the local safety codes.
WARNING: To reduce the risk of fire or electric shock, do not expose this apparatus to rain or moisture.
WARNING: To reduce the risk of electric shock, only qualified professionals can remove the cover of this system

CAUTION
RISK OF ELECTRICAL SHOCK DO NOT OPEN
CAUTION: TO REDUCE THE RISK OF ELECTRIC SHOCK, DO NOT REMOVE COVER (OR BACK).
NO USER-SERVICABLE PARTS INSIDE.
REFER SERVICING TO QUALIFIED PERSONNEL.
The lighting flash & arrowhead symbol within an equilateral triangle is intended to alert you that this part is not dielectric, and may cause the hazard of electric shock
The exclamation point within an equilateral triangle is intended to alert you to the presence of important operating and servicing instructions.
DYNAMIC FUSION SERIES
High Definition Sound PRO-Line

Dynamic Fusion Series is a high-end live sound system designed by the engineering team of Better Music Builder. This high-end series give you live music experience, high power output and superior sound quality.




DFS-306 Pro
VOCAL/COLUMN SPEAKER 720W
Owner’s Manual
Please note that this procedure is exclusively for notifying Better Music Builder and its affiliates that your copyrighted material has been infringed. Better Music Builder is protected by the U.S. and international copyright.
INTRODUCTION
The Better Music Builder engineering team has created the new DFS-306 Pro vocal/column speakers that provide much more sound coverage. Specialized for home live sound or karaoke singing, the DFS-306 Pro is equipped with better high and mid-range frequency speakers.
When paired with a subwoofer like our SUB-12 Pro, an entirely new and complete system can be made, making a powerful karaoke system for your living room.
The Dynamic Fusion Series are each sold separately to your own customizable needs. Please visit our website bettermusicbuilder.com to learn more about our products.
SYSTEM FEATURES
- 2-Way full-range speaker
- 3 x 6.5″ woofers [low frequency]
- 1 x 1.35″ compression driver (tweeters [high frequency]) with PEI diaphragm
- Power Output (RMS/PEAK): 360W/720W
- Dynamic Fusion Technology™ (DFT)
- High SPL and sensitivity
- Passive configuration
- 80°x100° wide-angle coverage pattern
- Frequency response 60Hz~18kHz
- Sensitivity (1W/1m): 98dB
- 2 x NL4 connector (+1 -1)
- Flexible and easy to install (Wall, Ceiling, Floor Stand)
CONTROLS AND FUNCTIONS
FRONT & REAR PANEL
1 HIGH FREQUENCY TWEETER & 1.35-INCH COMPRESSION DRIVER WITH PEI DIAPHRAGM
2 6.5-INCH LOW FREQUENCY WOOFER
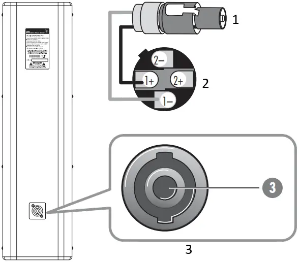
3 SPEAKER INPUT TERMINAL
4 35MM SPEAKER STAND MOUNT
FRONT VIEW

REAR VIEW

- CONNECT TO AMP.
- REFERENCE CONNECT
- DFS-306 Pro Connector
TOP VIEW BOTTOM VIEW

NL4 CONNECTION
1. Connect 2. Disconnect

PHYSICAL DIMENSIONS
| VOCAL / COLUMN SPEAKER DFS-306 Pro | |
| NET WEIGHT | 27.1 Lbs / 12.3 Kg |
| SHIPPING WEIGHT | 29.8 Lbs / 13.5 Kg |
| DIMENSIONS (WxHxD) | 7 x 26 x 8.3 in 17.7 x 65.8 x 21 cm |
| PACKING DIMENSIONS(WxHxD) | 11 x 28.1 x 9.8 in 28 x 71.5 x 25 cm |
FRONT VIEW SIDE VIEW REAR VIEW

SPECIFICATIONS
| VOCAL / COLUMN SPEAKER DFS-306 Pro | |
| TYPE | Front |
| PEAK POWER | 720 Watts |
| RMS POWER | 360 Watts |
| CABINET TYPE | MDF Wood |
| SUPPORTED FIXTURE | Wall, Ceiling, Floor Stand |
| WOOFER [Low Frequency] | 6.5″ (3 units) |
| TWEETER [High Frequency] | 1.35″ compression driver (1 unit) |
| FREQUENCY RESPONSE | 60Hz ~ 18kHz (±3dB) |
| RATED IMPEDANCE | 4~8 ohms |
| SENSITIVITY | 98 dB/1W/1M |
| COVERAGE | 80°x100° (HxV) |
| MAXIMUM SOUND PRESSURE LEVEL | 124dB |
| INPUT CONNECTOR | NL4 x 2 (+1 -1) |
| HIGHLIGHTED FEATURES | Independent Vocal Effect |
SYSTEM SETUP GUIDELINES
1. MOUNTING THE SPEAKER TO THE WALL
The speakers can be mounted on to the wall, (see figure below). Make sure that the structure of the wall must be strong enough to hold up to 100 pounds.
Part Number: SL-001 (Optional)

We recommend that the speakers be tiled at an angle, so that it aims at audience’s ear level in order to achieve the best accoustic quality.
2. PLACING THE SPEAKERS ON THE PORTABLE STAND
The speakers can be mounted onto the optional portable stand (see figure below). Make sure that the mounting system (hardware, stand, etc.) is capable of supporting four times the weight (approximately 25 lbs per speaker) of the speakers.
Part Number: AMS001B (Optional)

Stand is not included
Please do not stack two pieces of speakers onto the adjustable speaker stand. If you need two more speakers to increase the output volume, we recommend you to use a high power speaker instead of stacking two pieces of speaker on the adjustable speaker stand for safety purpose. You may also contact us at bettermusicbuilder.com for professional advice.
The DFS-306 Pro is designed with a smooth design, premium grade wood material, and a cylindrical diffusion wave technology that helps prevent excessive sound attenuation. As a result of the 100-degree horizontal coverage angle, Sound is even across the width of the coverage area, and the optimal distance is greater.

90 DEGREE HORIZONTAL COVERAGE ANGLE

SOUND IS EVEN ACROSS THE WIDTH OF THE COVERAGE AREA
3. PLACING THE SPEAKERS ON THE SPEAKER MOUNTING POLE (Adjustable)
Part Number: AM91 (Optional)
Better Music Builder’s new product line of vocal/column speaker DFS-306 Pro make for a fantastic complete live sound system when paired with a 12″ powered subwoofer SUB-12 Pro. Dynamic Fusion Series speakers such as the vocal/column speakers recreate the music and vocal in crystal clear sound.

- DFS-306 Pro
- Speaker Mounting Pole (Adjustable)
- SUB-12 Pro
4. MOUNTING THE SPEAKER TO THE CEILING
The speakers can be mounted on to the ceiling. Make sure that the structure of the ceiling must be strong enough to hold up to 100 pounds. Adjust the speaker up and down for rotation at different angles to achieve the best sound effect.

SYSTEM APPLICATIONS
LARGE FORMAT SOUND SYSTEM

- GUITAR
- PRO-POWERED MIXER EX-8A
- VOD/KARAOKE PLAYER or CD PLAYER
- XLR CONNECT TO INPUT
- MUSIC SOURCE
- VOCAL/COLUMN SPEAKER DFS-306 Pro
- SPEAKON CONNECT TO INPUT
- BASS POWERED SUBWOOFER SUB-12 Pro (12″ woofer)
- SUB-12 Pro REAR PANEL
INTRODUCTION
SYSTEM FEATURES
CONTROLS AND FUNCTIONS
PHYSICAL DIMENSIONS
SPECIFICATIONS
SYSTEM SETUP GUIDELINES
SYSTEM APPLICATIONS

















