Plesser s PB970SPSS Electric Freestanding Range

RANGE SAFETY
Your safety and the safety of others are very important.
We have provided many important safety messages in this manual and on your appliance. Always read and obey all safety messages.
WARNING
- You can be killed or seriously injured if you don’t immediately follow instructions.
- You can be killed or seriously injured if you don’t follow instructions.
All safety messages will tell you what the potential hazard is, tell you how to reduce the chance of injury, and tell you what can happen if the instructions are not followed.
Tip Over Hazard
- A child or adult can tip the range and be killed.
- Install anti-tip bracket to floor or wall per installation instructions.
- Slide range back so rear range foot is engaged in the slot of the anti-tip bracket.
- Re-engage anti-tip bracket if range is moved.
- Do not operate range without anti-tip bracket installed and engaged.
- Failure to follow these instructions can result in death or serious burns to children and adults.
IMPORTANT SAFETY INSTRUCTIONS
- Do Not Leave Children Alone – Children should not be left alone or unattended in area where the appliance is in use. They should never be allowed to sit or stand on any part of the appliance.
- Wear Proper Apparel – Loose-fitting or hanging garments should never be worn while using the appliance.
- User Servicing – Do not repair or replace any part of the appliance unless specifically recommended in the manual. All other servicing should be referred to a qualified technician.
- Storage in or on Appliance – Flammable materials should not be stored in an oven or near surface units.
- This appliance is not intended for storage.
- Do Not Use Water on Grease Fires – Smother fire or flame or use dry chemical or foam-type extinguisher.
- Do not use replacement parts that have not been recommended by the manufacturer (e.g. parts made at home using a 3D printer).
- Use Only Dry Potholders – Moist or damp potholders on hot surfaces may result in burns from steam. Do not let the potholder touch hot heating elements. Do not use a towel or other bulky cloth.
- DO NOT TOUCH SURFACE UNITS OR AREAS NEAR UNITS – Surface units may be hot even though they are dark in color. Areas near surface units may become hot enough to cause burns. During and after use, do not touch, or let clothing or other flammable materials contact surface units or areas near units until they have had sufficient time to cool. Among these areas are the coil elements, the cooktop, and surfaces facing the cooktop.
- Use Proper Pan Size – This appliance is equipped with one or more surface units of different size. Select utensils having flat bottoms large enough to cover the surface unit heating element. The use of undersized utensils will expose a portion of the heating element to direct contact and may result in the ignition of clothing. Proper relationship of utensil to burner will also improve efficiency.
- Never Leave Surface Units Unattended at High Heat Settings – Boilover causes smoking and greasy spillovers that may ignite.
- Make Sure Reflector Pans or Drip Bowls Are in Place –Absence of these pans or bowls during cooking may subject wiring or components underneath to damage. Protective Liners – Do not use aluminum foil to line surface unit drip bowls or oven bottoms, except as suggested in the manual. Improper installation of these liners may result in a risk of electric shock, or fire.
- Glazed Cooking Utensils – Only certain types of glass, glass/ceramic, ceramic, earthenware, or other glazed utensils are suitable for range-top service without breaking due to the sudden change in temperature.
Utensil Handles Should Be Turned Inward and Not Extend Over Adjacent Surface Units – To reduce the risk of burns, ignition of flammable materials, and spillage due to unintentional contact with the utensil, the handle of a utensil should be positioned so that it is turned inward, and does not extend over adjacent surface units. - Do Not Soak Removable Heating Elements – Heating elements should never be immersed in water.
- Do Not Cook on Broken Cook-Top – If the cook-top should break, cleaning solutions and spillovers may penetrate the broken cook-top and create a risk of electric shock. Contact a qualified technician immediately.
- Clean Cooktop With Caution – If a wet sponge or cloth is used to wipe spills on a hot cooking area, be careful to avoid steam burn. Some cleaners can produce noxious fumes if applied to a hot surface.
- Use Care When Opening Door – Let hot air or steam escape before removing or replacing food.
- Do Not Heat Unopened Food Containers – Build-up of pressure may cause the container to burst and result in injury.
- Keep Oven Vent Ducts Unobstructed.
- Placement of Oven Racks – Always place oven racks in desired location while oven is cool. If rack must be moved while oven is hot, do not let potholder contact hot heating element in oven.
- DO NOT TOUCH HEATING ELEMENTS OR INTERIOR SURFACES OF OVEN – Heating elements may be hot even though they are dark in color. Interior surfaces of an oven become hot enough to cause burns. During and after use, do not touch, or let clothing or other flammable materials contact heating elements or interior surfaces of oven until they have had sufficient time to cool. Other surfaces of the appliance may become hot enough to cause burns – among these surfaces are oven vent openings and surfaces near these openings, oven doors, and windows of oven doors.
- Care must be taken to prevent aluminum foil and meat probes from contacting heating elements.
For self-cleaning ranges
- Do Not Clean Door Gasket – The door gasket is essential for a good seal. Care should be taken not to rub, damage, or move the gasket.
- Do Not Use Oven Cleaners – No commercial oven cleaner or oven liner protective coating of any kind should be used in or around any part of the oven.
- Clean Only Parts Listed in Manual.
- Before Self-Cleaning the Oven – Remove broiler pan and other utensils.
For units with ventilating hood
- Clean Ventilating Hoods Frequently – Grease should not be allowed to accumulate on hood or filter.
- When flaming foods under the hood, turn the fan on. For smart enabled ranges and ovens
- Remote operation This appliance is configurable to allow remote operation at any time. Do not store any flammable materials or temperature-sensitive items inside, on top or near-surface units of the appliance.
RANGE MAINTENANCE AND CARE
Clean Cycle
AquaLift Technology is an innovative cleaning solution that utilizes heat and water to release baked-on spills from the oven in less than 1 hour. This new cleaning technology is a low-heat, odor-free alternative to traditional self-cleaning options. Allow the oven to cool to room temperature before using the Clean cycle. If your oven cavity is above 200°F (93°C), it will appear in the display, and the Clean cycle will not be activated until the oven cavity cools down. Remove all racks and accessories from the oven cavity, and wipe excess soil. Use a plastic scraper to remove easily removed soils.

Pour distilled or filtered water onto the bottom of the empty oven, and close the oven door.

IMPORTANT: Do not use chemicals or other additives with the water. Do not open the oven door during the Clean cycle. The water on the oven bottom is hot.
Press CLEAN or AQUA LIFT SELF CLEAN and then START on the oven control panel.
Allow 40 minutes for cleaning and cool down. A beep will sound when the Clean cycle is complete.
Press CANCEL, CANCEL UPPER or OFF at the end of the cycle. Cancel, Cancel Upper or Off may be pressed at any time to stop the Clean cycle.Remove the residual water and loosened soils with a sponge or cloth immediately after the Clean cycle is complete. Much of the initial 2 cups (16 oz [500 mL]) of water will remain in the oven after the cycle is completed. If additional soils remain, leave a small amount of water in the oven bottom to assist with the cleaning.

If any soils remain, remove them with a non-scratch scrubbing sponge or plastic scraper. Additional Clean cycles may be run to help remove the stubborn soils.
IMPORTANT: Do not use oven cleaners. The use of chemicals, including commercial oven cleaners or metal scouring pads, may cause permanent damage to the porcelain surface of the oven interior.
NOTES:
The range should be level to ensure that the entire surface of the bottom of the oven cavity is covered by water at the beginning of the Clean cycle.
For best results, use distilled or filtered water. Tap water may leave mineral deposits on the oven bottom.
Before removing the residual water and loosened soils at the end of the Clean cycle, insert a cloth or paper towel between the lower edge of the oven door and the front frame to keep water from spilling onto the front of the range and the floor.
Soil baked on through several cooking cycles will be more difficult to remove with the Clean cycle.
Nonabrasive scrub sponges or eraser style cleaning pads (without cleaners) can be effective for cleaning the oven cavity walls, oven door and oven bottom for difficult soils. For best results, moisten the pads and sponges before use.
Run an additional Clean cycle for stubborn soils.
Offers Kitchen Appliance Cleaner and affresh® Cooktop Cleaner may be used to clean the oven bottom, walls, and door when the oven has finished the cycle and returned to room temperature. If affresh® Cooktop Cleaner is used, it is recommended to wipe out the cavity with distilled water as well. Refer to the Quick Start Guide for ordering information. obtained by ordering Part Number W10423113RP. Refer to the Quick Start Guide for ordering information.For assistance with AquaLift Technology, call 1-877-258-0808 in the U.S.A. or 1-800-807-6777 in Canada, or visit our website at http://whirlpoolcorp.com/aqualift.
General Cleaning
IMPORTANT: Before cleaning, make sure all controls are off and the oven and cooktop are cool. Always follow label instructions on cleaning products.
Soap, water, and a soft cloth or sponge are suggested first, unless otherwise noted.
EXTERIOR PORCELAIN ENAMEL SURFACES (on some models)
Food spills containing acids, such as vinegar and tomato, should be cleaned as soon as the entire range is cool. These spills may affect the finish.
Cleaning Method: Glass cleaner, mild liquid cleaner, or nonabrasive scrubbing pad: Gently clean around the model/serial/rating plate because scrubbing may remove numbers.
AffreshKitchen and Appliance Cleaner Part Number W10355010 (not included): See the Quick Start Guide for contact information.
STAINLESS STEEL (on some models)
NOTE: To avoid damage to stainless steel surfaces, do not use soap-filled scouring pads, abrasive cleaners, Cooktop Cleaner, steel-wool pads, gritty washcloths, or abrasive paper towels. Damage may occur to stainless steel surfaces, even with one-time or limited use.
Cleaning Method:
Rub in direction of the grain to avoid damage.
METALLIC PAINT (on some models)
Do not use abrasive cleaners, cleaners with bleach, rust removers, ammonia, or sodium hydroxide (lye) because paint surface may stain.
Cleaning Method: CERAMIC GLASS COOKTOP CLEANING
To avoid damaging the cooktop, do not use steel wool, abrasive powder cleansers, chlorine bleach, rust remover, or ammonia.
- Remove food/residue with the Cooktop Scraper.

For best results, use the Cooktop Scraper while the cooktop is still warm but not hot to the touch. It is recommended to wear an oven mitt while scraping the warm cooktop.
Hold the Cooktop scrapper at approximately a 45° angle against the glass surface and scrape the residue. It will be necessary to apply pressure in order to remove the residue.Allow the cooktop to cool down completely before proceeding Apply a few dime-sized drops of Cooktop Cleaner to the affected areas.

Rub afresh Cleaner onto the cooktop surface with the blue Cooktop Cleaning Pad. Some pressure is needed to remove stubborn stains.
Allow the cleaner to dry to a white haze before proceeding to Polish with a clean, dry cloth or a clean, dry paper towel.

Repeat steps 1 through 3 as necessary for stubborn or burned-on stains.The Complete Cooktop Cleaner Kit is available for order including the following:
Cooktop Scraper
Affresh Cooktop Cleaner
Blue Cooktop Cleaning Pads
See the Quick Start Guide for ordering information.
COOKTOP CONTROLS
To avoid damage to the cooktop controls, do not use steel wool, abrasive cleansers, or oven cleaner.
To avoid damage, do not soak knobs. When replacing knobs, make sure knobs are in the Off position.
On some models, do not remove seals under knobs.
Cleaning Method:
Soap and water: Pull knobs straight away from control panel to remove
CONTROL PANEL AND OVEN DOOR EXTERIOR
To avoid damage to the control panel, do not use abrasive cleaners, steel-wool pads, gritty washcloths, or abrasive paper towels.
Cleaning Method: Glass cleaner and soft cloth or sponge: Apply glass cleaner to soft cloth or sponge, not directly on panel.
Affresh Kitchen and Appliance Cleaner Part Number W10355010 (not included):
See the Quick Start Guide for contact information.
OVEN RACKS Cleaning Method:
- Steel-wool pad
- For racks that have discolored and are harder to slide, a light coating of vegetable oil applied to the rack guides will help them slide
- Dishwasher (steam rack water reservoir only, not racks): Although the water reservoir is durable, it may lose its shine and/or discolor when washed in a dishwasher
STORAGE DRAWER OR WARMING DRAWER (on some models)
Check that the storage drawer or warming drawer is cool and empty before cleaning.
Cleaning Method: OVEN CAVITY
Depending on your model, use AquaLift® Technology or Self-Clean cycle regularly to clean oven spills.Do not use oven cleanersFood spills should be cleaned when oven cools. At high temperatures, foods react with porcelain. Staining, etching, pitting, or faint white spots can result.
Cleaning Method:
INSTALLATION INSTRUCTIONS REQUIREMENTS
Tools and Parts
Gather the required tools and parts before starting installation. Read and follow the instructions provided with any tools listed here.
- Tape measure
- Flat-blade screwdriver
- Phillips screwdriver
- Level
- Hammer
- Hand or electric drill
- Wrench or pliers
- Marker or pencil
- Flashlight
- Torque Wrench
- Masking tape
- 1/4″ (6.4 mm) drive ratchet
- 1/4″ (6.4 mm) nut driver
- 3/8″ (9.5 mm) and 5/16″ (8 mm) nut driver
- 1/8″ (3.2 mm) drill bit (for wood floors)
- Tin snips or large wire cutters (for cutting ground strap if necessary)
Parts supplied
Check that all parts are included.
- 3 – 10-32 hex nuts (attached to terminal block)
- 3 – Terminal lugs
- #10 x 15/8″ (4.1 cm) screws (for mounting anti-tip bracket)

Anti-tip bracket must be securely mounted to floor or wall. The thickness of flooring may require longer screws to anchor bracket to floor.
Parts needed
If using a power supply cord kit: listed power supply cord kit marked for use with ranges. The cord should be rated at 250 V minimum, 40 A or 50 A that is marked for use with nominal 13⁄8″ (3.5 cm) diameter connection opening and must end in ring terminals or open-end spade terminals with upturned ends. listed strain relief.
Check local codes. Check existing electrical supply. See the appropriate “Electrical Requirements” section.It is recommended that all electrical connections be made by a licensed, qualified electrical installer.
NOTE: Be sure to purchase only Whirlpool factory-certified parts and accessories for your appliance. Your installation may require additional parts. To order, refer to the contact information referenced in your Quick Start Guide.
Location Requirements
IMPORTANT: Observe all governing codes and ordinances. It is the installer’s responsibility to comply with installation clearances specified on the model/serial/rating plate. The model/serial/rating plate is located on the frame behind a top corner of the door or either side of the drawer. To eliminate the risk of burns or fire by reaching over heated surface units, cabinet storage space located above the surface units should be avoided. If cabinet storage is to be provided, the risk can be reduced by installing a range hood that projects horizontally a minimum of 5″ (12.7 cm) beyond the bottom of the cabinets.
Cabinet opening dimensions that are shown must be used. Given dimensions are minimum clearances. The anti-tip bracket must be installed. To install the anti-tip bracket shipped with the range, see “Install Anti-Tip Bracket” section. A grounded electrical supply is required. See “Electrical Requirements” section.
IMPORTANT: To avoid damage to your cabinets, check with your builder or cabinet supplier to make sure that the materials used will not discolor, delaminate or sustain other damage. This oven has been designed in accordance with the requirements of UL and CSA International and complies with the maximum allowable wood cabinet temperatures of 194°F (90°C).
Mobile Home – Additional Installation Requirements
The installation of this range must conform to the Manufactured Home Construction and Safety Standard, Title 24 CFR, Part 3280 (formerly the Federal Standard for Mobile Home Construction and Safety, Title 24, HUD Part 280). When such standard is not applicable, use the Standard for Manufactured Home Installations, ANSI A225.1/NFPA 501A or with local codes.In Canada, the installation of this range must conform with the current standards CAN/CSA-Z240.1-latest edition, or with local codes.
Mobile home installations require: When this range is installed in a mobile home, it must be secured according to the instructions in this document.
Four-wire power supply cord or cable must be used in a mobile home installation. The appliance wiring will need to be revised. See “Electrical Connection – U.S.A. Only” section.
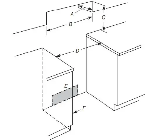
Cabinet Dimensions
Cabinet opening dimensions shown are for 25″ (64.0 cm) countertop depth, 24″ (61.0 cm) base cabinet depth and36″ (91.4 cm) countertop height.
IMPORTANT: If installing a range hood or microwave hood combination above the range, follow the range hood or microwave hood combination installation instructions for dimensional clearances above the cooktop surface.
A freestanding range may be installed next to combustible walls with zero clearance.

- 13″ (33.0 cm) maximum upper cabinet depth
- 30″ (76.2 cm) minimum opening width
- For minimum clearance to top of cooktop, see NOTE*
- D. 30″ (76.2 cm) minimum opening width
- Outlet – 8″ (20.3 cm) to 22″ (55.9 cm) from either cabinet, 51/2″ (17.8 cm) maximum from floor.
- Cabinet door or hinges should not extend into the cutout.
NOTE: 24″ (61.0 cm) minimum when bottom of wood or metal cabinet is shielded by not less than 1/4″ (0.64 cm) flame retardant millboard covered with not less than No. 28 MSG sheet steel, 0.015″ (0.4 mm) stainless steel, 0.024″ (0.6 mm) aluminum or 0.020″ (0.5 mm) copper.
30″ (76.2 cm) minimum clearance between the top of the cooking platform and the bottom of an uncovered wood or metal cabinet.
Parts needed
If using a power supply cord kit:
A UL listed power supply cord kit marked for use with ranges. The cord should be rated at 250 V minimum, 40 A or 50 A that is marked for use with nominal 13⁄8″ (3.5 cm) diameter connection opening and must end in ring terminals or open-end spade terminals with upturned ends.A UL-listed strain relief. Check local codes. Check existing electrical supply. See the appropriate “Electrical Requirements” section.
It is recommended that all electrical connections be made by a licensed, qualified electrical installer.
NOTE: Be sure to purchase only Whirlpool factory-certified parts and accessories for your appliance. Your installation may require additional parts. To order, refer to the contact information referenced in your Quick Start Guide.
Electrical Requirements
If codes permit and a separate ground wire is used, it is recommended that a qualified electrical installer determine that the ground path and wire gauge are in accordance with local codes.
Do not use an extension cord.
Be sure that the electrical connection and wire size are adequate and in conformance with the National Electrical Code, ANSI/NFPA 70-latest edition and all local codes and ordinances.
Electrical Connection
To properly install your range, you must determine the type of electrical connection you will be using and follow the instructions provided for it here.
- Range must be connected to the proper electrical voltage and frequency as specified on the model/serial/rating plate. The model/serial/rating plate is located on the frame behind a top corner of the door or either side of the drawer.

This range is manufactured with the neutral terminal connected to the cabinet. Use a 3-wire, UL listed, 40 or 50 A power supply cord (pigtail). See the following Range Rating chart. If local codes do not permit ground through the neutral, use a 4-wire power supply cord rated at 250 V, 40 or 50 A and investigated for use with ranges.The NEC calculated load is less than the total connected load listed on the model/serial/rating plate.
**If connecting to a 50 A circuit, use a 50 A rated cord with kit. For 50 A rated cord kits, use kits that specify use with a nominal 13/8″ (34.9 mm) diameter connection opening.A circuit breaker is recommended.
The range can be connected directly to the circuit breaker box (or fused disconnect) through flexible or nonmetallic sheathed, copper or aluminum cable. See the “Electrical Connection -U.S.A. Only” section.
Allow 2 to 3 ft (61.0 cm to 91.4 cm) of slack in the line so that the range can be moved if servicing is ever necessary.A UL-listed conduit connector must be provided at each end of the power supply cable (at the range and at the junction box). Wire sizes and connections must conform with the rating of the range. The Tech Sheet is located on the back of the range inside a clear plastic bag.
If connecting to a 4-wire system:
This range is manufactured with the ground connected to the neutral by a link. The ground must be revised so the green ground wire of the 4-wire power supply cord is connected to the cabinet. See the “Electrical Connection – U.S.A. Only” section. Grounding through the neutral conductor is prohibited for new branch-circuit installations (1996 NEC); mobile homes; and recreational vehicles, or an area where local codes prohibit grounding through the neutral conductor.When a 4-wire receptacle of NEMA Type 14-50R is used, a matching UL listed, 4-wire, 250 V, 40 or 50 A, range power supply cord (pigtail) must be used. This cord contains 4 copper conductors with ring terminals or open-end spade terminals with upturned ends, terminating in a NEMA Type 14- 50P plug on the supply end.The fourth (grounding) conductor must be identified by a green or green/yellow cover and the neutral conductor by a white cover. Cord should be Type SRD or SRDT with UL-listed strain relief and be at least 4 ft (1.22 m) long.
4-wire receptacle (14-50R)
The minimum conductor sized for the copper 4-wire power cord are:
40 A circuit
2 No.-8 conductors
1 No.-10 white neutral
1 No.-8 green grounding
If connecting to a 3-wire system:
Local codes may permit the use of a UL listed, 3-wire, 250 V, 40 or 50 A range power supply cord (pigtail). This cord contains 3 copper conductors with ring terminals or open-end spade terminals with upturned ends, terminating in a NEMA Type 10-50P plug on the supply end. Connectors on the appliance end must be provided at the point the power supply cord enters the appliance. This uses a 3-wire receptacle of NEMA Type 10-50R.

INSTALLATION
Unpack Range
WARNING
- Remove shipping materials, tape and film from range.
- Remove oven racks and parts package from inside oven.
- Do not remove the shipping base at this time.

4. On Ranges Equipped with a Storage Drawer:Remove the storage drawer. See the “Storage Drawer” section. Use a 1/4″ (6.4 mm) drive ratchet to lower the rear leveling legs one-half turn. Use a wrench or pliers to lower front leveling legs one half turn.

On Ranges Equipped with a Warming Drawer or Premium Storage Drawer: On ranges equipped with a warming drawer or premium storage drawer, the rear legs cannot be accessed by removing the warming drawer or premium storage drawer. It will be necessary to adjust the rear legs from outside the range. Use wrench or pliers to lower the front and rear leveling legs one-half turn.

Install Anti-Tip Bracket
WARNING:Tip Over Hazard A child or adult can tip the range and be killed. Install anti-tip bracket to floor or wall per installation instructions.Slide range back so rear range foot is engaged in the slot of the anti-tip bracket.
Re-engage anti-tip bracket if range is moved. not operate range without anti-tip bracket installed and engaged. Failure to follow these instructions can result in death or serious burns to children and adults.1. Remove the anti-tip bracket from where it is taped inside the storage drawer or warming drawer. Determine which mounting method to use: floor or wall. If you have a stone or masonry floor, you can use the wall mounting method. If you are installing the range in a mobile home, you must secure the range to the floor.mounting can be installed on either the left-side or right-side of the cutout. Position mounting bracket against the wall in the cutout so that the V-notch of the bracket is 129/16″ (31.9 cm) from centerline as shown.holes of the determined mounting method. See the following illustrations.
Floor Mounting

Wall Mounting

Using the Phillips screwdriver, mount the anti-tip bracket to the wall or floor with the two #12 x 15/8″ (41.3 mm) screws provided.
Move range close enough to opening to allow for final electrical connections. Remove shipping base, cardboard or hardboard from under range.
Move range into its final location, making sure rear leveling leg slides into an anti-tip bracket.
. Move range forward onto shipping base, cardboard or hardboard to continue installing the range using the following installation instructions.
Adjust Leveling Legs
This may be done with the range on its back or with the range supported on two legs after the range has been placed back to a standing position.
to loosen the four leveling legs.
NOTE: To place range back up into a standing position, put a sheet of cardboard or hardboard in front of range. Using two or more people, stand range back up onto the cardboard or hardboard. To place range back up into a standing position, put a sheet of cardboard or hardboard in front of range. Using two or more people, stand range back up onto the cardboard or hardboard.2. Measure the distance from the top of the counter to the floor.
Measure the distance from the top of the cooktop to the bottom of the leveling legs. This distance should be the same. If it is not, adjust the leveling legs to the correct height. The leveling legs can be loosened to add up to a maximum of 1″ (2.5 cm). A minimum of 3/16″ (5 mm) is needed to engage the anti-tip bracket.
NOTE: If height adjustment is made when range is standing, tilt the range back to adjust the front legs, and then tilt forward to adjust the rear legs.When the range is at the correct height, check that there is adequate clearance under the range for the anti-tip bracket. Before sliding range into its final location, check that the anti-tip bracket will slide under the range and onto the rear leveling leg prior to anti-tip bracket installation.
NOTE: If a Trim Kit will be used, the top of the cooktop should be higher than the counter. See the Installation Instructions included with the Trim Kit for the correct height.
Level Range
Determine if you have AquaLift Technology or Steam Clean by referring to the “Range Maintenance and Care” section.For Ranges with AquaLift Technology or Steam

If range is not level, pull range forward until rear leveling leg is removed from the anti-tip bracket.Follow the directions in Style 1 or Style 2, depending on the style of drawer supplied with the range.
For Ranges without AquaLift Technology or Steam Clean:1. Place a standard flat rack in oven. Place level on the rack and check levelness of the range, first side to side; then front to back.

If range is not level, pull range forward until rear leveling leg is removed from the anti-tip bracket. Follow the directions in Style 1 or Style 2, depending on the style of drawer supplied with the range.Style 1: Ranges Equipped with a Storage Drawer:Use a 1/4″ drive ratchet, wrench or pliers to adjust leveling legs up or down until the range is level. Push range back into position. Check that rear leveling leg is engaged in the anti-tip bracket.
Ranges Equipped with a Warming Drawer or Premium Storage Drawer:Use a wrench or pliers to adjust leveling legs up or down until the range is level. Push range back into position. Check that rear leveling leg is engaged in the anti-tip bracket.
NOTE: Range must be level for satisfactory baking performance and best cleaning results using AquaLift® Technology and Steam Clean functions.
Electrical Connection – U.S.A. Only
Power Supply Cord
- Disconnect power.
- Remove the terminal block cover screws located on the back of the range. Pull cover down and toward you to remove cover from range.

WARNING:Electrical Shock Hazard Disconnect power before servicing.
Use 8 gauge copper or 6 gauge aluminum wire. Electrically ground range. Failure to follow these instructions can result in death, fire, or electrical shock.

Remove the top 10-32 hex nut from each of the 3 terminal blocks and set them aside.

Add strain relief.
Power supply cord strain relief
Remove the knockout for the power supply cord. Assemble a UL-listed strain relief in the opening.

Tighten strain relief screw against the power supply cord.

Style 2: Direct wire strain relief
- Remove the knockout as needed for the flexible conduit connection.
- semble a UL listed conduit connector in the opening.
Wire Connection: Power Supply Cord
Use this method for:
- New branch-circuit installations (1996 NEC)
- Mobile homes
- Recreational vehicles
- In an area where local codes prohibit grounding through the neutral
Part of the metal ground strap must be cut out and removed.
Use a Phillips screwdriver to remove the ground-link screw from the back of the range. Save the ground-link screw and the end of the ground link under the screw. Feed the power supply cord through the strain relief on the cord/conduit plate on the bottom of range. Allow enough slack to easily attach the wiring to the terminal block.

wire to the center terminal block post with one of the 10-32 hex nuts.
Connect line 2 (red) and line 1 (black) wires to the outer terminal block posts with 10-32 hex nuts.
Using a torque wrench, tighten the hex nuts to a recommended torque of 20 in-lbs (2.3 N-m).
NOTE: For power supply cord replacement, use only a power cord rated at 250 V minimum, 40 A or 50 A that is marked for use with nominal 13⁄8″ (3.5 cm) diameter connection opening, with ring terminals and marked for use with ranges. Tighten strain relief screws.
IMPORTANT: Verify the tightness of the hex nuts. Ensure all harnesses are tightened to the terminal block and are not loose.
Replace terminal block access cover.Wire Connection: Power Supply Cord
IMPORTANT: Verify the tightness of the hex nuts. Ensure all harnesses are tightened to the terminal block and are not loose.Use this method only if local codes permit connecting chassis ground conductor to neutral wire of power supply cord.3. Connect line 2 (red) and line 1 (black) wires to the outer terminal block posts with 10-32 hex nuts.
4. Using a torque wrench, tighten the hex nuts to a recommended torque of 20 in-lbs (2.3 N-m).
For power supply cord replacement, only use a power cord rated at 250 V minimum, 40 A or 50 A that is marked for use with nominal 13/8″ (3.5 cm) diameter connection opening, with ring terminals and marked for use with ranges.
Tighten strain relief screws.
IMPORTANT: Verify the tightness of the hex nuts. Ensure all harnesses are tightened to the terminal block and are not loose.Replace terminal block access cover.
Direct Wire Installation: Copper or Aluminum Wire
This range may be connected directly to the fuse disconnect or circuit breaker box. Depending on your electrical supply, make the required 3-wire or 4-wire connection.

Allow enough slack in the wire to easily attach the wiring terminal block.
Complete electrical connection according to your type of electrical supply.
Wire Connection: Direct Wire
- New branch-circuit installations (1996 NEC)
- Mobile homes
- Recreational vehicles
- In an area where local codes prohibit grounding through the neutral
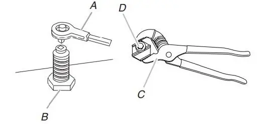
- Use a Phillips screwdriver to remove the ground-link screw from the back of the range. Save the ground-link screw and the end of the ground link under the screw.
- Pull the wires through the strain relief on bottom of range. Allow enough slack to easily attach wiring to the terminal block.
- (red) wires. Loosen (do not remove) the setscrew on the front of the terminal lug and insert exposed wire end through the bottom of terminal lugs. Securely tighten setscrew to torque as shown in the following Bare Wire Torque Specifications chart.

Bare Wire Torque Specifications
Attaching terminal lugs to the terminal block -20 lbs-in (2.3 N-m)
Wire Connection: Direct Wire
Use this method only if local codes permit connecting ground conductor to neutral supply wire.Pull the wires through the conduit on cord/conduit plate on bottom of range. Allow enough slack to easily attach the wiring to the terminal block.
Verify Anti-Tip Bracket Is Installed and Engaged
On Ranges Equipped with a Storage Drawer: Remove the storage drawer. See the “Storage Drawer” section.Use a flashlight to look underneath the bottom of the range.Visually check that the rear range foot is inserted into the slot of the anti-tip bracket.On Ranges Equipped with a Warming Drawer or Premium Storage Drawer:. Place the outside of your foot against the bottom front of the warming drawer or premium storage drawer, and grasp the lower right or left side of the control panel as shown.
NOTE: If your countertop is mounted with a backsplash, it may be necessary to grasp the range higher than is shown in the illustration.

Slowly attempt to tilt the range forward. If you encounter immediate resistance, the range foot is engaged in the anti-tip bracket.
3. If the rear of the range lifts more than 1/2″ (1.3 cm) off the floor without resistance, stop tilting the range and lower it gently back to the floor. The range foot is not engaged in the anti-tip bracket.
IMPORTANT: If there is a snapping or popping sound when lifting the range, the range may not be fully engaged in the bracket. Check to see if there are obstructions keeping the range from sliding to the wall or keeping the range foot from sliding into the bracket. Verify that the bracket is held securely in place by the mounting screws.Slide the range forward, and verify that the anti-tip bracket is securely attached to the floor or wall.Slide range back so the rear range foot is inserted into the slot of the anti-tip bracket.
IMPORTANT: If the back of the range is more than 2″ (5.1 cm) from the mounting wall, the rear range foot may not engage the bracket. Slide the range forward and determine if there is an obstruction between the range and the mounting wall. If you need assistance or service, refer to the Quick Start Guide for contact information.
Repeat steps 1 and 2 to ensure that the range foot is engaged in the anti-tip bracket.
If the rear of the range lifts more than 1/2″ (1.3 cm) off the floor without resistance, the anti-tip bracket may not be installed correctly. Do not operate the range without anti-tip bracket installed and engaged. Please refer to the Quick Start Guide for contact information.
Remove all items from inside the warming drawer or premium storage drawer, and allow the range to cool completely before attempting to remove the drawer.
To Remove: Open the warming drawer or premium storage drawer to its fully open position.Using a flat-blade screwdriver, gently loosen the warming drawer or premium storage drawer from the glide alignment notch and lift up the drawer alignment tab from the glide.
Storage Drawer (on some models)
The storage drawer can be removed. Before removing, make sure drawer is cool and empty.
To Remove:
Pull the storage drawer straight back to the drawer stop.

Lift up the front of the drawer and place the rear of the drawer inside the range so that the drawer stop notch is behind the drawer glide.Lower the drawer so that the edge of the slide rail drops into the slot in the drawer glide.
Slowly push the drawer into the range.

Oven Door
For normal range use, it is not suggested to remove the oven door. However, if removal is necessary, make sure the oven is off and cool. Then, follow these instructions. The oven door is heavy.
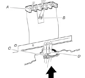
To Remove: Open oven door all the way. Pinch the hinge latch between two fingers and pull forward. Repeat on other side of oven door.
Lift the oven door while holding both sides.Continue to push the oven door closed and pull it away from the oven door frame.

To Replace:Insert both hanger arms into the door.

Complete Installation1. Check that all parts are now installed.
- If there is an extra part, go back through the steps to see which step was skipped.
- Check that you have all of your tools.
- Check that you have all of the range accessories, especially oven racks. These accessories may be in the range packaging.
- Dispose of/recycle all packaging materials.
- Check that the range is level. See the “Level Range” section.
- Use a mild solution of liquid household cleaner and warm water to remove waxy residue caused by shipping material. Dry thoroughly with a soft cloth. For more information, see the “Range Maintenance and Care” section. Read the Quick Start Guide and online Control Guide.
- Plug power cord into appropriate outlet. Turn power on.
- Turn on surface burners and oven. See the Quick Start Guide and online Control Guide for specific instructions on range operation.
NOTE: Odors and smoke are normal when the oven is used the first few times.If Range Does Not Operate, Check the Following:Household fuse is intact and tight; or circuit breaker has not tripped. Range is plugged into a grounded outlet. Electrical supply is connected.
IMPORTANT: If the range control displays an “F9” or “F9, E0” error code, the electrical outlet in the home may be miswired. Disconnect power and contact a qualified electrician to verify the electrical supply.
WARNING
Electrical Shock Hazard Disconnect power before servicing. Replace all parts and panels before operating. Failure to do so can result in death or electrical shock.
- Disconnect power.
- Slide range forward.
- Complete cleaning or maintenance.
- Check that the anti-tip bracket is installed and engaged. See the “Verify Anti-Tip Bracket Is Installed and Engaged” section.
- Check that range is level.
- Reconnect power.



















