
OWNER’S MANUAL
FRENCH DOOR
REFRIGERATOR 
Please read this owner’s manual thoroughly before operating and keep it handy for reference at all times. LMX21986 **
P.No.:MFL63264265
PRODUCT FEATURES
* Depending on the model, some of the following functions may not be available.

FILTERED WATER AND ICE DISPENSER
The water dispenser dispenses fresh, chilled water. The ice dispenser dispenses cubed and crushed ice.
DOOR ALARM
The Door Alarm function is designed to prevent refrigerator malfunctioning that could occur if a refrigerator door or freezer drawer remains open. If a refrigerator door or freezer drawer is left open for more than 60 seconds, a warning alarm sounds in 30 second intervals.
HUMIDITy CONTROLLED CRISPER
The Humidity Controlled Crisper is designed to help keep your fruits and vegetables fresh and crisp. You can control the amount of humidity in the crisper by adjusting the setting between High and Low.
GLIDE‘N’SERVE
Glide‘N’Serve provides storage space with a variable temperature control that keeps the compartment colder than the refrigerator. It is a convenient place to store sandwiches or meat to be cooked.
AUTO CLOSING HINGE
The refrigerator doors and freezer drawers close automatically with a slight push. (The door only closes automatically when it is open at an angle less than 30°.)
ICE PLUS
Ice production can be increased by approximately 20 percent when the freezer section is maintained at the coldest temperature for a 24-hour period.
IMPORTANT SAFETY INSTRUCTIONS
READ ALL INSTRUCTIONS BEFORE USING THE APPLIANCE.
This guide contains many important safety messages. Always read and obey all safety messages.
This is the safety alert symbol. It alerts you to safety messages that inform you of hazards that can kill or hurt you or others, or cause damage to the product.
All safety messages will be preceded by the safety alert symbol and the hazard signal word WARNING or CAUTION. These words mean:
WARNING You can be killed or seriously injured if you do not follow instructions.
CAUTION Indicates an imminently hazardous situation which, if not avoided, may result in minor or moderate injury, or product damage.
WARNING
To reduce the risk of fire, electric shock, or personal injury when using your product, basic safety precautions should be followed, including the following.
Power
- NEVER unplug your refrigerator by pulling on the power cord. Always grip the plug firmly and pull it straight out from the outlet.
- Immediately repair or replace all power cords that have become frayed or otherwise damaged. Do not use a cord that shows cracks or abrasion damage along its length or at either the plug or connector end.
- Unplug the power plug immediately in the event of a blackout or thunderstorm.
- Do not use an uncertified power outlet.
- Plug in the power plug with the power cord facing downward.
Installation
- When moving your refrigerator away from the wall, be careful not to roll over or damage the power cord.
Contact an authorized service center when you install or relocate the refrigerator. - Connect this product to a dedicated grounded electric outlet conforming with the rating prior to use. It is the user’s respon-sibility to replace a standard 2-prong wall outlet with a standard 3-prong wall outlet.
- Do not install the refrigerator where there may be a danger of falling.
Use
- DO NOT allow children to climb, stand, or hang on the refrigerator doors or shelves in the refrigerator. They could damage the refrigerator and seriously injure themselves.
- Do not place heavy or dangerous objects (bottles with liquid) on the refrigerator.
- Do not place heavy objects on the dispenser of the refrigerator or hang onto it.
- Do not put live animals inside of the refrigerator.
- Do not allow children to climb into the product when it is in use.
- In the event of a gas leak (propane/LPG), ventilate sufficiently and contact an authorized service center before use. Do not touch or disassemble the electric outlet of the refrigerator.
- In the event of a refrigerant leak, move flammable objects away from the refrigerator. Ventilate sufficiently and contact an authorized service center.
- Do not use or place flammable substances (chemicals, medicine, cosmetics, etc) near the refrigerator or store them inside the refrigerator. Do not place the refrigerator in the vicinity of flammable gas.
READ ALL INSTRUCTIONS BEFORE USING THE APPLIANCE.
To reduce the risk of fire, electric shock, or personal injury when using your product, basic safety precautions should be followed, including the following.
Unplug the power plug before cleaning or repairing the refrigerator.
- Do not use this product for special purposes (storage of medicine or test materials or for ships, etc).
- When you replace the light bulb in the refrigerator, unplug the refrigerator or turn off the power.
- Do not modify or extend the power cord.
- Do not use a dryer to dry the interior. Do not light a candle to remove the interior odor.
- For your safety, this appliance must be properly grounded. Have the wall outlet and the circuit checked by a qualified electrician to make sure the outlet is properly grounded.
- Do not use an outlet that can be turned off with a switch. Do not use an extension cord. It is the user’s responsibility to replace a standard 2-prong wall outlet with a standard 3-prong wall outlet.
- Do not use an adapter plug and plug the power plug into a multi-outlet extension cord.
- Do not, under any circumstances, cut or remove the third (ground) prong from the power cord.
- Disconnect the power cord immediately if you hear a noise, smell a strange odor or detect smoke.
- Turn the power off if water or dust penetrates into the refrigerator. Call a service agent.
- Do not disassemble or modify the refrigerator.
- Do not put hands, feet, or metal objects below or behind the refrigerator.
- Do not operate the refrigerator or touch the power cord with wet hands.
- In refrigerators with automatic icemakers, avoid contact with the moving parts of the ejector mechanism or with the heating element that releases the cubes. Do not place fingers or hands on the automatic ice-making mechanism while the refrigerator is plugged in.
- Do not touch the cold surfaces in the freezer compartment with wet or damp hands, when your refrigerator is in operation.
- When dispensing ice from the dispenser, do not use crystal ceramics.
- Do not put glass containers, glass bottles or soda in the freezer.
- This appliance is not intended for use by persons (including children) with reduced physical, sensory or mental capabilities, or lack of experience and knowledge, unless they have been given supervision or instruction concerning the use of the appliance by a person responsible for their safety.
- If you are throwing away your old refrigerator, make sure the CFC coolant is removed for proper disposal by a qualified
- Do not refreeze frozen food that have thawed completely. It may result in a serious health issue.
- If you are throwing away your old refrigerator, make sure the CFC coolant is removed for proper disposal by a qualified servicer. If you release CFC coolant, you may be fined or imprisoned in accordance with the relevant environmental law.
- Junked or abandoned refrigerators are dangerous, even if they are sitting for only a few days. When disposing the refrigerator, remove the packing materials from the door or take off the doors but leave the shelves in place so that children may noteasily climb inside.
READ ALL INSTRUCTIONS BEFORE USING THE APPLIANCE.
To reduce the risk of fire, electric shock, or personal injury when using your product, basic safety precautions should be followed, including the following.
CAUTION
Installation
- The refrigerator must be properly installed in accordance with the Installer Instructions that were taped to the front of the refrigerator.
- Be careful when you unpack and install the refrigerator. Immediately dispose of packing materials (plastic) out of reach of children.
Use
- Close the door carefully when children are around.
- Keep fingers out of pinch point areas; clearances between the doors and cabinets are necessarily small. Be careful closing doors when children are in the area.
- If you store food properly, beware that it may fall and cause injury.
Maintenance
- Wipe foreign objects (dust, water, etc) off the prongs of the power plug and contact areas regularly.
- Do not use strong detergents like wax or thinners for cleaning. Clean with a soft fabric.
SAVE THESE INSTUCTIONS
COMPONENTS
Use this page to become more familiar with the parts and features of your refrigerator. Page references are included for your convenience.
*The appearance and specifications of the actual product may differ depending on the model.
Refrigerator Exterior

Refrigerator Interior
Key Parts and Components

Special Features

INSTALLATION’
Specifications
The appearance and specifications listed in this manual may vary due to constant product improvements.
| Bottom-freezer refrigerator model LMX21986 | |
| Description | French door refrigerator |
| Electrical requirements | 115 VAC @ 60 Hz |
| Min. / Max. Water pressure | 20 and 120 psi (140 and 830 kPa) |
| Dimensions | 35 3/4″ (W) X 30 1/4″ (D) X 69 3/4″ (H), 46 1/2″ (D w/ door open) 908 mm (W) X 768 mm (D) X 1 771.65 (H), 1 073 mm (D w/ door open) |
| Net weight | 306 lb. (139kg) |
| Refrigerator storage capacity | 14.7 cu. ft. |
| Freezer storage capacity | 5.8 cu. ft. |
Unpacking Your Refrigerator
- Use two or more people to move and install therefrigerator. Failure to do so can result in back or other injury.
- Your refrigerator is heavy. When moving the refrig-erator for cleaning or service, be sure to protect the floor. Always pull the refrigerator straight out when moving it. Do not wiggle or walk the refrigerator when trying to move it, as floor damage could occur.
- Keep flammable materials and vapors, such as gasoline, away from the refrigerator. Failure to do so can result in fire, explosion, or death.
Remove tape and any temporary labels from your refrigerator before using. Do not remove any warning-type labels, the model and serial number label, or the Tech Sheet that is located under the front of the refrigerator, behind the base grille.
To remove any remaining tape or glue, rub the area briskly with your thumb. Tape or glue residue can also be easily removed by rubbing a small amount of liquid dish soap over the adhesive with your fingers. Wipe with warm water and dry.
Do not use sharp instruments, rubbing alcohol, flammable fluids, or abrasive cleaners to remove tape or glue. These products can damage the surface of your refrigerator.
Refrigerator shelves are installed in the shipping position.
Please reinstall shelves according to your individual storage needs.
Choosing the Proper Location
- Select a place where a water supply can be easily con-nected for the automatic icemaker.
NOTE
The water pressure must be between 20 and 120 psi (140 and 830 kPa) on models without a water filter and between 40 and 120 psi (280 and 830 kPa)on models with a water filter.
The refrigerator should always be plugged into its own individual properly grounded electrical outlet rated for 115 Volts, 60 Hz, AC only, and fused at 15 or 20 amperes. This provides the best performance and also prevents overloading house wiring circuits which could cause a fire hazard from overheated wires. It is recommended that a separate circuit serving only this appliance be provided.
WARNING
To reduce the risk of electric shock, do not install the refrigerator in a wet or damp area.
Flooring
To avoid noise and vibration, the unit must be leveled and installed on a solidly constructed floor. If required, adjust the leveling legs to compensate for unevenness of the floor. The front should be slightly higher than the rear to aid in door closing. Leveling legs can be turned easily by tipping the cabinet slightly. Turn the leveling legs to the left to raise the unit or to the right to lower it. (See Leveling and door AlIgnment.)
NOTE
Installing on carpeting, soft tile surfaces, a platform or weakly supported structure is not recommended.
Ambient Temperature
Install this appliance in an area where the temperature is between 55°F (13°C) and 110°F (43°C). If the temperature around the appliance is too low or high, cooling ability may be adversely affected.
Measuring the Clearances
Too small of a distance from adjacent items may result in lowered freezing capability and increased electricity consumption charges. Allow at least 24 inches (61 cm) in front of the refrigerator to open the doors and at least 2 inches (5.08 cm) between the back of the refrigerator and the wall.
Removing/Assembling the Refrigerator Door Handles
NOTE
Removing the doors is always recommended when it is necessary to move the refrigerator through a narrow opening. If it is necessary to remove the handles, follow the directions below.
Removing the Handles
- Loosen the set screws with a 3/32 in. Allen wrench and remove the handle.
- Loosen the mounting fasteners that connect to the refrigerator door and handle using a 1/4 in. Allen wrench, remove the mounting fasteners.

Assembling the Handles
- Assemble the mounting fasteners at both ends of the handle using a 1 /4 in. Allen wrench.
- Place the handle on the door by fitting the handle footprints over the mounting fasteners and tightening the set screws with a 3/32 in. Allen wrench.

Removing/Assembling the Freezer Drawer Handle
Removing the Handles
- Loosen the set screws located on the lower side of the handle with a 1/8 in. Allen wrench and remove the handle.
- Loosen the mounting fasteners that connect to the freezer drawer and handle using a 1/4 in. Allen wrench, and remove the mounting fasteners.
Assembling the Handles
- Assemble the mounting fasteners at both ends of thehandle using a 1/4 in. Allen wrench.
- Place the handle on the door by fitting the handle footprints over the mounting fasteners and tightening the set screws with a 1/8 in. Allen wrench.
WARNING
When the customer takes apart the handle or assemble it from a refrigerator, please be cautious of following things.
- Hold the handle with your own hand to make sure not to drop the handle to the floor or instep while taking apart the handle from a refrigerator.
- Do not swing the handle towards people or animals after taking apart the handle.
- Insert the bracket hole of the handle into the stopper bolt of the door exactly, and then assemble the set screws to fix the handle.
- Check if there’s any gap between the door and handle after fixing the handle.
Removing/Assembling the Doors and Drawers
Removing the doors is always recommended when it is necessary to move the refrigerator through a narrow opening.
WARNING
- If your entrance door is too narrow for the refrigerator to pass through, remove the refrigerator doors and move the refrigerator sideways through the doorway.
- Use two or more people to remove and install the refrigerator doors. Failure to do so can result in back or other injury.
- Disconnect the electrical supply to the refrigerator before installing. Failure to do so could result in serious injury or death.
- Do not put hands, feet or other objects into the air vents, base grille, or bottom of the refrigerator. You may be injured or receive an electrical shock.
- Be careful when handling the hinge, base grille and stopper. It may result in injury.
- Remove food and bins from the doors and drawers before detaching.
Removing the Left Refrigerator Door
- The water supply is connected to the upper right part of the rear surface of the refrigerator. Remove the ring in the joint area. Hold the water supply connection and gently push the Collet to detach the water supply line as shown in1 and 2 .

NOTE
Detachment of the water supply line is applicable only when detaching the left refrigerator door.
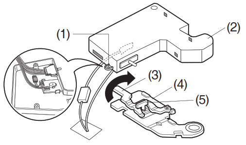
- Open the left door. Remove the top hinge cover screw (1).Lift up the cover (2).
- Remove the cover.
- Pull out the tube (3).
- Disconnect all wire harnesses (4).
- Remove the grounding screw (5).
- Rotate the hinge lever (6) counterclockwise. Lift the top hinge (7) free of the hinge lever latch (8).
- Lift the door from the middle hinge pin and remove the door.
- Place the door, inside facing up, on a non-scratching surface.
CAUTION
When lifting the hinge free of the latch, be careful that the door does not fall forward.
Removing the Right Refrigerator Door

- Open the door. Remove the top hinge cover screw (1). Lift up the cover (2).
- Remove the cover.
- Rotate the hinge lever (3) clockwise. Lift the top hinge (4) free of the hinge lever latch (5).
- Lift the door from the middle hinge pin and remove the door.
- Place the door, inside facing up, on a nonscratching surface.
CAUTION
When lifting the hinge free of the latch, be careful that the door does not fall forward.
Assembling the Right Refrigerator Door
Install the right-side door first. 
- Lower the door onto the middle hinge pin.
Make sure that the plastic sleeve is inserted into the bottom of the door.
- Fit the top hinge (4) over the hinge lever latch (5) and into place.
- Rotate the lever (3) counterclockwise to secure the hinge.
- Hook the tabs on the right side of the hinge cover (2) under the edge of the top hinge (4) and position the cover in place.
- Insert and tighten the cover screw (1).
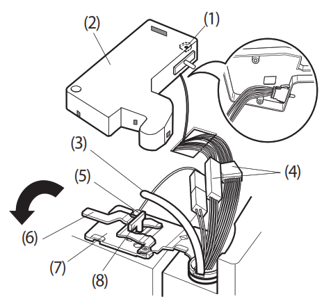
Assembling the Left Refrigerator Door
Install the left refrigerator door after the right door is installed.
- Lower the door onto the middle hinge pin.

- Fit the top hinge (7) over the hinge lever latch (8) and into place.
- Rotate the lever (6) clockwise to secure the hinge.
- Install the grounding screws (5) and connect the two wire harnesses (4).
- Push the water tube (3) located at the top of the left door into the hole beside the left hinge on the top of the cabinet until it exits through the back.
- Insert the water supply tube (3) into the connector until you see only one scale mark. Fully insert the tub cover (15 mm).
- Hook the tabs on the left side of the hinge cover (1) under the edge of the top hinge (7) and position the cover in place.
- Insert and tighten the cover screw (1).

- Insert the water supply tube at least 5/8 in. (15 mm) into the connector.
- Hook the tab on the door switch side of the cover under the edge of the wire opening in the cabinet top.
- Position the cover into place. Insert and tighten the cover screw.

Removing the Freezer Drawers
The top, middle and bottom drawers are all removed in the same way. In the following figures, the Pullout Drawer located above the freezer drawer is not shown for clarity.
CAUTION
- Use two or more people to remove and install the freezer drawer. Failure to do so can result in back or other injury.
- Do not hold the handle when removing or replac-ing the drawer. The handle may come off and it could cause personal injury.
- Be careful of sharp hinges on both sides of the drawer.
- When you lay the drawer down, be careful not to damage the floor.
- Do not sit or stand on the freezer drawer.
- To prevent accidents, keep children and pets away from the drawer. Do not leave the drawer open.
Top Freezer Drawer
- Pull the drawer open to full extension. Remove the basket and ice bin by lifting the basket from the rail system.

- Remove the screws on both the left and right rails.

- Grasp the drawer on each side and pull it up to separate it from the rails.

- With both hands, flex the center bar enough to allow the gears on both ends to release from the track.
CAUTION
Do not hold the handle when removing or replacing the drawer. The handle may come off and it could cause personal injury. 
Bottom Freezer Drawer
- Pull the drawer open to full extension. Remove the basket by lifting the basket from the rail system.

- Remove the screws on both the left and right rails.

- Grasp the drawer on each side and pull it up to separate it from the rails.

- With both hands, flex the center bar enough to allow the gears on both ends to release from the track.
CAUTION
Do not hold the handle when removing or replacing the drawer. The handle may come off and it could cause personal injury.

Assembling the Freezer Drawers
Top Freezer Drawer
- To reinstall the freezer drawer, hold the center bar with both hands and pull it out until both rails are fully extended.

- Grasp the drawer on each side and hook the door supports 1 into the rail tabs 2 located on both sides.

- Lower the door into final position and tighten the screws located on both sides.

- With the drawer pulled out to full extension, insert the basket and ice bin in the rail assembly.

Bottom Freezer Drawer
- To reinstall the freezer drawer, hold the center bar with both hands and pull it out until both rails are fully extended.

- Grasp the drawer on each side and hook the door supports 1 into the rail tabs 2 located on both sides.

- Lower the door into final position and tighten the screws located on both sides.

- With the drawer pulled out to full extension, insert the basket in the rail assembly.

Connecting the Water Line
Before You Begin
This water line installation is not covered by the refrigerator warranty. Follow these instructions carefully to minimize the risk of expensive water damage.
Water hammer (water banging in the pipes) in house plumbing can cause damage to refrigerator parts and can lead to water leakage or flooding. Call a qualified plumber to correct water hammer before installing the water supply line to the refrigerator.
CAUTION
To prevent burns and product damange, only connect the refrigerator water line to a cold water supply.
If you use your refrigerator before connecting the water line, make sure the icemaker power switch is in the OFF (O) position.
CAUTION
Do not install the icemaker tubing in areas where temperatures fall below freezing.
Water Pressure
A cold water supply. The water pressure must be between 20 and 120 psi (140 and 830 kPa)on models without a water filter and between 40 and 120 psi (280 and 830 kPa)on models with a water filter.
If a reverse osmosis water filtration system is connected to your cold water supply, this water line installation is not covered by the refrigerator warranty. Follow the following instructions carefully to minimize the risk of expensive water damage.
If a reverse osmosis water filtration system is connected to your cold water supply, the water pressure to the reverse osmosis system needs to be a minimum of 40 to 60 psi (280 and 420 kPa), less than 2.0~3.0 sec. to fill a cup of 7oz or 200cc capacity.
CAUTION
Wear eye protection during installation to prevent injury.
If the water pressure from the reverse osmosis system is less than 21 psi (145 kPa) (takes more than 4.0 sec to fill a cup of 7oz or 200cc capacity):
- Check to see if the sediment filter in the reverse osmosis system is blocked. Replace the filter if necessary.
- Allow the storage tank on the reverse osmosis system to refill after heavy usage.
- If the issue concerning water pressure from reverse osmosis remains, call a licensed, qualified plumber.
- All installations must be in accordance with local plumbing code requirements.
What You Will Need
- Copper Tubing, ¼ in. outer diameter, to connect the refrigerator to the water supply. Be sure both ends of the tubing are cut square.
- To determine how much tubing you need: measure the distance from the water valve on the back of the refrigerator to the water supply pipe. Then, add 8 feet (2.4 m). Be sure there is sufficient extra tubing (about 8 feet [2.4 m] coiled into 3 turns of about 10 in. [25 cm] diameter) to allow the refrigerator to move out from the wall after
installation.
- Power drill.
- ½ in. or adjustable wrench.
- Flat blade and Phillips head screwdrivers.

- Two ¼ in. outer diameter compression nuts and 2 ferrules (sleeves) to connect the copper tubing to the shutoff valve and the refrigerator water valve.
- If your existing copper water line has a flared fitting at the end, you will need an adapter (available at plumbing supply stores) to connect the water line to the refrigerator OR you can cut off the flared fitting with a tube cutter and then use a compression fitting.

- Shutoff valve to connect to the cold water line. The shutoff valve should have a water inlet with a minimum inside diameter of 5/32 in. at the point of connection to the COLD WATER LINE. Saddle-type shutoff valves are included in many water supply kits. Before purchasing, make sure a saddle-type valve complies with your local plumbing codes.

NOTE
A self piercing saddle type water valve should not be used.
Water Line Installation Instructions
WARNING
When using any electrical device (such as a power drill) during installation, be sure the device is battery powered, double insulated or grounded in a manner that will prevent the hazard of electric shock.
Install the shutoff valve on the nearest frequently used drinking water line.
- SHUT OFF THE MAIN WATER SUPPLY
Turn on the nearest faucet to relieve the pressure on the line. - CHOOSE THE VALVE LOCATION
Choose a location for the valve that is easily accessible.
It is best to connect into the side of a vertical water pipe. When it is necessary to connect into a horizontal water pipe, make the connection to the top or side, rather than at the bottom, to avoid drawing off any sediment from the water pipe.
- DRILL THE HOLE FOR THE VALVE
Drill a ¼ in. hole in the water pipe using a sharp bit. Remove any burrs resulting from drilling the hole in the pipe. Be careful not to allow water to drain into the drill. Failure to drill a ¼ in. hole may result in reduced ice production or smaller cubes.
NOTE
The hookup line cannot be white, plastic tubing.
Licensed plumbers must use only copper tubing NDA tubing #49595 or 49599 or Cross Link Polyethylene (PEX) tubing. - FASTEN THE SHUTOFF VALVE
Fasten the shutoff valve to the cold water pipe with the pipe clamp.
NOTE
Commonwealth of Massachusetts Plumbing Codes 248CMR shall be adhered to. Saddle valves are illegal and use is not permitted in Massachusetts. Consult with your licensed plumber. - TIGHTEN THE PIPE CLAMP
Tighten the clamp screws until the sealing washer begins to swell.
NOTE: Do not overtighten clamp or you may crush the tubing.
- ROUTE THE TUBING
Route the tubing between the cold water line and the refrigerator.
Route the tubing through a hole drilled in the wall or floor (behind the refrigerator or adjacent base cabinet) as close to the wall as possible.
NOTE
Be sure there is sufficient extra tubing (about 8 feet coiled into 3 turns of about 10 in. diameter) to allow the refrigerator to move out from the wall after installation. - CONNECT THE TUBING TO THE VALVE
Place the compression nut and ferrule (sleeve) for copper tubing onto the end of the tubing and connect it to the shutoff valve. Make sure the tubing is fully inserted into the valve. Tighten the compression nut securely.
- FLUSH OUT THE TUBING
Turn the main water supply on and flush out the tubing until the water is clear.
Shut the water off at the water valve after about one quart of water has been flushed through the tubing. - CONNECT THE TUBING TO THE REFRIGERATOR
NOTE: Before making the connection to the refrigerator, be sure that the refrigerator power cord is not plugged into the wall outlet.
a. Remove the plastic flexible cap from the water valve.
b. Place the compression nut and ferrule (sleeve) onto the end of the tubing as shown.
c. Insert the end of the copper tubing into the connection as far as possible. While holding the tubing, tighten the fitting.
- TURN THE WATER ON AT THE SHUTOFF VALVE
Tighten any connections that leak.
CAUTION
Check to see if leaks occur at the water line connections. - PLUG IN THE REFRIGERATOR
Arrange the coil of tubing so that it does not vibrate against the back of the refrigerator or against the wall. Push the refrigerator back to the wall. - START THE ICEMAKER
Set the icemaker power switch to the ON position.
The icemaker will not begin to operate until it reaches its operating temperature of 15°F (–9°C) or below. It will then begin operation automatically if the icemaker power switch is in the ON (I) position.
Turning On The Power
- Plug in the refrigerator.

CAUTION
- Connect to a rated power outlet.
- Have a certified electrician check the wall outlet and wiring for proper grounding.
- Do not damage or cut off the ground terminal of the power plug.
Leveling and Door Alignment
Leveling
After installing, plug the refrigerator’s power cord into a 3-prong grounded outlet and push the refrigerator into the final position.
Your refrigerator has two front leveling legs—one on the right and one on the left. Adjust the legs to alter the tilt from frontto-back or side-to-side. If your refrigerator seems unsteady, or you want the doors to close more easily, adjust the refrigerator’s tilt using the instructions below:
- Remove the base grille. Refer to the Base Grille Installation section.
- Turn the leveling leg to the left to raise that side of the refrigerator or to the right to lower it. It may take several turns of the leveling leg to adjust the tilt of the refrigerator.

NOTE
A flare nut wrench works best, but an open-end wrench will suffice. Do not over-tighten. - Open both doors again and check to make sure that they close easily. If the doors do not close easily, tilt the refrigerator slightly more to the rear by turning both leveling legs to the left. It may take several more turns, and you should turn both leveling legs the same mount.
- Replace the base grille.
Door Alignment
Both the left and right refrigerator doors have an adjustable nut, located on the bottom hinge, to raise and lower them to align properly. If the space between your doors is uneven, follow the instructions below to align the doors evenly:
Use the wrench (included with the Owner’s Manual) to turn the nut in the door hinge to adjust the height. To the right to raise or to the left to lower the height.
HOW TO USE
Before Use
Clean the refrigerator.
Clean your refrigerator thoroughly and wipe off all dust that accumulated during shipping. 
CAUTION
- Do not scratch the refrigerator with a sharp object or use a detergent that contains alcohol, a flammable liquid or an abrasive when removing any tape or adhesive from the refrigerator,.
- Do not peel off the model or serial number label or the technical information on the rear surface of the refrigerator.
NOTE
Remove adhesive residue by wiping it off with your thumb or dish detergent.
Connect the power supply.
Check if the power supply is connected before use.
Read the “Turning On The Power” section.
Turn off the icemaker if the refrigerator is not yet connected to the water supply.
Turn off the automatic icemaker and then plug the power plug of the refrigerator into the grounded electric outlet.
* This is applicable only to certain models.
CAUTION
Running the automatic icemaker before connecting it to the water supply may cause the refrigerator to malfunction.
Wait for the refrigerator to cool.
Allow your refrigerator to run for at least two to three hours before putting food in it. Check the flow of cold air in the freezer compartment to ensure proper cooling.
CAUTION
Putting food in the refrigerator before it has cooled could cause the food to spoil, or a bad odor could remain inside the refrigerator.
The refrigerator makes a loud noise after initial operation.
This is normal. The loudness will decrease as the temperature lowers.
Open refrigerator doors and freezer drawers to ventilate the interior.
The inside of the refrigerator may smell like plastic at first. Remove any adhesive tape from inside the refrigerator and open the refrigerator doors and the freezer drawers for
ventilation.
Control Panel
* Depending on the model, some of the following functions may not be available.

Control Panel Features
The LED Display shows the temperature settings, dispenser options, water filter, door alarm, andl ocking status messages.
Ice Type![]()
Press the ICE TYPE button to select either Crushed or Cubed Ice. The selected option will illuminate on the LED display.
Freezer![]()
Press the FREEZER button to adjust the temperature in the freezer compartment.
NOTE
To change the display from Fahrenheit to Celsius, press and hold the FREEZER and REFRIGERATOR button for five seconds.
Refrigerator ![]()
Press the REFRIGERATOR button to adjust the temperature in the freezer compartment.
Ice Plus![]()
This function increases both ice making and freezing capabilities.
- When you touch the Ice Plus button, the graphic will illuminate in the display and will continue for 24 hours.
The function will automatically shut off after 24 hours. button one more time. - You can stop this function manually by touching the
Energy Saving![]()
The Energy Saving function disables the mullion heater located on the refrigerator door in order to conserve electricity. Press and hold the Energy Saving button for three seconds to activate or deactivate this function.
NOTE
Discontinue using the Energy Saving function if excessive moisture begins to collect on the door mullion.
Light![]()
Press the LIGHT button, to turn on the dispenser light. The indicator will appear on the LED display.
Change Filter![]()
When the water filter indicator turns on, you have to change the water filter. After changing the water filter, press and hold the FILTER button for three seconds to turn the indicator light off. You need to change the water filter approximately every six months.
Alarm![]()
- When power is connected to the refrigerator, the door alarm is initially set to ON. When you press the ALARM button, the display will change to OFF and the Alarm function will deactivate.
- When either the refrigerator or the freezer door is left open for more than 60 seconds, the alarm tone will sound to let you know that the door is open.
- When you close the door, the door alarm will stop.
Control Lock![]()
- When power is initially connected to the refrigerator, the Lock function is off.
- If you want to activate the Lock function to lock other buttons, press and hold the Lock button for three seconds or more. The Lock icon will display and the Lock function is now enabled.
- To disable the Lock function, press and hold the Lock button for approximately three seconds.
CAUTION
Display Mode (For Store Use Only) The Display Mode disables all cooling in the refrigera-tor and freezer sections to conserve energy while on display in a retail store. When activated, OFF will display on the control panel.
To deactivate:
With either refrigerator door opened, press and hold the Refrigerator and Ice Plus buttons at the same time for five seconds. The control panel will beep and the temperature settings will display to confirm that Display Mode is deactivated. Use the same proce-dure to activate the Display Mode.
In-Door Ice Bin
* Depending on the model, some of the following functions may not be available.
CAUTION
- Keep hands and tools out of the ice compartment door and dispenser chute. Failure to do so may result in damage or personal injury.
- The icemaker will stop producing ice when the in-door ice bin is full. If you need more ice, empty the ice bin into the extra ice bin in the freezer compart-ment. During use, the ice can become uneven caus-ing the icemaker to misread the amount of ice cubes and stop producing ice. Shaking the ice bin to level the ice within it can reduce this problem.
- Storing cans or other items in the ice bin will damage the icemaker.
- Keep the ice compartment door closed tightly. If the ice compartment door is not closed tightly, the cold air in the ice bin will freeze food in the refrigerator compartment. This could also cause the icemaker to stop producing ice.
- If the ON/OFF switch on the icemaker is set to OFF for an extended period of time, the ice compartment will gradually warm up to the temperature of the refrigerator compartment. To prevent ice cubes from melting and leaking from the dispenser, ALWAYS empty the ice bin when the icemaker is set to OFF for more than a few hours.
Detaching the In-Door Ice Bin
- Gently pull the handle to open the ice compartment.

- To remove the in-door ice bin, grip the front handle, slightly lift the lower part, and slowly pull out the bin as shown.

Assembling the In-Door Ice Bin
- Carefully insert the in-door ice bin while slightly slanting it to avoid contact with the icemaker.

- Avoid touching the ice-detecting sensor when replacing the ice bin. See the label on the ice compartment door for details.

CAUTION
When handling the ice bin, keep hands away from the icemaker tray area to avoid personal injury.
Automatic Icemaker
* Depending on the model, some of the following functions may not be available.
Ice is made in the automatic icemaker and sent to the dispenser. The icemaker will produce 70~210 cubes in a 24hour period, depending on freezer compartment temperature, room temperature, number of door openings and other operating conditions.
- It takes about 12 to 24 hours for a newly installed re-frigerator to begin making ice. Wait 72 hours for full ice production to occur.
- Ice making stops when the in-door ice bin is full. When full, the in-door ice bin holds approximately 6 to 8 (12-16 oz or 340 – 455 cc) glasses of ice.
- The water pressure roust be between 20 and 120 psi (140 and 830 kPa) on models without a water filter and between 40 and 120 psi (280 and 830 kPa )on models with a water filter to produce the normal amount and size of ice cubes.
- Foreign substances or frost on the ice-detecting sensor can interrupt ice production. Make sure the sensor area is clean at all times for proper operation.

Turning the Automatic Icekamer On or Off
To turn off the automatic icemaker, set the icemaker switch to OFF (O). To turn on the automatic icemaker, set the switch to ON (I).
CAUTION
- The first ice and water dispensed may include particles or odor from the water supply line or the water tank.
- Throw away the first few batches of ice. This is also necessary if the refrigerator has not been used for a long time.
- Never store beverage cans or other items in the ice bin for the purpose of rapid cooling. Doing so may damage the icemaker or the containers may burst.
- If discolored ice is dispensed, check the water filter and water supply. If the problem continues, contact a Sears or other qualified service center. Do not use the ice or water until the problem is corrected.
- Keep children away from the dispenser. Children may play with or damage the controls.
- The ice passage may become blocked with frost if only crushed ice is used. Remove the frost that accumulates by removing the ice bin and clearing the passage with a rubber spatula. Dispensing cubed ice can also help prevent frost buildup.
- Never use thin crystal glass or crockery to collect ice. Such containers may chip or break resulting in glass fragments in the ice.
- Dispense ice into a glass before filling it with water or other beverages. Splashing may occur if ice is dis-pensed into a glass that already contains liquid.
- Never use a glass that is exceptionally narrow or deep. Ice may jam in the ice passage and refrigerator perfor-mance may be affected.
- Keep the glass at a proper distance from the ice outlet. A glass held too close to the outlet may prevent ice from dispensing.
- To avoid personal injury, keep hands out of the ice door and passage.
- Never remove the dispenser cover.
- If ice or water dispenses unexpectedly, turn off the water supply and contact a qualified service center.
When You Should Turn the Icemaker Off
- When the water supply will be shut off for several hours.
- When the ice bin is removed for more than one or two minutes.
- When the refrigerator will not be used for several days.
NOT E
The ice bin should be emptied when the icemaker on/off switch is turned to the OFF position.
Normal Sounds You May Hear
- The icemaker water valve will buzz as the icemaker fills with water. If the power switch is in the ON (I) position, it will buzz even if it has not yet been hooked up to water. To stop the buzzing, move the power switch to OFF (O).
NOTE
Keeping the power switch in the ON (I) position before the water line is connected can damage the icemaker. - You will hear the sound of cubes dropping into the bin and water running in the pipes as the icemaker refills.
Preparing For Vacation
Set the icemaker power switch to OFF (O) and shut off the water supply to the refrigerator.
NOTE
The ice bin should be emptied anytime the icemaker on/off switch is turned to the OFF (O) position.
If the ambient temperature will drop below freezing, have a qualified technician drain the water supply system to prevent serious property damage due to flooding caused by ruptured water lines or connections.
Ice and Water Dispenser
* Depending on the model, some of the following functions may not be available.
CAUTION
Keep children away from the dispenser. Children may play with or damage the controls.
Dispenser

Using the Dispenser
- To dispense cold water, push on the water switch with a glass.
- To dispense ice, push on the ice switch with a glass.
NOTE
- If discolored ice is dispensed, check the water filter and water supply. If the problem continues, contact a qualified service center. Do not use the ice or water until the problem is corrected.
- The dispenser will not operate when either of the refrigerator doors are open.
- If dispensing water or ice into a container with a small opening, place it as close to the dispenser as possible.
- Some dripping may occur after dispensing. Hold your cup beneath the dispenser for a few seconds after dispensing to catch all of the drops.
| Incorrect Way | Correct Way | |
| Water | ![]() | ![]() |
| Ice | ![]() | ![]() |
CAUTION
Throw away the first few batches of ice (about 24 cubes). This is also necessary if the refrigerator has not been used for a long time.
Locking the Dispenser
Press and hold the Lock button for 3 seconds to lock the dispenser and all the control panel functions. Follow the same instructions to unlock.
Cleaning the Dispenser Tray
- Grip the tray with both hands, pess down and pull it out.

- Wipe out dirty areas with a clean cloth.
Storing Food
Food Preservation Location
Each compartment inside the refrigerator is designed to store different types of food.
Store your food in the optimal space to enjoy the freshest taste. 
CAUTION
- Wash food before storing it in the refrigerator. Vegetables and fruit should be washed, and food packaging should be wiped with the cold air and freeze.
- Do not store food with high moisture content towards the top of the refrigerator. The moisture could come in direct contact down to prevent adjacent foods from being contaminated.
- If the refrigerator is kept in a hot and humid place, frequent opening of the door or storing a lot of vegetables in the refrig-erator may cause condensation to form. Wipe off the condensation with a clean cloth or a paper towel.
- If the refrigerator door or freezer drawer is opened or closed too often, warm air may penetrate the refrigerator and raise its temperature. It can also increase the cost of electricity.
NOTE
- If you are leaving home for a short period of time, like a short vacation, the refrigerator should be left on. Refrigerated foods that are able to be frozen will stay preserved longer if stored in the freezer.
- If you are leaving the refrigerator turned off for an extended period of time, remove all food and unplug the power cord.
- Clean the interior, and leave the door open to prevent fungi from growing in the refrigerator.
Food Storage Tips
* The following tips may not be applicable depending on the model.
Wrap or store food in the refrigerator in airtight and moistureproof material unless otherwise noted. This prevents food odor and taste transfer throughout the refrigerator. For dated products, check date code to ensure freshness.
| Food | How to |
| Butter or Margarine | Keep opened butter in a covered dish or closed compartment. When storing an extra supply, wrap in freezer packaging and freeze. |
| Cheese | Store in the original wrapping until you are ready to use it. Once opened, rewrap tightly in plastic wrap or aluminum foil. |
| Milk | Wipe milk cartons. For best storage, place milk on interior shelf, not on door shelf. |
| Eggs | Store in original carton on interior shelf, not on door shelf. |
| Fruit | Do not wash or hull the fruit until it is ready to be used. Sort and keep fruit in its original container, in a crisper, or store in a completely closed paper bag on a refrigerator shelf. |
| Leafy Vegetables | Remove store wrapping and trim or tear off bruised and discolored areas. Wash in cold water and drain. Place in plastic bag or plastic container and store in crisper. |
| Vegetables with skins (carrots, peppers) | Place in plastic bags or plastic container and store in crisper. |
| Fish | Store fresh fish and shellfish in the freezer section if they are not being consumed the same day of purchase. It is recommended to consume fresh fish and shellfish the same day pur- chased. |
| Leftovers | Cover leftovers with plastic wrap, aluminum foil, or plastic containers with tight lids. |
Storing Frozen Food
NOTE
Check a freezer guide or a reliable cookbook for further information about preparing food for freezing or food storage times.
Freezing
Your freezer will not quick-freeze a large quantity of food. Do not put more unfrozen food into the freezer than will freeze within 24 hours (no more than 2 to 3 lbs. of food per cubic foot of freezer space). Leave enough space in the freezer for air to circulate around packages. Be careful to leave enough room at the front so the door can close tightly.
Storage times will vary according to the quality and type of food, the type of packaging or wrap used (how airtight and moisture-proof) and the storage temperature. Ice rystals inside a sealed package are normal. This simply means that moisture in the food and air inside the package have condensed, creating ice crystals.
NOTE
Allow hot foods to cool at room temperature for 30 minutes, then package and freeze. Cooling hot foods before freezing saves energy.
Packaging
Successful freezing depends on correct packaging. When you close and seal the package, it must not allow air or moisture in or out. If it does, you could have food odor and taste transfer throughout the refrigerator and could also dry out frozen food.
Packaging recommendations:
- Rigid plastic containers with tight-fitting lids
- Straight-sided canning/freezing jars
- Heavy-duty aluminum foil
- Plastic-coated paper
- Non-permeable plastic wraps
- Specified freezer-grade self-sealing plastic bags
Follow package or container instructions for proper freezing methods.
Do not use
- Bread wrappers
- Non-polyethylene plastic containers
- Containers without tight lids
- Wax paper or wax-coated freezer wrap
- Thin, semi-permeable wrap
Humidity Controlled Crisper and Glide’N’Serve
Humidity Controlled Crisper
* Depending on the model, some of the following functions may not be available.
The crispers provide fresher tasting fruit and vegetables by letting you easily control humidity inside the drawer.
You can control the amount of humidity in the moisturesealed crispers by adjusting the control to any setting between HIGH and LOW.
- HIGH keeps moist air in the crisper for best storage of fresh, leafy vegetables.
- LOW lets moist air out of the crisper for best storage of fruit.

Glide’N’Serve
The Glide’N’Serve provides storage space with a variable temperature control that can keep the compartment at a slightly different temperature than the refrigerator section. This drawer can be used for large party trays, deli items and beverages. (This drawer should not be used for vegetables that require high humidity.)
Set the control between COLD and COLDER. Use the COLDER setting for items such as meats and deli items.
Detaching and Assembling the Storage Bins
Glide’N’Serve and Humidity Controlled Crisper
To remove the Humidity Controlled Crisper and the Glide’N’Server, pull out the Crisper 1 and Glide’N’Server 2 to full extension, lift the front up, and pull straight out.
To install, slightly tilt up the front, insert the drawer into the frame and push it back into place. 
NOTE
Storage Bins may vary in appearance, depending on your model.
To Remove the Glass
(Pantry drawer not shown for clarity)
Lift up the glass under the crisper cover, and pull up and out.
Door Bins
The door bins are removable for easy cleaning and adjustment.
- To remove the bin, simply lift the bin up and pull straight out.
- To replace the bin, slide it in above the desired support and push down until it snaps into place.

NOTE
Some bins may vary in appearance and will only fit in one location.
CAUTION
- Do not apply excessive force while detatching or assembling the storage bins.
- Do not use the dishwasher to clean the storage bins and shelves.
- Regularly detach and wash the storage bins and shelves; they can become easily contaminated by the food.
Adjusting the Refrigerator Shelves
The shelves in your refrigerator are adjustable to meet your individual storage needs. Your model may have glass or wire shelves.
Adjusting the shelves to fit different heights of items will make finding the exact item you want easier. Doing so will also reduce the amount of time the refrigerator door is open which will save energy.
Detaching the Shelf
Tilt up the front of the shelf and lift it straight up. Pull the shelf out. 
Assembling the Shelf
Tilt the front of the shelf up and guide the shelf hooks into the slots at a desired height. Then, lower the front of the shelf so that the hooks drop into the slots. 
CAUTION
Make sure that shelves are level from one side to the other. Failure to do so may result in the shelf falling or spilling food.
Using the Folding Shelf
You can store taller items, such as a gallon container or bottles, by simply pushing the front half of the shelf underneath the back half of the shelf. Pull the front of the shelf toward you to return to a full shelf.

CAUTION
- Do not clean glass shelves with warm water while they are cold. Shelves may break if exposed to sudden temperature changes or impact.
- Glass shelves are heavy. Use special care when removing them.
NOTE
Shelves may vary in appearance, depending on your model.
MAINTENANCE
Cleaning
- Both the refrigerator and freezer sections defrost automatically; however, clean both sections about once a month to pre- vent odors.
- Always unplug the refrigeration before cleaning.
- Wipe up spills immediately.
General Cleaning Tips
- Unplug refrigerator or disconnect power.
- Remove all removable parts, such as shelves, crispers, etc.
- Use a clean sponge or soft cloth and a mild detergent in warm water. Do not use abrasive or harsh cleaners.
- Hand wash, rinse and dry all surfaces thoroughly.
Exterior
Waxing external painted metal surfaces helps provide rust protection. Do not wax plastic parts. Wax painted metal sur-faces at least twice a year using appliance wax for auto paste wax). Apply wax with a clean, soft cloth.
For products with a stainless steel exterior, use a clean sponge or soft cloth and a mild detergent in warm water. Do not use abrasive or harsh cleaners. Dry thoroughly with a soft cloth. Do not use appliance wax, bleach, or other products containing chlorine on stainless steel.
CAUTION
- Do not use a rough cloth or sponge when cleaning the interior and exterior of the refrigerator.
- Do not place your hand on the bottom surface of the refrigerator when opening and closing.
WARNING
Use non-flammable cleaner. Failure to do so can result in fire, explosion, or death.
Inside Walls (allow freezer to warm up so the cloth will not stick)
To help remove odors, you can wash the inside of the refrig-erator with a mixture of baking soda and warm water. Mix 2 tablespoons of baking soda to 1 quart of water (26 g soda to 1 liter water.) Be sure the baking soda is completely dis-solved so it does not scratch the surfaces of the refrigerator.
Door Liners and Gaskets
Use a clean sponge or soft cloth and a mild detergent in warm water. Do not use cleaning waxes, concentrated deter-gents, bleaches, or cleaners containing petroleum on plastic refrigerator parts.
Plastic Parts (covers and panels)
Use a clean sponge or soft cloth and a mild detergent in warm water. Do not use window sprays, abrasive cleansers, or flammable fluids. These can scratch or damage the material.
Condenser Coils
Use a vacuum cleaner with an attachment to clean the con-denser cover and vents. Do not remove the panel covering the condenser coil area.
Replacing the Water Filter
It is recommended that you replace the water filter:
- Approximately every six months.
- When the water filter indicator turns on.
- When the water dispenser output decreases.
- When the ice cubes are smaller than normal.
- Remove the old water filter.
• Lower or remove the top left shelf to allow the water filter to rotate all the way down.
• Press the push button to open the water filter cover.
NOTE: Replacing the water filter causes a small amount of water (around 1 oz. or 25 cc) to drain. Place a cup under the front end of the water filter cover to collect any leaking water. Hold the water filter upright, once it is removed, to prevent any remaining water from spilling out of the water filter.
Pull the water filter downward and pull out. Make sure to rotate the filter down completely before pulling it out of the manifold hole. - Replace with a new water filter.
Take the new water filter out of its packing and remove the protective cover from the o-rings. With water filter tabs in the horizontal position, push the new water filter into the manifold hole until it stops.
Rotate the water filter up into position and close the cover. The cover will click when closed correctly.
- After the water filter is replaced, dispense 2.5 gallons (9 litters)of water (flush for approximately 5 minutes) to remove trapped air and contaminates from the system. Do not dispense the entire 2.5 gallons (9 litters)amount continuously. Depress and release the dispenser pad for cycles of 30 seconds ON and 60 seconds OFF.
- Water Filter Bypass Plug Keep the water filter bypass plug. You MUST use the water filter bypass plug when a replacement water filter cartridge is not available.

CAUTION
DO NOT operate refrigerator without water filter or water filter plug installed.
NOTE
- To purchase a replacement water filter:
– Visit your local dealer or distributor
– Web: Find Parts & Accessories from Support section of Ig.com
– Call : 1-800-243-0000 (USA) 1-888-542-2623 (Canada) - Part number of the replacement water filter: ADQ36006101
Care and cleaning
Performance Data Sheet
Model: LG ADQ36006101-S Use Replacement Cartridge: ADQ36006101
The concentration of the indicated substances in water entering the system was reduced to a concentration less than or equal to the permissible limit for water leaving the system as specified in NSF/ANSI Standard 42 and Standard 53.
System tested and certified by NSF International against NSF/ANSI Standard 42 and Standard 53 for the reduction of substances listed below.
| Contaminant Reduction | Average Influent | NSF specified Challenge Concentration | Avg % Reduction | Average Product Water Concentration | Max Permissible Product Water Concentration | NSF Reduction Requirements | NSF Test Report |
| Chlorine Taste and Odor | 2.1 mg/L | 2.0 mg/L ± 10% | 97.2% | 0.06 mg/L | N/A | ³ 50% | J-00049247 |
| Nominal Particulate Class I≥0.5 to <1.0µm | 5,600,000 pts/ mL | At least 10,000 particles/mL | 98.7% | 73,000 pts/ml | N/A | ³85% | J-00049282 |
| Asbestos | 190 MFL | 107 to 108 MFL; fibers greater than 10 µm in length | >99% | < 1MLF | N/A | ³99% | J-0004928 |
| Atrazine | 0.0094 mg/L | 0.009 mg/L ± 10% | 94.7% | 0.00005 mg/L | 0.003 mg/L | N/A | J-00049293 |
| Benzene | 0.016 mg/L | 0.015 mg/L ± 10% | 96.7% | 0.005 mg/L | 0.005 mg/L | N/A | J-00049300 |
| Carbofuran | 0.08 mg/L | 0.08 mg/L ± 10% | 98.1% | 0.002 mg/L | 0.04 mg/L | N/A | J-00049294 |
| Lindane | 0.002 mg/L | 0.002 mg/L ± 10% | 98.2% | 0.00004 mg/L | 0.0002 mg/L | N/A | J-00051975 |
| P-Dichlorobenzene | 0.22 mg/L | 0.225 mg/L ± 10% | 99.8% | 0.0005 mg/L | 0.075 mg/L | N/A | J-00049298 |
| Toxaphene | 0.014 mg/L | 0.015 mg/L ± 10% | 93% | 0.001 mg/L | 0.003 mg/L | N/A | J-00049302 |
| 2,4-D | 0.213 mg/L | 0.210 mg/L ± 10% | 95.2% | 0.009 mg/L | 0.07 mg/L | N/A | J-00049284 |
| Lead pH @6.5 | 0.150 mg/L | 0.15 mg/L ± 10% | >99.3% | 0.001 mg/L | 0.010 mg/L | N/A | J-00051974 |
| Lead pH @8.5 | 0.150 mg/L | 0.15 mg/L ± 10% | >99.3% | 0.001 mg/L | 0.010 mg/L | N/A | J-00049277 |
| Mercury @ pH 6.5 | 0.0059 mg/L | 0.006 mg/L ± 10% | 96.1 | 0.0002 mg/L | 0.002 mg/L | N/A | J-00053886 |
| Mercury @ pH 8.5 | 0.0058 mg/L | 0.006 mg/L ± 10% | 90.1 | 0.0006 mg/L | 0.002 mg/L | N/A | J-00051972 |
| Cyst* | 120,000 cysts/L | Minimum 50,000 cysts/L | 99.99% | <1 cyst/L | N/A | ³99.95% | J-00049281 |
* Based on the use of Cryptosporidium parvum oocysts.
| Application Guidelines/Water Supply Parameters | |
| Service Flow | 0.5 gpm (1.9 lpm) |
| Water Supply | Potable Water |
| Water Pressure | 20 and 120 psi (140 and 830 kPa) |
| Water Temperature | 33°F – 100°F (0.6°C – 38°C) |
It is essential that the manufacturer’s recommended installation, maintenance and filter replacement requirements be carried out for the product to perform as advertised.
Note: While the testing was performed under standard laboratory conditions, actual performance may vary.
Replacement Cartridge: ADQ36006101
For estimated costs of replacement elements please call USA 1-800-243-0000 CANADA 1-888-542-2623
(24 hours per day/7 days per week)
or visit our website at www.lg.com
3M is a trademark of 3M Company.
NSF is a trademark of NSF International.
© 2009 3M Company. All rights reserved.
WARNING
To reduce the risk associated with ingestion of contaminants: Do not use with water that is microbiologically unsafe or of unknown quality without adequate disinfection before and after the system. Systems certified for cyst reduction may be used on disinfected water that may contain filterable cysts. EPA Establishment Number 10350-MN-005
CAUTION
To reduce the risk associated with property damage due to water leakage:
- Read and follow. Use Instructions before installation and use of this system.
- Installation and use MUST comply with all state and local plumbing codes.
- Do not install if water pressure exceeds 120 psi (830 kPa)
If your water pressure exceeds 80 psi (552 kPa), you must install a pressure limiting valve. Contact a plumbing professional if you are uncertain how to check your water pressure. - Do not install where water hammer conditions may occur. If water hammer conditions exist you must install a water hammer arrester. Contact a plumbing professional if you uncertain how to check for this condition.
- Do not install on hot water supply lines. The maximum operating water temperature of this filter system is 100°F (38°C).
- Protect filter from freezing. Drain filter when temperatures drop below 40°F (4.4°C).
- The disposable filter cartridge must be replaced every 6 months, at the rated capacity or if a noticeable reduction in flow rate occurs.
Manufactured for LG®Electronics by CUNO Incorporated 400 Research Parkway Meriden, CT 06450 U.S.A
Worldwide: 203-237-5541
www.cuno.com
State of California
Department of Public Health
Water Treatment Device
Certificate Number
09 -2018
Date Issued: December 15, 2009

SMART DIAGNOSIS 
Should you experience any problems with your refrigerator, it has the capability of transmitting data via your telephone to the LG service center. This gives you the capability of speaking directly to our trained specialists. The specialist records the data transmitted from your machine and uses it to analyze the issue, providing a fast and effective diagnosis.
If you experience problems with your refrigerator, call 1-800-243-0000. Only use the Smart Diagnosis feature when instructed to do so by the LG call center agent. The transmission sounds that you will hear are normal and sound similar to a fax machine.
Smart Diagnosis cannot be activated unless your refrigerator is connected to power. If your refrigerator is unable to turn on, then troubleshooting must be done without using Smart Diagnosis.
Using Smart Diagnosis
First, call 1-800-243-0000. Only use the Smart Diagnosis feature when instructed to do so by the LG call center agent.
- Lock the display. To lock the display, press and hold the Lock button for three seconds. (If the display has been locked for over five minutes, you must deactivate the lock and then reactivate it.)

- Open the right refrigerator door.
- Hold the mouthpiece of your phone in front of the speaker that is located on the right hinge of the refrigerator door, when instructed to do so by the call center.

- Press and hold the Freezer Temperature button for three seconds while continuing to hold your phone to the speaker.

- After you hear three beeps, release the Freezer Temperature button.
- Keep the phone in place until the tone transmission has finished. This takes about 15 seconds, and the display will count down the time. Once the countdown is over and the tones have stopped, resume your conversation with the specialist, who will then be able to assist you in using the information transmitted for analysis.
NOTE
For best results, do not move the phone while the tones are being transmitted.
If the call center agent is not able to get an accurate recording of the data, you may be asked to try again.
NOTE
- Call quality differences by region may affect the function.
- Use the home telephone for better communication performance, resulting in better service.
- Bad call quality may result in poor data transmission from your phone to the machine, which could cause Smart Diagnosis to not work properly.
TROUBLESHOOTING
Review the Troubleshooting section before calling for service; doing so will save you both time and money.
| Problem | Possible Causes | Solutions |
| Refrigerator and Freezer section are not cooling. | The refrigerator control is set to OFF (some models). | Turn the control ON. Refer to the Setting the Controls section for proper temperature settings. |
| Refrigerator is set to demo mode. | Demo Mode allows the lights and control display to work normally while disabling cooling to save energy while on the showroom floor. Refer to the Setting the Controls section for instructions on how to disable Demo Mode. | |
| Refrigerator is in the defrost cycle. | During the defrost cycle, the temperature of each compartment may raise slightly. Wait 30 minutes and confirm the proper temperature has been restored once the defrost cycle has completed. | |
| Refrigerator was recently installed. | It may take up to 24 hours for each compartment to reach the desired temperature. | |
| Refrigerator was recently relocated. | If the refrigerator was stored for a long period of time or moved on its side, it is necessary for the refrigerator to stand upright for 24 hours before connecting it to power. | |
| Cooling System runs too much. | Refrigerator is replacing an older model. | Modern refrigerators require more operating time but use less energy due to more efficient technology. |
| Refrigerator was recently plugged in or power restored. | The refrigerator will take up to 24 hours to cool completely. | |
| Door opened often or a large amount of food / hot food was added. | Adding food and opening the door warms the refrigerator, requiring the compressor to run longer in order to cool the refrigerator back down. In order to conserve energy, try to get everything you need out of the refrigerator at once, keep food organized so it is easy to find, and close the door as soon as the food is removed. (Refer to the Food Storage Guide.) | |
| Doors are not closed completely. | Firmly push the doors shut. If they will not shut all the way, see the Doors will not close completely or pop open section in Parts & Features Troubleshooting. | |
| Refrigerator is installed in a hot location. | The compressor will run longer under warm conditions. At normal room temperatures (70°F) expect your compressor to run about 40% to 80% of the time. Under warmer conditions, expect it to run even more often. The refrigerator should not be operated above 110°F. | |
| Condenser / back cover is clogged. | Use a vacuum cleaner with an attachment to clean the condenser cover and vents. Do not remove the panel covering the condenser coil area. |
| Problem | Possible Causes | Solutions |
| Refrigerator or Freezer section is too warm. | Refrigerator was recently installed. | It may take up to 24 hours for each compartment to reach the desired temperature. |
| Air vents are blocked. | Rearrange items to allow air to flow throughout the compartment. Refer to the Airflow diagram in the Using Your Refrigerator section. | |
| Doors are opened often or for long periods of time. | When the doors are opened often or for long periods of time, warm, humid air enters the compartment. This raises the temperature and moisture level within the compartment. To lessen the effect, reduce the frequency and duration of door openings. | |
| Unit is installed in a hot location. | The refrigerator should not be operated in temperatures above 110F. | |
| A large amount of food or hot food was added to either compartment. | Adding food warms the compartment requiring the cooling system to run. Allowing hot food to cool to room temperature before putting it in the refrigerator will reduce this effect. | |
| Doors not closed correctly. | See the Doors will not close correctly or pop open section in Parts & Features Troubleshooting. | |
| Temperature control is not set correctly. | If the temperature is too warm, adjust the control one increment at a time and wait for the temperature to stabilize. Refer to the Setting the Controls section for more information. | |
| Defrost cycle has recently completed. | During the defrost cycle, the temperature of each compartment may raise slightly and condensation may form on the back wall. Wait 30 minutes and confirm the proper temperature has been restored once the defrost cycle has completed. | |
| Interior moisture buildup. | Doors are opened often or for long periods of time. | When the doors are opened often or for long periods of time, warm, humid air enters the compartment. This raises the temperature and moisture level within the compartment. To lessen the effect, reduce the frequency and duration of door openings. |
| Doors not closed correctly. | See the Doors will not close correctly section in the Troubleshooting section. | |
| Weather is humid. | Humid weather allows additional moisture to enter the compartments when the doors are opened leading to condensation or frost. Maintaining a reasonable level of humidity in the home will help to control the amount of moisture that can enter the compartments. | |
| Defrost cycle recently completed. | During the defrost cycle, the temperature of each compartment may raise slightly and condensation may form on the back wall. Wait 30 minutes and confirm that the proper temperature has been restored once the defrost cycle has completed. | |
| Food is not packaged correctly. | Food stored uncovered or unwrapped, and damp containers can lead to moisture accumulation within each compartment. Wipe all containers dry and store food in sealed packaging to prevent condensation and frost. |
| Problem | Possible Causes | Solutions |
| Food is freezing in the refrigerator compartment. | Food with high water content was placed near an air vent. | Rearrange items with high water content away from air vents. |
| Refrigerator temperature control is set incorrectly. | If the temperature is too cold, adjust the control one increment at a time and wait for the temperature to stabilize. Refer to the Setting the Controls section for more information. | |
| Refrigerator is installed in a cold location. | When the refrigerator is operated in temperature below 41°F (5°C), food can freeze in the refrigerator compartment. The refrigerator should not be operated in temperature below 55°F (13°C). | |
| Frost or ice crystals form on frozen food (outside of package). | Door is opened frequently or for long periods of time. | When the doors are opened often or for long periods of time, warm, humid air enters the compartment. This raises the temperature and moisture level within the compartment. Increased moisture will lead to frost and condensation. To lessen the effect, reduce the frequency and duration of door openings. |
| Door is not closing properly. | Refer to the Doors will not close correctly or pop open section in the Troubleshooting section. | |
| Refrigerator or Freezer section is too cold. | Incorrect temperature control settings. | If the temperature is too cold, adjust the control one increment at a time and wait for the temperature to stabilize. Refer to the Setting the Controls section for more information. |
| Frost or ice crystals on frozen food (inside of sealed package). | Condensation from food with a high water content has frozen inside of the food package. | This is normal for food items with a high water content. |
| Food has been left in the freezer for a long period of time. | Do not store food items with high water content in the freezer for a long period of time. | |
| Icemaker is not making enough ice. | Demand exceeds ice storage capacity. | The icemaker will produce approximately 70~210 cubes in a 24 hour period. |
| House water supply is not connected, valve is not turned on fully, or valve is clogged. | Connect the refrigerator to a cold water supply with adequate pressure and turn the water shutoff valve fully open.If the problem persists, it may be necessary to contact a plumber. | |
| Water filter has been exhausted. | It is recommended that you replace the water filter: • Approximately every six months. • When the water filter indicator turns on. • When the water dispenser output decreases. • When the ice cubes are smaller than normal. | |
| Low house water supply pressure. | The water pressure must be between 20 and 120 psi (140 and 830 kPa )on models without a water filter and between 40 and 120 psi (280 and 830 kPa) on models with a water filter. If the problem persists, it may be necessary to contact a plumber. | |
| Reverse Osmosis filtration system is used. | Reverse osmosis filtration systems can reduce the water pressure below the minimum amount and result in icemaker issues. (Refer to Water Pressure section.) | |
| Tubing connecting refrigerator to house supply valve is kinked. | The tubing can kink when the refrigerator is moved during installation or cleaning resulting in reduced water flow. Straighten or repair the water supply line and arrange it to prevent future kinks. |
| Problem | Possible Causes | Solutions |
| Icemaker is not making enough ice (continued). | Doors are opened often or for long periods of time. | If the doors of the unit are opened often, ambient air will warm the refrigerator which will prevent the unit from maintaining the set temperature. Lowering the refrigerator temperature can help, as well as not opening the doors as frequently. |
| Doors are not closed completely. | If the doors are not properly closed, ice production will be affected. See the Doors will not close completely or pop open section in Parts & Features Troubleshooting for more information. | |
| The temperature setting for the freezer is too warm. | The recommended temperature for the freezer compartment for normal ice production is 0°F. If the freezer temperature is warmer, ice production will be affected. | |
| Dispensing water slowly. | Water filter has been exhausted. | It is recommended that you replace the water filter: • Approximately every six months. • When the water filter indicator turns on. • When the water dispenser output decreases. • When the ice cubes are smaller than normal. |
| Reverse osmosis filtration system is used. | Reverse osmosis filtration systems can reduce the water pressure below the minimum amount and result in icemaker issues. If the problem persists, it may be necessary to contact a plumber. | |
| Low house water supply pressure. | The water pressure must be between 20 and 120 psi (140 and 830 kPa)on models without a water filter and between 40 and 120 psi (280 and 830 kPa)on models with a water filter. If the problem persists, it may be necessary to contact a plumber. | |
| Not dispensing ice. | Doors are not closed completely. | Ice will not dispense if any of the refrigerator doors are left open. |
| Infrequent use of the dispenser. | Infrequent use of the ice dispenser will cause the cubes to stick together over time, which will prevent them from properly dispensing. Check the ice bin for ice cubes clumping/sticking together. If they are, break up the ice cubes to allow for proper operation. | |
| The delivery chute is clogged with frost or ice fragments. | Eliminate the frost or ice fragments by removing the ice bin and clearing the chute with a plastic utensil. Dispensing cubed ice can also help prevent frost or ice fragment buildup. | |
| The dispenser display is locked. | Press and hold the Lock button for three seconds to unlock the control panel and dispenser. | |
| Ice bin is empty. | It may take up to 24 hours for each compartment to reach the desired temperature and for the icemaker to begin making ice. Make sure that the shutoff (arm/sensor) is not obstructed. Once the ice supply in the bin has been completely exhausted, it my take up to 90 minutes before additional ice is available, and approximately 24 hours to completely refill the bin. |
| Problem | Possible Causes | Solutions |
| Icemaker is not making ice. | Refrigerator was recently installed or icemaker recently connected. | It may take up to 24 hours for each compartment to reach the desired temperature and for the icemaker to begin making ice. |
| Icemaker not turned on. | Locate the icemaker ON/OFF switch and confirm that it is in the ON (I) position. | |
| The ice detecting sensor is obstructed. | Foreign substances or frost on the ice-detecting sensor can interrupt ice production. Make sure that the sensor area is clean at all times for proper operation. | |
| The refrigerator is not connected to a water supply or the supply shutoff valve is not turned on. | Connect refrigerator to the water supply and turn the water shutoff valve fully open. | |
| Icemaker shutoff (arm or sensor) obstructed. | If your icemaker is equipped with an ice shutoff arm, make sure that the arm moves freely. If your icemaker is equipped with the electronic ice shutoff sensor, make sure that there is a clear path between the two sensors. | |
| Reverse osmosis water filtration system is connected to your cold water supply. | Reverse osmosis filtration systems can reduce the water pressure below the minimum amount and result in icemaker issues. (Refer to the Water Pressure section.) | |
| Not dispensing water. | New installation or water line recently connected. | Dispense 2.5 gallons (9 litters) of water (flush for approximately 5 minutes) to remove trapped air and contaminates from the system. Do not dispense the entire 2.5 gallons (9 litters )amount continuously. Depress and release the dispenser pad for cycles of 30 seconds ON and 60 seconds OFF. |
| The dispenser panel is locked. | Press and hold the Lock button for three seconds to unlock the control panel and dispenser. | |
| The dispenser is not set for water dispensing. | The dispenser can be set for ice or water. Make certain that the control panel is set for the proper operation. Press the Water button on the control panel to dispense water. | |
| Refrigerator or freezer doors are not closed properly. | Water will not dispense if any of the refrigerator doors are left open. | |
| Water filter has been recently removed or replaced. | After the water filter is replaced, dispense 2.5 gallons (9 litters) of water (flush for approximately 5 minutes) to remove trapped air and contaminates from the system. Do not dispense the entire 2.5 gallons (9 litters) amount continuously. Depress and release the dispenser pad for cycles of 30 seconds ON and 60 seconds OFF. | |
| Tubing connecting refrigerator to house supply valve is kinked. | The tubing can kink when the refrigerator is moved during installation or cleaning resulting in reduced water flow. Straighten or repair the water supply line and arrange it to prevent future kinks. | |
| The house water supply is not connected, the valve is not turned on fully, or the valve is clogged. | Connect refrigerator to the water supply and turn the water shutoff valve fully open. If the problem persists, it may be necessary to contact a plumber. |
| Problem | Possible Causes | Solutions |
| Ice has bad taste or odor. | Water supply contains minerals such as sulfur. | A water filter may need to be installed to eliminate taste and odor problems. NOTE: In some cases, a filter may not help. It may not be possible to remove all minerals / odor / taste in all water supplies. |
| Icemaker was recently installed. | Discard the first few batches of ice to avoid discolored or bad tasting ice. | |
| Ice has been stored for too long. | Ice that has been stored for too long will shrink, become cloudy, and may develop a stale taste. Throw away old ice and make a new supply. | |
| The food has not been stored properly in either compartment. | Rewrap the food. Odors may migrate to the ice if food is not wrapped properly. | |
| The interior of the refrigerator needs to be cleaned. | See the Care and Cleaning section for more information. | |
| The ice storage bin needs to be cleaned. | Empty and wash the bin (discard old cubes). Make sure that the bin is completely dry before reinstalling it. | |
| Dispensing warm water. | Refrigerator was recently installed. | Allow 24 hours after installation for the water storage tank to cool completely. |
| The water dispenser has been used recently and the storage tank was exhausted. | Depending on your specific model, the water storage capacity will range from approximately 20 to 30 oz (570 to 850cc). | |
| Dispenser has not been used for several hours. | If the dispenser has not been used for several hours, the first glass dispensed may be warm. Discard the first 10 oz (280cc). | |
| Refrigerator is connected to the hot water supply. | Make sure that the refrigerator is connected to a cold water pipe. | |
| Water has bad taste or odor. | Water supply contains minerals such as sulfur. | A water filter may need to be installed to eliminate taste and odor problems. |
| Water filter has been exhausted. | It is recommended that you replace the water filter: • Approximately every 6 months. • When the water filter indicator turns on. • When the water dispenser output decreases. • When the ice cubes are smaller than normal. | |
| Refrigerator was recently installed. | Dispense 2.5 gallons (9 litters) of water (flush for approximately 5 minutes) to remove trapped air and contaminates from the system. Do not dispense the entire 2.5 gallons (9 litters) amount continuously. Depress and release the dispenser pad for cycles of 30 seconds ON and 60 seconds OFF. | |
| Icemaker is making too much ice. | Icemaker shutoff (arm/sensor) is obstructed. | Empty the ice bin. If your icemaker is equipped with an ice shutoff arm, make sure that the arm moves freely. If your icemaker is equipped with the electronic ice shutoff sensor, make sure that there is a clear path between the two sensors. Reinstall the ice bin and wait 24 hours to confirm proper operation. |
| Problem | Possible Causes | Solutions |
| Clicking | The defrost control will click when the automatic defrost cycle begins and ends. The thermostat control (or refrigerator control on some models) will also click when cycling on and off. | Normal Operation |
| Rattling | Rattling noises may come from the flow of refrigerant, the water line on the back of the unit, or items stored on top of or around the refrigerator. | Normal Operation |
| Refrigerator is not resting solidly on the floor. | Floor is weak or uneven or leveling legs need to be adjusted. See the Door Alignment section. | |
| Refrigerator with linear compressor was jarred while running. | Normal Operation | |
| Whooshing | Evaporator fan motor is circulating air through the refrigerator and freezer compartments. | Normal Operation |
| Air is being forced over the condenser by the condenser fan. | Normal Operation | |
| Gurgling | Refrigerant flowing through the cooling system. | Normal Operation |
| Popping | Contraction and expansion of the inside walls due to changes in temperature. | Normal Operation |
| Sizzling | Water dripping on the defrost heater during a defrost cycle. | Normal Operation |
| Vibrating | If the side or back of the refrigerator is touching a cabinet or wall, some of the normal vibrations may make an audible sound. | To eliminate the noise, make sure that the sides and back cannot vibrate against any wall or cabinet. |
| Dripping | Water running into the drain pan during the defrost cycle. | Normal Operation |
| Pulsating or High-Pitched Sound | Your refrigerator is designed to run more efficiently to keep your food items at the desired temperature. The high efficiency compressor may cause your new refrigerator to run longer than your old one, but it is still more energy efficient than previous models. While the refrigerator is running, it is normal to hear a pulsating or high-pitched sound. | Normal Operation |
| Problem | Possible Causes | Solutions |
| Doors will not close correctly or pop open. | Food packages are blocking the door open. | Rearrange food containers to clear the door and door shelves. |
| Ice bin, crisper cover, pans, shelves, door bins, or baskets are out of position. | Push bins all the way in and put crisper cover, pans, shelves and baskets into their correct positions. See the Using Your Refrigerator section for more information. | |
| The doors were removed during product installation and not properly replaced. | Remove and replace the doors according to the Removing and Replacing Refrigerator Handles and Doors section. | |
| Refrigerator is not leveled properly. | See Door Alignment in the Refrigeration Installation section to level refrigerator. | |
| Doors are difficult to open. | The gaskets are dirty or sticky. | Clean the gaskets and the surfaces that they touch. Rub a thin coat of appliance polish or kitchen wax on the gaskets after cleaning. |
| Door was recently closed. | When you open the door, warmer air enters the refrigerator. As the warm air cools, it can create a vacuum. If the door is hard to open, wait one minute to allow the air pressure to equalize, then see if it opens more easily. | |
| Refrigerator wobbles or seems unstable. | Leveling legs are not adjusted properly. | Refer to the Leveling and Door Alignment section. |
| Floor is not level. | It may be necessary to add shims under the leveling legs or rollers to complete installation. | |
| Lights do not work. | LED interior lighting failure. | The refrigerator compartment lamp is LED interior lighting, and service should be performed by a qualified technician. Refer to the Light Bulb Replacement section. |
| Refrigerator has an unusual odor. | The Air Filter may need to be set to the MAX setting or replaced. | Set the Air Filter to the MAX setting. If the odor does not go away within 24 hours, the filter may need to be replaced. See the Replacing the Air Filter section for replacement instructions. |
WARRANTY (USA)
Should your LG Refrigerator (“Product”) fail due to a defect in materials or workmanship under normal home use, during the warranty period set forth below, LG will at its option repair or replace the product. This limited warranty is valid only to the original retail purchaser of the product and applies only when purchased and used within the United States including U.S. Territories. Proof of original retail purchase is required to obtain warranty service under this limited warranty.
| WARRANTY PERIOD | |||
| Refrigerator | Sealed System (Condenser, Dryer, Connecting Tube, Refrigerant and Evaporator) | Linear Compressor | |
| One (1) year from the date of original retail purchase | One (1) year from the date of original retail purchase | Seven (7) years from the date of original retail purchase | Ten (10) years from the date of original retail purchase |
| Parts and Labor (internal/functional parts only) | Parts and Labor | Parts only (Consumer will be charged for labor) | Part only (Consumer will be charged for labor) |
Noises associated with normal operation and failure to follow instructions found in the use and care and installation guides or operating the unit in an
unsuitable environment will not be covered under this warranty.
- Replacement products and parts are warranted for the remaining portion of the original warranty period or ninety (90) days, whichever is greater.
- Replacement products and parts may be new or remanufactured.
THIS WARRANTY IS IN LIEU OF ANY OTHER WARRANTY, EXPRESS OR IMPLIED, INCLUDING WITHOUT LIMITATION, ANY WARRANTY OF MERCHANTABILITY OR FITNESS FOR A PARTICULAR PURPOSE. TO THE EXTENT ANY IMPLIED WARRANTY IS REQUIRED BY LAW, IT IS LIMITED IN DURATION TO THE EXPRESS WARRANTY PERIOD ABOVE. NEITHER THE MANUFACTURER NOR ITS U.S. DISTRIBUTOR SHALL BE LIABLE FOR ANY INCIDENTAL, CONSEQUENTIAL, INDIRECT, SPECIAL, OR PUNITIVE DAMAGES OF ANY NATURE, INCLUDING WITHOUT LIMITATION, LOST REVENUES OR PROFITS, OR ANY OTHER DAMAGE WHETHER BASED IN CONTRACT, TORT, OR OTHERWISE. Some states do not allow the exclusion or limitation of incidental or consequential damages or limitations on how long an implied warranty lasts, so the above exclusion or limitation may not apply to you. This warranty gives you specific legal rights and you may also have other rights that vary from state to state.
THIS LIMITED WARRANTY DOES NOT COVER:
- Service trips to deliver, pick up, install, or repair the product; instruct the customer on operation of the product; repair or replace fuses or correct wiring or plumbing, or correction of unauthorized repairs/installation.
- Failure of product to perform during power failures and interruptions or inadequate electrical service.
- Damage caused by leaky or broken water pipes, frozen water pipes, restricted drain lines, inadequate or interrupted water supply or inadequate supply of air.
- Damage resulting from operating the product in a corrosive atmosphere or contrary to the instructions outlined in the product owner’s manual.
- Damage to the product caused by accidents, pests and vermin, lightning, wind, fire, floods, or acts of God.
- Damage resulting from misuse, abuse, improper installation, repair, or maintenance. Improper repair includes use of parts not approved or specified by LG.
- Damage or failure caused by unauthorized modification or alteration, or if it is used for other than the intended purpose, or any water leakage where the unit was not properly installed.
- Damage or failure caused by incorrect electrical current, voltage, or plumbing codes, commercial or industrial use, or use of accessories, components, or consumable cleaning products that are not approved by LG.
- Damage caused by transportation and handling, including scratches, dents, chips, and/or other damage to the finish of your product, unless such damage results from defects in materials or workmanship and is reported within one (1) week of delivery (Call: 1-800-243-0000).
- Damage or missing items to any display, open box, discounted, or refurbished product.
- Products with original serial numbers that have been removed, altered, or can not be readily determined. Model and Serial numbers, along with original retail sales receipt, are required for warranty validation.
- Increases in utility costs and additional utility expenses.
- Replacement of light bulbs, filters, or any consumable parts.
- Repairs when your product is used in other than normal and usual household use (e.g. commercial use, offices, and recreational facilities) or contrary to the instructions outlined in the product owner’s manual.
- Costs associated with removal of your product from your home for repairs.
- The removal and reinstallation of the product if it is installed in an inaccessible location or is not installed in accordance with published installation instructions, including LG’s owner’s and installation manuals.
- Shelves, door bins, drawers, handles, accessories, and other parts besidesÄthose that were originally included with this particular model.
The cost of repair or replacement under these excluded circumstances shall be borne by the consumer.
For complete warranty details and customer assistance, please call or visit our website:
Call 1-800-243-0000 (24 hours a day, 365 days a year) and select the appropriate option from the menu, or visit our website at http://us.lgservice.com
Or by mail: LG Customer Information Center:
P. O. Box 240007, 201 James Record Road Huntsville, Alabama 35813 ATTN: CIC
Write your warranty information below: ______________
Product Registration Information: ___________________
Model: _______________________
Serial Number: _________________
Date of Purchase: ________________
WARRANTY (CANADA)
WARRANTY: Should your LG Refrigerator (“Product”) fail due to a defect in material or workmanship under normal home use during the warranty period set forth below, LG Canada will at its option repair or replace the Product upon receipt of proof of original retail purchase. This warranty is valid only to the original retail purchaser of the product and applies only to a Product distributed in Canada by LG Canada or an authorized Canadian distributor thereof. The warranty only applies to Products located and used within Canada.
| WARRANTY PERIOD: (Note: If the original date of purchase can not be verified, the warranty will begin sixty (60) days from the date of manufacture) | |||
| Refrigerator/Freezer | Sealed System (Condenser, Dryer, Connecting Tube, Refrigerant and Evaporator) | Linear Compressor | |
| One (1) year from the date of original retail purchase | One (1) year from the date of original retail purchase | Seven (7) years from the date of original retail purchase | Ten (10) years from the date of original retail purchase |
| Parts and Labor (internal/functional parts only) | Parts and Labor | Parts only (Consumer will be charged for labor) | Part only (Consumer will be charged for labor) |
Noises associated with normal operation and failure to follow instructions found in the use and care and installation guides or operating the unit in an unsuitable environment will not be covered under this warranty.
- Replacement products and parts are warranted for the remaining portion of the original warranty period or ninety (90) days, whichever is greater.
- Replacement products and parts may be new or remanufactured.
- LG Authorized Service Center warranties their repair work for thirty (30) days.
LG CANADA’S SOLE LIABILITY IS LIMITED TO THE WARRANTY SET OUT ABOVE. EXCEPT AS EXPRESSLY PROVIDED ABOVE, LG CANADA MAKES NO AND HEREBY DISCLAIMS ALL OTHER WARRANTIES AND CONDITIONS RESPECTING THE PRODUCT, WHETHER EXPRESS OR IMPLIED, INCLUDING, BUT NOT LIMITED TO, ANY IMPLIED WARRANTY OR CONDITION OF MERCHANTABILITY OR FITNESS FOR A PARTICULAR PURPOSE, AND NO REPRESENTATIONS SHALL BE BINDING ON LG CANADA. LG CANADA DOES NOT AUTHORIZE ANY PERSON TO CREATE OR ASSUME FOR IT ANY OTHER WARRANTY OBLIGATION OR LIABILITY IN CONNECTION WITH THE PRODUCT. TO THE EXTENT THAT ANY WARRANTY OR CONDITION IS IMPLIED BY LAW, IT IS LIMITED TO THE EXPRESS WARRANTY PERIOD ABOVE. LG CANADA, THE MANUFACTURER OR DISTRIBUTOR SHALL NOT BE LIABLE FOR ANY INCIDENTAL, CONSEQUENTIAL, SPECIAL, DIRECT OR INDIRECT DAMAGES, LOSS OF GOODWILL, LOST PROFITS, PUNITIVE OR EXEMPLARY DAMAGES OR ANY OTHER DAMAGE, WHETHER ARISING DIRECTLY OR INDIRECTLY FROM ANY CONTRACTUAL BREACH, FUNDAMENTAL OR OTHERWISE, OR FROM ANY ACTS OR OMISSIONS, TORT, OR OTHERWISE. This warranty gives you specific legal rights. You may have other rights which may vary from province to province depending on applicable provincial laws. Any term of this warranty that negates or varies any implied condition or warranty under provincial law is severable where it conflicts with provincial law without affecting the remainder of this warranty’s terms.
THIS LIMITED WARRANTY DOES NOT COVER:
- Service trips to deliver, pick up, or install the product; instructing a customer on operation of the product; repair or replacement of fuses or correction of wiring or plumbing, or correction of unauthorized repairs/installation.
- Failure of the product to perform during power failures and interruptions or inadequate electrical service.
- Damage caused by leaky or broken water pipes, frozen water pipes, restricted drain lines, inadequate or interrupted water supply or inadequate supply of air.
- Damage resulting from operating the Product in a corrosive atmosphere or contrary to the instructions outlined in the Product owner’s manual.
- Damage to the Product caused by accidents, pests and vermin, lightning, wind, fire, floods, or acts of God.
- Damage resulting from the misuse, abuse, improper installation, repair, or maintenance of the Product. Improper repair includes use of parts not approved or specified by LG Canada.
- Damage or product failure caused by unauthorized modification or alteration, or use for other than its intended purpose, or resulting from any water leakage due to improper installation.
- Damage or Product failure caused by incorrect electrical current, voltage, or plumbing codes, commercial or industrial use, or use of accessories, components, or cleaning products that are not approved by LG Canada.
- Damage caused by transportation and handling, including scratches, dents, chips, and/or other damage to the finish of your product, unless such damage results from defects in materials or workmanship and is reported within one (1) week of delivery.
- Damage or missing items to any display, open box, discounted, or refurbished Product.
- Products with original serial numbers that have been removed, altered, or cannot be readily determined. Model and Serial numbers, along with original retail sales receipt, are required for warranty validation.
- Increases in utility costs and additional utility expenses.
- Replacement of light bulbs, filters, or any consumable parts.
- Repairs when your Product is used in other than normal and usual household use (including, without limitation, commercial use, in offices or recreational facilities) or contrary to the instructions outlined in the Product owner’s manual.
- Costs associated with removal of the Product from your home for repairs.
- The removal and reinstallation of the Product if it is installed in an inaccessible location or is not installed in accordance with published installation instructions, including the Product owner’s and installation manuals.
- Shelves, door bins, drawers, handles, and accessories to the Product. Also excluded are parts besides those that were originally included with the Product.
All costs associated with the above excluded circumstances shall be borne by the consumer.
For complete warranty details and customer assistance, please call or visit our website: Call 1-888-542-2623 (24 hours a day, 365 days a year) and select the appropriate
option from the menu, or visit our website at http://www.lg.ca
Write your warranty information below: ____________________
Product Registration Information: _________________________
Model: _______________
Serial Number: __________
Date of Purchase: __________________
MANUAL DEL PROPIETARIO
REFRIGERADOR DE
PUERTA FRANCES
LMX21986**
P/NO : MFL63264265
www.lg.com
LG Customer Information Center
For inquires or comments, visit www.lg.com or call;
1-800-243-0000
1-888-865-3026
1-888-542-2623
USA, Consumer User
USA, Commercial User
CANADA
Register your product Online!
www.lg.com





























Shut the water off at the water valve after about one quart of water has been flushed through the tubing.












NOTE: Replacing the water filter causes a small amount of water (around 1 oz. or 25 cc) to drain. Place a cup under the front end of the water filter cover to collect any leaking water. Hold the water filter upright, once it is removed, to prevent any remaining water from spilling out of the water filter.
Pull the water filter downward and pull out. Make sure to rotate the filter down completely before pulling it out of the manifold hole.
Rotate the water filter up into position and close the cover. The cover will click when closed correctly.












![Lg French Door Refrigerator [lrfcs2503] Instruction Manual Lg French Door Refrigerator [lrfcs2503] Instruction Manual](https://static-data1.manualsee.com/1/img/383/16064/2020/12/LG-French-Door-Refrigerator-LRFCS2503.jpg)


![Frigidaire Lfhb2741pf French Door Refrigerator User Manual] Frigidaire Lfhb2741pf French Door Refrigerator User Manual]](https://static-data1.manualsee.com/1/img/143/101212/2021/03/Frigidaire-LFHB2741PF-French-Door-Refrigerator-featured-1.png)



