Power Pac PPTF303 12-Inch Desk Fan

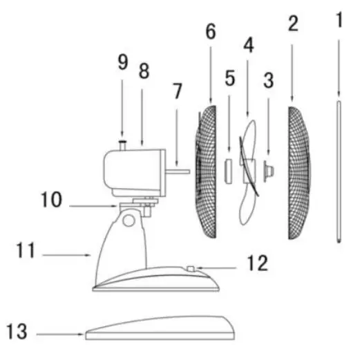
Parts & Descriptions
LIST OF COMPONENTS

- Grille Ring with Grille Ring Clips
- Front Grille
- Blade Cap
- Fan Blade
- Guard Mounting Nut
- Back Grille
- Motor Shaft
- Fan Head
- Swing Button
- Height Adjuster (with Main Body screw)
- Main Body
- Speed Buttons (0, 1, 2, 3)
- Base
HOW TO ASSEMBLES
Warning: DO NOT operate the fan with any of its parts unassembled. The entire assembled unit works as a single appliance. The fan must only operate in the upright position. Any other position will be hazardous.
- Unpack all parts from the package and place them on the floor.
- Attach the ⑬ Base to the ⑪ Body, using the four screws provided.
- Remove and discard the PVC sleeve on the ⑦ Motor Shaft.
- Assemble the Grille and the ④ Fan Blade on the ⑧ Fan Head as described below:
- Holding the Motor Shaft Pin, unscrew the ③ Blade Cap by turning clockwise & ⑤ Guard Mounting Nut by turning anti-clockwise.

- Insert the ⑥ Back Grille (with the handle at the top) through the ⑦ Motor
Shaft and secure it by tightening the ⑤ Guard Mounting Nut clockwise.
- Insert the ④ Fan Blade through the ⑦ Motor Shaft. Wiggle the wedge groove at the back of the ④ Fan Blade onto the Motor Shaft Pin of the ⑦ Motor Shaft.

- Secure the ④ Fan Blade to the ⑦ Motor Shaft by tightening the ③ Blade Cap anti-clockwise.Secure the ④ Fan Blade to the ⑦ Motor Shaft by tightening the ③ Blade Cap anti-clockwise.

- Ensuring the logo at the front of the ② Front Grille is positioned properly, attach the ② Front Grille to the ⑥ Back Grille and secure them by tightening the ① Grille Ring Clips. Fully tighten the small nuts and bolts.

- Holding the Motor Shaft Pin, unscrew the ③ Blade Cap by turning clockwise & ⑤ Guard Mounting Nut by turning anti-clockwise.
Warnings
ATTENTION :
- Read this booklet carefully as it contains important instructions for a safe installation, use and maintenance.
- Important instructions to be kept for future reference.
- The following basic precautions should always be followed when using electrical appliances:
- Read all instructions before using the appliance.
The Appliance - This appliance must be used only for the purpose it was expressly designed; any use NOT complying with the instructions contained in the manual is considered inappropriate and dangerous. The manufacturer is NOT responsible for possible damages caused by the inappropriate and/or unreasonable use.
- The installation/assembly of the appliance will be made in accordance with the indications of the manufacturer. A wrong procedure may cause damages to persons, animals or objects, for which the manufacturer cannot be considered responsible.
- Before use, check the integrity of the appliance and power cable. DO NOT operate the appliance when its Motor Unit is damaged. In case you are not sure, contact a qualified person. If the power cable is damaged, it must be replaced by the manufacturer or its service agent, or a qualified technician in order to avoid a shock hazard.
- Before powering the appliance make sure the rating (voltage and frequency) corresponding to the grid and the socket is suitable for the plug of the appliance, and that the wall socket is properly grounded. This appliance is fitted with an earth wire for extra safety.
- DO NOT power the appliance using multiple sockets. If possible, avoid the use of adapters and/or extension cables; if their use is absolutely necessary, use only materials in compliance with the current safety regulations and according to the electrical parameters of the adapters.
- The appliance must NOT be switched on using external timers and/or other remote control appliances which are not specified in this manual.
- Only use original components & accessories (e.g. Front & Back Grilles, Fan Blade, Blade cap, Guard Mounting Nut, Main Body Screw, Base, etc.) provided by the manufacturer. Any non-original component or accessory NOT recommended by the manufacturer (including, but not limited to, Front & Back Grilles, Fan Blade, Blade cap, Guard Mounting Nut, Main Body Screw, Base, etc. made by other manufacturers or by the same manufacturer but for other models of the same capacity or otherwise) may cause injuries to persons or damage to the appliance.
- The packing materials (plastic bags, expanded polystyrene, etc.) must be kept out of the reach of children or disabled persons since they represent potential sources of danger.
Location - This appliance is NOT suitable to be used or stored near heat sources (open flame, ovens, heaters, stoves, etc.) and/or in an explosive environment (in the presence of flammable substances such as gas, vapour, mist or dust, in atmospheric conditions when, after ignition, the combustion is spread in the air). Items containing these substances should never be placed in the appliance, and never be used to clean the appliance in order to avert the risk of fire or explosion.
- The appliance should NOT be placed on a surface, or in the vicinity of, objects which can be damaged by heat, such as carpets or plastics. DO NOT locate multiple portable socket outlets or power supplies at the bottom or rear of the appliance. When using the appliance, the surface that the appliance is placed upon as well the surface immediately above (e.g. a wooden cabinet above the appliance), may become hot. If the appliance is operated on wooden furniture, use a protective pad to prevent damage to delicate finishes.
- Place the appliance at a proper distance from the objects or surrounding walls making sure that its functioning will NOT cause accidental damages. There should be at least 10 cm of free space from the back, left & right sides, and at least 20 cm the top of the appliance. Never put things on top of the appliance.
- Avoid placing the power cable on abrasive or sharp surfaces or in positions where it can be damaged easily. The cable must NOT be placed under carpets, or covered with throw rugs, runners or similar. Arrange the cable away from the high traffic area, and where it will NOT be tripped over.
- DO NOT operate the fan next to an open window while it is raining. Rainwater splashing onto the fan may cause an electric shock.
- DO NOT use or store the appliance outdoors. Store and use the appliance only indoors, or in any case, protected from weathering such as rain, direct radiation of the sun and dust.
Operation - If you are using the appliance for the first time, you should:
- Clean the exterior parts of the fan thoroughly with warm water & detergent with a non-abrasive sponge and wipe dry. DO NOT use metal scouring pads. Make sure that the Motor Unit DOES NOT come into contact with water.
- Check that the Fan Grilles and Fan Blade are NOT damaged.
- Place and use the appliance on a horizontal, stable and dry surface. Damage may occur if the appliance is placed on an incline or decline.
- Assemble the appliance fully before plugging it into the wall socket.
- To turn ON : Press the Speed Button to the fan speed (Low – ‘1 / 2 / 3’ – High) you desire.
- (optional) Select the desired time for the appliance to be in operation between 0 to 60 minutes if you wish. Rotate the Timer knob clockwise to your desired time duration
- Tilt the Fan Head or Grille upwards or downwards to the desired position to adjust the angle of the fan.
- Pushing down the Swing Button on the Fan Head will make the fan oscillate side to side, sweeping an arc across the room. To stop the fan from oscillating, pull up the Swing Button on the Fan Head.
- To turn OFF : Press the ‘0’ Speed Button.
- Make sure to remove any label or protective sheet which may prevent its proper functioning.
DO NOT: - cover the appliance during functioning;
- insert objects or body parts (including clothing and hair) inside the protection cover of the appliance to avoid personal injury or damage to the machine when the appliance is in operation;
- attempt to force the fan blades to turn;
- touch the inside of the fan while it is operating. The blades are rotating at very high speeds, which may lead to injury to your fingers and hands;
- press the Speed Buttons too forcefully;
- use the appliance near curtains or textiles;
- use any of the following agents as a cleaner: gasoline, thinners, or benzene;
- operate the appliance for more than 6 hours without turning it off for at least 30 minutes to let the appliance cool down for a total usage of 12 hours a day –failure to heed this warning may result in motor failure;
- leave the appliance unsupervised during operation.
- During operation, DO NOT touch the appliance with wet body parts, and it is recommended to have between you and the standing surface, an isolating element (for example, wearing shoes with rubber soles).
- DO NOT soak the Motor Unit in water or other liquids, wash it under the tap, or let any liquid flow into the internal casing of the appliance to prevent electric shock. In case of accidental fall in water, DO NOT try to take it out, but first switch the appliance off.
- Plug and unplug the power cable firmly holding it with dry hands. Always unplug the power cable to avoid overheating and avoid stretching it (DO NOT pull it, tug it or use it to drag the appliance to which is connected). Before unplugging the appliance, press the Speed Button to the fan speed ‘0’ and switch the wall socket off.
- Switch the appliance off and unplug the power cable of the appliance if it is NOT used for a long period, before storing, assembling & disassembling, cleaning or performing any maintenance operation. Before storing, cleaning or performing any maintenance operation, leave to cool for at least 30 minutes.
- In case of malfunction or anomaly during the functioning, switch the appliance off immediately, turn off the power and check the cause of the anomaly, if possible, with the support of a qualified person.
- If smoke is observed coming out of the appliance, switch the appliance off immediately.
- This appliance is NOT intended for commercial use but to be used in households and similar applications, such as:
- Staff kitchen areas in shops, offices and other working environments;
- Dormitories;
- By clients in hotels, motels and other residential environments;
- Bed and breakfast type environments.
- This appliance can be used by children aged from 8 years and above and persons with reduced physical, sensory or mental capabilities or lack of experience and knowledge if they have been given supervision or instruction concerning use of the appliance in a safe way and understand the hazards involved. Children shall NOT play with the appliance. Cleaning and user maintenance shall NOT be made by children unless they are older than 8 and supervised. Keep the appliance and its cable out of reach of children less than 8 years old.
- Save these instructions.
- Read all instructions before using the appliance.
Safety Features
A Thermal Fuse is installed in the Fan Head. If ever the motor overheats, the Thermal Fuse will be activated and will cut off electric current to the important appliance.
HOW TO USE
- Press the ‘0’ Speed Button.
- Insert the plug directly into the wall socket. Switch the socket switch ON.
To turn ON - Press the Speed Button to the fan speed (Low – ‘1 / 2 / 3’ – High) you desire.
- (optional) Select the desired time for the appliance to be in operation between 0 to 60 minutes if you wish. Rotate the Timer knob clockwise to your desired time duration.
- Tilt the Fan Head or Grille upwards or downwards to the desired position to adjust the angle of the fan.

- Pushing down the Swing Button on the Fan Head will make the fan oscillate side to side, sweeping an arc across the room. To stop the fan from oscillating, pull up the Swing Button on the Fan Head.
To turn OFF - Press the ‘0’ Speed Button.
- Switch the socket switch OFF and detach the plug from the socket on the wall.
HOW TO CLEAN
- Switch the appliance OFF. Wait for the appliance to cool down completely.
- To disassemble
- Loosen the Grille Ring Clips and detach the Front Grille.
- Holding the Fan Blade, turn the Blade Cap clockwise.
- Slide the Fan Blade out of the Motor Shaft.
- Turn the Guard Mounting Nut anti-clockwise.
- Remove the Back Grille.
- Clean the exterior parts of the fan thoroughly with warm water & dishwashing agent and a damp cloth, and immediately wipe dry.
DO NOT use any of the following agents as a cleaner: gasoline, thinners, or benzene. - Never run water over the appliance as malfunctions may occur if water seeps inside the appliance.
- Use a vacuum cleaner to suck up dirt from the Air Inlet and Air Outlet.
- To assemble
- Insert the Back Grille through the Motor Shaft and tighten the Guard Mounting Nut by turning clockwise.
- Slide the Fan Blade through the Motor Shaft. Wiggle the Wedge Groove at the back of the Fan Blade onto the Space Pin of the Motor Shaft.
- Tighten the Blade Cap anti-clockwise.
- Ensuring the logo at the front of the Front Grille is positioned properly, attach the Front Grille to the Back Grille and secure them by tightening the Grille Ring Clips at the bottom of the Grille Ring.
ENVIRONMENTAL TIP
This appliance, along with all other electronic appliances, should, when it is no longer capable of functioning, be disposed with the least possible environmental damage according to the local regulations in your area. In most cases you can discard the appliance at your local recycling center.
DISPOSAL: Do not dispose this appliance as unsorted municipal waste. Collection of such waste separately for special treatment is necessary.

SPECIFICATION
| MODEL | PPTF303 |
| FAN DIAMETER | 12 inch (30.5 cm) |
| RATED VOLTAGE | 220 – 240 V ~50 – 60 Hz |
| POWER | 40 W |
WARRANTY
Warranty Conditions
- This warranty provides against defective materials and manufacturing faults throughout for two years from the date of purchase of the appliance. The warranty on the Compressor is 10 years subject to the same conditions as above.
- This warranty also does not cover normal wear and tear, replacement of consumable materials and accessories, and the cost of maintenance of the appliance.
- This warranty does not cover the repair or replacement of part/s damaged by misuse, accidents, negligence, alterations, or modifications in any way, or repairs done by any repair organization without the prior consent of Power Pac Electrical Pte Ltd.
- Repair and service are to be performed at: 5 Changi South Lane #03-01 Singapore 486045. A transport fee will be charged for personal doorstep service.
- The original purchaser of the appliance must furnish proof of purchase to our Service Center with the email or number as registered during submission of warranty when this appliance is sent for repair/service. Failure to do so may delay the receipt of said repair/service by the customer.
- Under no circumstances whatsoever shall the serial number be erased, defaced or altered by the customer and/or his representatives, or the dealer and/or his agents. Failure to ensure this shall invalidate the warranty.
- This warranty is deemed to be void if the defect is cause by the attack of household pests, fire, lightning, natural disasters, pollution, abnormal voltage or the usage of generators.
- This warranty is valid in Singapore only.
- This warranty will be honored subject to the customer’s registration of the warranty inclusive of original invoice or valid purchase receipt. Failure to present these documents will result in denial of service. However, if the customer still requests that the defective appliance be repaired, Power Pac Electrical Pte Ltd may, at its discretion, repair the appliance but impose a labor charge, as well as the costs of the replacement parts, to be borne solely by the customer.
- Please refer to the attached picture for the location of one of our appliance’s serial number, as an example.

- Please complete the on-line registration warranty form available on our website. There is no further requirement to send us any hard copy as part of our efforts to save the environment.
- In accordance with the terms and conditions of this limited warranty as stated above, Power Pac Electrical Pte Ltd, at its expense shall provide free services for the appliance within the warranty period from its date of purchase from our Authorised dealers.



























