MSA 220.0 T, 220.0 TC
Instruction Manual
Introduction
Dear Customer,
Thank you for choosing STIHL. We develop and manufacture our quality products to meet our customers’ requirements. The products are designed for reliability even under extreme conditions.
STIHL also stands for premium service quality.
Our dealers guarantee competent advice and instruction as well as comprehensive service support.
STIHL expressly commit themselves to a sustainable and responsible handling of natural resources. This user manual is intended to help you use your STIHL product safely and in an environmentally friendly manner over a long service life.
We thank you for your confidence in us and hope you will enjoy working with your STIHL product.
Dr. Nikolas Stihl
IMPORTANT! READ BEFORE USING AND KEEP IN A SAFE PLACE FOR REFERENCE.
Guide to Using this Manual
2.1 Applicable Documents
The local safety regulations apply.
► In addition to this user manual, you should also read, understand and retain the following documents:
– User Manual for STIHL AR battery
– User Manual for “AP belt bag with connect‐ ing cable”
– Safety notices and precautions for STIHL AP battery
– User Manual for STIHL AL 101, 300, 301-4, 500 chargers
– Safety information for STIHL batteries and products with built-in battery: www.stihl.com/safety-data-sheets
For further information on STIHL connected, compatible products and FAQs, please visit www.connect.stihl.com or available from a STIHL servicing dealer.
The Bluetooth® word mark and logos are registered trademarks owned by Bluetooth SIG, Inc.
These word mark/logos are used by STIHL under license.
Batteries with
are equipped with a Bluetooth® radio interface. Local operating restrictions (in aircraft or hospitals, for example) must be observed.
2.2 Symbols in Text
This symbol refers to a chapter in this instruction manual.
2.3 Symbols used with warnings in the text
WARNING
- This symbol indicates dangers that can cause serious injuries or death.
► The measures indicated can avoid serious injuries or death.
NOTICE
- This symbol indicates dangers that can cause damage to property.
► The measures indicated can avoid damage to property.
Overview
3.1 Chainsaw and Battery

- Chain sprocket
The chain sprocket drives the saw chain. - Tensioning screw
The tensioning screw is used to adjust the chain tension. - Spiked bumper
The spiked bumper supports the chainsaw against the wood while cutting. - Chain catcher
The chain catcher catches the saw chain if it breaks or comes off the bar. - Guide bar
The guide bar supports and guides the saw chain. - Saw chain
The saw chain cuts the wood. - Felling notch
The felling direction can be controlled by the felling notch. - Chain sprocket cover
The chain sprocket cover covers the chain sprocket and fastens the guide bar to the chain saw. - Nut
The nut secures the chain sprocket cover to the chainsaw. - Chain scabbard
The chain scabbard protects against contact with the saw chain. - Front hand guard
The front hand guard protects the operator’s left hand against contact with the saw chain and is used to engage the chain brake in the event of kickback. - Unlock button
The unlock button is used to switch on the chainsaw. - “CHAIN BRAKE” LED
This LED indicates whether the chain brake is engaged. - “STATUS” LED
This LED shows the status of the chainsaw. - Trigger lockout
The trigger lockout unlocks the trigger. - Control handle
The control handle is used to control, hold and guide the chainsaw. - Locking lever
The locking lever holds the battery in the battery compartment. - Battery compartment
The battery compartment holds the battery. - Air filter
The air filter filters the air entering the engine. - Ring
The ring is used for hanging the chainsaw while working in a tree. - Oil pump adjusting screw
The oil pump adjusting screw is used to adjust the saw chain oil feed rate. - Oil tank cap
The oil tank cap closes the oil tank. - Handlebar
The handlebar is used to hold, control and carry the chainsaw. - Trigger
The trigger turns the chainsaw on and off. - Battery
The battery supplies the chainsaw with power. - LEDs
The LEDs indicate the state of charge of the battery and any faults. - Pushbutton
The button activates the LEDs on the battery.
The button activates and deactivates the Bluetooth® radio interface (if available). - “BLUETOOTH® ” LED (only for batteries with
)
The LED shows the activation and deactivation of the Bluetooth® interface.
# Rating plate with the machine number
3.2 Equipment feature
Depending on the market, the chainsaw may have the following features:
1 “SAW CHAIN OIL” LED
This LED indicates when the oil tank is empty.
3.3 Symbols
Meanings of symbols that may be on the chainsaw and battery:
| This symbol shows the direction of rotation of the saw chain. | |
| Turn in this direction to tension the saw chain. | |
| This symbol marks the saw chain oil tank. | |
| This symbol marks the oil pump adjusting screw and the chain oil feed rate. | |
| Direction in which the chain brake is engaged or released. | |
![]() | This symbol marks the unlock button. |
| 1 LED lights up red. The battery is too warm or too cold. | |
| 4 LEDs flash red. There is a fault in the battery. | |
| Length of guide bar that may be used. | |
| Guaranteed sound power level in accordance with Directive 2000/14/EC in dB(A) for the purpose of comparing the sound emissions of products. | |
| The battery is equipped with a Bluetooth® radio interface and can be linked up to the STIHL app. | |
| The information next to the symbol indi‐ cates the energy content of the battery according to the cell manufacturer’s specification. The energy content available in operation is lower. | |
| Do not dispose of the product with domestic waste. |
Safety Precautions
4.1 Warning Symbols
Meanings of warning symbols on the chainsaw or the battery:
![]() | Observe safety notices and take the necessary precautions. |
| Read, understand and keep the User Manual. | |
| Wear safety glasses, hearing protection and a hard hat. | |
| Wear long trousers with cut-retardant inserts and cut-retardant sleeves on both arms. | |
| Hold the saw firmly with both hands. | |
| Observe the safety notices on kickback and take the necessary precautions. | |
| Only persons who have been trained in the use of a tree service chainsaw may use this chainsaw. | |
| Remove the battery during work stoppages, transport, storage, maintenance or repair. | |
| Protect battery from heat and fire. | |
| Do not immerse battery in fluids. | |
| Observe the permitted battery temperature range. |
4.2 Intended Use
The STIHL MSA 220.0 T and 220.0 TC tree care chainsaws are designed for tree surgery work and cutting in the crown of upright trees.
The chainsaw must not be used for cutting work on the ground.
The chainsaw can be used in the rain.
The chainsaw is powered by a STIHL AP battery or a STIHL AR battery.
When climbing in a tree, the chainsaw may be used only with a STIHL AP battery inserted directly in the saw.
Combined with the STIHL app, the battery with
allows the personalization and transmission of information to the battery using Bluetooth® technology.
WARNING
- Using batteries not approved for the chainsaw by STIHL can cause fires and explosions. Persons may be seriously or fatally injured, and property may be damaged.
► Operate the chainsaw with a STIHL AP battery or a STIHL AR battery. - Using the chainsaw or battery other than for its intended use can result in serious or fatal injuries and damage to property.
► Always use the chainsaw as described in this User Manual.
► Use the battery as described in this User Manual, the STIHL app and on www.connect.stihl.com.
4.3 The Operator
WARNING
- Persons who have not been trained in tree surgery and maintenance techniques with a tree service chainsaw cannot recognize or assess the dangers of the chainsaw or the
battery. The user or other persons may sustain serious or fatal injuries.
► Read, understand and save the instruction manual.
► Only persons who have been trained in the use of a tree service chainsaw may use this chainsaw.
► If the chainsaw or battery is passed on to another person: Always give them the instruction manual.
► Make sure the user meets the following requirements:
– The user must be rested.
– The user must be in good physical condition and mental health to operate and work with the chainsaw and battery. If the user’s physical, sensory or mental ability is restricted, he or she may work only under the supervision of or as instructed by a responsible person.
– The user is able to recognize and assess the risks involved in using the chainsaw and battery.
– The user must be of legal age or is being trained in a trade under supervision in accordance with national rules and regulations.
– The user must not be under the influence of alcohol, medication or drugs.
► If you have any queries: Contact a STIHL servicing dealer for assistance.
4.4 Clothing and equipment
WARNING
- Long hair may be pulled into the chainsaw while working. This may result in serious injury to the user.
► Tie up and confine long hair above your shoulders. - Objects can be thrown at high speed during operation. This may result in injury to the user.
► Wear close-fitting safety glasses.
Suitable safety glasses are tested in accordance with EN 166 or national regulations and available commercially with the corresponding marking.
► STIHL recommends wearing a face mask.
► Wear a long-sleeved, close fitting top. - Noise is generated during operation. Noise can damage your hearing.
► Wear ear protection. - Falling objects can cause head injuries.
► If objects are likely to fall while working: wear a hard hat. - Dust can be whipped up during operation:
Whipped up dust can damage the respiratory passages and cause allergic reactions.
► If dust is whipped up or forms a cloud:
Wear a dust respirator mask. - Unsuitable clothing can snag on wood or scrub and may become caught in the chain saw. Users not wearing suitable clothing are at risk of serious injury.
► Wear close-fitting clothing.
► Remove scarves and jewelry. - The user may come into contact with the moving saw chain while working. This may result in serious injury to the user.
► Wear long trousers with cut-retardant inserts and cut-retardant sleeves on both arms. - The user may cut himself or herself on wood while working. The user may come into contact with the saw chain during cleaning or servicing. This may result in injury to the user.
► Wear work gloves made from resistant material. - Wearing unsuitable footwear may cause the user to slip. If the user comes into contact with the moving saw chain, he or she may suffer cuts. This may result in injury to the user.
► Wear chainsaw boots with cut protection. - When working in a tree there is risk of the operator falling. This may result in serious or fatal injury to the user.
► Use personal fall protection equipment.
4.5 Work Area and Surroundings
4.5.1 Chainsaw
WARNING
- Bystanders, children and animals are not aware of the dangers of the chainsaw or thrown objects. Innocent bystanders, children and animals may be seriously injured and
damage to property may occur.
► Keep bystanders, children and animals away from the work area.
► Do not leave the chainsaw unattended.
► Make sure that children cannot play with the chainsaw. - Electrical components of the chainsaw can produce sparks. Sparks may cause a fire or an explosion in an easily combustible or explo‐ sive environment. This can result in serious or fatal injuries and damage to property.
► Do not work in an easily combustible or explosive environment.
4.5.2 Battery
WARNING
- Bystanders, children and animals cannot recognize or assess the dangers of the battery.
Bystanders, children and animals may be seriously injured.
► Keep bystanders, children and animals away from the work area.
► Do not leave the battery unattended.
► Make sure that children cannot play with the battery. - The battery is not protected against all ambient conditions. If the battery is exposed to certain ambient conditions, the battery may catch fire, explode or be irreparably damaged. This may result in serious injury to people and damage to property.
► Protect battery from heat and fire.
► Do not throw the battery into a fire.
► Use and store the battery at temperatures between ‑ 10 °C and + 50 °C.
► Do not immerse the battery in fluids.
► Keep battery away from small metal parts.
► Do not expose the battery to high pressure.
► Do not expose the battery to microwaves.
► Protect the battery from chemicals and salts.
4.6 Safe Condition
4.6.1 Chainsaw
The chainsaw is in a safe condition if the following points are observed:
– The chainsaw is not damaged.
– The chainsaw is clean.
– The chain catcher is not damaged.
– The chain brake is operating properly.
– The controls function properly and have not been modified.
– The chain lubrication is operating properly.
– Wear marks on the chain sprocket are not deeper than 0.5 mm.
– A combination of guide bar and saw chain recommended in this User Manual is mounted.
– The guide bar and saw chain are properly mounted.
– The saw chain is properly tensioned.
– Only original STIHL accessories designed for this chainsaw model are fitted.
– The accessories are correctly attached.
– The oil tank cap is closed.
WARNING
- If not in safe condition, components may no longer operate correctly and safety devices may be disabled. This may result in serous or fatal injury to people.
► Work only with an undamaged chainsaw.
► If the chainsaw is dirty: Clean the chainsaw.
► Work only with an undamaged chain catcher.
► Never modify your chainsaw. Exception: Mounting a combination of guide bar and saw chain recommended in this User Manual.
► If the controls do not function properly: Do not use your chainsaw.
► Only fit original STIHL accessories designed for this chainsaw model.
► Mount the guide bar and saw chain as described in this User Manual.
► Attach accessories as described in this User Manual or in the User Manual for the accessories.
► Never insert objects in the chainsaw’s openings.
► Close the oil tank cap.
► Replace worn or damaged labels.
► If you have any doubts, be sure to consult a STIHL dealer.
4.6.2 Guide Bar
The guide bar is in a safe condition if the following points are observed:
– Guide bar is not damaged.
– Guide bar is not deformed.
– The minimum groove depth is maintained,
21.3.
– Bar rails are free from burrs.
– Bar groove is not pinched or splayed.
WARNING
- If the guide bar is not in a safe condition, it can no longer support and guide the saw chain properly. The rotating saw chain can jump off the guide bar. This can result in serious or fatal injuries.
► Work only with an undamaged guide bar.
► If the groove depth is less than the minimum depth: Mount a new guide bar.
► Deburr the guide bar every week.
► If you have any queries: Contact your STIHL servicing dealer.
4.6.3 Saw Chain
The saw chain is in a safe condition if the following points are observed:
– Chain is not damaged.
– Chain is properly sharpened.
– The service marks on the cutters are still visible.
WARNING
- If components do not comply with safety requirements, they will no longer function properly and safety devices may be rendered inoperative. This can result in serious or fatal injuries.
► Work only with an undamaged saw chain.
► Sharpen the chain properly.
► If you have any queries: Contact your STIHL servicing dealer for assistance.
4.6.4 Battery
The battery is in safe condition when the following conditions are met:
– The battery is not damaged.
– The battery is clean and dry.
– The battery is working and has not been modified.
WARNING
- The battery cannot function safely if it is not in safe condition. There is a risk of serious injury to persons.
► Use an undamaged and functioning battery.
► Do not charge a damaged or defective battery.
► If the battery is dirty or wet: clean the battery and allow it to dry.
► Do not modify the battery.
► Do not insert objects into the apertures in the battery.
► Never connect the battery terminals to metallic objects and cause a short circuit.
► Do not open the battery.
► Replace worn or damaged warning signs. - Fluid may leak from a damaged battery. If the fluid contacts the skin or eyes, this may cause irritation.
► Avoid contact with the fluid.
► In the event of contact with the skin: wash the affected areas with plenty of soap and water.
► In the event of contact with the eyes: rinse the eyes with plenty of water for at least 15 minutes and seek medical attention. - A damaged or defective battery may emit an unusual odour, smoke or catch fire. This may result in serious or fatal injury to people and damage to property.
► If the battery emits an unusual odour or smoke: do not use the battery and keep it away from flammable materials.
► If the battery catches fire: try to extinguish the battery using a fire extinguisher or water.
4.7 Working
4.7.1 Sawing
WARNING
- Always work within calling distance of others so that you can summon help in an emergency.
► Make sure that people are within earshot outside the working area. - In certain situations, the user may no longer be able to concentrate on their work. The user may lose control of the chain saw and may trip, fall and be seriously injured.
► Keep calm and plan your work.
► If light and visibility are poor: Do not use your saw.
► Use the chain saw on your own.
► Do not work above shoulder height.
► Watch out for obstacles.
► If you climb in a tree: Use a fall protection rope.
► If the saw is operated by a power supply with connecting cable: Use a lift bucket.
► If you start feeling fatigue: Take a break.If you start feeling fatigue: Take a break. - When working up in a tree, the chain saw may fall to the ground. This may result in serious injury to people and damage to property.
► Secure the chain saw via the ring. - The moving saw chain can cut the user. This may result in serious injury to the user.
► Do not touch the rotating saw chain.
► If the saw chain is blocked by an object: Switch off the chainsaw, engage the chain brake and remove the battery. Before clearing the jam. - The moving saw chain warms up and expands. If the saw chain is not sufficiently lubricated and retensioned, the saw chain may jump off the guide bar or it may break. This may result in serious injury to people and damage to property.
► Use saw chain lubricant.
► Check the saw chain tension regularly while working. If saw chain tension is insufficient: Tension the saw chain. - If the chain saw starts behaving differently or in an unusual way while operating, the chain saw may be in an unsafe condition. This may result in serious injury to people and damage to property.
► Stop working, remove the battery and consult a STIHL dealer. - The chain saw may cause vibrations in operation.
► Wear gloves.
► Take breaks.
► If signs of a circulatory disturbance occur: Consult a doctor. - If the moving saw chain hits a hard object, sparks may occur. Sparks can cause fires in a flammable environment. Persons may be seriously or fatally injured and property may be damaged.
► Do not use the chain saw in a flammable environment. - The saw chain runs on for a short period after you release the trigger. People may be cut by the moving saw chain. They may cause serious injury to persons.
► Wait for the saw chain to stop moving.
WARNING

- If you saw wood which is under tension, the guide bar may become jammed. The user may lose control of the chain saw and be seriously injured.
► Make a relieving cut (1) in the compression side (A) first, then perform a bucking (2) cut at the tension side (B) from above, directly above the first cut.
DANGER
- Working near live electric cables may result in accidental contact with the saw chain and damage the cables. This may result in serious or fatal injury to the user.
► Do not operate in the vicinity of live wires.
4.7.2 Felling
WARNING
- Inexperienced users cannot assess the dangers of felling a tree. This can result in serious or fatal injuries and damage to property.
► If you have any queries: Do not fell the tree yourself. - Parts of the tree being removed and branches can fall on bystanders or objects during the felling operation. This can result in serious or fatal injuries and damage to property.
► Determine direction of fall so that the area in which the part of the tree being removed falls is clear.
► Do not allow bystanders, children or animals within 2.5 tree lengths of the work area.
4.8 Reactive Forces
4.8.1 Kickback

Kickback can be caused for the following reasons:
– The rotating saw chain in the upper quadrant of the bar nose makes contact with a hard object and is suddenly braked.
– The rotating saw chain is pinched at the bar nose.
The chain brake cannot prevent kickback.
WARNING

- If kickback occurs, the saw can be thrown up in the direction of the operator. Due to the special handle design (closely spaced handles) there is a risk of the operator losing control of the chainsaw and sustaining serious or fatal injuries.
► Hold the saw firmly with both hands.
► Always keep your body out of the plane of the cutting attachment.
► Use the working techniques described in this instruction manual.
► Do not cut with the upper quadrant of the bar nose.
► Always cut with a properly sharpened and tensioned saw chain.
► Use a reduced kickback saw chain.
► Use a guide bar with a narrow radius nose.
► Always cut with the chain running at full speed.
4.8.2 Pull-in

The saw is pulled away from the operator when the bottom of the bar is used for cutting.
WARNING
- If the rotating chain makes contact with a hard object and is suddenly pinched, the saw is abruptly jerked away from the operator. The operator can lose control of the saw and be seriously or fatally injured.
► Hold the saw firmly with both hands.
► Operate the saw as described in this instruction manual.
► Keep the guide bar straight in the cut.
► Apply the spiked bumper properly.
► Always cut with the chain running at full speed.
4.8.3 Pushback

The saw is pushed back toward the operator when the top of the bar is used for cutting.
WARNING
- If the rotating chain makes contact with a hard object and is suddenly pinched, the saw can be abruptly pushed back toward the operator.
The operator can lose control of the saw and be seriously or fatally injured.
► Hold the saw firmly with both hands.
► Operate the saw as described in this instruction manual.
► Keep the guide bar straight in the cut.
► Always cut with the chain running at full speed.
4.9 Transporting
4.9.1 Chainsaw
WARNING
- The saw may tip over or shift during transport.
Persons may be injured or property damaged.
► Remove the battery.
► Engage the chain brake.
► Push the chain scabbard over the guide bar until it engages, so that it completely covers the guide bar.
► Secure the chainsaw with lashing straps, belts or a net to prevent it tipping over and moving around. - If the chainsaw is transported using the ring of the chain scabbard, the chainsaw may fall down. Persons may be injured or property damaged.
► Transporting the Chainsaw by the Ring on the Housing
4.9.2 Battery
WARNING
- The battery is not protected against all ambient conditions. The battery may be damaged if it is exposed to certain ambient conditions, and damage to property may occur.
► Never transport a damaged battery. - The battery may turn over or shift during trans‐ port. This may result in injury to people and damage to property.
► Pack the battery in packaging in such a way that it cannot move.
► Secure the packaging so that it cannot move.
4.10 Storing
4.10.1 Chainsaw
WARNING
- Children are not aware of and cannot assess the dangers of a chainsaw Children may be seriously injured.
► Remove the battery.
► Engage the chain brake.
► Push the chain scabbard over the guide bar until it engages, so that it completely covers the guide bar.
► Store the chainsaw out of the reach of children. - Moisture can cause corrosion of the electrical contacts on the chainsaw and its metal components. This can damage the chainsaw.
► Remove the battery.
► Store the chainsaw in a clean and dry condition.
4.10.2 Battery
WARNING
- Children are not aware of and cannot assess the dangers of the battery Children may be seriously injured.
► Store the battery out of the reach of children. - The battery is not protected against all ambient conditions. If the battery is exposed to certain ambient conditions, the battery may be irreparably damaged.
► Store the battery in a clean and dry condition.
► Store the battery in an enclosed space.
► Store the battery separately from the chainsaw.
► If the battery is stored in the charger, disconnect the mains plug and store the battery at a battery charge status between 40 % and 60 % (2 green lit LEDs).
► Store the battery at a temperature range between – 10 °C and + 50 °C.
4.11 Cleaning, Maintenance and Repair
WARNING
- The saw may start unintentionally if the battery is left in place during cleaning, maintenance or repair operations. This may result in serious injury to people and damage to property.
► Remove the battery.
► Engage the chain brake. - Aggressive cleaning agents, a water jet or pointed objects can damage the chainsaw, guide bar, the saw chain and the battery. If the saw, guide bar, saw chain or battery are not cleaned correctly, components may no longer function properly or safety devices may be rendered inoperative. They may cause serious injury to persons.
► Clean the saw, guide bar, saw chain and battery as described in this instruction manual. - If the saw, guide bar, saw chain or battery are not properly serviced or repaired, components may no longer function properly or safety devices may be rendered inoperative. This may result in serous or fatal injury to people.
► Do not attempt to service or repair the chainsaw or battery.
► If the chainsaw or the battery require servicing or repairs: Contact your STIHL servicing dealer for assistance.
► Service or repair the guide bar and saw chain as described in this User Manual. - The user may be cut by the sharp cutters while cleaning or servicing the saw chain. This may result in injury to the user.
► Wear work gloves made from resistant material.
Preparing the Saw for Operation
5.1 Preparing the Chainsaw for Operation
The following steps must be performed before commencing work:
► Ensure that the following components are in a safe condition:
– Chainsaw,
4.6.1.
– Guide bar,
4.6.2.
– Saw chain,
4.6.3.
– Battery,
4.6.4.
► Check the battery,
12.7.
► Fully charge battery as described in the User Manual for the STIHL AL 101, 300, 301-4, 500 chargers.
► Clean the saw,
17.1.
► Mount the guide bar and saw chain,
8.1.1.
► Tension the saw chain,
8.2.
► Fill up with saw chain oil,
8.3.
► Check the chain brake,
12.4.
► Check the controls,
12.5.
► Check the chain lubrication,
12.6.
► If you cannot carry out this work: Do not use your chainsaw and contact your STIHL servicing dealer for assistance.
5.2 Connecting the Battery with the STIHL App by means of a Bluetooth® Radio Interface
► Activate the Bluetooth® radio interface on the mobile device.
► Activating the Bluetooth® radio interface on the battery,
7.1.
► Download STIHL App from the app store of your mobile device and create an account.
► Open and sign in on the STIHL App.
► Add the battery in the STIHL App and follow the instructions on the screen.
For contacts and other information, please visit https://support.stihl.com or the app.
The STIHL connected feature is available in the
STIHL App in certain markets.
Charging the Battery, LEDs
6.1 Charging the Battery
The charging time depends on various factors, e.g. the battery temperature or the ambient tem‐ perature. The actual charging time may vary from the charging time indicated. The charging time is indicated at www.stihl.com/chargingtimes.
► Recharge the battery as described in the User Manual for the STIHL AL 101, 300, 301-4, 500 chargers.
6.2 Displaying the charge level

► Press the button (1).
The LEDs light up green for about 5 seconds and indicate the state of charge.
► If the LED on the right flashes green: Charge the battery.
6.3 LEDs on Battery
The LEDs can show the state of charge or malfunctions. The LEDs can glow or flash green or red.
The state of charge is indicated when the LEDs glow or flash green.
► If the LEDs glow or flash red: Troubleshooting,
20.1.
Malfunction in trimmer or battery.
Activating and Deactivating Bluetooth® Radio Interface
7.1 Activating the Bluetooth® Radio Interface
► If the battery is equipped with a Bluetooth® radio interface: press the button and hold it depressed for about 3 seconds.
The “BLUETOOTH® ” LED next to the symbol
lights up blue for about 3 seconds. The Bluetooth® radio interface on the battery is activated.
7.2 Deactivating the Bluetooth® Radio Interface
► If the battery is equipped with a Bluetooth® radio interface: press the button and hold it depressed for about 3 seconds.
The “BLUETOOTH® ” LED next to the symbol
flashes blue for six times. The Bluetooth® radio interface on the battery is deactivated.
Assembling the Saw
8.1 Mounting and Removing the Bar and Chain
8.1.1 Mounting the Guide Bar and Saw Chain
The guide bar and saw chain combinations that can be used with the chain sprocket are listed in the specifications,
22.1.
► switch off chain saw, engage chain brake and remove battery
► Unscrew the nut (2).
► Remove the chain sprocket cover (1).
► Turn the tensioning screw (3) counterclockwise until the tensioner slide (4) butts against the left end of the housing.

► Fit the saw chain in the guide bar groove so that the arrows on the tie straps on the top of the bar point in the direction of rotation.
► Fit the guide bar and chain on the saw and check the following points:
– The drive links of the saw chain are seated in teeth of the chain sprocket (5).
– The head of screw (6) is seated in the slot in the guide bar (8).
– The peg of tensioner slide (4) engages the hole (7) in guide bar (8).
The guide bar (8) may be fitted either way round.
The logo on the guide bar (8) may also be upside down.
► Disengage the chain brake.
► Turn the tensioning screw (3) clockwise until the saw chain fits snugly against the guide bar. Make sure the drive links of the saw chain engage the guide bar groove.
The guide bar (8) and saw chain are positioned against the chainsaw.
► Fit the chain sprocket cover (1) so that it is flush with the chainsaw.
► Fit and tighten down the nut (2).
8.1.2 Removing the Bar and Chain
► Switch off the chainsaw, engage the chain brake and remove the battery.
► Unscrew the nut.
► Remove the sprocket cover.
► Turn the tensioning screw counterclockwise as far as stop.
The chain is now slack.
► Remove the bar and chain.
8.2 Tensioning the Saw Chain
The saw chain expands or contracts during cutting work. The saw chain tension changes as a result. Check the saw chain tension regularly during operation and readjust if necessary.
► Switch off chainsaw, engage the chain brake and remove the battery.
► Loosen the nut (2).
► Disengage the chain brake.
► Hold the guide bar nose up and turn the tensioning screw (1) clockwise or counterclockwise until the following points apply:
– The chain sag ‘a’ in the center of the guide bar is 1 – 2 mm.
– The saw chain can still be pulled easily along the guide bar with two fingers.
► Hold the guide bar nose up and tighten down the nut (2) firmly.
► If the distance ‘a’ of the chain from the center of the guide bar is not 1-2 mm: Readjust the saw chain tension.
8.3 Filling Up with Saw Chain Oil
The saw chain oil lubricates and cools the rotating chain.
STIHL recommends you use a STIHL saw chain oil or an equivalent chain oil approved for chainsaws.
► switch off chain saw, engage chain brake and remove battery
► Place your chainsaw on a level surface so that the oil tank cap faces up.
► Use a damp cloth to clean the oil tank cap and the area around it.
► Swing the grip on the oil tank cap to the vertical position.
► Turn the oil tank cap counterclockwise as far as it will go.
► Remove the oil tank cap.
► Fill up with saw chain oil, taking care not to spill any oil and not to overfill the tank.
► If the grip on the oil tank cap has dropped into the closed position: Raise the grip until it is vertical.
► Place the oil tank cap in the filler opening so that mark (1) lines up with mark (2).
► Press the oil tank cap down and rotate it clockwise as far as it will go.
The oil tank cap snaps into place. The mark (1) points to mark (3).
► Check to see if the oil tank cap can be pulled upwards and off.
► If the oil tank cap cannot be pulled upwards and off: Fold down the grip on the oil tank cap.
The oil tank is closed.
If the oil tank cap can be pulled upwards and off, perform the following steps:
► Place the oil tank cap in the filler opening – in any position.

► Press the oil tank cap down and rotate it clockwise as far as it will go.
► Press the oil tank cap down and rotate it counterclockwise until mark (1) points to mark (2).
► Now try again to close the oil tank.
► If the oil tank still cannot be closed properly: Do not use the chainsaw and contact a STIHL dealer for assistance.
The chainsaw is not in a safe condition.
8.4 Mounting the Spiked Bumper

► Take out the screw (4) and remove the chain catcher (3).
► Position the spiked bumper (1).
► Fit the screw (2).
► Place the chain catcher (3) in position.
► Insert the screw (4) and secure it firmly.
► Fully tighten the screw (2).
Engaging and Disengaging the Chain Brake
9.1 Engaging the chain brake
The chainsaw is equipped with a chain brake.
The chain brake is activated by the inertia of the front hand guard if the kickback force is high enough, or it can be engaged by the operator.
► Push the hand guard away from the front handle with your left hand.
The hand guard engages with an audible click.
If a battery is inserted: The “CHAIN BRAKE” LED (1) lights up. The chain brake is engaged.
9.2 Disengaging the chain brake

► Pull the hand guard back towards the handle with your left hand.
The hand guard engages with an audible click. If a battery is inserted: The “CHAIN BRAKE” LED (1) goes out. The chain brake is disengaged.
Removing and Fitting the Battery
10.1 Inserting the Battery
► Engage the chain brake.

► Push the battery (1) into the battery compartment (2) as far as stop.
The battery (1) engages with a click and is now locked.
10.2 Removing the Battery
► Set the chainsaw on a level surface.

► Press both locking levers (1).
The battery (2) is released and can be removed.
Switching the Saw On/Off
11.1 Switching on the chainsaw
► Hold the chain saw by the control handle with your right hand, wrapping your thumb around the control handle.
► Disengage the chain brake.
► Hold the chainsaw by the handlebar with your left hand, wrapping your thumb around the handlebar.
► Press the trigger lockout (1) with your hand and keep it pressed.
► Press the unlock button (2).
► Press the trigger (3) with your index finger and keep depressed.
The chainsaw accelerates and the chain starts moving.
The more you depress the trigger (3), the faster the saw chain rotates.
The chainsaw can also be switched on by first pressing the unlock button (2) and within 5 seconds (while the “STATUS” LED is flashing) pressing the trigger lockout (1). The trigger (3) is now unlocked and the chainsaw is ready for use.
If the trigger (3) and the trigger lockout (1) are released after switch-on, the “STATUS” LED (4) keeps flashing for another 1 second. As long as the “STATUS” LED (4) is flashing, the chainsaw can be switched on again without pressing the unlock button (2).
11.2 Switching Off the Chainsaw
► Release the trigger and trigger lockout.
Wait until the saw chain comes to a complete standstill after about 1 second.
► If the saw chain is still moving after approx. 1 second: Engage the chain brake, remove the battery and consult a STIHL servicing dealer.
Your chainsaw is defective.
Testing the Chain Saw and Battery
12.1 Checking the Chain Sprocket
► Switch off the chain saw, engage the chain brake and remove the battery.
► Disengage the chain brake.
► Remove the chain sprocket cover.
► Remove the bar and chain.
► Use a STIHL gauge to check the wear marks on the sprocket.
► If wear marks are deeper than a = 0.5 mm: Do not use your chain saw and contact your STIHL servicing dealer.
The chain sprocket must be replaced.
12.2 Checking the Guide Bar
► Switch off the chain saw, engage the chain brake and remove the battery.
► Remove the chain and guide bar.

► Measure depth of bar groove with scale on STIHL filing gauge.
► Install a new guide bar if one of the following points applies:
– Guide bar is damaged.
– Measured bar depth is less than specified minimum depth,
21.3.
– Bar groove is pinched or splayed.
► If you have any queries: Contact your STIHL servicing dealer.
12.3 Checking the Saw Chain
► Switch off the chainsaw, engage the chain brake and remove the battery.
► Use a STIHL filing gauge (2) to check the height of the depth gauges (1). The STIHL filing gauge must match the chain pitch.
► If a depth gauge (1) projects from the filing gauge (2): Lower the depth gauge (1),
18.3.

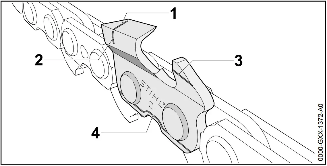
► Make sure the service marks (1 to 4) on the cutters are visible.
► If one of the service marks is not visible on a cutter: Do not use your chainsaw and contact your STIHL servicing dealer.
► Use a STIHL filing gauge to check that a filing angle of 30° has been maintained on all cutters. The STIHL filing gauge must match the chain pitch.
► If a filing angle of 30° has not been main‐ tained: Resharpen the saw chain.
► If you have any queries: Contact your STIHL servicing dealer for assistance.
12.4 Testing the Chain Brake
► Switch on the saw.
► Engage the chain brake.
The chain brake is operating properly If the chain stops immediately.
► If the chain does not stop immediately: Do not use your chainsaw and contact your STIHL servicing dealer for assistance.
The chain brake is defective.
12.5 Checking the controls
Trigger lockout and trigger
► Engage chain brake and remove battery.
► Try pressing the trigger without pressing the trigger lockout.
► If the trigger can be pulled: Do not use your chainsaw and contact your STIHL servicing dealer.
The trigger lockout is faulty.
► Press and hold the trigger lockout.
► Press and release the trigger.
► If the trigger switch or the trigger switch lockout is stiff or does not spring back to its initial position: Do not use the chainsaw. Consult a STIHL servicing dealer.
The trigger or the trigger lockout is defective.
Switching on the chainsaw
► Insert battery.
► Disengage the chain brake.
► Press and hold the trigger lockout.
► Press the unlock button.
► Press and hold the trigger.
The saw chain runs.
► If 3 LEDs on the battery flash red: Remove the battery and contact your STIHL dealer for assistance.
Chainsaw fault.
► Release the trigger.
The saw chain stops running.
► If the chain continues to rotate: Engage the chain brake, remove the battery and contact your STIHL servicing dealer.
Your chainsaw is defective.
12.6 Checking Chain Lubrication
► Fit the battery.
► Disengage the chain brake.
► Hold the guide bar over a light surface.
► Switch on the saw.
Chain oil is thrown off the chain and is visible on the light surface. Chain lubrication is operating properly.
► If no chain oil can be seen:
► Fill up with chain oil.
► Check chain lubrication again.
► If chain oil is still not visible on the light surface: Do not use your chain saw and contact your STIHL servicing dealer. Chain lubrication is defective.
12.7 Testing the Battery
► Press button on battery.
The LEDs glow or flash.
► If the LEDs do not glow or flash: Do not use the battery and contact your STIHL servicing dealer.
There is a malfunction in the battery.
Operating the Saw
13.1 Adjusting the Oil Feed Rate
The chainsaw has an adjustable oil pump.

The oil feed rate is suitable for most applications when the oil pump adjusting screw (1) is in position E (Ematic).
The oil pump feed rate can be adjusted to suit different bar lengths, wood species and working techniques.
To increase the oil feed rate
► Switch off chainsaw, engage the chain brake and remove the battery.
► Turn the oil pump adjusting screw (1) clockwise.
To reduce oil feed rate
► Switch off chainsaw, engage the chain brake and remove the battery.
► Turn the oil pump adjusting screw (1) counterclockwise.
13.2 Holding and Controlling the Chainsaw

► Hold and control your chainsaw with your left hand on the handlebar and your right hand on the control handle. Wrap thumb of left hand around the handlebar and thumb of right hand around the control handle.
WARNING
- The risk of kickback is increased if you use the chainsaw with one hand. If kickback occurs, the saw may be thrown up in the direction of the operator. The operator can lose control of the saw and be seriously or fatally injured.
► Do not cut with the upper quadrant of the bar nose.
► Never support yourself on the limb being cut.
► Never attempt to hold falling limbs.
The saw may be used with one hand if the following conditions apply:
– Two-handed cutting is not possible.
– The working position means that one hand is required for support during the cut.
– The saw can be held firmly with one hand.
– All parts of your body are clear of the cutting attachment.
13.3 Sawing
WARNING
- If kickback occurs, the chainsaw can be thrown up in the direction of the operator. This may result in serious or fatal injury to the user.
► Always cut with the chain running at full speed.
► Do not cut with the upper quadrant of the guide bar nose.
► Begin the cut with the chain running at full speed and keep the guide bar vertical.

► Engage the spiked bumper and use it as a fulcrum.
► Guide the full width of the guide bar into the wood and reposition the spiked bumper as required.
► Take the weight of the chainsaw at the end of the cut.
13.4 Limbing
► With the chain running a full speed, pivot the guide bar downward against the limb.

► Make a relieving cut (1) in the compression side (A) first, then perform a bucking (2) cut at the tension side (B) from above, directly above the first cut.
► Make the last cut (3) close to the trunk without damaging the bark.
13.5 Felling
13.5.1 Basic information on felling cut

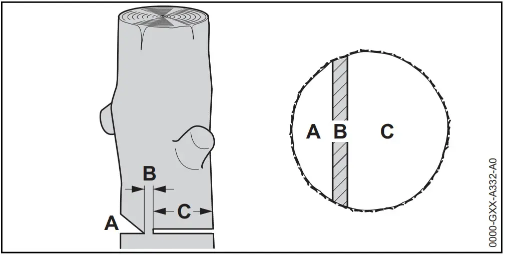
A Felling notch
The felling notch determines the direction of fall.
B Hinge
The hinge controls the part of the tree being removed as it drops to the ground. The width of the hinge is 1/10 of the trunk diameter.
C Felling cut
The tree is felled with the felling cut.
13.5.2 Cutting a felling notch
The felling notch determines the direction that the part of the tree being removed will fall. Country-specific standards for making the felling notch must be observed.

► Position the saw so that the felling notch is at right angles to the direction of fall.
► Control the felling direction with the felling notch (1).
► Make the horizontal cut.
► Make the angled cut at 45° to the horizontal cut.
13.5.3 Making the felling cut

► Make horizontal felling cut, taking care not to cut through the hinge.
► Shout a warning.
► Push the part of the tree being removed downward over the hinge.
The part of the tree to be removed falls.
After Finishing Work
14.1 When Work is Finished
► Switch off chainsaw, engage the chain brake and remove the battery.
► If the chainsaw is wet: Allow the chainsaw to dry.
► If the battery is wet: Leave the battery to dry.
► Clean the chainsaw.
► Clean the guide bar and saw chain.
► Loosen the nut on the chain sprocket cover.
► Back off the tensioning screw 2 turns counterclockwise.
The saw chain is now slack.
► Tighten the nut.
► Push the chain scabbard over the guide bar until it engages, so that it completely covers the guide bar.
► Clean the battery.
Transporting
15.1 Transporting the Chainsaw
► Switch off chainsaw, engage the chain brake and remove the battery.
► Push the chain scabbard over the guide bar until it engages, so that it completely covers the guide bar.
Carrying the chainsaw
► Carry the chainsaw by holding the front handle in your right hand with the guide bar pointing to the rear.
Carrying the chainsaw in a vehicle
► Secure the saw to prevent turnover and movement.
Transporting the Chainsaw by the Eyelet

► Transport the chainsaw using the ring (1) on the belt or on a rope.
Transporting the Chain Scabbard by the Ring

► Transport the chain scabbard by the ring (1) on the belt.
15.2 Transporting the Battery
► Switch off the chainsaw, engage the chain brake and remove the battery.
► Check that the battery is in a safe condition.
► Pack the battery in packaging in such a way that it cannot move inside the packaging.
► Secure the packaging so that it cannot move.
The battery is subject to the Carriage of Dangerous Goods regulations. The battery is classified as UN 3480 (lithium ion batteries) and has been tested pursuant to UN Manual Tests and Criteria Part III, Subsection 38.3.
The transport regulations can be found at www.stihl.com/safety-data-sheets.
Storing
16.1 Storing the Chainsaw
► Switch off the chainsaw, engage the chain brake and remove the battery.
► Fit the scabbard so that it completely covers the guide bar.
► Observe the following points when storing the saw:
– Saw is out of the reach of children.
– The saw is clean and dry.
► If you store the saw for more than 30 days: Remove the bar and chain.
16.2 Storing the Battery
STIHL recommends keeping the battery in a charging state between 40% and 60 % (2 green LEDs lit).
► The battery should be stored in such a way that the following conditions are fulfilled:
– The battery is out of the reach of children.
– The battery is clean and dry.
– The battery is in an enclosed space.
– Keep the battery separate from the chainsaw.
– If the battery is stored in the charger, disconnect the mains plug and store the battery at a battery charge status between 40 % and 60 % (2 green lit LEDs).
– The battery is in a temperature range between – 10 °C and + 50 °C.
NOTICE
- If the battery is not stored as described in this user manual, the battery may become deeply discharged and irreparably damaged.
► Charge a discharged battery before storing it. STIHL recommends keeping the battery in a charging state between 40% and 60 % (2 green LEDs lit).
► Store the battery separately from the chainsaw.
Cleaning
17.1 Cleaning the chainsaw
► switch off chain saw, engage chain brake and remove battery
► Clean the chainsaw with a damp cloth or STIHL resin solvent.
► Clean vents with a paintbrush.
► Remove the chain sprocket cover.
► Clean the area around the chain sprocket with a damp cloth or STIHL resin solvent.
► Remove foreign objects from the battery compartment and clean the battery compartment with a damp cloth.
► Clean the electrical contacts in the battery compartment with a paintbrush or soft brush.
► Fit the chain sprocket cover.
17.2 Cleaning the Guide Bar and Saw Chain
► Switch off chainsaw, engage the chain brake and remove the battery.
► Remove the guide bar and saw chain.
► Clean the oil port (1), oil inlet hole (2) and bar groove (3) with a soft brush or STIHL resin solvent.
► Clean the saw chain with a soft brush or STIHL resin solvent.
► Mount the guide bar and saw chain.
17.3 Cleaning the fleece air filter
► Switch off chainsaw, engage the chain brake and remove the battery.
► Turn the screws (1) counterclockwise until the cover (2) can be removed.
► Remove shroud (2).
► Press the latch (3) and remove the air filter (4).
► Dust down the air filter (4).
► If the air filter (4) is damaged: Install a new air filter (4).
► From the clean side, blow off the air filter (4) with compressed air.
WARNING
- If detergents come into contact with the skin or eyes, the skin or eyes may be irritated.
► Observe the user manual for the detergent.
► Avoid contact with detergents.
► If skin contact occurs: Wash affected areas of skin with plenty of water and soap.
► If eye contact occurs: Flush eyes with plenty of water for at least 15 minutes and consult a doctor.
► Spray the outside and inside of the air filter (4) with STIHL special cleaner or a cleaning agent with a pH value higher than 12.
► Allow STIHL special cleaner or cleaning agent to act for 10 minutes.
► Rinse the clean side of the air filter (4) under running water.
► Rinse the dirty side of the air filter (4) under running water.
► Allow the air filter (4) to dry in the air.

► Position the air filter (4) so that the latch (5) engages in the recess (6).
► Close the air filter (4).
The air filter (4) audibly engages.
► Fit the cover (2).
► Insert screws (1) and tighten them.
17.4 Cleaning the Battery
► Clean the battery with a damp cloth.
Maintenance
18.1 Maintenance intervals
Maintenance intervals depend on the ambient conditions and the operating conditions. STIHL recommends the following maintenance intervals:
Chain brake
► Have a STIHL dealer service the chain broke in the following intervals:
– Full-time use: every three months
– Part-time use: every six months
– Occasional use: once a year
Weekly
► Check the chain sprocket.
► Check and deburr the guide bar.
► Check and resharpen the saw chain.
Monthly
► Have the oil tank cleaned by a STIHL dealer.
► Clean the air filter.
Half-yearly
► Have the fan housing cleaned by a STIHL dealer.
18.2 Deburring the Guide Bar
A burr can build up on the outer edge of the guide bar.
► Remove burr with a flat file or a STIHL guide bar dressing tool.
► If you have any queries: Contact your STIHL servicing dealer.
18.3 Sharpening the Saw Chain
Correctly sharpening saw chains requires a lot of practice.
STIHL files, STIHL filing aids, STIHL sharpeners and the brochure “Sharpening STIHL Saw Chains” help you achieve the right results. To obtain the brochure visit http://www.stihl.com/sharpening-brochure.
STIHL recommends you have saw chains resharpened by a STIHL servicing dealer.
WARNING
- The chain’s cutters are very sharp. There is a risk of cut injuries.
► Wear work gloves made of durable material.

► File each cutter with a round file so that the following points are observed:
– Round file matches the chain pitch.
– File from the inside to the outside of the cutter.
– Hold the file at right angle to the guide bar.
– Maintain a filing angle of 30°.

► File down the depth gauges with a flat file so that they are level with the STIHL filing gauge and parallel to the service mark. The STIHL filing gauge must match the chain pitch.
► If you have any queries: Contact your STIHL servicing dealer for assistance.
Repairing
19.1 Repairing the Chainsaw and Battery
The chainsaw, guide bar, saw chain and battery cannot be repaired by the user.
► If the saw, guide bar or saw chain is damaged:
Do not use your saw, guide bar or saw chain, and contact your STIHL servicing dealer for assistance.
► If the battery has a malfunction or is damaged: Replace the battery.
Troubleshooting
20.1 Troubleshooting Chainsaw or Battery
| Fault | LEDs on the battery | Cause | Remedy |
| Saw does not start when swit- ched on. | 1 LED flashing green. | State of charge of the battery is too low. | ►Recharge the battery fully as described in the User Manual for the STIHL AL 101, 300, 301-4, 500 chargers. |
| 1 LED emits red light. | The battery is too warm or too cold. | ►Engage chain brake and remove battery. ►Allow the battery to cool down or warm up. | |
| 3 LEDs flash red. | Chainsaw fault. | ►Engage chain brake and remove battery. ►Clean electrical contacts in the battery compartment. ►Insert battery. ►Disengage the chain brake. ►Switch on the chainsaw. ►If 3 LEDs continue to flash red: Do not use your chainsaw and contact your STIHL servicing dealer for assistance. | |
| 3 LEDs light up red. | Chainsaw is too hot. | ►Engage chain brake and remove battery. ►Allow the chainsaw to cool down. | |
| 4 LEDs flash red. | There is a fault in the battery. | ►Engage the chain brake, remove and refit the battery. ►Disengage the chain brake. ►Switch on the chainsaw. ►If 4 LEDs continue to flash red: Do not use the battery; contact a STIHL servicing dealer. | |
| No electrical contact between the chainsaw and battery. | ►Engage chain brake and remove battery. ►Clean electrical contacts in the battery compartment. ►Insert battery. | ||
| Saw or battery damp. | ►Allow chainsaw or battery to dry. | ||
| Saw cuts out during operation. | 3 LEDs light up red. | Chainsaw is too hot. | ►Engage chain brake and remove battery. ►Allow the chainsaw to cool down. |
| There is an electrical fault. | ►Engage the chain brake, remove and refit the battery. ►Switch on the chainsaw. | ||
| Chainsaw run- time is too short. | The battery is not fully charged. | ►Recharge the battery fully as described in the User Manual for the STIHL AL 101, 300, 301-4, 500 chargers. | |
| The battery life has been exceeded. | ►Replace battery. | ||
| Smell of smoke or burning in the cutting area. | The saw chain has not been correctly sharpened. | ►Sharpen chain as specified. | |
| Insufficient saw chain oil in the oil tank. | ►Fill up with saw chain oil. | ||
| The chain lubrication system is supplying insufficient saw chain oil. | ►Increase oil feed rate. | ||
| The saw chain is over-tensioned. | ►Tension the saw chain as specified. | ||
| The chainsaw is not being used properly. | ►Have correct use explained, then practice. | ||
| “SAW CHAIN LUBRICANT” LED lights up in red. | Insufficient saw chain oil in the oil tank. | ►Fill up with saw chain oil. ►If the “SAW CHAIN OIL” LED continues to be lit up in red: Do not use your chain-saw and contact your STIHL servicing dealer for assistance. | |
| “SAW CHAIN LUBRICANT” LED flashes red. | The saw chain oil sen- sor is defective. | ►Do not use the chainsaw and contact your STIHL servicing dealer. | |
| Battery with | Bluetooth® radio inter- face on the battery or mobile device is deactivated. | ►Activate Bluetooth® radio interface on the battery or mobile device. | |
| Distance between bat- tery and mobile device is too long. | ►Reduce distance, LIEI ►If battery is still not listed in the STIHL app: Contact a STIHL servicing dealer for assistance. |
20.2 Product Support and Assistance on Use
Product support and assistance on use are available from STIHL servicing dealers.
For contacts and other information, please visit https://support.stihl.com or www.stihl.com.
Specifications
21.1 STIHL MSA 220.0 T, MSA 220.0 TC Chainsaw
Approved batteries:
– STIHL AP (except STIHL AP 100)
– STIHL AR
– Weight without battery, guide bar and saw chain 2.7 kg
– Max. oil tank capacity: 220 cm³ (0.220 l)
– Degree of electrical protection: IPX4 (protection against splash water from any direction)
The running time is shown at www.stihl.com/battery-life.
21.2 Chain Sprockets and Chain Speeds
The following chain sprockets may be used: 6-tooth for 3/8″ P
– Maximum chain speed: 23.3 m/s
21.3 Minimum Groove Depth of Guide Bars
The minimum groove depth depends on the pitch of the guide bar.
– 3/8″ P: 5 mm
21.4 STIHL AP battery
– Battery technology: lithium-ion
– Voltage: 36 V
– Capacity in Ah: see rating label
– Energy content in Wh: see rating label
– Weight in kg: see rating label
– Permissible temperature range for operation and storage: + 10 °C to + 50 °C
– Bluetooth® radio interface (only for batteries with
):
– Data connection: Bluetooth® 5.1. The mobile appliance must be compatible with Bluetooth® Low Energy 5.0 and support Generic Access Profile (GAP).
– Frequency band: ISM band 2.4 GHz
– Maximum RF power transmitted: 1 mW
– Signal range: approx. 10 m. The signal strength depends on the ambient conditions and the mobile terminal. Signal range can vary greatly depending on local conditions,
including the receiver. The range may be perceptibly reduced inside enclosed rooms and through metal barriers (such as walls, shelves or cases).
– Mobile appliance operating system requirements: Android or iOS (current version or higher)
21.5 Sound Values and Vibration Values
STIHL recommends wearing ear defenders.
– Sound pressure level LpA measured according to EN ISO 22868: 94 dB(A) The K value for the sound pressure level is 2 dB(A).
– Sound power level LwA measured according to EN ISO 22868: 104 dB(A) K-value (uncertainty) for sound power level is 2 dB(A).
– Vibration level ahv measured according to EN ISO 22867
– Control handle: 3.4 m/s². The K value for the vibration level is 2 m/s².
– Handlebar: 3.0 m/s². The K value for the vibration level is 2 m/s².
The sound and vibration levels indicated were measured according to a standardized test method and can be used as a basis for comparing electric power tools. The sound and vibration levels actually occurring may vary from the values indicated, depending on the type of application. The sound and vibration levels indicated can be used for an initial estimate of the vibration stress. The actual sound and vibration stress has to be estimated. The times when the electric power tool is switched off and the times when it is switched on but running under no load can be taken into account in the estimate.
21.6 REACH
REACH is an EC regulation and stands for the Registration, Evaluation, Authorisation and Restriction of Chemical substances.
For information on compliance with the REACH regulation see www.stihl.com/reach.
Bar and Chain Combinations
22.1 STIHL MSA 220.0 T, MSA 220.0 TC Chainsaw
| Pitch | Drive link gauge/groove width | Length | Guide bar | Number of teeth, spro- cket nose | Number of drive links | Saw chain |
| 3/8″ P | 1.3 mm | 30 cm | Rollomatic E /Light 04 Rollomatic E Light / Light PO4 | 9 | 44 | 63 PM3 (3636) 63 PS3 (3616) |
| 35 cm 1) | 50 | |||||
| 40 cm 1) | 55 | |||||
| The cutting length of a guide bar depends on the chainsaw and the saw chain being used. The actual cutting length of a guide bar may be less than the specified length. | ||||||
- If this guide bar is used, the chainsaw may be used only with a STIHL AP battery inserted directly in the saw.
Spare Parts and Accessories
23.1 Spare parts and accessories
These symbols indicate original STIHL spare parts and original STIHL accessories.
STIHL recommends the use of original STIHL spare parts and accessories.
Despite ongoing market observation, STIHL is unable to judge the reliability, safety and suitability of other manufacturers’ spare parts and accessories; accordingly, STIHL cannot warrant for the use of those parts.
Original STIHL spare parts and original STIHL accessories are available from STIHL dealers.
Disposal
24.1 Disposing of Chainsaw and Battery
Contact the local authorities or your STIHL dealer for information on disposal.
Improper disposal can be harmful to health and pollute the environment.
► Take STIHL products including packaging to a suitable collection point for recycling in accordance with local regulations.
► Do not dispose with domestic waste.
25 EC Declaration of Conformity
25.1 STIHL MSA 220.0 T, MSA 220.0 TC Chainsaw
ANDREAS STIHL AG & Co. KG Badstraße 115
D-71336 Waiblingen
Germany
declare under our sole responsibility that
– Category: Cordless chainsaw
– Manufacturer’s brand: STIHL
– Model: MSA 220.0 T, serial number: MA01
– Model: MSA 220.0 TC, serial number: MA01
conforms to the relevant provisions of Directives 2011/65/EU, 2006/42/EC, 2014/30/EU and 2000/14/EC and has been developed and manufactured in compliance with the following standards in the versions valid on the date of production: EN 55014‑1, EN 55014‑2, EN 62841‑1, and EN 11681‑2 (where applicable).
The EC type examination test was carried out pursuant to Directive 2006/42/EC, Art. 12.3(b) at: VDE Prüf- u. Zertifizierungsinstitut (NB 0366), Merianstraße 28, 63069 Offenbach, Germany
– Certification number: 40052944
The measured and guaranteed equivalent sound power level has been determined in accordance with Directive 2000/14/EC, Annex V.
– Measured sound power level: 104 dB(A)
– Guaranteed sound power level: 106 dB(A)
The technical documents are stored at ANDREAS STIHL AG & Co. KG Produktzulassung.
The year of manufacture, country of manufacture and serial number are applied to the chainsaw.
Waiblingen, 02.06.2021
ANDREAS STIHL AG & Co. KG
Dr. Jürgen Hoffmann, Director Product Certification & Regulatory Affairs
UKCA Declaration of Conformity
26.1 STIHL MSA 220.0 T, MSA 220.0 TC Chainsaw
ANDREAS STIHL AG & Co. KG
Badstraße 115
D-71336 Waiblingen
Germany
declare under our sole responsibility that
– Category: Cordless chainsaw
– Manufacturer’s brand: STIHL
– Model: MSA 220.0 T, serial number: MA01
– Model: MSA 220.0 TC, serial number: MA01
conforms to the relevant provisions of UK regulations The Restriction of the Use of Certain Hazardous Substances in Electrical and Electronic
Equipment Regulations 2012, Supply of Machinery (Safety) Regulations 2008, Electromagnetic Compatibility Regulations 2016 and Noise Emission in the Environment by Equipment for use Outdoors Regulations 2001 and has been manufactured in compliance with the following standards in the versions valid on the date of production: EN 55014‑1, EN 55014‑2, EN 62841-1 and EN 11681‑2 (as applicable).
The type examination was carried out by: Intertek Testing & Certification Ltd, Academy Place, 1-9 Brook Street, Brentwood, Essex, CM14 5NQ, United Kingdom
– Certification number: ITS UK MCR 60
The measured and guaranteed sound power levels have been determined in accordance with UK regulation Noise Emission in the Environment by Equipment for use Outdoors Regulations 2001, Schedule 8.
– Measured sound power level: 104 dB(A)
– Guaranteed sound power level: 106 dB(A)
The technical documents are stored at ANDREAS STIHL AG & Co. KG.
The year of manufacture, country of manufacture and serial number are indicated on the chainsaw.
Waiblingen, 2022-03-31
ANDREAS STIHL AG & Co. KG
Dr. Jürgen Hoffmann, Director Product Certification & Regulatory Affairs
General Power Tool Safety Warnings
27.1 Introduction
This chapter reproduces the pre-formulated, general safety precautions specified in the IEC 62841 standard for hand-held motor-operated electric tools.
STIHL is obliged to publish these texts.
The safety precautions and warnings on avoiding an electric shock given under “Electrical Safety” do not apply to STIHL cordless products.
WARNING
- Read all safety warnings, instructions, illustrations and specifications provided with this power tool. Failure to follow all instructions listed below may result in electric shock, fire and/or serious injury. Save all warnings and instructions for future reference.
The term “electric power tool” in the safety warnings refers to mains-operated (corded) power tools or battery-operated (cordless) power tools.
27.2 Work area safety
a) Keep work area clean and well lit. Cluttered or dark areas invite accidents.
b) Do not operate power tools in explosive atmospheres, such as in the presence of flammable liquids, gases or dust. Power tools create sparks which may ignite the dust or fumes.
c) Keep children and bystanders away while operating a power tool. Distractions can cause you to lose control.
27.3 Electrical safety
a) Power tool plugs must match the outlet.
Never modify the plug in any way. Do not use any adapter plugs with earthed (groun‐ded) power tools.Unmodified plugs and matching outlets will reduce risk of electric shock.
b) Avoid body contact with earthed or grounded surfaces, such as pipes, radiators, ranges and refrigerators. There is an increased risk of electric shock if your body is earthed or grounded.
c) Do not expose power tools to rain or wet conditions. Water entering a power tool will increase the risk of electric shock.
d) Do not abuse the cord. Never use the cord for carrying, pulling or unplugging the power tool. Keep cord away from heat, oil, sharp edges or moving parts. Damaged or entangled cords increase the risk of electric shock.
e) When operating a power tool outdoors, use an extension cord suitable for outdoor use.
Use of a cord suitable for outdoor use reduces the risk of electric shock.
f) If operating a power tool in a damp location is unavoidable, use a residual current device (RCD) protected supply. Use of an RCD reduces the risk of electric shock.
27.4 Personal safety
a) Stay alert, watch what you are doing and use common sense when operating a power tool.
Do not use a power tool while you are tired or under the influence of drugs, alcohol or medication. A moment of inattention while operating power tools may result in serious personal injury.
b) Use personal protective equipment. Always wear eye protection. Protective equipment such as a dust mask, non-skid safety shoes, hard hat or hearing protection used for appropriate conditions will reduce personal injuries.
c) Prevent unintentional starting. Ensure the switch is in the off-position before connecting to power source and/or battery pack, picking up or carrying the tool. Carrying power tools with your finger on the switch or energising power tools that have the switch on invites accidents.
d) Remove any adjusting key or wrench before turning the power tool on. A wrench or a key left attached to a rotating part of the power tool may result in personal injury.
e) Do not overreach. Keep proper footing and balance at all times. This enables better control of the power tool in unexpected situations.
f) Dress properly. Do not wear loose clothing or jewellery. Keep your hair and clothing away from moving parts. Loose clothes, jewellery or long hair can be caught in moving parts.
g) If devices are provided for the connection of dust extraction and collection facillities, ensure these are connected and properly used. Use of dust collection can reduce dustrelated hazards.
h) Do not let familiarity gained from frequent use of tools allow you to become complacent and ignore tool safety principles. A careless action can cause severe injury within a fraction of a second.
27.5 Power tool use and care
a) Do not force the power tool. Use the correct power tool for your application. The correct power tool will do the job better and safer at the rate for which it was designed.
b) Do not use the power tool if the switch does not turn it on and off. Any power tool that cannot be controlled with the switch is dangerous and must be repaired.
c) Disconnect the plug from the power source and/or remove the battery pack, if detachable, from the power tool before making any adjustments, changing accessories, or storing power tools. Such preventive safety measures reduce the risk of starting the power tool accidentally.
d) Store idle power tools out of the reach of children and do not allow persons unfamiliar with the power tool or these instructions to operate the power tool. Power tools are dangerous in the hands of untrained users.
e) Maintain power tools and accessories.
Check for misalignment or binding of moving parts, breakage of parts and any other condition that may affect the power tool’s operation. If damaged, have the power tool repaired before use. Many accidents are caused by poorly maintained power tools.
f) Keep cutting tools sharp and clean. Properly maintained cutting tools with sharp cutting edges are less likely to bind and are easier to control.
g) Use the power tool, accessories and tool bits etc. in accordance with these instructions, taking into account the working conditions and the work to be performed. Use of the power tool for operations different from those intended could result in a hazardous situation.
h) Keep handles and grasping surfaces dry, clean and free from oil and grease. Slippery handles and grasping surfaces do not allow for safe handling and control of the tool in
unexpected situations.
27.6 Battery tool use and care
a) Recharge only with the charger specified by the manufacturer. A charger that is suitable for one type of battery pack may create a risk of fire when used with another battery pack. b) Use power tools only with specifically designated battery packs. Use of any other battery packs may create a risk of injury and fire.
c) When battery pack is not in use, keep it away from other metal objects, like paper clips, coins, keys, nails, screws or other small metal objects, that can make a connection from one terminal to another. Shorting the battery terminals together may cause burns or a fire.
d) Under abusive conditions, liquid may be ejected from the battery; avoid contact. If contact accidentally occurs, flush with water.
If liquid contacts eyes, additionally seek medical help. Liquid ejected from the battery may cause irritation or burns.
e) Do not use a battery pack or tool that is damaged or modified. Damaged or modified batteries may exhibit unpredictable behaviour resulting in fire, explosion or risk of injury.
f) Do not expose a battery pack or tool to fire or excessive temperature. Exposure to fire or temperature above 130 °C may cause explosion.
g) Follow all charging instructions and do not charge the battery pack or tool outside the temperature range specified in the instructions. Charging improperly or at tempera‐
tures outside the specified range may damage the battery and increase the risk of fire.
27.7 Service
a) Have your power tool serviced by a qualified repair person using only identical replacement parts. This will ensure that the safety of the power tool is maintained.
b) Never service damaged battery packs. Service of battery packs should only be performed by the manufacturer or authorized service providers.
References
Hilfe und Beratung zu E-Commerce und STIHL Produkten | STIHL Support
Hilfe und Beratung zu E-Commerce und STIHL Produkten | STIHL Support
Country Routing Page: Welcome to STIHL | STIHL
Country Routing Page: Welcome to STIHL | STIHL
STIHL - Working times per battery charge | STIHL
Battery charging times
REACH Regulation: Available in different languages | STIHL | STIHL
Safety Data Sheets and Battery Documents of the STIHL products | STIHL | STIHL
Brochure: Sharpening a STIHL saw chain | STIHL
Сертификаты соответствия | STIHL
Hilfe und Beratung zu E-Commerce und STIHL Produkten | STIHL Support
Country Routing Page: Welcome to STIHL | STIHL















