DOMETIC MCK750 Car-Kettle User Manual
© 2021 Dometic Group. The visual appearance of the contents of this manual is protected by copyright and design law. The underlying technical design and the products contained herein may be protected by design, patent or be patent pending. The trademarks mentioned in this manual belong to Dometic Sweden AB. All rights are reserved.
Please read these instructions carefully and follow all instructions, guidelines, and warnings included in this product manual in order to ensure that you install, use, and maintain the product properly at all times. These instructions MUST stay with this product.
By using the product, you hereby confirm that you have read all instructions, guidelines, and warnings carefully and that you understand and agree to abide by the terms and conditions as set forth herein. You agree to use this product only for the intended purpose and application and in accordance with the instructions, guidelines, and warnings as set forth in this product manual as well as in accordance with all applicable laws and regulations. A failure to read and follow the instructions and warnings set forth herein may result in an injury to yourself and others, damage to your product or damage to other property in the vicinity. This product manual, including the instructions, guidelines, and warnings, and related documentation, may be subject to changes and updates. For up-to-date product information, please visit dometic.com.
Explanation of symbols
CAUTION! Safety instruction: Indicates a hazardous situation that, if not avoided, could result in minor or moderate injury. | |
NOTICE! Indicates a situation that, if not avoided, can result in property damage. | |
NOTE |
Safety instructions
General safety
Never pull the plug out of the socket by the connection cable.- If the connection cable is damaged, you must replace it to avoid hazards.
- Disconnect the connection cable:
- Each time before cleaning and maintenance.
- In the event of faults.
Do not operate the device if it exhibits visible signs of damage.- Never fill the device with water whilst it is hot. Switch off the device and allow it to cool down for approx. 10 mins.
- This device may be repaired only by qualified personnel. Inadequate repairs may cause serious hazards. Should your device need to be repaired, please contact MB customer service.
- If the supply cord is damaged, it must be replaced by the manufacturer, its service agent or similarly qualified persons in order to avoid a hazard.
Observe the following installation instructions:
- Secure the parts installed in the vehicle to prevent them from becoming loose under any circumstances (sudden braking, accidents) and causing injuries to vehicle occupants.
- To prevent damage when drilling, make sure there is sufficient space on the other side for the drill head to come out.
- Deburr all drill holes and treat them with a rust protection agent.
- Install the kettle only on surfaces which are heat resistant and damp-proof.
Operating the appliance safely
This appliance can be used by children aged from 8 years and above if they have been given supervision or instruction concerning use of the appliance in a safe way and if they understand the hazards involved.- Cleaning and user maintenance shall not be made by children unless they are older than 8 years and supervised.
- Keep the appliance and its cord out of reach of children aged less than 8 years.
- Electrical devices are not toys. Children should be supervised to ensure that they do not play with the appliance.
Operate the device only under supervision and not outdoors.- Do not use the device to boil water while driving.
- Observe the charging condition of the battery when operating the device in vehicles with the engine turned off.
- Do not use the device on hot surfaces and do not place it near naked flames.
- Protect the device and the cable against heat and moisture.
- Never immerse the device in water.
- Do not operate the device when the lid is open.
- Do not allow the connection cable to dangle (risk of stumbling).
- Do not lay the connection cable over edges or corners.
- Store all unattached parts of the kettle safely before starting your journey.
- Descale the kettle regularly.
Scope of delivery
| No. in fig 1, | Quantity | Designation |
2 | 1 | Water tank |
2 | 1 | Kettle Holder |
– | – | Fastening Material |
Intended use
The MCK750 kettle is used to boil up to 750 ml of water.
Do not fill the water tank with any other fluids.
This product is only suitable for the intended purpose and application in accordance with these instructions.
This manual provides information that is necessary for proper installation and/or operation of the product. Poor installation and/or improper operating or maintenance will result in unsatisfactory performance and a possible failure.
The manufacturer accepts no liability for any injury or damage to the product resulting from:
- Incorrect assembly or connection, including excess voltage
- Incorrect maintenance or use of spare parts other than original spare parts provided by the manufacturer
- Alterations to the product without express permission from the manufacturer
- Use for purposes other than those described in this manual
Dometic reserves the right to change product appearance and product specifications.
Technical description
The MCK750 kettle is intended for use in vehicles and is connected to a 12 Vg power supply or 24 Vg power supply, e. g. the on-board supply. It can be used to boil up to 750 ml of water.
The car-kettle may only be used in vehicles where the socket is protected with at least a 20 A fuse.
You can find details on the fuse in the vehicle documentation.
The kettle is automatically switched off when the water boils.
Control elements
No. in fig 1, | Designation |
3 | On/off switch |
4 | Control lamp |
Installing the kettle holder
Observe the following installation instructions:
- Make sure the installation location provides sufficient stability.
- Check beforehand that there is sufficient space on the other side for the drill head to come out.
- Make sure no concealed cables are damaged when drilling or screwing.
- Make sure the airbag function is not impaired.
To perform the installation, proceed as follows:
- Fasten the kettle holder with the screws supplied.
Using the kettle
CAUTION! Scalding hazard
Use the device only when the vehicle is stationary, not while it is moving.
Empty the water tank carefully.
NOTICE! Damage hazard
- Please immediately absorb any escaping fluid. Damage to the electronics may be caused by moisture entering the device.
- Fill the water tank up to between the minimum and maximum mark (fig.2, page 3)..
Before initial use
NOTICE! Damage hazard
Before connecting the device to the DC power socket, you have to fill the water tank with water.
- Boil water once or twice to clean the water tank.
- Pour the boiled water away.
Boiling water
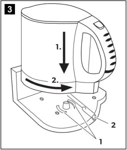
- Set down the water tank in a central position on the locking tongues (fig.3 1, page 3).
- Turn the water tank 90° anti-clockwise.
- The lock (fig.3 2, page 3) must engage audibly.
- Press the two locking buttons in the lid (fig.4 2, page 4) together and open the lid.
- Pour the desired amount of water into the tank.
- Close the lid.
- The lid engages audibly.
- Check that the voltage specification on the type plate corresponds to that of the energy supply.
- Connect the DC plug to a DC socket.
- Press the On/Off switch (fig.1 3, page 3) to start the boiling procedure.
- The control lamp (fig.1 4, page 3) is lit up during the boiling procedure.
- The kettle is automatically switched off when the water boils.
You cannot switch off the kettle by hand.
- To remove it, press the lock (fig. 5 1, page 4) and turn the water tank 90° clockwise.
Descaling the kettle
To ensure quick heating and extend the service life of the heater coil, the kettle has to be descaled after boiling approx. 30 – 40 times. Noticeable signs that descaling is necessary are:
- Prolonged boiling time.
- Loud boiling noises,
- Visible deposits on the base.
NOTICE! Damage hazard
For health and ecological reasons, use only biological means of descaling. Purchase these means only in specialist stores.
Do not under any circumstance use hydrochloric or sulphuric acid for descaling.
NOTE
Observe the application and dosing recommendations of the manufacturer of the decalcifier.
- Boil water two to three times with the decalcifier.
- Boil clear water two to three times.
- Let the kettle cool down for about 10 minutes.
Do not pour any water into the hot kettle during this time. - Rinse the water tank and lid with hot water.
Maintaining and cleaning the kettle
CAUTION! Electrocution hazard
Always disconnect the device from the mains before you clean and service it.
NOTICE! Damage hazard
- Never clean the device under running water or in dish water.
- Do not use abrasive cleaning agents or hard objects for cleaning as these can damage the device.
- Rinse the kettle under a water tap from time to time.
- Descale the device regularly (about every three months) using a standard decalcifier. Use it according to the manufacturer’s specifications.
Warranty
The statutory warranty period applies. If the product is defective, please contact the manufacturer’s branch in your country (see dometic.com/dealer) or your retailer.
For repair and warranty processing, please include the following documents when you send in the device:
- A copy of the receipt with purchasing date
- A reason for the claim or description of the fault
Disposal
- Place the packaging material in the appropriate recycling waste bins, wherever possible.
M If you wish to finally dispose of the product, ask your local recycling center or specialist dealer for details about how to do this in accordance with the applicable disposal regulations.
Technical data
PerfectKitchen | ||
MCK-750-12/N | MCK-750-24/N | |
Capacity: | 750 ml | |
Voltage: | 12 Vg | 24 Vg |
Power consumption: | 200 W | 380 W |
Temperature control: | 2 thermostats | |
Dimensions (W x H x D): | 190 x 205 x 125 mm (including kettle holder) | |
Weight: | Approx. 750 g | |
Approvals: |
| |
For the current EU declaration of conformity for your device please refer to the respective product page on dometic.com or contact the manufacturer directly (see dometic.com/dealer).
This device complies with the requirements of the foodstuffs law.





















