HANNA HI510 pH and Temperature Industrial Smart Probes

Dear Customer
Thank you for choosing a Hanna Instruments® product.
Please read this instruction manual carefully before using this instrument as it provides the necessary information for correct use of this instrument as well as a precise idea of its versatility. This release of the product manual contains information that applies to configuration, specification, installation, and calibration of Hanna Instruments industrial pH probes. The HI510 controller is sold separately. Please refer to the controller manual for details on system configurations. If you need additional technical information, do not hesitate to e‑mail us at [email protected]. Visit www.hannainst.com for more information about Hanna Instruments and our products.
All rights are reserved. Reproduction in whole or in part is prohibited without the written consent of the copyright owner, Hanna Instruments Inc., Woonsocket, Rhode Island, 02895, USA. Hanna Instruments reserves the right to modify the design, construction, or appearance of its products without advance notice.
PRELIMINARY EXAMINATION
- Remove the probe from the packing and examine it carefully.
- Remove the sensor’s protective cap before use.
- Each probe is supplied with quick reference guide with probe quality certificate.
Note: Save all packing material until you are sure that the probe works correctly. Any damaged or defective item must be returned in its original packing material with the supplied accessories.
SAFETY MEASURES
General Safety & Installation Recommendations
- Electrical connection, installation, operation, and maintenance must be carried out by specialized personnel only. The specialized personnel must read, understand, and adhere to the instructions in this manual.
- Before connecting the probe to the process controller, disconnect the controller from the power line.
- User serviceable connections are all accessible inside controller’s enclosure.
- Before powering the controller, verify the probe wiring has been done following the instructions detailed in this manual.
GENERAL DESCRIPTION & INTENDED USE
Hanna Instruments® has designed an extensive range of flat surface, industrial pH probes intended for industrial process control when teamed up with the HI510 Universal Process Controller.
- HI1006-18 and HI1016-18 series designed for low conductivity or low-temperature process environments
- HI1006-38 and HI1016-38 series designed for extended pH range or high-temperature process environments
- HI1006-48 and HI1016-48 series designed for process environments where hydrofluoric acid is present
An integral temperature sensor measures water temperature and adjusts the probe signal over the specified temperature range.
The flat tip eliminates deposits that can foul the sensor and significantly reduces necessary maintenance. The PVDF body material is easy to clean and disinfect, and resistant to most chemicals (e.g. solvents, sodium hypochlorite), ultraviolet light, and fungal growth. Suitable for continuous measurement of pH required in applications such as urban wastewater treatment, industrial effluent treatment, and surface water monitoring, the probe (and accessories) can be installed directly in‑line, immersed in a tank, or in a flow cell. The probe is available with an integral connector that permits connections with no twisted cables as cables are connected after installation. Patch cables may be purchased separately to connect between the probe and controller up to 50 meters (164 ft).
MAIN FEATURES
- Rugged, chemically-resistant PVDF body
- Specialized glass sensor for fast stabilization and accurate results
- 3/4” NPT external thread for mounting
- Built-in temperature sensor for measurement and compensation
- Matching pin helps avoid typical problems caused by grounding loop current
- Digital probe stores model, firmware, serial number, and calibration information
SERIES CONFIGURATION

- PTFE junction
- Minimizing the potential for clogging and chemically resistant, PTFE is ideal for samples with high content of suspended solids or for high‑pressure installations.
- Ceramic junction
- Porous, chemically resistant plug connects the reference electrode to the process electrically.
- LT glass
- Suited for fast stabilization and accurate results at lower temperatures.
- HT glass
- Suited for fast stabilization and accurate results at higher temperatures.
- HF glass
- Used in aggressive applications that have fluoride ions (F¯<2 g/L, temperature <60 °C, pH>2) and require fast stabilization and accurate results.
SPECIFICATIONS
HI1006-18zz

PROBE DIMENSIONS & CABLE CONNECTION

- Align the pins and key then push the plug into the socket.

- Rotate the collar to lock in place.
Note: Probe connection (probe with integral DIN connector) and probe wiring (probe with attached cable) must be carried out with the controller disconnected from power.
INSTALLATION
General considerations
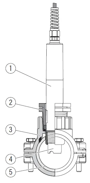
- Probes are easily installed using the 3/4” NPT external thread.
- Hand tighten the probe in position. Then, depending on the process, tighten one or two turns with a wrench to secure in place. Do not exceed 10 N•m (7.3 lb-ft) torque specification for the probe sensor.
- Protect the probe and membrane from strong flow to prevent unstable readings. In turbulent aeration basin installations, place the probe in a weir for more accurate readings.
- Do not install the probe in an upside-down position.
- Provisions must be made for the removal of the probe from the process.
- Consider probe accessibility for maintenance when selecting placement.
Typical installation examples with mounting accessories
- Accessories are sold separately.
- In-line mounting and flow-cell installation require that saddle and flow cell are completely filled with water.
In-line mounting with probe saddle

- Probe
- Probe fitting kit
- Saddle
- Sensor tip
- Pipe
Note: Probe can be rotated to prevent air entrapment inside the electrode.
Mounting accessories

Tank immersion with submersible electrode holder

- Probe cable
- Cable gland
- Electrode holder cap
- Adjustable immersion level
- Electrode holder
- Probe body
- O‑ring, Ø 22.2 mm (0.87”)
- Sensor tip
- Protective end cap
The HI60501 / HI60503 (PVC / PVDF submersible holders) and HI605011 (mounting flange) provide a sturdy housing that prevents the probe from being damaged. For high-temperature/complex chemical processes it is recommended the use of PVDF accessories.
To install the probe
- Unscrew the protective end cap (9). The cap allows for quick and simple probe maintenance and replacement.
- Slide out the electrode holder cap (3).
- Screw the probe into the internally threaded protective cap (9), step I.
- Screw the probe and protective cap subassembly onto the holder (5), step II.
- The probe cable leads up through the holder (5) and out through the cap (3) and cable gland on top (2). The cable is shielded inside the holder to prevent any damage to the insulation.
- Tighten the cable gland (2), step III, and slide the cap (3) back onto the holder (5).
Flow-cell installation
Do not allow deposits of sediment or other foreign material to accumulate within the sensing area.

- Process controller
- Wiring cable
- pH probe
- Flow-cell adapter
- Flow cell
- Flow-cell valves
- Saddle
WIRING THE PROBE TO THE CONTROLLER
- With the controller disconnected from power, run the probe cable through the conduit opening.
- Connect the probe leads to the removable terminal connector marked PROBE. Follow the lead markings (+) positive / (–) negative to ensure correct wiring position for the output leads.
- Carefully put the wired terminal connector into place on the board.
- Position the excess cable through the cable gland before tightening the nut.
- Remove the ground screw and hardware located below the PROBE connector and attach ground lead (
).
Probe cabling color code

- See Accessories section for cable ordering codes.
Note: Ensure wiring regulations are correctly followed when controller unit is part of a larger industrial installation.
CALIBRATION
HI510 Controller allows two types of pH calibration procedures:
- Standard calibration performed in standard buffer solutions
- Hanna Instruments®: 1.68, 4.01, 7.01, 10.01, 12.45 pH
- NIST: 1.68, 4.01, 6.86, 9.18, 12.45 pH
- Process calibration performed with probes calibrated in standards and installed in the process
Standard Calibration
Preparation
- On the controller, go to Channel setup, Probe settings to select required buffer group.
- Up to three pH buffers may be used for a calibration.
At least two buffers are required to determine a pH slope.
Note: It is recommended to select buffers that bracket the expected process pH.
Procedure
One-, two-, or three-point calibration can be performed using buffer solutions selected from one of the two buffer groups. It is generally recommended to use 7.01 or 6.86 pH buffer as first calibration point. When the electrode is immersed into buffer solution, the controller automatically recognizes the buffer value.
- Remove the protective cap.
- Press the
key then CAL virtual key, to enter calibration mode. The first suggested buffer solution “7.01 pH” (using Hanna® buffers) or “6.86 pH” (using NIST buffers) is displayed in the upper left corner of the screen. - Immerse the pH probe approximately 4 cm (1½”) into buffer solution and stir gently. The controller automatically recognizes the standard and the buffer value is displayed.
- When the reading is stable, CFM is displayed. Press CFM to save. “Wait” followed by “Calibration point is accepted and saved” is displayed after the calibration point has been saved and accepted.
- Select Next to continue with a two-point calibration.
- Repeat step 3.
- 4.01 pH buffer value is displayed flashing but it will change to the buffer used once recognized.
- When the reading is stable CFM is displayed. Press CFM to save.
- Select Next, when prompted, to continue with a three-point calibration.
- Repeat step 3 using a third buffer.
- When the buffer is recognized and the reading is stable, CFM is displayed. Press CFM to save calibration. “Calibration DONE” confirmation screen is displayed next. To save a one-point or two-point calibration, select Exit when prompted.
Note: One-point calibration evaluates electrode offset whereas a two‑point or three‑point calibration evaluates both electrode offset and slope.
Process Calibration
- A process calibration is a single point calibration, performed while the probe remains installed in the process.
- Users can adjust the measured process pH value (±0.5 pH) so that it matches the value determined with a reference instrument.
Preparation
- Use a calibrated portable meter and probe to determine the process pH value.
- Process controller and probe should have previously been calibrated with two standards (probe slope determined).
Procedure
- Press the
key then CAL virtual key to enter calibration mode. - Press Process, to enter process calibration.
- Use the
keys to adjust the value to the one determined with the calibrated portable meter. - When the reading is stable, CFM is displayed. Press CFM to save the calibration. “Wait” followed by “DONE” is displayed at the bottom of the screen.
Note: Process calibration evaluates electrode offset.
MAINTENANCE & CONDITIONING
General Maintenance
- Inspect, clean, and calibrate the probe at regular intervals.
- Inspect all connectors for corrosion and replace if necessary.
- Inspect the cable. The connection cable must be intact.
- Calibrate the probe after prolonged storage or cleaning.
- After use rinse the probe with tap water and dry it.
Conditioning
- Remove the protective cap.
- Shake down the probe to eliminate any air bubbles inside the glass bulb.
- If the bulb and/or junction are dry, soak the electrode in HI70300 Storage solution for at least 30 minutes.
- To ensure a quick response time, the glass bulb and the junction should be kept moist and not allowed to dry.
- Install the probe in such a way that it is constantly in the flow cell or the pipe is filled with the sample. This will ensure a quick response and will keep the junction moist.
Cleaning
New probe
- Remove the protective cap.
- Rinse off salt deposits with water.
Probe removed from process
- Rinse the sensor in flowing water then clean by soaking in HI7061 Electrode cleaning solution for general use for 15 minutes or use an application-specific cleaning solution.
- Rinse with water and soak in HI70300 Storage solution for at least 30 minutes before reinstalling it.
- Calibrate before use.
Storage
- When the pH probe is removed from the process for more than 1 hour, fill the protective cap with HI70300 Storage solution and tighten the cap on the sensor. Do not store the probe in distilled or deionized water.
ACCESSORIES
Ordering Information /Product Description

For additional accessories information contact your local sales office.
ABBREVIATIONS
- NBR: Nitrile Butadiene Rubber
- NPT: American National Pipe Standard Taper Pipe Thread
- PTFE: Polytetrafluoroethylene
- PVC: Polyvinyl Chloride
- PVDF: Polyvinylidene Fluoride
CERTIFICATION
All Hanna® instruments conform to the CE European Directives.
Disposal of Electrical & Electronic Equipment. The product should not be treated as household waste. Instead, hand it over to the appropriate collection point for the recycling of electrical and electronic equipment, which will conserve natural resources. Ensuring proper product disposal prevents potential negative consequences for the environment and human health. For more information, contact your city, your local household waste disposal service, or the place of purchase.
RECOMMENDATIONS FOR USERS
Before using this product, make sure it is entirely suitable for your specific application and for the environment in which it is used. Any variation introduced by the user to the supplied equipment may degrade its performance. Do not use or store the product in hazardous environments.
WARRANTY
The probes are warrantied for six months against defects in workmanship and materials when used for its intended purpose and maintained according to instructions. This warranty is limited to repair or replacement free of charge. Damage due to accidents, misuse, tampering, or lack of prescribed maintenance is not covered. If service is required, contact your local Hanna Instruments® office. If under warranty, report the model number, date of purchase, serial number, and the nature of the problem. If the repair is not covered by the warranty, you will be notified of the charges incurred. If the instrument is to be returned to Hanna Instruments, first obtain a Returned Goods Authorization (RGA) number from the Technical Service department and then send it with shipping costs prepaid. When shipping any product, make sure it is shipped back in compliance with shipping regulations, thoroughly cleaned and free of any chemicals, and is properly packaged for complete protection.
Hanna Instruments Inc.,
- 584 Park East Drive, Woonsocket, RI 02895 USA
- www.hannainst.com
Hanna® is committed to developing and deploying digital solutions with a positive impact on the environment and climate.
Please scan the QR code or follow the link to download the HI510 controller user manual. https://manuals.hannainst.com/HI510
MAN10X6-8 07/22



















