T99K1 Virtual Key Kit
Instruction Manual
T99K1 Virtual Key Kit
| DESCRIPTION: | Virtual Key Kit |
| APPLICATION: | Z |
| PART NUMBER(S) | T99K1 6TA01 Virtual Key |
REQUIRED FOR
INSTALLATION: T99F6 4RA0A , Accessory Service Connector – not included in kit above
KIT CONTENTS:
ADDITIONAL SERVICE PARTS NOT INCLUDED IN KIT ABOVE:
| Item | Qty. | Part Description | Service Part Number |
| AAA | 1 | Accessory Service Connector | T99F6 4RA0A |
| BBB | 1 | Pick Up Coil – Required for reprogramming Virtual key to vehicle. | T99K1 6TA04 |
| CCC | 1 | Air Coil – Required for reprogramming Virtual key to vehicle. |

ONLY FOR PROGRAMMING SERVICE PROCESS
| KIT CONTENTS: | |||
| Item | Qty. | Part Description | Service Part Number |
| A | 1 | Virtual Key device | |
| B | 5 | 3M Beta Tape 46 x 89mm❑ | |
| C | 2 | Foam Tape 90 x 60mm | |
| D | 5 | Wire ties | |
| E | 3 | Posi-Taps | |
| F | 2 | Quick Reference Guide | |
| G | 1 | Installation Instruction Website Address | |
| BBB | 1 | Pick up coil – Not part of Virtual key kit, service part only required for reprogramming virtual key. | T99K1 6TA04 |
| CCC | 1 | Air coil – Not part of Virtual key kit, service part only required for reprogramming virtual key. | |
SERVICE
For Firmware Update procedure please go to Appendix C / E.
For Reprogramming Procedure please go to Appendix G.
TOOLS REQUIRED:
- Trim Stick (Nylon)
- #2 Phillips Screw Driver
- Electrical tape
- 10mm socket
- Dealer certified iOS/Android device (with KaaS Admin App).
- Approved access to Immobilizer PIN
- Consult Tool
INSTALLATION CAUTIONS:
CAUTION
- Do not allow the Intelligent Key, which contains electrical components, to come into contact with water. This could severely affect system function. If the Intelligent Key gets wet, immediately wipe moisture from I-Key until completely dry.
- Do not drop the Intelligent Key.
- Do not strike the Intelligent Key sharply against another object.
- Do not change or modify the Intelligent Key.
- Do not place the Intelligent Key in an area where temperatures exceed 140°F (60°C) for any extended period of time.
- Do not attach the Intelligent Key with a key holder that contains a magnet.
- Take care not to scratch or damage any component during the installation process.
- Always follow the sequence of steps as they are shown, improper procedure can damage parts and/or systems.
- Be sure all key fobs for this vehicle have been acquired before proceeding.
- Avoid all other sources of frequency interference such as cell phones, walkie-talkies, radios, etc.
- Do not stop or disconnect CONSULT III plus or VI until after the process has been completed.
- Posi-Tap™ instructions must be specifically followed as described in Appendix A.
- Take care not to scratch or damage any component during removal or re-installation process.
- Trim pieces found to have witness marks or broken clips ARE NOT to be reinstalled.
SECTION 1 – OVERVIEW
1.1) SYSTEM
System Block Diagram
Please refer to Appendix B – Mechanization Drawing.
Wiring connection might vary from vehicle to vehicle.
1.2) VEHICLE
1.3) D-OPT CONNECTOR LOCATION
SECTION 2 – VEHICLE PREPARATION
CAUTION
- Always confirm the ignition is in the “OFF” position before changing the E.S.S. position.
- If E.S.S. is not in Customer Mode, there will be a loss of normal vehicle operation, preventing accessory function check.

2.1) Check Extended Storage Switch Position.
a ) Put shift lever in “P” position for A/T and CVT or “1st” for M/T .
b ) Apply park brake.
c ) Place ignition in “OFF” mode.
d ) Locate Extended Storage Switch in cabin fuse block as shown.
e ) Confirm Extended Storage Switch is in “Customer” (In/Engaged) position.
f ) If ESS is not In/Engaged, then proceed to step
2.2) Changing ESS Position.
a ) To disengage Customer Mode, pull out in A direction as shown.
b ) To engage Customer Mode, press in B direction as shown.
| Condition | Switch Position | Note |
| Vehicle is delivered to the dealer | Transit (OUT) | |
| Vehicle is being stored at the dealer | Transit (OUT) | |
| Vehicle is delivered to customer | Customer (IN) |
2.3) Record Customer Presets.
a ) Place ignition in “ON” mode.
b ) Record the customer radio presets and other presets as required.
| Preset | 1 | 2 | 3 | 4 | 5 | 6 | 7 | 8 | 9 | 10 |
c ) Place ignition in “OFF” mode.
2.4) Move Seats.
a) Move both front seats to full upward and rearward position.
2.5) Disconnect battery terminal.
a) Locate negative battery terminal.
b) Loosen nut with 10mm socket.
c) Lift negative battery terminal off stud.
d) Isolate negative battery terminal.
CAUTION
- Allow an additional 3 min after key off with doors closed for vehicle power to time out.
2.6) Harness preparation.
a) To prevent squeak and rattle, wrap label on harness around harness and secure down with tape.
SECTION 3 – TRIM REMOVAL

3.1) Remove LH Lower Kick Trim
a) Locate LH and RH inner sill plate assembly.
3.2) Remove LH Lower Kick Trim
a) Using trim removal tool at forward end of kick plate, pry kick plate up to disengage clips.
3.3) Remove LH Lower Kick Trim
a) Lift sill plate up as shown to remove.
3.4) Remove LH Lower Dash Side Trim
a) Locate LH Lower Dash Side Trim, as shown.
Use hand to twist and remove Trim Fastener.
b) Set aside for later reinstallation.
Carefully pull Trim towards interior of vehicle to unfasten Pawls, as shown.![]()

3.5) Locate LH D-OPT Connector
a) Locate LH D-OPT Connector taped to main harness bundle.![]()
Note: D-OPT Connector location might vary from vehicle to vehicle.
3.6) Remove Lower IP Trim
a) Use #2 Philips screw driver to remove one screw from bottom of Lower IP Trim.
b) Use trim removal tool to unfasten clips.
c) Carefully let Lower IP Trim hang down to the floor.
![]()
SECTION 4 – PROGRAMMING PROCEDURE (Virtual key to Vehicle)

4.1) Connect virtual key to RH D-opt connector.
a) Using the Accessory service connector connect virtual key device to the D-OPT connector.
b) Using the procedure in Appendix B, connect the red wire on the RCK Device to the red wire on the ASC.
c) Using the procedure in Appendix B, connect the black wire on the RCK Device to the black wire on the ASC.
d) Using the procedure in Appendix B, connect the white wire on the RCK Device to the white wire on the ASC.
4.2) Re-connect battery terminal.
4.3) Download KaaS Admin tool for Installation.
a) Either an Apple iPad or Samsung Galaxy Tab.
4.4) Download KaaS Admin tool for Installation.
a) Search “KaaS Admin Tool” in either Apple or Google Play Store.
b) Download and install the “KaaS Admin Tool” app.
c) Once “KaaS Admin tool” is downloaded proceed to Step 4.5.
NOTE: KaaS Admin app should already be setup using dealer provided credentials.
If this is a new installation go to step 4.5, otherwise skip to reprogramming process (adding or replacing keys) on appendix G.
For best reference, please refer to the videos located in Nissan Virtual Academy or INFINITI University Online by clicking on the “Tech Training Garage Videos” link within the Service Technician view.

4.5) Program Virtual key to Vehicle.
a) To login in to KaaS Admin app, please use the installer credentials sent to your registered email address [NNA net user profile] and select your dealership to continue.
Note: Make sure to use the domain: keycore-nissan.conti
Note: Make sure Sales and KaaS accounts are under the same dealership.
4.6) Program Virtual key to Vehicle.
a) Select setup access, as shown on left. 
4.7) Program Virtual key to Vehicle.
a) Select North America as region of sales.
4.8) Program Virtual key to Vehicle – SCAN.
a) Select how to enter VIN, either enter manually or SCAN using the tablet’s camera.
b) If VIN was scanned, all vehicle information will auto populate in appropriate fields. Go to step 4.10.
TIP: To SCAN the VIN bar code, ensure iOS or Android tablet camera has good visibility and contrast. Glare reflection might cause camera to not SCAN the VIN.
4.9) Program Virtual key to Vehicle – MANUAL ENTRY.
a) Enter vehicle VIN.
b) Enter vehicle MAKE.
c) Enter vehicle MODEL.
d) Enter vehicle YEAR.
e) Press submit.
4.10) Program Virtual key to Vehicle.
a ) Select appropriate answer, for each question.
b ) Does key fob have remote engine start?
Note: Number of questions will depend on the vehicle model and year.
4.11) Program Virtual key to Vehicle.
a ) Select appropriate answer for each question.
b ) Does key fob have a power liftgate button?
c ) If “No” was selected proceed to next step, otherwise go to step 4.13.
NOTE: Power Liftgate is only found in SUV vehicles.
4.12) Program Virtual key to Vehicle.
a ) Select appropriate answer for each question.
b ) Does the key fob have a trunk release button?.
4.13) Program Virtual key to Vehicle.
a ) Confirm Virtual key device is properly connected.
b ) Press ready.
4.14) Program Virtual key to Vehicle.
a ) Select the “Scan device barcode” option and scan the barcode on the virtual key device using the tablet’s camera and go to step 4.16.
If this option doesn’t work go to step b).
b ) Select the “Scan nearby Bluetooth devices” and proceed to next step.
4.15) Program Virtual key to Vehicle.
a ) Select the correct virtual key device, by matching the Bluetooth signal name with virtual key device number.
IMPORTANT: If Device Upgrade pops up go to Appendix C – Automatic Process section![]()

4.16) Program Virtual key to Vehicle.
a ) Confirm the consult tool is correctly plugged in, select the checkbox and press ready.
4.17) Program Virtual key to Vehicle.
a ) Wait for device to finish configuration.
b ) KaaS admin app will automatically go thru preparation and key programming.
4.18) Program Virtual key to Vehicle.
a ) STOP and proceed to key programming with consult tool. DO NOT CHECK THE “Key is programmed” BOX
CAUTION
DO NOT CHECK THE BOX UNTIL VIRTUAL KEY DEVICE HAS BEEN REGISTERED AS A THIRD KEY FOB. IF YOU CHECK THE BOX BY ACCIDENT, PLEASE UNCHECK IT BEFORE PROCEED TO THE NEXT STEP.
4.19) Connecting to the vehicle.
a ) Press and hold Start Button for at least 2 seconds without depressing brake to put vehicle in Key On / Engine Off.
b ) Connect CONSULT III plus tool to vehicle OBD connector as shown.
c ) Turn on hazard switch to prevent BCM from entering into CAN communication sleep mode.
NOTE: Programming process of the Virtual Key is the same as key fobs.
4.20) Virtual key programming instructions.
a) Start CONSULT III plus. Make sure VI is connected. VI serial number will appear in VI section and VI status will change to “Normal Mode” (green color) as shown.
b) If VI is connected to vehicle go to step 4.24 and continue the installation. If VI is not connected proceed to step 4.21.
4.21) RES key fob programming instructions.
a) If VI has not connected to vehicle, click “Select VI/MI” button to connect with vehicle as shown.
4.22) Virtual key programming instructions.
a) Choose VI-2 detected as shown.
b) Ch Click “Connect” as shown.
4.23) Virtual key programming instructions.
a ) Wait until VI-2 firmware update is complete as shown.
4.24) Virtual key programming instructions.
a) CONSULT III plus will change to the home screen automatically when the procedure is complete and VI-2 is connected as shown.
b) Click “Diagnosis (All Systems)” as shown.
c) Wait for systems diagnosis process to complete.
4.25) Virtual key programming instructions.
a) Click “Automatic Selection” as shown.
4.26) Virtual key programming instructions.
a) Review the information on the confirmation screen. If correct, click “Confirm” as shown.
4.27) Virtual key programming instructions.
a) Once you click “Confirm” you will see a system call menu as shown.
4.28) Virtual key programming instructions.
a) Verify there are no DTCs, and click “Erase” button. Follow the prompts which follow.
b) After deleting DTCs, click the “Home” button at the top left of the screen as shown.
4.29) Virtual key programming instructions.
a) Click “Immobilizer” as shown.
NOTE: If during the installation an error occurs with the Consult tool, the Virtual Key device requires to be reset, please refer to Appendix F section for RESET process.
4.30) Virtual key programming instructions.
a ) A precaution screen will appear.
b ) After you have finished reading all the precautions, click “Next” as shown.
4.31) Virtual key programming instructions.
a ) Click “Automatic Selection” as shown.

4.32) Virtual key programming instructions.
a) Review the information on the confirmation screen. If correct, click “Confirm” as shown.
4.33) Virtual key programming instructions.
a) Once you click “Confirm”, you will see a system call menu as shown.
4.34) Virtual key programming instructions.
a) Once the system call is complete, you will enter the Select Operation screen as shown.
Under OPERATION CATEGORY menu, click “When performing key registration” as shown.
4.35) Virtual key programming instructions.
a) Once you click “When performing key registration” a new Contents of Operation selection “Register Key” will be available as shown.
Under Contents of Operations selection, click “Register Key” as shown.
NOTE: To register virtual key is same process as registering key fob. By holding the device near push start switch till registration is complete.
4.36) Virtual key programming instructions.
a) Follow the CONSULT III plus prompts as shown.
4.37) Virtual key programming instructions.
a) Place the front square bump of the virtual key device against the engine start button for it to be programmed to the vehicle.
NOTE: If during this step the Virtual Key Device is not recognized, please refer to Appendix F section to RESET the device.
4.38) Virtual key programming instructions.
a) From outside the vehicle press Lock on Fob 1 and Unlock on Fob 2 and confirm the vehicle responds accordingly as shown in left.
b) From outside the vehicle press Lock on Fob 2 and Unlock on Fob 1 and confirm the vehicle responds accordingly as shown in left.
4.39) Virtual key programming instructions.
a) Check the “Key is programmed” box once virtual key has been programmed to the vehicle using consult tool.
NOTE: If error message is displayed after this step, please retry the Virtual Key device programming.
4.40) Virtual key programming instructions.
a) Key programming has been completed with Consult tool.
b) KaaS admin app will go thru Synchronization, Calibration, and Verification.
4.41) Virtual key programming instructions.
a) Verify all vehicle functions in the KaaS admin app and press DONE once verified.
NOTE: Ensure hazard lights are turned off, key fobs are outside the vehicle and doors are closed before perform functional test.
TIP: Perform Vehicle functions in such order:
- Unlock
- Lock
- Remote Engine Stop
- Trunk release or Trunk lift gate open/close.
- Panic
- Enable engine start button (To be authorized to start vehicle).
- Disable engine start button (Vehicle will not start, “no key detected” message will be displayed on Instrument Cluster).
- If one of the functions fails during this step, please retry. If the problem persist, please call to the support line phone number indicated in the quick reference guide.
- If all functions have been validated with no concern, proceed to next step.

4.42) Virtual key programming instructions.
a) Confirm installation report is complete, press “OK” to return to main screen.
NOTE: Provisioning virtual key to the vehicle has been completed.
If there was no “Device Upgrade” message on step 4.15, go to Appendix E and perform the Firmware Update – Manual Process.
SECTION 5 – INSTALLATION PROCEDURE (Virtual Key Device)

5.1) Virtual key Device Installation
a) Locate flat spot in the area behind the lower IP Panel, metal surface.
b) Wipe back of finisher area clean of any dirt using alcohol/water solution on a soft nonlinking cloth.
c) Let dry for 30 seconds.
5.2) Install Virtual Key Device
a) Carefully remove the lining from double sided tape on back of Virtual key device.
b) Press and hold firmly on virtual key device to attach to carpet floor, apply 15lbs of pressure for 30 seconds.
5.3) Route Wire Harness
a) Route Virtual key device harness to the (LH) Accessory Service Connector.
b) Secure the virtual key device harness to the vehicle harness bundle with a zip tie as shown on the left
5.4) Route and bundle harness
a) Carefully coil excess wire harness into bundle as shown. Tighten bundle with a cable tie.
b) Wrap a piece of foam tape around Posi-tap connections as shown.
Tuck wire harness bundle into the area behind the lower kick trim.
SECTION 6 – TRANSFER VIRTUAL key to Customer (Sales to Customer)

6.1) Download/Install Virtual key app.
a) Have customer search “Nissan Virtual key”, on their smartphone device in either Apple or Google Play Store.
b) Download and install Nissan Virtual key app.
6.2) Create Virtual key account.
a) If customer does not have an account, have them sign up for a new virtual key account.
Go to next step.
b) If customer already has an existing account have them sign-in using their credentials (email address and password) and go to step 6.4.
6.3) Create Virtual key account.
a) Have customer enter all the required information to sign up for account: Name, Email, Mobile Phone, and Password.
b) Check terms and conditions box.
c) Press create new account.
NOTE: For security purposes, Virtual key app is equipped with double password verification, customer will need to access the email address they provided to retrieve the confirmation code.
6.4) Receive vehicle.
a) After logging in, have customer go to settings.
b)
c)
6.5) Transfer Virtual key to Customer.
a) Have customer select receive vehicle option from the settings menu in Virtual key app as shown on left.
6.6) Transfer Virtual key to Customer.
a) From the sales account, select the vehicle required to transfer to customer, this will start the transfer process.
b) If vehicle does not show up in the inventory menu, enter VIN which you want to transfer to new owner.
Vehicle list should show up on the screen, as shown on the left.
6.7) Transfer Virtual key to Customer.
a) Press “Transfer this vehicle to a new owner”.
6.8) Transfer Virtual key to Customer.
a) Scan QR code from customer phone.
6.9) Transfer Virtual key to Customer.
a ) Confirm VIN and License plate number match vehicle information.
a ) Press “Confirm transfer”.
6.10) Transfer Virtual key to Customer.
a ) Confirm message to the left is displayed to verify successful transfer.
b ) Press “Return to main screen”.
6.11) Transfer Virtual key to Customer.
a) Have customer enter name of vehicle and license plate number (optional).
b) Have customer press “Confirm receival” button.
6.12) Transfer Virtual key to Customer.
a) Confirm “Receival Complete” shown in left.
Have customer press “Return to main screen” button.
NOTE: Make sure customer’s phone has Bluetooth turned on, first time connection to the vehicle will be between 15-20s. Reconnection time to the vehicle will be between 7-10s.
APPENDIX 7 – REINSTALL
7.1) Reinstall Trim.
a) Reinstall trim pieces that were removed in section 3.
APPENDIX 8 – FINAL CHECK
CAUTION
- Take care not to scratch or damage any component during removal or re-installation process. Trim pieces found to have witness marks or broken clips should be replaced with new parts.
8.1) Complete Checklist:
- Tighten Negative battery terminal nut to 5.4 N·m (47.8 lb·in).
- Verify shift lever lock is engaged by checking with vehicle off, so shift lever can NOT be moved out of “P”(Park).
- Turn ignition to the “ON” mode to confirm proper operation of vehicle systems:
- There are no new Diagnostic Trouble Codes.
- Verify all windows and sunroof (if equipped) one touch operation and perform the reset procedure if necessary. Refer to the vehicle service manual for more details.
- Tail Lamp – Turn on headlamps. Open glove box and confirm light turns on.
- Confirm proper audio function (AM, FM, SAT, CD, and AUX).
- Re-program radio presets and other vehicle settings to the recorded settings if necessary.
- Verify vehicle headliner, seat, steering wheel, center console, carpet, etc. are not soiled.
- Verify interior and exterior are not damaged.
- After vehicle transfer, please verify that end user app can perform all key fob functions on their Nissan Virtual key app, make sure there are no keyfob inside the vehicle.

Lock.
Unlock.
Panic.
Remote Engine Start (If apply).
Trunk release / Power back door (If apply).
Enable engine start button (To be authorized to start vehicle). - If this vehicle will be returned to a dealer lot or showroom for an extended period of time, be sure the tended storage switch is placed in the “inventory” position.
APPENDIX A – POSI-TAP PROCEDURE

A.1) Installing Posi-Tap™ on Accessory Service Connector (AAA).
a ) Identify and confirm ASC wire to be tapped.
Check color as well as connector location.
B ) Separate wire from rest of bundle.
CAUTION
● Do not overtighten Posi-Tap, it may damage wire
A.2) Installing Posi-Tap™ on ASC (AAA).
a ) Remove pierce cap (A) gray side from tap body (B).
b ) Slide cap around single wire to be tapped.
c ) Position cap < 10 mm away from heat shrink end of connector.
d ) Turn tap (B) clockwise until finger “tight”.
Then secure to cap (A) with another ¼ turn.

A.3) Installing Posi-Tap™ on ASC (AAA).
a ) Inspect Posi-Tap™ to ensure correct installation.
b ) Wire jacket should be crushed enough to maintain pressure.
c ) Confirm tap cap gap is straight and evenly spaced around perimeter.
A.4) Installing Accessory wire into Posi-Tap™.
a ) Remove tap bottom (C) red side from tap body (B).
b ) Remove the pre cut insulation from correct Accessory wire.
c ) Insert wire through tap bottom (C) opening.
Fan out individual wire strands as shown.
Insert wire into tap body until it bottoms out.
d ) Turn tap bottom (C) clockwise until finger “tight”. Then secure to tap body (B) with another ¼ turn.
A.5) Installing accessory wire into Posi-Tap™.
a ) Confirm tap bottom gap is straight and evenly spaced around perimeter.
b ) Gently pull on wire to confirm secure connection.
A.6) Accessory wire strain relief.
a ) Measure ≥ 15 mm from point (A).
Gently form loop at point (B) and bend back up towards Posi-Tap™ (bend radius ≥ 10mm).
b ) Gently form loop at point (C) and bend back over top of Posi-Tap™ and down opposite side (bend radius ≥ 10mm). 
A.7) Accessory wire strain relief.
a ) Secure accessory wire strain relief to tap body with electrical tape (≥ 2 revolutions).
b ) Once accessory wire strain relief is taped to tap body, it should look as shown.
A.8) Installing Posi-Tap™ on ASC (AAA).
a ) Repeat steps A.1 – A.8 for all other wires requiring Posi-Tap™.
A.9) Securing multiple Posi-Taps™ together.
a ) Stack Posi-Taps™ in slightly staggered fashion as shown.
b ) Secure tapped circuits together with electrical tape (≥ 2 revolutions).
A.10) Securing multiple Posi-Taps™ together.
a ) Once tapped circuits are secured together with electrical tape they should look as shown.
A.11) Securing multiple Posi-Taps™ together.
a ) Secure Posi-Taps™ together with electrical tape (≥ 4 revolutions).
A.12) Securing multiple Posi-Taps™ together.
a ) Once Posi-Taps™ are secured together with electrical tape they should look as shown.
A.13) Securing multiple Posi-Taps™ together.
a ) To prevent any possible noise or rattle issues, use two pieces of Foam Tape, Gray (H) to wrap pre-taped Posi-Taps™.
A.14) Securing multiple Posi-Taps™ together.
a ) Once wrapped with Foam Tape, taped Posi Tap™ bundle should look as shown.
APPENDIX B – MECHANIZATION DRAWING
B.1) Figure below applies to the RCK device connected to the RH ASC

| CONNECTOR PN# | T99F6 4RA0A |
| CONNECTOR NAME | ACCESSORY SERVICE CONNECTOR |
| CONNECTOR COLOR | WHITE |

LEGEND
Note: Pin location is referenced looking into harness side of connector with lock tab oriented as shown.
APPENDIX C – INSTALLATION PROCEDURE (Virtual Key Device)

C.1) Automatic Upgrade Process.
a ) Select both boxes as shown on the left and press “Ready”.
C.2) Automatic Upgrade Process.
a ) Await until uploading process is complete.
NOTE: Estimated waiting time will be shown at the bottom of the screen.
C.3) Automatic Upgrade Process.
a ) Await until the installation is complete.
b ) Return to the step 4.15 on Section 4.
APPENDIX D – TRANSFER VEHICLE TO SALES ACCOUNT

NOTE: This section is only to transfer the vehicle back to the dealership Sales account from Customer account before Firmware update, RESET and/or Reprogramming.
D.1) Transfer vehicle back to dealership sales account.
a ) From customer app, go to the setting menu.
b ) Select the transfer vehicle option.
D.2) Transfer vehicle back to dealership sales account.
a ) Press the transfer this vehicle to someone else button.
D.3) Transfer vehicle back to dealership sales account.
a ) From the sales app, go to the settings menu.
b ) Select the receive vehicle option.
D.4) Transfer vehicle back to dealership sales account.
a ) Scan QR code from customer phone.
D.5) Transfer vehicle back to dealership sales account.
a ) Confirm the name and license plate number of the vehicle and hit the “Confirm receival” button.
b ) From sales app return to the main screen.
D.6) Transfer vehicle back to dealership sales account.
a ) From customer app return to the main screen.
D.7) Transfer vehicle back to dealership sales account.
a ) From the Sales account confirmed the VIN it’s on the main screen of the app.
APPENDIX E – FIRMWARE UPDATE – Manual Process

NOTE: Make sure the vehicle was previously transferred back to Sales account, please refer to appendix D.
E.1) Firmware Update – KaaS Admin App.
a ) To login in to KaaS Admin app, please use the installer credentials sent to your registered email address [NNA net user profile] and select your dealership to continue.
Note: Make sure to use the domain: keycore-nissan.conti
Note: Make sure Sales and KaaS accounts are under the same dealership.
E.2) Firmware Update – KaaS Admin App.
a ) Select vehicle list, as shown on left. 
E.3) Firmware Update – KaaS Admin App.
a ) Stay inside the vehicle and don’t leave until the process is complete.
b ) Enter the VIN in the search box.
c ) Or select vehicle from list, by matching with vehicle VIN to the VIN displayed in Kaas Admin tool app.
d ) Select the “Operations” option on the next screen.
E.4) Firmware Update – KaaS Admin App.
a ) Under Operation, select FOTA as shown on left.
E.5) Firmware Update Complete – KaaS Admin App.
a ) Select Firmware package and wait until update it’s complete.
b ) Once package is installed, you can move away from the car and close the KaaS Admin app.
c ) Go to Step 5.1 on Section 5 to complete the installation procedure.
d ) For servicing process, transfer the vehicle back to the customer, go to the steps 6.4 – 6.11 on section 6.
APPENDIX F – RESET PROCESS – Before reprogramming or after failed installation)

NOTE: This section is only for the RESET of the Virtual Key Device. Make sure the vehicle was previously transferred back to Sales account, please refer to appendix D.
F.1) RESET the Virtual Key Device.
a ) To login in to KaaS Admin app, please use the installer credentials sent to your registered email address [NNA net user profile] and select your dealership to continue.
Note: Make sure to use the domain: keycore-nissan.conti
Note: Make sure Sales and KaaS accounts are under the same dealership.
F.2) RESET the Virtual Key Device.
a ) If vehicle already has virtual key and need to be reprogrammed, select vehicle list, as shown on left. 
F.3) RESET the Virtual Key Device.
a ) Enter vehicle name in the search box.
b ) Or select vehicle from list, by matching with vehicle VIN to the VIN displayed in Kaas Admin tool app.
c ) Select the “Operations” option on the next screen.
F.4) RESET the Virtual Key Device.
a ) Under Operation, select RESET as shown on left.
b ) Click on the arrow in the upper left corner to go back to the main screen.
c ) After the reset process of the Virtual Key Device is complete, go to Section 4 – step 4.6 to program the Virtual Key.
APPENDIX G – REPROGRAMMING PROCESS (Adding or replacing keys)

NOTE: Make sure the vehicle was previously transferred back to Sales account (see appendix D) and has been reset (see appendix F) before reprogramming.
G.1) Reprogram Virtual key to Vehicle.
a ) To login in to KaaS Admin app, please use the installer credentials sent to your registered email address [NNA net user profile] and select your dealership to continue.
Note: Make sure to use the domain: keycore-nissan.conti
Note: Make sure Sales and KaaS accounts are under the same dealership.
G.2) Reprogram Virtual key to Vehicle.
a ) Select setup access, as shown on left.
b ) Follow the instructions as shown on steps 4.6 – 4.18.
G.3) Reprogram Virtual key to Vehicle.
a ) Press and hold Start Button for at least 2 seconds without depressing brake to put vehicle in Key On / Engine Off.
b ) Connect CONSULT III plus tool to vehicle OBD connector as shown.
c ) Turn on hazard switch to prevent BCM from entering into CAN communication sleep mode.
d ) Follow the CONSULT III plus prompts as shown on steps 4.20 – 4.36.
G.4) Reprogram Virtual key to Vehicle.
a ) Wrap a piece of electrical tape around the air coils as shown on the left.
b ) Connect pick up coil harness (BBB) to the air coil (CCC).
G.5) Reprogram Virtual key to Vehicle.
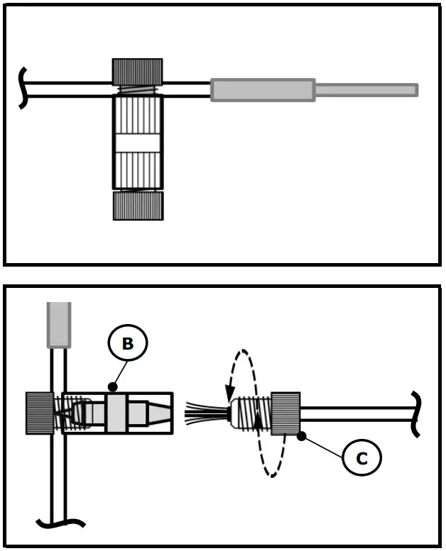
a ) Attach air coil (CCC) to the virtual key device, as shown in Fig a).
b ) Hold the pick up coil (BBB) near the IGN SW button as shown in Fig b) to reprogram virtual key to vehicle.
G.6) Reprogram Virtual key to Vehicle.
a ) Follow the CONSULT III plus prompts as shown.
G.7) Removing the air coil.
a) Hold the Virtual Key Device with one hand as shown in left.
b) Carefully pull on the electrical tape upwards until the coil is removed.
G.8) Reprogram Virtual key to Vehicle.
a ) From outside the vehicle press Lock on Fob 1 and Unlock on Fob 2 and confirm the vehicle responds accordingly as shown in left.
b ) From outside the vehicle press Lock on Fob 2 and Unlock on Fob 1 and confirm the vehicle responds accordingly as shown in left.
c ) Return to the step 4.39 on Section 4.
20220926_T98K1 6GP1AxII_Z


















