D-304677 PowerG 2-Way Wireless Shock and Contact
Detector with Hardwired Input
Instruction Manual
PG9935(E)/PG8935/PG4935
PowerG 2-way Wireless Shock and Contact Detector with Hardwired Input Installation Instructions
Operation
The PGx935 series are 2-way shock detectors with an optional shock accumulation feature and auxiliary input. The PGx935 fits windows, doors, walls or roofs and is ideal for residential or commercial installations.
Features:
- Optional shock accumulation/vibration sensor.
- Built-in link quality indicators reduce installation time by eliminating the need for the installer to physically approach the control panel.
- Reed switch with a magnetic anti-masking sensor.
- Optional auxiliary input for connecting other hardwired devices. Use only UL/ULC burglary listed devices.
- Digital display enables fast and easy shock level adjustment
- Full remote configuration eliminates the need to physically access the shock detector.
- Remote view of Low Battery, front and back Tamper, Supervision.
- An LED lights when alarm or tamper events are reported.
Low-Battery Detection
The PGx935 includes low-battery condition detection. When this condition is detected a troubling message is transmitted to the compatible receiver/control panel. This will provide visual identification of the unit that requires a battery change. For UL commercial burglary installations replace batteries yearly.
Device Setup
CAUTION! This product uses Lithium Batteries. Improper handling of lithium batteries may result in HEAT GENERATION, EXPLOSION or FIRE, which may lead to personal injuries. Caution! To be installed by service personnel only.
WAR NIN G! DANGER OF EXPLOSION IF BATTERIES ARE INSTALLED INCORRECTLY. REPLACE ONLY WITH THE SAME OR EQUIVALENT TYPE RECOMMENDED BY THE MANUFACTURER. DISPOSE OF USED BATTERIES ACCORDING TO THE MANUFACTURER’S INSTRUCTIONS. KEEP AWAY FROM SMALL CHILDREN. IF SWALLOWED PROMPTLY SEE A DOCTOR.
Do not try to recharge these batteries.
Note: Battery replacement should be done by the installer. For use in indoor, non-hazardous locations only.
Note: To ensure the continued operation of all wireless devices after performing a system default, a global upload of all wireless programming via DLS is recommended before defaulting the system. After completing the system default, download the wireless programming.
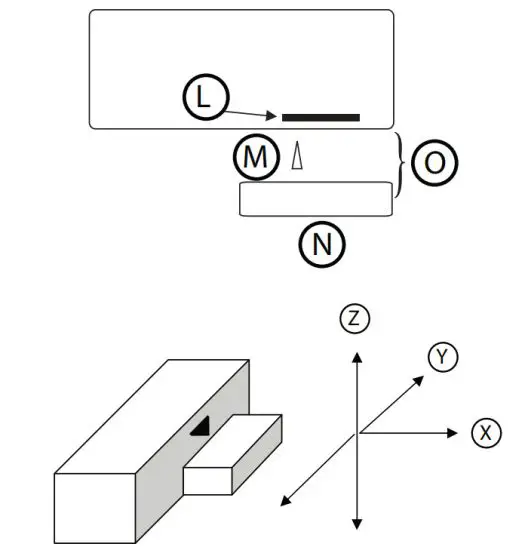
Legend
| A. Auxiliary input terminals | J. Up and down buttons |
| B. Back tamper switch | K. LED |
| C. Battery clips | L. Reed switch on the underside of PC Board (in unit) |
| D. Back tamper break-away segment | M.Symbol on side of the case indicates the location of the reed switch |
| E. Digital display | N. Magnet |
| F. Front tamper switch | O. 1/4″ space maximum (6mm) |
| G. Enroll button | P. 2.2 kΩ resistor |
| H. LED | Q. N.C. switch |
| I. Reed switch | R. N.O. switch |
Installing the battery

- Insert a flat-edged screwdriver into the slot and push upward to remove the cover.
- Remove the screw and separate the cover from the base.
- Observe polarity and install the battery.
- Connect the sensor wire to the terminal block.
Note: When manually programming wireless devices, if a device has been powered up for more than 48 hours it cannot be enrolled into the system until the device has been tampered with and restored. When programming the panel using the Quick Enroll procedure follow the steps detailed in Enroll the Device into the System.
Note: After restoring low battery trouble the system may take up to 5 minutes to clear the trouble.
Enrolling the device into the system
Refer to the PowerSeries Neo Host Installation Manual or iotega Reference Manual for the enrollment procedure.
Placement testing
Before permanently mounting any wireless device, temporarily mount the device and perform a placement test.
- Tamper the device by removing the cover.
- Replace the cover to restore the tamper and the device will stay in placement mode for 15 minutes.
- Trip the device by opening the door or window and verifying the red LED blinks, indicating detection.
- After 2 seconds the LED blinks 3 times. The following table indicates received signal strength.
| LED response | Signal Strength |
| Green LED blinks | STRONG |
| Orange LED blinks | GOOD |
| Red LED blinks | POOR |
| No blinks | No communication |
IMPORTANT! Only GOOD or STRONG signal strengths are acceptable. If you receive a POOR signal from the device, relocate it and re-test until a GOOD or STRONG signal is received.
Note: For UL/ULC installations, only STRONG signal levels are acceptable.
After installation verifies the product functionality in conjunction with the compatible receivers.
Note: For detailed placement, instructions refer to the control panel Reference Guide.
Gap Separation

| Metallic (Ferrous) Materials | Nonmetallic/Metallic (nonferrous) Materials | |||
| Direction of Movement of the Magnet | Approach/ Make | Remove/ Break | Approach/ Make | Remove/ Break |
| Axis X | 9 mm (.35″) | 11 mm (.43″) | 22 mm (.86″) | 25 mm (.98″) |
| Axis Y | 8 mm (.31″) | 13 mm (.51″) | 23 mm (.90″) | 7mm (.28″) |
| Axis Z | 25 mm (.98″) | 23 mm (.90″) | 27 mm (1.06″) | 30 mm (1.18″) |
| Recommended maximum gap separation for installation (on specified materials and axes of use) is 6 mm (0.24″). | ||||
Mounting the Device
Assess the best mounting position for the device based on the desired level of protection and consider locations where a strong shock impact is expected. Install the device in accordance with the guidelines presented in this manual. For UL/ ULC listed installations, use only the mounting screws provided. The device is intended to be installed on doors with or without glass inserts and on window frames but not on the actual glass surface. For magnetic contact detection, it is highly recommended to attach the detector to the door/window on the fixed frame and the magnet to the movable part (door or window). Locate the magnet not more than 6 mm (0.25 in.) from the detector’s marked side. Adjust the shock sensitivity setting at the final mounting position (refer to section “Shock Detector Local Calibration”). Test the sensitivity of the unit by gently hitting (using the palm of your hand) the surface on which the device is installed. Gradually increase the pressure until the desired response is obtained. Ensure that the device is not triggered by accidental vibration (e.g., wind, birds, insects) hitting the protected window or surface. Normal traffic or operation of the door/window should not trip the shock sensor. When testing the sensitivity of the unit, do not cause stress or damage to the mounting surface or to the glass.
- Secure the base to the mounting surface using the two supplied screws.
CAUTION! Do not use double-sided tape, as this will insulate the detector from vibrations. - Mount the magnet near its location mark with 2 screws.
WARNING: In order to avoid personal injury while testing sensitivity, do not apply pressure to glass inserts or windows. Note: Removing the cover transmits a tamper message to the system. When removing the battery press the tamper switch or after replacing the battery the Tamper Restore message will not be transmitted to the system and the alert will not be cleared. Attention! The unit has an optional back tamper switch under the PCB. The switch lever will be pressed against a special break-away base segment that must be fastened to the wall. Forcibly removing the detector from the wall breaks the base segment, opening the tamper switch. Note: For UL Commercial burglary installations the back tamper is required.
Configuration
The following programmable options are available:
Alarm LED – Default [ON]
Enables/disables the device LED to activate when an alarm event occurs.
Reed Switch – Default [OFF]
Enables/disables the reed switch.
External Input – Default [OFF]
Enables/disables the external input on a shock sensor.
Supervision – Default [ON]
Enables/disables supervision of the device.
Shock Accumulation – Default [OFF]
Enables/disables the Shock Accumulation feature.
Selections
Zone EOL – Default [01]
Configures auxiliary input as one of the following options:
[00] Disabled
[01] Single EOL
[02] Normally Open
[03] Normally Closed
Sensor Threshold – Default [08]
Enter the 2-digit threshold from 01 (very weak) – 19 (very strong).
Shock Detector Local Calibration
The PGx935 can only be locally calibrated when the device is in Local Diagnostics mode (first 15 minutes after opening the cover). To calibrate when not in local diagnostics mode reset the device by closing the tamper switch.
Note: Disable the accumulation parameter while testing the threshold. If, after activating the display no buttons are pressed within 20 seconds, the display turns off.
- Turn on the digital display by pressing the Up or Down but The letter “G” appears for 3 seconds, then a menu allowing you to select the threshold from a range of 1-19. If the letter “E” appears there is no communication link between the unit and control panel and no changes shall be performed.
- Change the threshold by pressing the Up or Down The lower the threshold, the higher the sensitivity. Use the lowest thresholds for harder materials, such as concrete.
- For aid in selecting a threshold, while the menu is active, knock on the surface with the required force to trip the The power of the detected knock will be presented on the display as a blinking number for 3 seconds. The number should be in the range of I to 19, where 1 is very weak (requiring higher sensitivity) and 19 is very strong (requiring less sensitivity). If no number displays, no shock was detected from the knock. If a hyphen displays, the knock exceeds the highest threshold of the detector.
- Repeat the same test several times.
- Once you have entered the desired value set the threshold by pressing the Up and Down buttons simultaneously.
- The detector now moves to the Accumulated menu, (shown as “A” on the display). Press the Up or Down buttons to Enable or Disable (“I” or “0” respectively on the display). Set by pressing the Up and Down buttons simultaneously.
- If the letter “E” appear on the display, then there is no communication link between the unit and control panel.Verify that the control panel has power.
Wiring the auxiliary input
- Connect the auxiliary sensor contacts across the auxiliary input terminals.
- If the auxiliary input is defined as a Normally Closed (N.C.) type, series-connected N.C. sensor contacts must be used An E.O.L. resistor will not be required.
- If the auxiliary input is defined as a Normally Open (N.O.) type, parallel-connected N.O. sensor contacts must be used An E.O.L. resistor will not be required.
- For E.O.L. supervision: Normally Closed (N.C.) sensor contacts can be used. A 2.2 Kit E.O.L. resistor must be wired at the far end of the zone loop.
Note: For UL installations, the device connected to the initiating circuit must be located in the same room as the transmitter. The drawing below illustrates a N.O. and N.C. alarm circuit with an EOL resistor.
Note: An alarm message is transmitted once the loop is opened or short-circuited.
Note: For ULJULC installations connect only UL/ULC listed devices to the auxiliary wiring input.
Event Indications
LED Indications | Event |
| Red LED ON 0.2 sec. | Tamper open / close |
| Red on 2 sec. | Shock |
| Red on 2 sec. | Open close door |
| Red on 2 sec. | Open close Aux input |
Specifications
Frequency Band (MHz) – CE Listed PG4935: 433MHz; CE listed PG8935: 868MHz; FCC/IC/UL/ULC listed PG9935(E): 912-919MHz
Communication Protocol: PowerG
Alarm Input: One auxiliary
Supervision: Signaling at 4-min. intervals
Tamper Alert: Reported when a tamper event occurs
Battery type: 3V Lithium CR-123A type battery, consumer-grade.
Note: For UL installations use Gold Peak (GP) and Panasonic CR-123A batteries only.
Battery Life Expectancy: up to 5 years only with all sensors enabled (for typical use at room temperature). Not tested by UL/ULC.
Door frame height: typical 7ft to 8ft (213 to 244 cm) 1/2
Door frame width: typical 1ft to 4ft (30.5 to 122 cm) 1/2
Door frame thickness: 11/2″ to 13/4″ (3.8 to 4.4 cm)
Window/glass insert size: any size that will fit within the door frame listed above. Install the contact so that a door or window cannot be opened more than 2″ (5.1cm) without causing an alarm condition.
Temperature range: -10°C to +55°C (UL/ULC verified 0°C to +49°C)
Relative Humidity: max. 93%RH, non-condensing (UL/ULC verified max 85%RH)
Auxiliary Input Cable Length: 10m max. AWG22
Auxiliary Input EOL Resistor: 2.2 KΩ
Dimensions: (LxWxD) 118x27x30 mm (4-5/8 x 1-1/8 x 1-3/16 in.)
Weight (including battery): 130g (4.6 oz)
Compatible Receivers
This device can be used with DSC panels and receivers that use PowerG technology.
For UL/ULC installations use this device only in conjunction with compatible DSC wireless panels/receivers: WS900-19, WS900-29, HSM2HOST9, HS2LCDRF(P)9, HS2ICNRF(P)9, and PG9920.
UL/ULC Notes
The PG9935(E) has been listed by UL for commercial and residential burglary applications and by ULC for residential burglary applications in accordance with the requirements in the Standards UL 634 and ULC/ORDC634 for Door and Window Contact.
SIMPLIFIED EU DECLARATION OF CONFORMITY
Hereby, Tyco Safety Products Canada Ltd declares that the radio equipment type is in compliance with Directive 2014/53/EU. The full text of the EU declarations of conformity for the models mentioned below are available at the following internet addresses:
PG4935 – http://dsc.com/pdf/1401014
PG8935 – http://dsc.com/pdf/1401037
Frequency Band / Maximum Power
g1 433.04MHz – 434.79MHz/10mW
h1.4 868.0MHz – 868.6MHz/10mW
h1.5 868.7MHz – 869.2MHz/10mW
European single point of contact: Tyco Safety Products, Voltaweg 20, 6101 XK Echt, Netherlands
FCC COMPLIANCE STATEMENT
WARNING! Changes or modifications to this unit not expressly approved by the party responsible for compliance could void the user’s authority to operate the equipment.
This device has been tested and found to comply with the limits for a Class B digital device, pursuant to Part 15 of the FCC
Rules. These limits are designed to provide reasonable protection against harmful interference in residential installations. This equipment generates uses and can radiate radio frequency energy and, if not installed and used in accordance with the instructions, may cause harmful interference to radio and television reception. However, there is no guarantee that interference will not occur in a particular installation. If this device does cause such interference, which can be verified by turning the device off and on, the user is encouraged to eliminate the interference by one or more of the following measures:
- Re-orient or relocate the receiving antenna.
- Increase the distance between the device and the receiver.
- Connect the device to an outlet on a circuit different from the one that supplies power to the receiver.
- Consult the dealer or an experienced radio/TV technician. This equipment complies with FCC and IC RF radiation exposure limits set forth for an uncontrolled environment.
This device complies with FCC Rules Part 15 and with Industry Canada licence-exempt RSS standard(s).
Operation is subject to the following two conditions: (1) This device may not cause harmful interference, and (2) this device must accept any interference that may be received or that may cause undesired operation.
WARNING! To comply with FCC and ISED Canada RF exposure compliance requirements, the PIR detector should be located at a distance of at least 20 cm from all persons during normal operation. The antennas used for this product must not be co-located or operated in conjunction with any other antenna or transmitter.



















