iNTERLiNE SPS, CPS Series Speed Clean Comfort Sand Filter System

Self-priming SWIMMING POOL PUMP

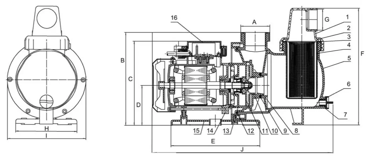
| no | Description |
| l | Pre-filter cover |
| 2 | Pre- filter nut |
| 3 | Pre-filter 0-ring seal |
| 4 | Pre-filter |
| 5 | Casing |
| 6 | Purging plug |
| 7 | Purging plug seal |
| 8 | Front plate |
| 9 | Washer |
| JO | Diffuser |
| 11 | Air-screw |
| 12 | 0 -ring |
| 13 | Rear plate |
| 14 | Motor assembly plate |
| 15 | Motor |
| 16 | Connection box |
Dimensions
A: 65,?mm C: 190 mm E:200mm G:47,8 mm I: 175 mm
B : 210 mm D:90mm F:265 mm H: 136,5 mm J:407,5 mm

TECHNICAL CARACTERISTICS
| COD. | Hmax (m) | H nom (m) | Voltage (V) | lm put power(W) | Current (A) | rpm | Qmax (m3 /h) | Qnom (m3/h) |
| SPS 50 | 7,5 | 4 | 220-240 | 250 | 1.14 | 2900 | 7 | 4.5 |
| SPS 75 | 9 | 4 | 220-240 | 450 | 2.05 | 2900 | 8,5 | 6 .5 |
| SPS 100 | 10 | 4 | 220-240 | 550 | 2,5 | 2900 | 9,5 | 8 |
| CPS 40-2 | 6,5 | 4 | 220-240 | 200 | 0,9 | 2900 | 4,5 |
Self-priming swimming pool pump
This mode allows making a correct installation with optimal results of your swimming pool pump. Carefully read this instruction manual.
Your new pump is a one-stage self-priming, centrifugal pump, designed for use with a swimming-pool filtering system. It is designed to be used with clean water for temperatures between 5 °C and 35 °C. It is manufactured from high quality materials subject to strict hydraulic and electrical tests. A correct installation of this pump is assured by following the instructions from this manual. We decline all responsibility for damages caused by use different to that explained in this instruction manual.
IMPORTANT
This manual contains basic information on the safety measures to be adopted during installation and startup.
The fitter and the user must therefore read the instructions before installation and start-up.
GENERAL SAFETY REGULATIONS
- The machines indicated in this Manual are especially designed for the pre-filtering and recirculation of water in swimming pools
- Install them in line with the specific instructions for each installation
- All modifications to the pump require prior authorisation from the manufacturer. Original spare parts and accessories authorised by the manufacturer ensure greater safety. The pump manufacturer is exempt from all liability regarding any damage caused by unauthorised spare parts or accessories.
- When working on each machine or on the units linked to them, disconnect the unit from lhe power supply and the startup devices, as the electrical parts of the pump are live during operation.
- All assembly and maintenance work must be carried out by qualified and authorised personnel who have carefully read the installation and service instructions.
- To guarantee safety when operating the machine, you must comply with that set out in the installation and service instructions
- In the event of defective operation or faults, contact your supplier or nearest representative.
- If the supply cord is damaged, it must be replaced by the manufacturer or its service agent or a similarly qualified person in order to avoid
- Make sure that water is unable to enter the motor or the live electncal parts
- Avoid contact at all times – even accidentally – with moving machine parts while the machine is running and/or before it comes to a complete standstill
- Wait for the machine to come to a halt before handling it
- Before any electrical or mechanical maintenance operation, disconnect the unit from the power supply and block the start-up devices.
- To reduce risk of injury, children should not use this product.
- Do not bury the electric cable Lay the cable so it cannot be damaged by machinery, like mowing machines, etc.
- Do not start the pump before it is correctly connected to the swimming pool.
- To reduce risk of electric shock, change the electric cable immediately when damaged.
- To reduce risks of electric shock, do not use extension cables to connect the pump to a power supply. Connect it to a correctly installed electricity outlet.
- Do not use the pump without water’
INSTALLATION
- Only authorised and qualified personnel should install the pump and its cabling, respecting the current legislation.
- The pump should be installed horizontally, screwing it to the support, to avoid vibration and unwanted noise.
- The pump should be installed far from any corrosive or flammable products.
- The pump should have sufficient drainage to avoid risk of flooding and should be protected from excessive humidity.
- Install independent water inlet and outlet valves.
- Allow for sufficient access space for pump maintenance and make sure that the technical plate of the pump is visible.
- During the installation of the pump, position ii so there is 1 meter of free space around ii.
ELECTRICITY
- Place the motor on the floor before connecting it to the mains. Otherwise, the motor could cause a serious and even mortal electric shock. Do not place it on the floor over a gas pipe.
- To avoid a dangerous or mortal electric shock, disconnect the power supply of the motor before working on the electrical connections.
- If it short-circuits, this will indicate there is an electricity problem. If it short-circuits and cannot be restarted, ask a qualified electrician to verify and repair the electrical system.
- The pump should be powered from an insulated transformer or via a circuit breaker or residual-current device of 30mA maximum.
- The power supply should exactly correspond to the voltage indicated on the plate of the motor. Incorrect voltage could provoke a fire and/or damage the motor, and would cancel the guarantee. In case of doubt, check with an electrician.
- The electric cable is included and comes with a “Y” connection. If it is necessary to replace the electricity cable, the new cable should also be of the appropriate type. The guarantee will be cancelled in the case of any unauthorised modification of the components.
- The electrical installation has to be according to current legislation.
- If the electrical cable is damaged, the manufacturer, its agent, or any other qualified person should replace it to avoid any damage.
- The pump is equipped with complete thermal protection. Follow the assembly diagram below for correct electrical installation.

- The electrical installation should be done by someone qualified in working with electrical equipment.
This equipment is not designed for those with physical, sensory or mental handicap or people lacking in experience, unless done under supervision or with instructions of use from a person in charge of safety.
Do not permit children nor adults to sit or lean on the equipment. Children should be supervised to ensure that they do not play with the equipment. - Adjust the value of the thermal relay appropriately depending on the pump current.
- Unsuitable mains connections involve the risk of electrocution
Assembly of pipes
- The pipes should be assembled before and after the pump and should have diameters equal of above those of the pump inlet. To avoid fiction loss, always use 50mm minimum diameter PVC pipe.
Increase the diameter for larger pipes. - The suction and expulsion pipes should never stay connected to the pump.
- Well seal all the connections and the cover of the pump to avoid possible water leaks into the motor, which could damage it
Tests before starting the pump
Carry out the following operations before starting the pump
- Check that the power supply as well its frequency correspond to the information of pump specification plate.
- Before starting the pump, fill it with water for self-priming of the pump.
- Check that the mains voltage and frequency correspond with those indicated on the pump characteristics plate
- The pump can continuously work.
Starting the pump
Start the pump only when the suction and expulsion tubes are connected to the inlet and outlet of the pump. Check there are no obstacles in the pipes.
Maintenance and cleaning
- Your new pump does not need any specific or programmed maintenance In the case that the pump is not used during some time, we recommend dismantling it and cleaning it to be kept in a dry and well-aired place
- If the electrical cable is damaged, the manufacturer, its agent, or any other qualified person to avoid any danger should replace it to avoid any dangers.
- Regularly clean your pump, removing any dirt from the filer so the inlet pipe is not blocked or the pump damaged.
- Pump components that, due to their normal use, suffer wear and/or tear must be regularly replaced to ensure good pump performance.
- For regular control:
- Check that the mechanical parts are tightly secured and check the condition of the screws supporting the machine.
- Check that the power conductors and isolating parts are in their correct position, are secure and in a good state of repair.
Check the temperature of the machine and the electric motor. In the event of a fault, stop the machine immediately and contact the nearest Technical Assistance Service. - Check for machine vibrations. In the event of a fault, stop the machine immediately and contact the nearest Technical Assistance
| Symptoms | Causes | Solution |
|
The pump does not work | There is no power supply | Use another device that works lo check the electricity outlet and check the short-circuit switches |
| It has short-circuited | Check the short-circuit switches and replace them if necessary | |
| The automatic thermal cut-out of the pump has activated to protect it | Cut the power supply and leave to cool before re- starting the pump. Make sure the pump and motor have sufficient ventilation space. Make sure that the pump is not obstructed by dirt and the motor can turn freely | |
| The motor has burnt out due to a power supply overload or flooding | You may have to change the motor. | |
| The pump is blocked (check 1f the motor turns freely) | Blockage in the pump or in the basket | |
| The valves are closed | Check the system to make sure that the valves are in the correct position for filtering , including the inlet and outlet valves of the pump. | |
| The filter is full of dirt | Cleaner filter | |
| The pump works with reduced or no flow |
Air in the system | Start the pump (see starting procedure). Check to see there are no suction air leaks in the pipes or in the connections. Make sure that the lid of the basket is well closed and hermetically sealed. Check there are no leaks under the pump. |
| Lack of water | Make sure that the water level is at least at the height of the skimmer. | |
| Dirt in the pump or in the skimmer. {Note: Do not make the pump work without the pump or skimmer basket correctly assembled. | Make sure the pump or skimmer baskets are not full of dirt Make sure there is no blockage at the inlet or outlet of the pump or make sure there are no foreign objects in the pump. | |
| Leak between the casing of the pump and the motor. | The screws of the casing are not tightened. The watertight or metallic gasket is worn. | Cut-out the pump and loosen the screws. check the alignment and the condition of the water-tight gaskets before tighten the screws replace the gaskets if necessary. |
| Pre-filler cover | The cover is not correctly closed | Make sure the lid correctly compresses the O-ring seal. |




















