caple OI363 Orbit Island Hood Instruction Manual
WARNING
- The appliance is not intended for use by young children or infirm persons without supervision. Young children should be supervised to ensure they do not play with the appliance.
- The cooking surface and the inferior part of the cooker hood must be at a minimum distance of 65 cm.
- The extracted air can’t be conveyed through or into a duct used to let out fumes from appliances fed by energy other than electric power (eg. centralized heating, radiators, water-heaters, etc.).
- To evacuate the air outlet, please comply with the pertaining rules given by competent authorities.
- Provide the room with an adequate aeration when a cooker hood and appliances fed by energy other than electric power (gas, oil, or coal stoves, etc.) are used simultaneously. The cooker hood, when evacuating the extracted air, could generate a negative pressure in the room which can’t exceed the limit of 0.04 mbar, in order to avoid the suck of exhausts deriving from the heat source. Therefore the room should be provided with air-intakes to allow a constant flow of fresh air.
- When performing the electrical connections on the appliance, please make sure that the current tap is provided with earth connection and that voltage values correspond to those indicated on the rating label placed inside the appliance itself.
- Before carrying out any cleaning or maintaining operations, the appliance needs to be removed from the electric grid. If the appliance is not provided with a non-separable flexible cable and plug, or with another device ensuring omnipolar disconnections from the grid, with an opening distance between the contacts of at least 3 mm, then such disconnecting devices must be supplied within the fixed installation.
- If the fixed appliance is endowed with a supply cord and a plug, the appliance has to be put in a place where the plug can be reached easily.
- The use of materials which can burst into flames should be avoided in close proximity of the appliance.
When frying, please pay particular attention to fire risk due to oil grease. Being highly inflammable, fried oil is especially dangerous. Do not use uncovered electric grills.In order to avoid possible fire risk, all instructions for grease-filter cleaning and for removing eventual grease deposits should be strictly followed. - This appliance complies with all relevant local and national safety requirements. Inappropriate use can, however, lead to personal injury and damage to property.
- The cooker hood is not intended for outdoor use.
- It must only be used as a domestic appliance to extract vapours and remove odours from cooking. Any other usage is not supported by the manufacturer and could be dangerous.
- Where a recirculation cooker hood is fitted above a gas hob, please ensure that there is an adequate supply of fresh air into the room in which it is installed. Please seek the advice of a qualified gas fitter (e.g. GasSafe in the UK) if necessary.
- Children under 8 years of age must be kept away from the cooker hood unless they are constantly supervised.
- Children 8 years and older may only use the cooker hood.
- unsupervised if they have been shown how to use it safely and recognise and understand the consequences of incorrect operation.
- The electrical safety of this appliance can only be guaranteed when correctly earthed. It is essential that this standard safety requirement is met. If in any doubt please have the electrical installation tested by a qualified electrician.
- Do not connect the appliance to the mains electricity supply by a multi-socket unit or an extension lead.
These are a fire hazard and do not guarantee the required safety of the appliance - The cooker hood can get very hot during cooking due to heat rising from the hob.
- Do not touch the housing or the grease filters until the cooker hood has cooled down.
APPROPRIATE USE
- This appliance is intended to be used in household and similar applications such as:
- Staff kitchen areas in shops, offices and other working environments.
- Farm Houses.
- By clients in hotels, motels and other residential type environments.
- Bed and breakfast type environments.
ENVIRONMENTAL PROTECTION
Waste electrical products should not be disposed of with household waste. Please recycle where facilities exist. Check with your Local Authority or retailer for recycling advice. This appliance is marked according to the European directive on Waste Electrical and Electronic Equipment (WEEE).
By ensuring this product is disposed of correctly, you will help prevent potential negative consequences for the environment and human health, which could otherwise be caused by inappropriate waste handling of this product. The symbol on the product indicates that this product may not be treated as household waste. Instead it shall be handed over to the applicable collection point for the recycling of electrical and electronic equipment. Disposal must be carried out in accordance with local environmental regulations for waste disposal.
For more detailed information about treatment, recovery and recycling of this product, please contact your local council, your household waste disposal service or the retailer where you purchased the product.
WARRANTY
Your new appliance is covered by warranty. The warranty card is enclosed – if it is missing, you must provide the following information to your retailer in order to receive a replacement: date of purchase, model and serial number. Registration can also be completed online by visiting www.caple.co.uk.
Ensure you keep your warranty card safe, you may need to show it to Caple Service together with proof of purchase. If you fail to show your warranty card you will incur all repair charges.
Spare parts are only available from Caple Service and spare parts authorised centres.
CE DECLARATIONS OF CONFORMITY
Radio Equipment Directive (RED) 2014/53/EU.
This Declaration is issued under the sole responsibility of the manufacturer.
Hereby, Caple declares that the radio equipment included in the product is in compliance with the RED directive 2014/53/EU.
The full text of the EU Declaration of Conformity is available on our website www.caple.co.uk.
UKCA DECLARATIONS OF CONFORMITY
This appliance has been manufactured to the strictest standards and complies with all applicable legislation.
TECHNICAL FICHE
This appliance conforms to all current and applicable energy regulations. To view the Technical Fiche that supports the energy labelling data, please visit the product page on our website www.caple.co.uk.
USES
The appliance is already arranged both for re-circulation and ducted installation.
- In Recirculation mode (Fig.1), the air and fumes conveyed by the appliance are cleaned both by a grease filter and by an active charcoal filter, and put again into circulation through the side grids of the chimney. For this version an air deflector is placed in the upper part of the chimney allowing air recycling as necessary.
- In ducted mode (Fig.2), fumes are directly conveyed outside, through an evacuation duct connected from the extractor to the outside. Both charcoal filter and air deflector are not necessary in this case.

INSTALLATION
Before installing the appliance, make sure that none of the parts are damaged in any way. In case of damaged parts, contact your retailer and do not proceed with installation.
Read all of the following instructions with care before installing the appliance:
- If venting the hood, use an air outlet pipe of the shortest possible length.
- Limit the number of pipe bends.
- Use a duct of recognised and approved material.
- Avoid any abrupt changes of direction and use a duct with a diameter of 150mm constant over the entire length.
NOTE:
For more information on venting, please see our ‘Extraction & Ventilation guide’ available at
www.caple.co.uk
ATTENTION: AT LEAST TWO PEOPLE ARE NEEDED TO PERFORM THE INSTALLATION.
Before installing the appliance, in order not to damage the appliance itself, the metal grease filter should be removed.
This can be removed by pushing the special filter handle toward the back side of the cooker hood and pulling it downwards so to unfasten it from its slot (Fig.3).
Before fixing the hood, place the electric feed correctly into the ornamental tube and create a hole for air evacuation if installing in vented/ducted mode.
DUCTED VERSION
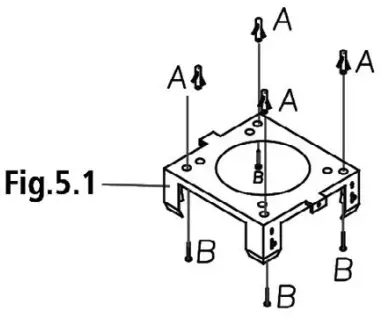
- Place the top fixing bracket (Fig.5.1) on the ceiling. Drill 4 holes, 8mm each, next to the slots.
- Insert the plastic dowels into the holes (Fig.5.1A) and screw the top fixing bracket to the ceiling (Fig.5.1B).
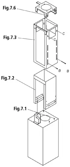
- Fasten the lower structure (Fig.7.2) to the hood by making sure its holes and the metric-thread screws welded on the fan support coincide (Fig.7.1).
- Insert the washers and nuts provided and screw with an appropriate tool.
- Connect the ducting to the power unit ducting spigot and fix securely with a hose clamp.
- Insert the upper structure (Fig.7.3) into the lower structure and adjust its height as required by matching it with the hob’s minimum height.
- Tighten the two structures securely with the screws provided (Fig.7.3B).
- Insert the two extension tubes from above (Fig.7.4 slots into Fig.7.5), adjust the two structures to get them to the appropriate level. Lift the hood together with the structure and the chimney sections to make the four springs (Fig.7.6) hook to the slots (Fig.7.3C).
- Then tighten the two elements securely (Fig.6.1 & Fig.6.2) with the safety screws (Fig.6.2A) and connect the ducting to the underside of the top fixing bracket (Fig.6.2B).
- Make the electrical connections.
- Lift the upper tube (Fig.7.5) up to the ceiling and insert the two self-tapping screws (Fig.7.5D).
RECIRCULATING VERSION
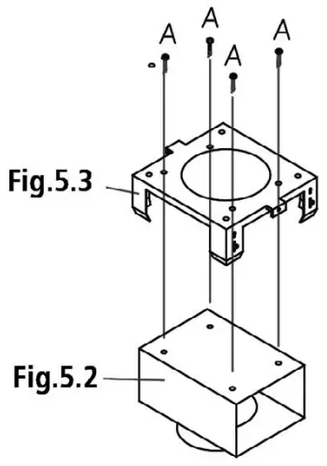
- Place the top fixing bracket (Fig.5.1) on the ceiling. Drill 4 holes, 8mm each, next to the slots.
- Insert the plastic dowels into the holes (Fig.5.1A). Fix the air deflector (Fig.5.2) to the top fixing bracket (Fig.5.3) with the four self tapping screws provided (Fig.5.3A).
- Screw the top fixing bracket to the ceiling together with the air deflector (Fig.5.1B).
- Fasten the lower structure (Fig.7.2) to the hood by making sure its holes and the metric thread screws welded on the fan support coincide (Fig.7.1).
- Insert the washers and nuts provided and screw with an appropriate tool.
- Connect the ducting to the power unit ducting spigot and fix securely with a hose clamp.
- Insert the upper structure (Fig.7.3) into the lower structure and adjust its height as required by matching it with the cooking top’s minimum height.
- Tighten the two structures securely with the screws provided (Fig.7.3B).
- Insert the two extension tubes from above (Fig.7.4 fits into Fig. 7.5), adjust the two structures to get them to the appropriate level. Lift the hood together with the structure and the chimney sections to make the four springs (Fig. 7.6) hook to the slots (Fig.7.3C).
- Then tighten the two elements securely (Fig.6.1 & Fig.6.2) with the safety screws (Fig.6.2A) and connect the ducting to the air deflector.
- Make the electrical connections.
- Lift the upper tube (Fig.7.5) up to the ceiling and insert the two self-tapping screws (Fig.7.5D).
WARNING:
Before connecting the flexible exhausting pipe to the motor, make sure the stop valve, which is on the air outlet of the motor, can open and close freely.
INSTALLATION IMAGES





REMOTE CONTROL
Remote control used for the remote operation of Caple island hoods:
TECHNICAL DATA
Alkaline battery powered: 12V mod. 27A
Operating frequency: 433.92 Mhz
Combinations: 32.768
Max. consumption: 25 mA
Operating temperature: -20 ÷ + 55 °C
Dimensions: 120 x 45 x 15 mm
OPERATION
The remote is equipped with 5 buttons for cooker hood management, as specified below:
Light ON/OFF command.
Motor ON (speed level 1) / OFF command.
Reduce speed.
Increase speed.
10-minute timer
INITIAL OPERATING CONDITION
The manufacturer supplies the radio control unit ready to be used with preset codes.
STANDARD CONFIGURATION:
Standard configuration requires all cooker hood remote controls to be provided with the same transmission code. In the event two cooker hoods radio control system are installed in the same room or nearby, each system may affect the operation of the another. Therefore, the code of one radio control system must be changed.
GENERATING A NEW TRANSMISSION CODE:
The radio control system is provided with preset codes. Should new codes be required, proceed as follows: Press simultaneously buttons:
![]()
for two seconds. When LED’s light on, press buttons:
![]()
![]()
(within 5 seconds). LED’s flashing 3 times indicate the procedure is completed.
WARNING:
This operation permanently deletes the preset codes.
LEARNING THE NEW TRANSMISSION CODE:
Once the transmission code is changed in the remote control unit, the electronic central unit of the cooker hood must be made to set the new code in the following way:
Press the main power-off button on the hood and then restore power to the electronic control unit. Within the next 15 seconds, press the Light Button to synchronise the central unit with the code.
RESET OF THE FACTORY CONFIGURATION:
To restore the Factory configuration, follow the procedure described below: simultaneously press buttons
![]()
for 2 seconds. When LED’s light on, press buttons
![]()
![]()
(within 5 seconds). LED’s flashing 6 times indicate the procedure is completed.
WARNING: This operation permanently deletes the preset codes.
EMERGENCY BUTTON:
In the event that the remote control does not work, use the emergency button to switch the appliance off.
After any necessary repairs have been performed, reset the emergency button.
WARNING:
The battery should be replaced every year to guarantee the optimal range of the transmitter. To replace the battery, take the plastic lid off, remove the battery and replace it with a new one, observing the correct battery polarities. Used batteries should be discarded in special collection bins.
WARNING:
Any adjustments or modifications which have not been expressly approved by the holder of the legal conformity certificate may invalidate the user’s rights relating to the operation of the device.
The products are endowed with an electronic device which automatically switches the product off after 4 hours working from the last operation.
TIMING
- This product is equipped with intelligent electronics which include a timer device for speed controls when the air capacity exceeds 650m³/h. Internal motor models, with maximum air capacity higher than 650m³/h, are equipped with a timer device that automatically switches the speed from 4th to 3rd speed, after 5 minutes operation.
- External motor models are equipped with remote motors that, as for internal motor versions, include a timer device that switches down the speed when it exceeds 650 m³/h. (See External Motors Instructions). Remote motors, whose air capacity exceeds 650m³/h at both 4th and 3rd speed, will have the following by default timer control functions: The speed is automatically switched from 4th to 2nd speed, after 6 minutes operation.
- If the appliance is working at 3rd speed, it is automatically switched to 2nd speed, after 7 minutes operation. Operation speeds can also be changed during operation. The energy consumption of the appliance in standby mode is lower than 0.5W.
CLEANING AND MAINTENANCE
- Accurate maintenance guarantees good functioning and long lasting performance.
- Particular care must be made when handling the grease filter panel. It can be removed by pushing its handle toward the back-side of the cooker hood and turning the filter downwards so to unfasten it from its slot (Fig.3A). To insert the filter just perform the opposite operation.
- The grease filter needs cleaning regularly by hand or in the dishwasher, at least every two months or more depending on use.
NOTE:
If washing the grease filter in the dishwasher, wash separately to prevent food particles becoming trapped in the filter mesh. - When the appliance is used in recirculating mode, the active charcoal filter (Fig.8Z) needs to be periodically replaced. The charcoal filter can be removed by removing the grease filter first (Fig.3A), and by pulling its special plastic tongue until it is unfastened from its slot.
Reinsert the charcoal filter by performing the opposite operation. - The active charcoal filter will need replacing depending on the use, but at least every six months. To purchase replacement charcoal filters please visit www.caple.co.uk.
- To clean the appliance itself, tepid water and neutral detergent are recommended, while abrasive products should be avoided. For steel appliances specialised detergents are recommended (please follow the instructions indicated on the product itself to obtain the desired results).
- The LED lights must be replaced only by a qualified person.
- If the supply cord is damaged, it must be replaced by the manufacturer or its service agent or a similarly qualified person in order to avoid a hazard.

Caple Service Fourth Way Avonmouth Bristol
BS11 8DW
T: 0117 938 1900
E: [email protected]
www.caple.co.uk





















