
Fall Protection
OSHA 1910.140/OSHA 1926.502
EZ-Line Horizontal Lifeline System
Instruction Manual
SAFETY INFORMATION
Please read, understand, and follow all safety information contained in these instructions, prior to the use of this product. FAILURE TO DO SO COULD RESULT IN SERIOUS INJURY OR DEATH.
These instructions must be provided to the user of the equipment. Retain these instructions for future reference.
Intended Use:
This product is used as part of a complete Fall Protection system.
Use in any other application including, but not limited to, material handling, recreational or sports-related activities, or other activities not described in these instructions, is not approved by 3M and could result in serious injury or death.
This product is only to be used by trained users in workplace applications.
WARNING
This product is used as part of a complete Fall Protection system. All users must be fully trained in the safe installation and operation of their complete Fall Protection system. Misuse of this product could result in serious injury or death. For proper selection, operation, installation, maintenance, and service, refer to all instruction manuals and manufacturer recommendations. For more information, see your supervisor or contact 3M Technical Services.
To reduce the risks associated with using a Horizontal System which, if not avoided, could result in serious injury or death:
- Inspect the product before each use and after any fall event, in accordance with the procedures specified in these instructions.
- If inspection reveals an unsafe or defective condition, remove the product from service immediately and clearly tag it “DO NOT USE”. Destroy or repair the product as required by these instructions.
- Any product that has been subject to fall arrest or impact force must be immediately removed from service. Destroy or repair the product as required by these instructions.
- Ensure that Fall Protection systems assembled from components made by different manufacturers are compatible and meet all applicable Fall Protection regulations, standards, or requirements. Always consult a Competent or Qualified Person before using these systems.
- The product must only be installed as described in its instruction manuals. Installations and use outside the scope of these instruction manuals must be approved in writing by 3M.
- Before installing, ensure that the installation methods and the product will not interfere with electric lines, gas lines, or other critical materials or systems.
- Ensure the product is configured and installed properly for safe operation as described in these instructions.
- Do not exceed the number of allowable users specified in these instructions.
- Do not twist, tie, knot, or allow slack in the lifeline.
- Do not connect to the system while it is being transported or installed.
- Use caution when installing, using, or moving the product as moving parts may create pinch points.
- The Metal Energy Absorber must be mounted so it can pivot and move freely. Secure the Metal Energy Absorber to the structure or stanchion as specified in these instructions.
- Always maintain control of the crank handle when adding or removing tension from the system.
- Ensure the crank handle is in the resting position while the system is in use.
To reduce the risks associated with working at height which, if not avoided, could result in serious injury or death:
- Your health and physical condition must allow you to safely work at height and to withstand all forces associated with a fall arrest event. Consult your doctor if you have questions regarding your ability to use this equipment.
- Never exceed allowable capacity of your Fall Protection equipment.
- Never exceed the maximum free fall distance specified for your Fall Protection equipment.
- Do not use any Fall Protection equipment that fails inspection, or if you have concerns about the use or suitability of the equipment. Contact 3M Technical Services with any questions.
- Some subsystem and component combinations may interfere with the operation of this equipment. Only use compatible connections. Contact 3M Technical Services before using this equipment in combination with components or subsystems other than those described in these instructions.
- Use extra precautions when working around moving machinery, electrical hazards, extreme temperatures, chemical hazards, explosive or toxic gases, sharp edges, abrasive surfaces, or below overhead materials that could fall onto you or your Fall Protection equipment.
- Ensure use of your product is rated for the hazards present in your work environment.
- Ensure there is sufficient fall clearance when working at height.
- Never modify or alter your Fall Protection equipment. Only 3M, or persons authorized in writing by 3M, may make repairs to 3M equipment.
- Before using Fall Protection equipment, ensure a written rescue plan is in place to provide prompt rescue if a fall incident occurs.
- If a fall incident occurs, immediately seek medical attention for the fallen worker.
- Only use a full body harness for Fall Arrest applications. Do not use a body belt.
- Minimize swing falls by working as directly below the anchorage point as possible.
- A secondary Fall Protection system must be used when training with this product. Trainees must not be exposed to an unintended fall hazard.
- Always wear appropriate Personal Protective Equipment when installing, using, or inspecting the product.
- Never work below a suspended load or worker.
- Always maintain 100% tie-off.
Always ensure you are using the latest revision of your 3M instruction manual. Visit the 3M website or contact 3M Technical Services for updated instruction manuals.
If you have any questions about the product or this instruction manual, please contact 3M Technical Services. The contact information for 3M Fall Protection is provided on the back cover of this instruction manual.
PRODUCT OVERVIEW:
Figure 1 illustrates the 3M™ DBI-SALA® EZ-Line™ Horizontal Lifeline (HLL) system. The HLL System is secured between two anchorage points and provides connections for up to two users as part of a Fall Arrest or Restraint system.
Figure 2 illustrates components of the EZ-Line Horizontal Lifeline. The Lifeline (A) extends from the Housing (B) and serves as the body of the EZ-Line Horizontal Lifeline. Carabiners (D) on either end of the device secure the Horizontal Lifeline between two anchorage connection points. The Output Shafts (E) serve as separate locations for the Crank Handle (C) to be inserted, which controls extension, retraction, and tensioning of the Lifeline.
After the system is installed, the Attachment O-Rings (G) serve as anchorage connection points through which the user may connect to the system. The Attachment O-Rings enable the user to work along the length of the Horizontal Lifeline. The Impact Indicator (F) enables the user to verify that the system has not experienced a fall arrest (or other force of equivalent or greater strength) during use. If the Impact Indicator is activated, then the user should remove the system from service immediately.
See Table 1 for more information on Component Specifications.

Prior to installation and use of this equipment, record the product identification information from the ID label in the Inspection and Maintenance Log (Table 2) at the back of this manual.
Table 1 – Product Specifications
System Specifications:
| System Specifications: | |||||||||||||||
| Capacity: | Two persons maximum per span, with a combined weight (including clothing, tools, etc.) of no more than 310 lb. (140 kg) per person. A maximum of six users may be attached to the system. þ Some system applications may require the user to reduce the number of users per span. All capacity requirements for your system application must be observed. | ||||||||||||||
| Anchorage: | The anchorage structure to which the HLL System is secured must be rigid. The use of deformable anchors may require additional fall clearance. See Figure 15 for reference. The structure to which the HLL System is secured must be capable of withstanding the following forces along the indicated axes:
| ||||||||||||||
| Span Length: | Single-span system: 0 – 60 ft. (0 – 18.29 m) Multi-span system: 0 – 60 ft. (0 – 18.29 m) with a Rolled Metal Energy Absorber installed on the end of the system opposite the housing. | ||||||||||||||
| Standards: | Designed and tested to conform to the requirements of OSHA 29 CFR 1910.140 and 1926.502. | ||||||||||||||
| Connecting Subsystems: |
Use of HLL systems should always comply with applicable regulations and should always keep free fall to a minimum. All connecting subsystems must meet all applicable local and regional requirements. | ||||||||||||||
| Operating Temperature: | -58°F to 140°F (-50°C to 60°C) | ||||||||||||||
Component Specifications:
| Figure 2 Reference | Description | Material | Figure 2 Reference | Description | Material |
| Lifeline | 1/4-in. wire rope, 7×19 galvanized steel | Output Shafts | Steel | ||
| Housing | Low-density polyethylene | Impact Indicator | Zinc-plated steel | ||
| Crank Handle | Steel, aluminum, plastic | Attachment O-rings | Zinc-plated steel | ||
| Carabiner | Zinc-plated high tensile alloy steel | ||||
| Performance Specifications: | |
| Energy Absorber: | Peak Dynamic Pullout Load: 2,500 lbf (11.1 kN) Average Dynamic Pullout Load: 2,000 lbf (8.9 kN) Maximum Pullout (Cable Length): 4 ft. 6 in. + 60 ft. (1.4 m + 18.3 m) Minimum Tensile Strength: 5,000 lbf (22.2 kN) |
| Minimum Breaking Strength: | 5,000 lbf (22.2 kN) for the HLL System |
PRODUCT APPLICATION
1.1 PURPOSE: Horizontal Lifeline (HLL) Anchorage Systems provide multiple anchorage connection points for Fall Arrest and Restraint systems along the entire length of the lifeline. They use a flexible anchor line installed between two anchorage connectors, and are equipped with one or more energy absorbent to limit forces on the system and absorb energy in a fall arrest.
1.2 STANDARDS: Your product conforms to the national or regional standards identified on the front cover of these instructions. If this product is resold outside the original country of destination, the re-seller must provide these instructions in the language of the country in which the product will be used.
1.3 SUPERVISION: Horizontal Lifeline systems must be installed and used under the supervision of a Qualified Person.
1.4 TRAINING: This product must be installed and used by persons trained in its correct application. These instructions are to be used as part of an employee training program as required by national, regional, or local standards. It is the responsibility of the users and installers of this equipment to ensure they are familiar with these instructions, trained in the correct care and use of this equipment, and are aware of the operating characteristics, application limitations, and consequences of improper use of this equipment.
1.5 RESCUE PLAN: When using this equipment and connecting subsystems, the employer must have a written rescue plan and the means to implement and communicate that plan to users, authorized persons, and rescuers. A trained, onsite rescue team is recommended. Team members should be provided with the equipment and techniques necessary to perform a successful rescue. Training should be provided on a periodic basis to ensure rescuer proficiency. Rescuers should be provided with these instructions. There should be visual contact or means of communication with the person being rescued at all times during the rescue process.
SYSTEM REQUIREMENTS
2.1 ANCHORAGE: Anchorage requirements vary with the Fall Protection application. The mounting structure on which the equipment is placed must meet the Anchorage specifications defined in Table 1.
2.2 CAPACITY: The user capacity of a complete Fall Protection system is limited by its lowest-rated maximum capacity component. For example, if your connecting subsystem has a capacity that is less than your harness, you must comply with the capacity requirements of your connecting subsystem. See the manufacturer instructions for each component of your system for capacity requirements.
2.3 CONNECTING SUBSYSTEMS: Connecting subsystems (self-retracting devices, energy-absorbing lanyards, lifeline subsystems, etc.) must be suitable for your application. Refer to the subsystem manufacturer instructions for additional information.
2.4 ENVIRONMENTAL HAZARDS: Use of this equipment in areas with environmental hazards may require additional precautions to prevent injury to the user or damage to the equipment. Hazards may include, but are not limited to: high heat, chemicals, corrosive environments, high voltage power lines, explosive or toxic gases, moving machinery, sharp edges, or overhead materials that may fall and contact the user or equipment. Contact 3M Technical Services for further clarification.
2.5 LIFELINE HAZARDS: Ensure the lifeline is kept free from all hazards including, but not limited to: entanglement with users, other workers, moving machinery, other surrounding objects, or impact from overhead objects that could fall onto the lifeline or users.
2.6 COMPONENT COMPATIBILITY: 3M equipment is designed for use with 3M-approved components and subsystems only. Substitutions or replacements made with non-approved components or subsystems may jeopardize compatibility of equipment and may affect the safety and reliability of the complete system.
2.7 CONNECTOR COMPATIBILITY: Connectors are compatible with connecting elements when the size and shape of either component does not cause the connector to inadvertently open, regardless of orientation. Connectors must comply with applicable standards. Connectors must be fully closed and locked during use.
3M Connectors (snap hooks and carabiners) are designed to be used only as specified in each instruction manual. Ensure connectors are compatible with the system components to which they are connected. Do not use equipment that is non compatible. Use of non-compatible components may cause the connector to unintentionally disengage (see Figure 3). If the connecting element to which a connector attaches is undersized or irregular in shape, a situation could occur where the connecting element applies a force to the gate of the connector (A). This force could then cause the gate to open (B), disengaging the connector from the connecting element (C).
2.8 MAKING CONNECTIONS: All connections must be compatible in size, shape, and strength. See Figure 4 for examples of inappropriate connections. Do not attach snap hooks and carabiners:
A. To a D-Ring to which another connector is attached.
B. In a manner that would result in a load on the gate. Large-throat snap hooks should not be connected to standardize D-Rings or other connecting elements, unless the snap hook has a gate strength of 16 kN (3,600 lbf) or greater.
C. In a false engagement, where size or shape of the connector or connecting element is not compatible and, without visual confirmation, would seem to be fully engaged.
D. To each other.
E. Directly to webbing or rope lanyard or tie-back material, unless the instruction manuals for both the lanyard and connector specifically allow such a connection.
F. To any object whose size or shape does not allow the connector to fully close and lock, or that could cause connector roll-out.
G. In a manner that does not allow the connector to align properly while under load.

INSTALLATION
3.1 OVERVIEW: Installing a Horizontal Lifeline (HLL) System is a multi-step procedure that requires planning and awareness of the worksite. In summary, the basic procedure for installing the HLL System is as follows:
- Prepare the anchorage connection points for the system.
- Connect the HLL System between the two anchorage connection points.
- Secure the connecting subsystem to the HLL System.
System installation will have a significant impact on fall clearance requirements. If the system is not prepared with fall clearance requirements in mind, then it may be necessary to impose limits on system use.
3.2 PLANNING: Plan your Fall Protection system before starting your work. Account for all factors that may affect your safety before, during, and after a fall. Consider all requirements and limitations specified in these instructions.
A. ANCHORAGE PLACEMENT: The anchorage connection points used by the system must be prepared before the HLL System can be installed. This may mean securing anchorage connectors to the anchorage structure or even preparing the anchorage structure itself beforehand. Both anchorage connection points must be set at approximately the same elevation level, such that the HLL System has a slope of 5 degrees (5°) or less.
It is recommended that anchorages are prepared for overhead positioning of the HLL System, since overhead positioning will help minimize fall clearance requirements.
Whenever possible, design the system for Restraint applications rather than Fall Arrest.
B. CONNECTING SUBSYSTEM: Users of the HLL System may connect Energy-Absorbing Lanyards and Self-Retracting Devices (SRDs) to the system. All connecting subsystems used must meet all requirements specified in Table 1 and be approved for use with HLL systems. Fall clearance requirements will vary with the connecting subsystem used.
All connecting subsystems used should be kept as short as possible. This applies to both overall length of the subsystem and its extended length during use. Longer energy-absorbing lanyards will experience greater free fall and require more fall clearance. SRDs with greater overall length will weigh more and place more stress upon the system.
Ensure all requirements of your connecting subsystem are met before using the system. For more information, refer to the manufacturer instructions of your connecting subsystem.
3.3 SWING FALLS: Swing Falls occur when the anchorage point is not directly above the point where a fall occurs. The force of striking an object in a swing fall may cause serious injury or death. Do not permit a swing fall if injury could occur. Minimize swing falls by working as directly below the anchorage point as possible. See Figure 5 for reference. The Required Fall Clearance (FC) of the user increases as User Work Radius (W) increases, since the total fall distance will be greater than if the user had fallen directly below the anchorage point.
3.4 SHARP EDGES: The HLL System must always be installed so that the horizontal lifeline does not come into contact with sharp edges or abrasive surfaces during use. All sharp edges and abrasive surfaces within reach of the system should be covered with protective material (A). See Figure 6 for reference.
If it is not feasible to cover the sharp edge or abrasive surface, then a minimum setback distance must be maintained from the unprotected edge or surface. Additionally, connecting subsystems used with the HLL must be rated for Leading Edge applications. To prevent cutting action during a swing fall, the user must stay within 30 degrees perpendicular of the HLL System during use. Minimum setback distance requirements are listed according to system span in the table below.
| System Span (B) | Minimum Setback Distance | System Span (B) | Minimum Setback Distance |
| ≤ 10 ft. (3.05 m) | 4 ft. 0 in. (1.22 m) | ≤ 40 ft. (12.19 m) | 8 ft. 11 in. (2.72 m) |
| ≤ 20 ft. (6.10 m) | 5 ft. 6 in. (1.68 m) | ≤ 50 ft. (15.24 m) | 10 ft. 8 in. (3.25 m) |
| ≤ 30 ft. (9.14 m) | 7 ft. 2 in. (2.18 m) | ≤ 60 ft. (18.29 m) | 12 ft. 5 in. (3.78 m) |

3.5 SELECTING A CLEARANCE CHART: Users should begin by selecting their connecting subsystem type. The user should then follow the instructions specific to that connecting subsystem to determine what fall clearance chart to use.
All Required Fall Clearance values in these instructions include a safety factor of 2 ft. (0.6 m) plus an additional 10-percent of HLL deflection. 1 ft. (0.3 m) of additional fall clearance is included for harness stretch and D-ring slide.
All Required Fall Clearance values in these instructions were calculated using the maximum free fall distances stated in Table 1. Greater free fall distances will require more fall clearance.
When using connecting subsystems made by a different manufacturer, 1 ft. (0.3 m) of additional fall clearance must be added to the values in the fall clearance charts to account for unknown variation in product performance.
3.6 FALL CLEARANCE FOR ENERGY-ABSORBING LANYARDS: Fall clearance is the measure of distance between a user and the next obstruction below them. Required Fall Clearance (FC) is the amount of fall clearance needed to safely arrest the user during a fall event. Fall clearance is always measured from the top of the working platform to the top of the next obstruction below. To determine Required Fall Clearance for energy-absorbing lanyards, refer to the following sections:
A. FREE FALL DISTANCE: The user should determine how much free fall is present in their system before using the fall clearance charts. Lanyard length and system placement (anchorage height, setback distance) are the primary factors affecting free fall distance. When a lanyard is anchored below the user’s D-ring, free fall distance will exceed lanyard length, up to as much as twice the lanyard length.
Figure 7 illustrates the amount of free fall associated with common system applications. However, the user must still verify the amount of free fall present in their intended application.
Free fall is measured from the top of the user’s D-ring before a fall to the top of that same D-ring when the lanyard tightens during a fall. 3M Fall Protection shares the following method for measuring free fall in a system:
Measuring free fall distance for an HLL:
- Connect one end of the lanyard to the HLL. Extend the free end toward the edge of the working platform and let it hang over the fall hazard.
- Measure how far the hook on the free end hangs below the working platform.
- Add the initial height of the worker’s D-ring above the working platform to the measurement from Step 2. The sum of these two numbers is the free fall distance for your application.
B. FALL CLEARANCE CHARTS: See Figure 8 for reference. Required Fall Clearance (FC) is determined by Maximum Free Fall (FF) of the system application, HLL System Span (B), and the number of users connected to the HLL System.
To determine Required Fall Clearance (FC) using Figure 8 for Energy-Absorbing Lanyards:
- Identify the amount of free fall distance that could occur given the specific anchorage height, setback distance, and lanyard used in your application. Select the chart that meets or exceeds your Free Fall Distance (FF). It is recommended that free fall distance be kept to a minimum.
- Select the table column that matches your number of users. Ensure the combined weight of each user (including clothing, tools, etc.) does not exceed the maximum capacity listed.
- Find the row in the column to the far left that matches your System Span (B).
- Find the corresponding Required Fall Clearance (FC) where the column for your number of users and the row for your System Span (B) intersect.

Figure 8 – Fall Clearance for Energy-Absorbing Lanyards

| FF = 6.0 ft. (1.83 m) | ≤ 310 lb. (140 kg) | ||
| ≤ 10 ft. (3.05 m) | 12 ft. 3 in. (3.72 m) | 13 ft. 4 in. (4.06 m) | |
| ≤ 20 ft. (6.10 m) | 13 ft. 8 in. (4.15 m) | 15 ft. 10 in. (4.82 m) | |
| ≤ 30 ft. (9.14 m) | 15 ft. 0 in. (4.58 m) | 18 ft. 4 in. (5.58 m) | |
| ≤ 40 ft. (12.19 m) | 16 ft. 4 in. (4.97 m) | 20 ft. 2 in. (6.16 m) | |
| ≤ 50 ft. (15.24 m) | 17 ft. 6 in. (5.34 m) | 21 ft. 11 in. (6.68 m) | |
| ≤ 60 ft. (18.29 m) | 18 ft. 8 in. (5.69 m) | 23 ft. 8 in. (7.21 m) | |
| FC | |||
| B | System Span |
| FF | Free Fall Distance |
| FC | Required Fall Clearance |
| FF = 8.0 ft. (2.44 m) | ≤ 310 lb. (140 kg) | ||
| ≤ 10 ft. (3.05 m) | 14 ft. 10 in. (4.52 m) | 15 ft. 11 in. (4.85 m) | |
| ≤ 20 ft. (6.10 m) | 16 ft. 3 in. (4.95 m) | 18 ft. 5 in. (5.61 m) | |
| ≤ 30 ft. (9.14 m) | 17 ft. 8 in. (5.38 m) | 20 ft. 11 in. (6.37 m) | |
| ≤ 40 ft. (12.19 m) | 19 ft. 1 in. (5.8 m) | 23 ft. 5 in. (7.13 m) | |
| ≤ 50 ft. (15.24 m) | 20 ft. 4 in. (6.2 m) | 25 ft. 4 in. (7.73 m) | |
| ≤ 60 ft. (18.29 m) | 21 ft. 7 in. (6.57 m) | 27 ft. 1 in. (8.26 m) | |
| FC | |||

| FF = 12.0 ft. (3.66 m) | ≤ 310 lb. (140 kg) | ||
| B | ≤ 10 ft. (3.05 m) | 18 ft. 8 in. (5.69 m) | |
| ≤ 20 ft. (6.10 m) | 20 ft. 3 in. (6.18 m) | ||
| ≤ 30 ft. (9.14 m) | 21 ft. 11 in. (6.67 m) | ||
| ≤ 40 ft. (12.19 m) | 23 ft. 5 in. (7.13 m) | ||
| ≤ 50 ft. (15.24 m) | 24 ft. 9 in. (7.55 m) | ||
| ≤ 60 ft. (18.29 m) | 26 ft. 1 in. (7.96 m) | ||
| FC | |||
3.7 FALL CLEARANCE FOR SELF-RETRACTING DEVICES: Fall clearance is the measure of distance between a user and the next obstruction below them. Required Fall Clearance (FC) is the amount of fall clearance needed to safely arrest the user during a fall event. Fall clearance is always measured from the top of the working platform to the top of the next obstruction below. To determine Required Fall Clearance for Self-Retracting Devices, refer to the following sections:
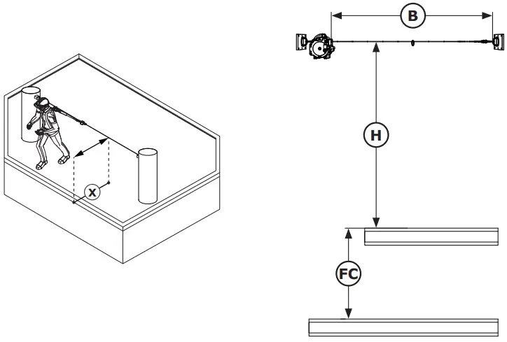
A. SETBACK DISTANCE: When calculating fall clearance with an SRD, 3M Fall Protection defines two different application types based on the physical set-up of the system. See Figure 11 for an illustration of Setback Distance (X) and HLL System Height (H). The application type determines the correct fall clearance chart to use.
| SMALL SYSTEM SETBACK | LARGE SYSTEM SETBACK |
| Applies when: • Setback Distance (X) is less than the Retracted Length (R) of the SRD. – OR – • The System Height (H) is greater than or equal to the Setback Distance (X). See Section 3.7.B for more information. See Figure 9 for Required Fall Clearance. | Applies when: • Setback Distance (X) is greater than or equal to the Retracted Length (R) of the SRD. – AND – • The System Height (H) is less than the Setback Distance (X). See Section 3.7.C for more information. See Figure 10 for Required Fall Clearance. |
B. SMALL SYSTEM SETBACK: For Small System Setback applications, Required Fall Clearance (FC) is determined by HLL System Height (H), HLL System Span (B), and the number of users connected to the HLL System. See Figure 9 for reference.
- SRDs should have a retracted length of 2.5 ft. (0.76 m) or less. For SRDs with a retracted length greater than 2.5 ft. (0.76 m), the difference in retracted length must be subtracted from the measured HLL System Height (H) before selecting the proper height range.
Example – For an SRD with a retracted length of 5 ft. (1.5 m) and an HLL System Height of 7 ft. (2.1 m):
- Difference in retracted length of the SRD = 5 ft. (1.5 m) – 2.5 ft. (0.76 m) = 2.5 ft. (0.76 m)
- HLL System Height minus the difference in retracted length = 7 ft. (2.1 m) – 2.5 ft. (0.76 m) = 4.5 ft. (1.37 m)
- Use the number from Step 2 as your HLL System Height (H) when determining Required Fall Clearance (FC). In this example, the user would use 4.5 ft. (1.37 m) for System Height (H) and select the [3 ft. – <5ft.] column in the Figure 9 charts.
To determine Required Fall Clearance (FC) using Figure 9 for SRDs:
- Select the chart that matches your number of users. Ensure the combined weight of each user (including clothing, tools, etc.) does not exceed the maximum capacity listed.
- Find the column in the chart that matches your System Height (H).
- Find the row in the column to the far left that matches your System Span (B).
- Find the corresponding Required Fall Clearance (FC) where the column for your System Height (H) and the row for your System Span (B) intersect.
C. LARGE SYSTEM SETBACK: For Large System Setback applications, Required Fall Clearance (FC) is determined by HLL System Span (B) and the number of users connected to the HLL System. See Figure 10 for reference.
The following guidelines must be observed for Large System Setback applications:
- SRDs used with the HLL System must be rated for tie-off at knee-level or below.
- The Setback Distance (X) of the system must be greater than or equal to minimum requirements. Minimum Setback Distance is listed in the table below for each available System Span (B). If you are unable to meet minimum requirements, then your HLL System must be limited to one user per span.
| System Span (B) | Minimum Setback Distance | System Span (B) | Minimum Setback Distance | |
| ≤ 10 ft. (3.05 m) | 4 ft. 0 in. (1.22 m) | ≤ 40 ft. (12.19 m) | 8 ft. 11 in. (2.72 m) | |
| ≤ 20 ft. (6.10 m) | 5 ft. 6 in. (1.68 m) | ≤ 50 ft. (15.24 m) | 10 ft. 8 in. (3.25 m) | |
| ≤ 30 ft. (9.14 m) | 7 ft. 2 in. (2.18 m) | ≤ 60 ft. (18.29 m) | 12 ft. 5 in. (3.78 m) |
To determine Required Fall Clearance (FC) using Figure 10 for SRDs:
- Find the Minimum Setback Distance for your system. Minimum Setback Distance is determined by HLL System Span (B) and is listed in the table above. If your Setback Distance (X) does not meet minimum requirements, then the HLL System must be limited to one user per span.
- Select the table column that matches your number of users. Ensure the combined weight of each user (including clothing, tools, etc.) does not exceed the maximum capacity listed.
- Find the row in the column to the far left that matches your System Span (B).
- Find the corresponding Required Fall Clearance (FC) where the column for your number of users and the row for your System Span (B) intersect.
Figure 9 – Fall Clearance for SRDs (Small System Setback)

| B | System Span |
| H | System Height |
| X | Setback Distance |
| R | SRD Retracted Length |
| FC | Required Fall Clearance |

| ≤ 310 lb. (140 kg) | H | ||||
| 0 ft. – <3 ft. | 3 ft. – <5 ft. | 5 ft. – <6.5 ft. | ≥6.5 ft. | ||
| B | ≤ 10 ft. (3.05 m) | 15 ft. 0 in. (4.56 m) | 11 ft. 10 in. (3.6 m) | 8 ft. 11 in. (2.71 m) | 6 ft. 8 in. (2.04 m) |
| ≤ 20 ft. (6.10 m) | 16 ft. 1 in. (4.91 m) | 13 ft. 0 in. (3.95 m) | 10 ft. 1 in. (3.06 m) | 7 ft. 10 in. (2.39 m) | |
| ≤ 30 ft. (9.14 m) | 17 ft. 3 in. (5.26 m) | 14 ft. 1 in. (4.3 m) | 11 ft. 2 in. (3.41 m) | 8 ft. 11 in. (2.71 m) | |
| ≤ 40 ft. (12.19 m) | 18 ft. 5 in. (5.62 m) | 15 ft. 3 in. (4.65 m) | 12 ft. 4 in. (3.76 m) | 9 ft. 11 in. (3.02 m) | |
| ≤ 50 ft. (15.24 m) | 19 ft. 7 in. (5.96 m) | 16 ft. 5 in. (5.01 m) | 13 ft. 5 in. (4.09 m) | 10 ft. 11 in. (3.32 m) | |
| ≤ 60 ft. (18.29 m) | 20 ft. 9 in. (6.32 m) | 17 ft. 7 in. (5.35 m) | 14 ft. 6 in. (4.41 m) | 11 ft. 10 in. (3.62 m) | |
| FC | |||||
| ≤ 310 lb. (140 kg) | H | ||||
| 0 ft. – <3 ft. | 3 ft. – <5 ft. | 5 ft. – <6.5 ft. | ≥6.5 ft. | ||
| B | ≤ 10 ft. (3.05 m) | 13 ft. 0 in. (3.95 m) | 10 ft. 1 in. (3.06 m) | 7 ft. 10 in. (2.39 m) | |
| ≤ 20 ft. (6.10 m) | 15 ft. 3 in. (4.65 m) | 12 ft. 4 in. (3.77 m) | 9 ft. 8 in. (2.94 m) | ||
| ≤ 30 ft. (9.14 m) | 17 ft. 7 in. (5.36 m) | 14 ft. 4 in. (4.37 m) | 11 ft. 1 in. (3.38 m) | ||
| ≤ 40 ft. (12.19 m) | 19 ft. 11 in. (6.06 m) | 15 ft. 10 in. (4.82 m) | 12 ft. 8 in. (3.85 m) | ||
| ≤ 50 ft. (15.24 m) | 21 ft. 6 in. (6.56 m) | 17 ft. 3 in. (5.27 m) | 14 ft. 2 in. (4.31 m) | ||
| ≤ 60 ft. (18.29 m) | 23 ft. 0 in. (7.01 m) | 18 ft. 9 in. (5.71 m) | 15 ft. 8 in. (4.77 m) | ||
| FC | |||||
Figure 10 – Fall Clearance for SRDs (Large System Setback)
| B | System Span |
| H | System Height |
| X | Setback Distance |
| R | SRD Retracted Length |
| FC | Required Fall Clearance |
| ≤ 310 lb. (140 kg) | |||
| B | ≤ 10 ft. (3.05 m) | 11 ft. 11 in. (3.64 m) | 12 ft. 4 in. (3.77 m) |
| ≤ 20 ft. (6.10 m) | 13 ft. 1 in. (3.99 m) | 13 ft. 9 in. (4.19 m) | |
| ≤ 30 ft. (9.14 m) | 14 ft. 3 in. (4.34 m) | 15 ft. 3 in. (4.64 m) | |
| ≤ 40 ft. (12.19 m) | 15 ft. 5 in. (4.69 m) | 16 ft. 8 in. (5.09 m) | |
| ≤ 50 ft. (15.24 m) | 16 ft. 7 in. (5.04 m) | 18 ft. 7 in. (5.66 m) | |
| ≤ 60 ft. (18.29 m) | 17 ft. 8 in. (5.39 m) | 20 ft. 7 in. (6.27 m) | |
| FC | |||

Figure 11 – SRD Fall Clearance Factors
| B | System Span |
| H | System Height |
| X | Setback Distance |
| FC | Required Fall Clearance |

3.8 KNEE-LEVEL TIE-OFF APPLICATIONS: If the HLL System is installed at a height of less than 3.0 ft. (0.9 m) above the working platform, then it is considered a knee-level tie-off application. The following criteria should be observed with knee-level tie-off applications:
- Connecting subsystems used with the HLL System must be rated for tie-off at knee-level or below, in addition to meeting the requirements specified in Table 1.
- Reduce the system capacity to one user per span.
This section does not apply to HLL Systems meeting “Large System Setback” application requirements for use with SRDs. For installation requirements for these systems, see Section 3.7.C.
3.9 USER CAPACITY ABOVE LIMITS: If the user’s total capacity (including clothing, tools, etc.) exceeds 310 lb. (140 kg), adaptations can be made to accommodate a single user of up to 420 lb. (190 kg) total capacity.
For users with a total capacity between 310 lb. – 420 lb. (140 kg – 190 kg), the following guidelines must be observed:
- Reduce capacity to one user per span.
- Use a connecting subsystem with a maximum capacity of 420 lb. (190 kg) or greater.
- Use the two-user Required Fall Clearance values from the 310 lb. (140 kg) Fall Clearance charts, but apply instead to a single user of up to 420 lb. (190 kg) total capacity.
3.10 BEFORE INSTALLATION: Determine the location of your anchorage points and evaluate the strength of the anchorage structure in accordance with the anchorage requirements listed in Table 1. Determine the span length between your anchorage points and evaluate the fall clearance requirements per your connecting subsystem type. See Section 3.2 for more information. Do not install the system if there is insufficient fall clearance. Shorten span length if necessary to stay within the available fall clearance.
3.11 INSTALLING THE EZ-LINE HLL: Figure 12 illustrates installation of the EZ-Line HLL. Whenever possible, locate the horizontal lifeline such that the user is restrained from reaching the fall hazard. If rigging as a Restraint system is not possible, rig the system such that the potential free fall is minimized. To install the EZ-Line HLL:
- Verify that the Anchorages (A) have been installed per the requirements of Section 3.2. Any anchorage connectors that are used should be installed per the manufacturer instructions.
- Secure the HLL System between the anchorage connectors. First, secure the Connector (A) at the top of the HLL to one of the Anchorage Connectors (B). Then, press and hold down the Unlock Button (C) located atop the housing to begin extending the lifeline.
If used, Rolled Metal Energy Absorbers should be installed so that they are able to pivot freely with adjustment of the system. - With the Unlock Button still held down, extend the lifeline of HLL System until the Connector (A) at the end of the lifeline can be secured to the second Anchorage Connector (B). When the Connector is secure, release the Unlock Button. This should cause the Button to spring back up and the lifeline to lock into place.
If the lifeline does not lock into place, remove the system from service immediately. - Connect the Crank Handle (A) to the Top Output (B). Remove any excess slack in the lifeline by rotating the Crank Handle clockwise. The lifeline should be tension ed until a “click” is heard and there is a slight rotation of the Crank Handle. When the Crank Handle is released, it should return to its original position in line with the crank body.
For 3M Rooftop Anchor installations, the wire rope should be tension ed only enough to raise it slightly above the working surface. - If slack is needed to make an adjustment to the system, connect the Crank Handle (A) to the Top Output (B) and rotate clockwise about 20 degrees (20°) while holding down the Unlock Button (C). Then, with the Button still held down, rotate the Crank Handle counterclockwise until there is enough slack for an adjustment.
3.12 REMOVING THE HLL SYSTEM: Figure 13 illustrates removal of the EZ-Line HLL. To remove an installed system:
- Connect the Crank Handle (A) to the Top Output (B) and rotate clockwise about 20 degrees (20°) while holding down the Unlock Button (C). Then, with the Button still held down, extend the lifeline slightly past its end anchor. After this is done, disconnect the HLL System from the anchorage connection points.
- Retract the lifeline back into the housing by connecting the Crank Handle (A) to the Bottom Output (B). Rotate counterclockwise until the lifeline is fully retracted.


3.13 CONVERSION TO A MULTIPLE-SPAN SYSTEM: To reduce the amount of fall clearance required, the EZ-Line HLL System may be converted to a multiple-span system. The below guidelines must be followed:
- Intermediate anchorages and end anchorages must meet the loading requirements specified in Table 1.
- A Rolled Metal Energy Absorber must be added to the end of the system opposite the winch assembly.
- The swaged connections of the EZ-Line HLL System should not be removed or disassembled to permit passage through intermediate brackets or secured anchorage connectors. All brackets and anchorage connectors must either have large enough openings to receive the assembled system or be capable of mid-line attachment without needing to thread the cable end.
Carabiners may be attached directly to the HLL System when securing to intermediate anchors. See Section 4.3 for more information. - Connectors and brackets used to create intermediate anchorages must allow free passage of the horizontal lifeline such that it is not held tightly or restricted from sliding along the axis of the HLL.
- Connectors and brackets used to create intermediate anchorages must not contain sharp or abrasive edges which could come in contact with the horizontal lifeline.
- 100-percent tie-off is required when using the HLL system. If intermediate brackets and connectors do not permit the connecting subsystem to bypass, it will be necessary to use twin lanyards or twin SRDs to maintain connection to the system when moving between spans.
The maximum capacity of your system will vary depending on its application. See Table 1 for capacity requirements.
In multiple-span HLL systems designed under ANSI Z359.6 or CSA Z259.16 to permit multiple users in multiple spans, it is the responsibility of the Qualified Person (and not of 3M) to evaluate and document the design considerations and details which ensure a single event or circumstance will not cause multiple users in multiple spans to fall within a very short period of time.
USE
4.1 BEFORE EACH USE: Verify that your work area and Fall Protection system meet all criteria defined in these instructions. Verify that a formal Rescue Plan is in place. Inspect the product per the ‘User’ inspection points defined on the “Inspection and Maintenance Log”. If inspection reveals an unsafe or defective condition, or if there is any doubt about its condition for safe use, remove the product from service immediately. Clearly tag the product “DO NOT USE”. See Section 5 for more information.
4.2 SYSTEM APPLICATIONS: Figure 14 illustrates the system applications for which this HLL System may be used. The HLL System may be used for either Restraint or Fall Arrest applications. Figure 14.1 illustrates application as a Restraint system. Figure 14.2 illustrates application as a Fall Arrest system. Placement of the HLL System (A) is indicated, but the system should always be installed per the requirements of these instructions and the specifics of your work location. Whenever possible, work at or below the level of the HLL System. To avoid swing fall hazards, do not work too far from either side of the HLL System.
4.3 CONNECTING TO THE HLL SYSTEM: Appropriate Fall Protection equipment must be worn when installing or connecting to the HLL System. The user’s connecting subsystem should be secured either to one of the O-ring attachment elements on the HLL System or directly to the HLL System itself.
All connectors used with the HLL System must meet Section 2.7 and Section 2.8 requirements. Additionally, all connectors that secure directly to the HLL System must have a gate strength of 3,600 lbf (16 kN) or greater.
4.4 USE WITH TWO PERSONS: When one person falls while connected to the HLL System, the system will deflect. If two persons are connected to the same HLL System and one person falls, the second person may be pulled off the working surface due to deflection. The risk of the second person falling increases as the span length of the HLL System increases.
The use of independent HLL Systems for each person, or a shorter span length, is recommended to minimize risk.
In multiple-span HLL systems designed under ANSI Z359.6 or CSA Z259.16 to permit multiple users in multiple spans, it is the responsibility of the Qualified Person (and not of 3M) to evaluate and document the design considerations and details which ensure a single event or circumstance will not cause multiple users in multiple spans to fall within a very short period of time.
4.5 AFTER A FALL: If the product is subjected to fall arrest or impact force, remove it from service immediately. Clearly tag it “DO NOT USE”. See Section 5 for more information.
INSPECTION
After product has been removed from service, it may not be returned to service until a Competent Person confirms in writing that it is acceptable to do so.
5.1 INSPECTION FREQUENCY: The product should be inspected before each use by the user and, additionally, by a Competent Person other than the user at intervals of no longer than one year. A higher frequency of equipment use and harsher conditions may require increasing the frequency of Competent Person inspections. The frequency of these inspections should be determined by the Competent Person per the specific conditions of the worksite.
5.2 INSPECTION PROCEDURES: Inspect this product per the procedures listed in the “Inspection and Maintenance Log”. Documentation of each inspection should be maintained by the owner of this equipment. An inspection and maintenance log should be placed near the product or be otherwise easily accessible to users. It is recommended that the product is marked with the date of next or last inspection.
5.3 DEFECTS: If the product cannot be returned to service because of an existing defect or unsafe condition, either destroy the product or contact 3M regarding possible replacement or repair.
5.4 PRODUCT LIFE: The functional life of the product is determined by work conditions and maintenance. As long as the product passes inspection criteria, it may remain in service.
MAINTENANCE, SERVICE, and STORAGE
Equipment that is in need of maintenance or scheduled for maintenance should be tagged “DO NOT USE”. These equipment tags should not be removed until maintenance is performed.
6.1 CLEANING: Periodically clean the metal components of the product with a soft brush, warm water, and a mild soap solution. Ensure parts are thoroughly rinsed with clean water.
6.2 SERVICE: Only 3M or parties authorized in writing by 3M may make repairs to this equipment.
6.3 STORAGE AND TRANSPORT: When not in use, store and transport the product and associated fall protection equipment in a cool, dry, clean environment out of direct sunlight. Avoid areas where chemical vapors may exist. Thoroughly inspect components after extended storage.
LABELS
7.1 LABELS: Figure 16 illustrates labels present on the product. Labels must be replaced if they are not present or are not fully legible. Information provided on each label is as follows:
| A | 1) Read all instructions. 2) Turn this direction to extend the lifeline out. 3) Turn this direction to reel the lifeline in. 4) Manufactured (Year/Month) | 5) Lot Number (Year/Month) 6) Model Number 7) Length (ft./m) 8) Lifeline Type |
| B | 1) Fall Clearance Charts – Lanyards 2) Read all instructions. 3) Service Dates | 4) Capacity 5) Product Specifications 6) Fall Clearance Charts – SRDs |
| C | 1) Turn this direction to reel the lifeline in. 2) Turn this direction to extend the lifeline out. | |
| D | 1) Increasing in-line tension | |
| E | 1) Releasing in-line tension | |
GLOSSARY OF TERMS
8.1 DEFINITIONS: The following terms and definitions are used in these instructions.
For a comprehensive list of terms and definitions, please visit our website: www.3m.com/FallProtection/ifu-glossary
- AUTHORIZED PERSON: A person assigned by the employer to perform duties at a location where the person will be exposed to a fall hazard.
- COMPETENT PERSON: One who is capable of identifying existing and predictable hazards in the surroundings or working conditions which are unsanitary, hazardous, or dangerous to employees, and who has authorization to take prompt corrective measures to eliminate them.
- FALL ARREST SYSTEM: A collection of Fall Protection equipment configured to protect the user in the event of a fall.
- QUALIFIED PERSON: A person with a recognized degree, certificate, or professional standing, or who by extensive knowledge, training, and experience has successfully demonstrated their ability to solve or resolve problems relating to Fall Protection and Rescue systems to the extent required by applicable national, regional, and local regulations.
- RESCUER: A person using the Rescue system to perform an assisted rescue.
- RESTRAINT SYSTEM: A collection of Fall Protection equipment configured to prevent the user from reaching a fall hazard. No free fall is permitted.
- USER: A person who performs activities while protected by a Fall Protection system.
Figure 16 – Product Labels

USA 800-328-6146
CANADA 800-387-7484
EMEA +33-4-97-10-00-10
NE LTD +44-1928-57-13-24
ASIA 852-2992-10
AUSTRALIA 800-245-002
9502372 Rev. E
WARNING
Manufacturer’s instructions must be read and understood prior to use. Instructions supplied with this product at time of shipment must be followed for proper use, maintenance, and inspection. Alteration or misuse of this product, or failure to follow instructions may result in serious injury or death. Make only compatible connections. Exercice caution using this equipment near hazardous thermal, electrical or chemical sources. Do not use as a personal energy absorber. Do not remove this label.
USE
Anchorages strength requirement 5000 lbs (22 kN). Full body harness is required for use with this device. Ensure horizontal lifeline is located at an elevation which will limit free fall to a maximum of 6 feet when using shock absorbing lanyards, and located overhead when using self retracting lifelines. Avoid lifeline contact with sharp edges. For use by trained persons only. Ensure connection to anchorage is secured properly before use. The lifeline must be correctly tension ed for optimal performance, see user manual for more details. Disconnect crank from outputs before connecting to lifeline.

INSPECTION: Before each use inspect device in accordance with user manual including locking function (pull strongly to test), condition of lifelines, function and condition of connector, housing and fasteners, legibility of labels, and any evidence of defects, damage, or missing parts. Inspection by competent person required at least annually, see user manual. Inspect impact indicator at the carabiner end of the lifeline: a ruptured section is an indication that an impact has occurred and the unit must be removed from service for repair. If used to arrest a fall, remove/from service for repair. Do not use if inspection reveals an unsafe condition. Not user repairable.

SHOCK ABSOEBING LANYARD WITH 3″ FREE FALL
CAPACITY I CHARGE MAXIMUM
310 lb. per user/2 users maximum by span — 3 spans max. (additional equipment necessary for multi—spun use)
2 utilisateurs maximum par portee — (equipment supplementation necessoire pour un usage multipurpose)
SPECIFICATIONS
Conformed aux OSHA 1910.140 & 1926.502
Cak dynamic pullout load : 2500 lb. (11.1 kN)
Ultimate strength: 5000 lb. (22.3 kN)
These charts provide fall clearance only for overhead applications when there is a small system setback. Additional fall clearance information for other configurations can be found in the user instructions.
LIFELINE CHARACTERISTICS
1/4″ diameter galvanized wire rope cable en acier galvanize de diameter 6.3 mm


Use this crank to tension the lifeline by connecting it to the top output as shown. Wind lifeline in until a “click” occurs. The lifeline is now correctly tension ed.
D
Connect crank to TOP output shaft and rotate clockwise for about 20°.- Press top button down.
- Rotate counterclockwise while holding top button down.
Table 2 – Inspection and Maintenance Log
| Table 2 – Inspection and Maintenance Log | ||||||
| Model Number (Serial Number): | ||||||
| Date Purchased: | Date of First Use: | |||||
| ··· | ||||||
| þ This product must be inspected by the user before each use. Additionally, a Competent Person other than the user must inspect this equipment at least once each year. | ||||||
| ··· | ||||||
| Component | Inspection Procedure | Inspection Result | ||||
| Pass | Fail | |||||
| EZ-Line HLL System | Inspect the screws, bolts, and nuts of the HLL System. Ensure they are securely attached and tightened. Check to see if any bolts, nuts, or other parts are missing, or have been substituted or altered in any way. Inspect covers, housings, guards, etc. Ensure they are free of cracks dents or other damage. | |||||
| Inspect the entire system for signs of corrosion or other damage that may affect strength or operation. | ||||||
| Inspect the wire rope for rust, corrosion, broken wires, or other obvious faults. Wire Rope must be replaced by a 3M authorized service center if there are six or more randomly distributed broken wires in one lay, or three or more broken wires in one strand in one lay. A “lay” of wire rope is the length of wire rope it takes for a strand (the larger groups of wires) to complete one revolution or twist along the rope. Replace the wire rope assembly if there are any broken wires within 1 in. (25 mm) of any swaged component. | ||||||
| Inspect all carabiners and connectors securing the HLL assembly to ensure they are present and properly installed. Inspect the sleeves at the end of the lifeline for damage such as cracks, dents or distortion. | ||||||
| Inspect the impact indicator at the end of the lifeline. If the pin is broken, the system has been exposed to an impact force. The system must not be used and must be removed from service. The unit must be serviced by an authorized service center before reuse. | ||||||
| Inspect the reserve lifeline payout. The horizontal lifeline has a 4.5 ft. (1.4 m) reserve at the end of the lifeline. If a red band attached around the rope is visible at the housing end of the lifeline, the reserve has been compromised. Remove the unit from service. The unit must be serviced by an authorized service center before reuse. | ||||||
| If the system contains a Rolled Metal Energy Absorber, inspect the Roll Metal Energy Absorber for extension or deformities. Ensure there is no tearing of the metal between holes in the coiled section. Increase inspection frequency if the Energy Absorber is exposed to prolonged vibration. Extended Rolled Metal Energy Absorbents must be removed from service and destroyed or marked for training only. Inspect securing hardware for strength and function. | ||||||
| Pull sharply on the lifeline close to the device end to ensure that the lifeline is secured. | ||||||
| Ensure that the lifeline is under the correct tension. Do not apply extra- tension on the lifeline during this operation unless it is necessary to ensure the crank handle “clicks”. | ||||||
| Labels (Figure 16) | All labels are present and fully legible. | |||||
| Fall Protection Equipment | Additional Fall Protection equipment that is used with the product is installed and inspected per the manufacturer instructions. | |||||
| ··· | ||||||
| ··· | ||||||
| Inspection Type: | Overall Inspection Result: | |||||
| Inspected By: | Date of Inspection: | |||||
| Signature: | Next Inspection Due: | |||||
| ··· | ||||||
| Additional Notes: | ||||||
GLOBAL PRODUCT WARRANTY, LIMITED REMEDY AND LIMITATION OF LIABILITY
WARRANTY: THE FOLLOWING IS MADE IN LIEU OF ALL WARRANTIES OR CONDITIONS, EXPRESS OR IMPLIED, INCLUDING THE IMPLIED WARRANTIES OR CONDITIONS OF MERCHANTABILITY OR FITNESS FOR A PARTICULAR PURPOSE.
Unless otherwise provided by local laws, 3M fall protection products are warranted against factory defects in workmanship and materials for a period of one year from the date of installation or first use by the original owner.
LIMITED REMEDY: Upon written notice to 3M, 3M will repair or replace any product determined by 3M to have a factory defect in workmanship or materials. 3M reserves the right to require product be returned to its facility for evaluation of warranty claims. This warranty does not cover product damage due to wear, abuse, misuse, damage in transit, failure to maintain the product or other damage beyond 3M’s control. 3M will be the sole judge of product condition and warranty options.
This warranty applies only to the original purchaser and is the only warranty applicable to 3M’s fall protection products. Please contact 3M’s customer service department in your region for assistance.
LIMITATION OF LIABILITY: TO THE EXTENT PERMITTED BY LOCAL LAWS, 3M IS NOT LIABLE FOR ANY INDIRECT, INCIDENTAL, SPECIAL OR CONSEQUENTIAL DAMAGES INCLUDING, BUT NOT LIMITED TO LOSS OF PROFITS, IN ANY WAY RELATED TO THE PRODUCTS REGARDLESS OF THE LEGAL THEORY ASSERTED.

| USA 3833 SALA Way Red Wing, MN 55066-5005 Toll Free: 800.328.6146 Phone: 651.388.8282 Fax: 651.388.5065 [email protected] | Australia & New Zealand 137 McCredie Road Guildford Sydney, NSW, 2161 Australia Toll-Free : 1800 245 002 (AUS) Toll-Free : 0800 212 505 (NZ) [email protected] |
| Brazil Rodovia Anhanguera, km 110 Sumaré –SP CEP: 13181-900 Brasil Phone: 0800-013-2333 [email protected] | Asia Singapore: 1 Yishun Avenue 7 Singapore 768923 Phone: +65-6450 8888 Fax: +65-6552 2113 [email protected] |
| Mexico Av. Santa Fe No. 190 Col. Santa Fe, Ciudad de Mexico CP 01219, Mexico Phone: 01 800 120 3636 [email protected] | China: 38/F, Maxdo Center, 8 Xing Yi Rd Shanghai 200336, P R China Phone: +86 21 62753535 Fax: +86 21 52906521 [email protected] |
| Canada 600 Edwards Blvd, Unit #2 Mississauga, ON L5T 2V7 Phone: 905.795.9333 Toll-Free: 800.387.7484 Fax: 888.387.7484 [email protected] | Korea: 3M Koread Ltd 20F, 82, Uisadang-daero, Yeongdeungpo-gu, Seoul Phone: +82-80-033-4114 Fax: +82-2-3771-4271 [email protected] |
| EMEA (Europe, Middle East, Africa) EMEA Headquarters: Le Broc Center Z.I. 1re Avenue – BP15 06511 Carros Le Broc Cedex France Phone: + 33 04 97 10 00 10 Fax: + 33 04 93 08 79 70 [email protected] | Japan: 3M Japan Ltd 6-7-29, Kitashinagawa, Shinagawa-ku, Tokyo Phone: +81-570-011-321 Fax: +81-3-6409-5818 [email protected] |
WEBSITE: 3M.com/FallProtection
EU DECLARATION OF CONFORMITY:
3M.com/FallProtection/DOC

Connect crank to TOP output shaft and rotate clockwise for about 20°.
















