aarke CARBONATOR 3 Winning Sparkling Water Maker

Your newest home ritual, courtesy of Aarke
As a group of design enthusiasts, we appreciate you taking the time to get to know your new Carbonator. At-home carbonation is a more convenient, affordable, and environmentally-friendly alternative to store-bought sparkling water – you’ve made an excellent choice. Beyond the surface, there is a wide range of benefits your Carbonator has to offer, such as custom carbonation levels. We encourage you to experiment with the lever to achieve your preferred degree of carbonation.
Your Carbonator has been crafted with the finest premium materials, designed and tested from the inside out for peak quality and safety. However, please keep in mind that any product involving the use of gas and pressure systems should be handled with care and used only as intended. Be sure to carefully review the safety section of this guide before use.
Welcome to Aarke
INCLUDED IN THE BOX
- Carbonator 3 Height – 414 mm Width – 153 mm Depth – 258 mm Weight ≈ 1450 g
- PET Bottle Height – 265 mm Diameter – 85,5 mm Volume ≈ 0,8 l (up to the filling line).
- The envelope Holds the drip tray cover and the microfibre cloth (used for cleaning glossy surfaces).

PRODUCT COMPONENTS
- Lever
- PET bottle socket
- Nozzle
- Gas cylinder compartment
- Drip tray*
- Drip tray cover
- Base

If the bottle is overfilled prior to carbonation, excess water will flush through the Aarke Carbonator and be collected in the drip tray. To avoid this, be sure to only fill the bottle up to the filling line.
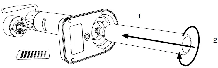
GAS CYLINDER INSTALLATION
Remove the spill tray cover and carefully lay the Aarke Carbonator on its side with the lever facing upwards.
Unscrew the plastic seal from the top of the gas cylinder, and carefully insert it into the Aarke Carbonator through the hole at the bottom. Don’t drop the cylinder into the hole. When you feel it reach the top, begin to screw the cylinder in with a clockwise motion until fastened. Be careful not to screw it in too hard, as this could rupture the threads holding the cylinder in place.
When replacing the gas cylinder, carefully lay the Aarke Carbonator on its side with the lever facing upwards. Unscrew the cylinder with a counterclockwise motion and carefully remove it from the compartment.
CO2 Gas Cylinder
The Aarke Carbonator is compatible with standard gas cylinders approved for use with sparkling water machines from all major brands (with the exceptions of Australia and New Zealand). Other gas cylinders may seem to work, but could damage the machine or cause a safety risk with prolonged use.
THE CARBONATION PROCESS
Fill the bottle
Rinse the bottle with lukewarm water before first time use. Fill with cold, clean water up to the marked filling line. If the bottle is overfilled, excess water will flow into the spill tray during carbonation.
Attach the bottle
Place the bottle in the socket and begin to screw in with a counterclockwise motion. No need to overly tighten, but be sure the bottle isn’t crooked when screwed in.
Carbonate the water
Push and gently hold the lever down until you hear a persistent buzzing noise from the valve. Carbonation levels can be increased by repeating the process up to 3 times.
Release the lever
Release the lever back to its resting position. The remaining pressure in the bottle will automatically release with a puff sound. Unscrew and remove the bottle from the Aarke Carbonator.
Pro tip:
Conserve gas and maximize bubbles by only releasing the lever halfway between each carbonation cycle (each time you push the lever down all the way).
SAFETY GUIDELINES
Do’s
Only use the Aarke PET bottle in the Aarke Carbonator
Other bottles may seem to work but can damage the Aarke Carbonator and lead to a safety risk. Never use an Aarke PET bottle that’s deformed, discolored, or scratched.
Only carbonate plain water
During the carbonation process, small amounts of liquid can bubble up into the valves. If the liquid being carbonated contains sugar or other compounds, the valves can eventually be compromised and malfunction, and lead to the potential danger when operating the product.
Always use your Aarke Carbonator in an upright position
If operated in other positions, dangerous levels of CO2 gas can accumulate in the bottle during the carbonation process.
Only hand wash your Aarke PET Bottle
Use clean lukewarm water and a mild detergent. If using a dishwashing brush, be sure that the brush is intended for cleaning plastic bottles – other brushes may leave scratches on the Aarke PET bottle’s surface. Avoid solvents, strong detergents, and abrasive household cleaners. Avoid bacteria and odor by always keeping the bottle clean and storing it with the cap off.
Dont’s
Never put your Aarke PET Bottle in the dishwasher
Though the Aarke PET bottles are engineered to be extremely durable, our bottles can only withstand a maximum temperature of 40 degrees Celsius – more extreme temperatures may compromise the structural integrity of the bottle.
Keep your Aarke Carbonator and PET bottle out of extreme temperatures
Due to the laws of physics, the pressure within the gas cylinder is dependent upon its outside temperature. The Aarke Carbonator is optimized for use with gas at room temperature. If the cylinder gets too hot, the Aarke Carbonator can become potentially dangerous to use.
To avoid this risk, think about the following:
- Don’t put your Aarke Carbonator/PET bottle in the freezer.
- Don’t place the Aarke Carbonator/PET bottle next to a radiator or space heater.
- Don’t place the Aarke Carbonator/PET bottle close to open flames of any sort.
- Don’t place the Aarke Carbonator/PET bottle in the direct sun or too close to a window.
- Don’t use the Aarke Carbonator/PET bottle in extreme outdoor temperatures.
Never attempt to carbonate an empty Aarke PET bottle
Injecting gas into an empty Aarke PET bottle may lead to high pressure inside the bottle that could result in a safety risk.
Keep the Aarke Carbonator away from children
Children are way too creative to use this product.
Don’t transport the Aarke Carbonator with the gas cylinder installed
Make sure to unscrew the gas cylinder while traveling.
Never carbonate anything other than plain water
Don’t try to carbonate or re-carbonate old, flat soda, wine or juice, etc.
Never put anything in the water before carbonating
To avoid potential harm to the Aarke Carbonator while carbonating. Never add fruit slices, ice, or flavors – only carbonate plain water. We highly recommend adding flavor post-carbonation either in a carafe or a glass.
Never use an Aarke PET bottle that’s deformed, discolored, or scratched
Be sure your Aarke PET bottle isn’t damaged. Make sure to look on the Aarke PET Bottle for its expiration date. After its expiration date, the bottle’s plastic may have weakened and should be replaced for your safety.
RECYCLING
To properly dispose of the Aarke Carbonator, unscrew the large metal pieces and recycle as metal. The rest of the Aarke Carbonator is to be recycled as plastic.
CUSTOMER SUPPORT
If you experience a problem with your Aarke Carbonator, please do the following:
- Check the troubleshooting guide
Please read through the troubleshooting guide on the following page and attempt the suggested solutions. - Contact us at aarke.com/contact
If the troubleshooting guide doesn’t help, please contact us at aarke.com/contact. We’ll answer within 48 hours during the week. Our customer service department is based at our office in Stockholm, Sweden.
TROUBLESHOOTING GUIDE
Problem/Suggested solutions
- When I push the lever, very little or no gas comes out.
- Check if the gas cylinder is empty.
- Check if the gas cylinder is screwed in tightly enough (some older gas cylinders need a little extra tightening).
- Make sure you’re pushing the lever all the way down (without forcing it).
- Listen for a leaking sound when you push the lever – if you do, refer to problem #3.
- If these solutions don’t work, contact us via aarke.com/contact and let us know what’s happening.
- There may be an issue with the cylinder gasket. Refer to the next page for further gasket-related instructions.
- Gas is flowing into the bottle when I push the lever, but the water isn’t getting carbonated.
- Make sure you’re holding the lever down until you hear a buzzing noise from the valve, then release. Be sure not to release until you hear the buzzing noise! If this doesn’t solve your problem, please contact us via aarke.com/contact and let us know what’s happening.
- I hear a leaking sound when I push the lever and very little gas is flowing into the bottle.
- Check if the gas cylinder is screwed in tightly enough.
- There may be an issue with the cylinder gasket. Refer to the next page for further gasket-related instructions.
- There are drops of water inside the cylinder compartment.
- Check if the gas cylinder is screwed in tightly enough.
- Make sure to hold down the lever for about 3-4 seconds until you hear the buzzing noise when carbonating. Release the lever slowly.
- There may be an issue with the cylinder gasket. Refer to the next page for further gasket-related instructions.
- I can hear gas leaking out when screwing in the gas cylinder, even though I’m not pushing down the lever.
- There may be an issue with the cylinder gasket. Refer to the next page for further gasket-related instructions.
- The cylinder is freezing inside the Aarke Carbonator during use.
- This may be due to a leak between the gas cylinder and the Aarke Carbonator. Try screwing the gas cylinder in a bit tighter.
- There may be an issue with the cylinder gasket. Refer to the next page for further gasket-related instructions.
CYLINDER GASKET TROUBLESHOOTING AND REPLACEMENT
The rubber gasket is located inside the Aarke Carbonator’s cylinder compartment and functions as a very important seal between the gas cylinder and the Aarke Carbonator. If the gasket is missing, damaged, or misplaced, the Aarke Carbonator will not work as intended. Possible symptoms of a faulty or missing cylinder gasket could be:
- A leaking sound from the cylinder compartment when pushing the lever.
- Water droplets in the cylinder compartment or a frozen cylinder.
- The gas cylinder quickly runs out of gas.
- The gas cylinder is leaking gas when screwed into the Aarke Carbonator, even when the lever isn’t being pushed.
Checking the gasket
Unscrew the gas cylinder and turn the Aarke Carbonator upside down. Look down into the cylinder compartment and check to see if there’s a black gasket (a black ring) around the brass pin and if it looks to be placed correctly.
Replacing the gasket
- Each Aarke Carbonator has an extra gasket stored under the base of the machine, underneath a sticker labeled ”Extra Gasket.” Remove the sticker and take out the extra gasket.
- Ensure that the CO2 cylinder has been removed from the Aarke Carbonator.
- A few inches below the black seam there is a screw at the back of the Aarke Carbonator. Unscrew it, grab the upper part of the Aarke Carbonator, and lift it out from the body.
- Turn the upper portion upside down and look inside. If necessary, remove the old gasket with tweezers or a small screwdriver.
- Place the new gasket into the circular hole and push it into place around the entire perimeter.
- Place the upper portion of the machine back into the main body. Ensure it’s straight and facing the correct direction before screwing it back in. Done!
Aarke AB
Östgötagatan 100 116 64 Stockholm, Sweden aarke.com/support. www.aarke.com.




















