BOSTITCH konnect KT-VLED1502 Gooseneck LED Desk Lamp
To register your product visit BostitchOffice.com/New-Product
SAFETY GUIDELINES – DEFINITIONS
It is important for you to read and understand this manual. The information it contains relates to protecting YOUR SAFETY and PREVENTING PROBLEMS. The s Symbols below are used to help you recognize this information.
DANGER: Indicates an imminently hazardous situation, which if not avoided, will result in death or serious injury and/or property damage.
WARNING: Indicates a potentially hazardous situation which, if not avoided, could result in death or serious injury and/or property damage.
CAUTION: Indicates an potentially hazardous situation, which if not avoided, may result in minor or moderate injury and/or property damage.
NOTICE: Used without the safety alert symbol indicates potentially hazardous situation which, if not avoided, may result in property damage.
IMPORTANT SAFEGUARD
Bostitch Desk Lamps are intended for indoor office and home use and have not been tested for operation at different voltages or use outdoors. Each of these misuses could damage the lignt and/or create unsafe operating condiion5.
TO REDUCE THE RISK OF INJURY
Before any use, be sure everyone using this light reads and understands all safety instructions and other information contained in this manual.
CAUTlON: Failure to comply with the recommendations outlined in this instruction manual will void warranty.
WARNING: Read all safety warnings and all instructions. Failure to follow the warnings and instructions may result in electric shock, fire, and/or serious injury.
SAVE ALL WARNINGS AND INSTRUCTIONS FOR FUTURE REFERENCE
WARNING: To reduce the risks associated with impact and hazardous voltage which, if not avoided, could result in death or serious injury and/or property damage.
- Use indoors and in dry locations only, keep all liquids away from the light
- Avoid putting the light on an uneven surface to prevent toppling or damage
- Do not alter or modity the light, ground plug, or polarized plug blades
- Do not use light with other adapters or voltage supplies
- Plug the light into grounded, polarized electrical outlet; contact a qualified electrician if a polarized outlet is not available
- Do not use the light if the power cord or the enclosure is damaged
- If an extension cord is used, ensure that it is properly rated for your application
- Do not attempt to disassemble light, product is to be serviced by qualified service personnel only-there are no user serviceable parts inside
- Always power off and unplug light before cleaning
- Clean exterior only with a dry, clean cloth; do not immerse light in water to clean
- Do not use force when adjusting light
- Do not insert objects into light
- If any irregularities are detected during use, turn off the switch and unplug the light.
WARNING: To reduce the risks associated with excessive heat and fire which, if not avoided, could result in death or serious injury and/or property damage.
- Avoid usage in high temperature areas.(104 F/40’C)
- Avoid putting light next to heater
- Lights should not be covered with flammable objects. (cloth, paper, etc:)
CAUTION: To reduce the risks associated with environmental contamination which, if not avoided, could result in minor or moderate injury:
- Dispose of task lights in accordance with applicable local government regulations.
INTENDED USE:
Bostitch Desk Lamps are intended to provide task lighting indoors. Use in any other application has not been evaluated by Bostitch and may lead to an unsafe condition.
POWER ADAPTER STANDARDS: Input: 100-240V 50/60Hz, 0.6A/ Output: 12V, 1.0A, 12W MAX / Efficiency Level VI
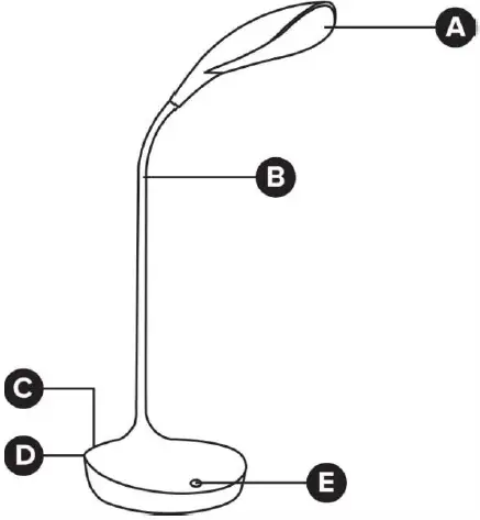
PRODUCT FEATURES
Product may vary slightly from what is illustrated.
- A. Lamp Head
- B. Flexible Silicone Neck
- C. Power Adapter Input
- D. USB Charging Port
- E. Power/Dimmer Button
POWERING ON/OFF & USING THE DIMMER: Tap the power button once to turn the light on; the light is now on the lowest brightness level. lap the button once or twice more to select a higher brightness level. 1o turn off, tap the power switch a fourth time.
USB CHARGING PORT: USB charging port (5V, 1A) charges the batteries of most standard USB compatible devices. Check your devices charging requirements to ensure effective charging before using this port. This port may slowly charge larger devices like tablets only when the device’s screen is shut off.
USAGE +CARE
- Don’t pick up and carry light by its arm
- Always hold the light base while adjusting the arm
- Lights should not be covered with flammable objects (cloth, paper, etc.)
- Avoid putting the light on an uneven surface to prevent toppling or damage
- Avoid usage in high temperature areas (104F/40’C)
- Avoid usage in humid and wet areas (shower’s, outdoors, etc.)
- Avoid putting next to a heater
- Do not use force when adjusting the light arm
- Do not use the light with other adapters
- Do not use the light with other voltage supplies
- Do not attempt to dismantle, modify, or force the light apart
- Do not insert objects into the light
- If not in use for a prolonged period of time, unplug light from power source
- Do not come in contact with the light, cord, plug, and/or socket with wet hands
- If any irregularities are detected during use, turn off and remove from power source immediately
MAINTENANCE:
Always remove light from power source before performing any maintenance. Light cannot be washed in water. If dirty, unplug from power source and wipe with a clean cloth.
THREE-YEAR LIMITED WARRANTY
Effective September 1, 2012 Amax Inc. warrants to the original retail purchaser that the product purchased is free from defects in material and workmanship, and agrees to repair or replace, at Amax’s option, any defective Bostitch branded desk lamp three (3) years from the date of purchase. Warranty is not transferable. Proof of purchase date required. This warranty covers only damage resulting from defects in material or workmanship; it does not cover conditions or malfunctions resulting from normal wear, neglect, abuse, accident, or repairs attempted or made by other than our national repair center or authorized warranty service centers. You are responsible for the costs of shipping the defective product to Amax Inc.
THIS WARRANTY IS THE EXCLUSIVE WARRANTY OF AMAX INC., AND IS IN LIEU OF ALL OTHER EXPRESS WARRANTIES IN:::LUDING, BUT NOT LIMITED TO. IMPLIED WARRANTIES OF MERCHANTABILITY OR FITNESS FOR A PARTICULAR PURCHASC. AMAX INC. SHALL NOT BE LIABLE FOR ANY DIRECT, INDIRECT, INCIDENTAL, OR CONSEQUENTIAL DAMAGES
Some states and countries do not allow the exclus1on or limitation of incidental or consequential damages, so the above limitations or exclusions may not apply to you. This warranty gives you specific legal rights, and you may also have other rights which vary from state to state and country to country. For information on our warranty claim procedure, please contact us at 800-343-9329.
For troubleshooting. questions and customer care, please visit us at Bostitchoffice.com or contact us at 1-800-343-9329.
USA & Canada:
Manufactured under license by
Amax Incorporated
East Greenwich, RI O2818
800.343.9329
AO1163

















