SKYWALKER SWJD15 TRAMPOLINES

PART LIST
| Key No.
1 | Qty.
6 | Description
T-joint (may be pre-installed to top tube) | Key No.
15 | Qty.
33 | Description
Self-tapping Screws (3 Spare Parts) |
| 2 | 6 | Socket (may be pre-installed to top tube) | 16 | 1 | Ring |
| 3 | 12 | Leg Extension | 17 | 1 | Net |
| 4 | 6 | Leg Brace | 18 | 1 | String (Black) |
| 5 | 1 | Jump Mat | 19 | 2 | Support Block |
| 6 | 1 | Frame Pad | 20 | 1 | Backboard |
| 7 | 1 | Enclosure Net | 21 | 1 | Tightening Cord (White) |
| 8 | 96 | Springs | 22 | 1 | Basketball |
| 9 | 6 | Straight Tube | 23 | 1 | Spring Tool |
| 10 | 6 | Curved Tube | 24 | 1 | Screw Driver |
| 11 | 12 | Foam | 25 | 12 | Top Tube |
| 12 | 6 | Pole Cap | # | 1 | User Manual & Safety Placard |
| 13 | 6 | End Cap | # | 1 | Set of ASTM Frame Labels |
| 14 | 6 | M5x50mm Bolt |
ORDERING REPLACEMENT PARTS
We get it… sometimes things happen. But the fun shouldn’t stop just because you need a new bolt or screw! To order replacement parts, check out our website at: www.skywalkertrampolines.com or call our toll-free Customer Care Hot-line at 1-866-603-Jump (5867), Monday – Friday, 8 a.m. until 5 p.m. Mountain Time (excluding holidays).
Our customer service team will ask you a few questions in order to get the replacement part sent out as soon as possible. We’re not trying to complicate your life, we promise.
When calling, make sure to have the following information ready:
- The model # of the product (see the front cover of this manual)
- The key # and description of the part (see the part list above)
- The quantity needed (only you know the answer to that one!)
BEFORE YOU BEGIN
Thanks for choosing Skywalker Trampolines! We’re just as excited as you are to help your family live an active (but most importantly FUN) lifestyle. This model is one of our favorites, and we’re confident you’ll love it too. To make things easier for you, we’ve listed important information that you (and your little outdoor adventurers) need to know. Make sure you brush up on the warnings, instructions, assembly, maintenance, and use of your new product… because there will be a pop quiz at the end! (Okay, not REALLY, but if you’re still reading this, props to you! You’re awesome).
PART IDENTIFICATION
Before you begin, take a look at the drawings below to make sure you have all the parts! The numbers in the squares to the left (key numbers) will help you identify the parts during assembly.



PART IDENTIFICATION
Before you begin, take a look at the drawings below to make sure you have all the parts! The numbers in the squares to the left (key numbers) will help you identify the parts during assembly. 
EXPLODED DRAWING


ASSEMBLY
READ THIS BEFORE YOU BEGIN
- You’ll probably need at least 2 adults and 2 hours to assemble your trampoline (of course, that depends on what model you have, and whether or not you’re secretly a superhero).
- We’ve provided Phillip’s screwdriver and two adjustable wrenches to help with assembly, but you’re more than welcome to use your own tools. Many find that using a power drill and a rubber mallet makes things easier.
- Use gloves to protect your hands from pinch points during assembly. Plus, it’s an up-and-coming fashion trend.
- The assembly steps refer to parts by their descriptions and key numbers (see the part list on page 3).
- The assembly steps are written in a specific order, and if you don’t follow them exactly… you may end up having to start all over again. We promise we won’t say, “I told you so” but really… we told you so.
- Most importantly… YOU’VE GOT THIS. YOU’RE THE BEST TRAMPOLINE ASSEMBLER AROUND. This may not be the easiest thing you’ve ever done… but it will be worth it. Trust us.
And if you’re a visual learner, check out our assembly videos! Visit : youtube.com/c/SkywalkerTrampolines
STEP 1
Register your trampoline! For info on warranty registration, see page 2.
STEP 2
Insert one top tube (25) with T-joint (1) into one top tube with socket (2). Make sure the holes in the tubes face the ground! Now repeat this step for the remaining top tubes with T-joints and top tubes with sockets. Make sure the T-joints and sockets are alternating!
STEP 3
Insert a leg brace (4) into 2 leg extensions (3) and tighten with 2 self-tapping screws (15). Insert both leg extensions into the T-joint and socket at the same time, and tighten with two self-tapping screws. Repeat this step until you have 6 frame pieces assembled.
STEP 4
This step is a breeze! (But it is a good idea to grab a friend to help). Just flip the 6 frame pieces so that the legs are now supporting the frame. Now connect 2 frame pieces together. Continue connecting frame pieces until you have a free-standing frame. (And it might even resemble a trampoline now!)
Remember: Make sure the T-joints and sockets are alternating!
STEP 5
If the enclosure net (7) is already attached to the jump mat (5), go to step 7. (We knew you were an overachiever!) If not, no worries, it’s easy to assemble.
Place the jump mat on the ground. The warning label should be on the top, and the ID label should be on the back.
STEP 6
Now place the enclosure net (7) on the jump mat (5), and make sure the first hole and the first V-ring line up. Now insert the first V-ring into the first hole. Then, insert the remaining V-rings into their corresponding holes. Once you’ve finished, the enclosure net should be fully attached to the jump mat. Important! The first hole is the hole directly to the left of the enclosure door zipper. The first V-ring is the V-ring directly to the left of the warning label.
STEP 7
Place the jump mat (5) on clear ground inside the frame. Make sure the 2 warning decals align with 2 T-joints!
STEP 8
You may want to use gloves for this step! Before you begin, make sure each V-ring has been threaded through the holes on the enclosure net. Make sure the enclosure door is lined up with a T-joint. Using the spring tool, hook the smaller end of a spring into the V-ring just left of the enclosure door. Stretch the free end of the spring until it reaches the frame hole just left of the T-joint.
STEP 9
Now, repeat step 8 on the other side of the trampoline. Make sure to count the exact number of V-rings and frame holes so each one corresponds!
You now have attached 2 V-rings to the frame holes using 2 springs.0
STEP 10
Find the 4 T-joints indicated below and place a spring into the V-ring just left of the T-joints, and stretch the spring until it reaches the frame hole just left of the T-joints.
You now have attached 6 V-rings to the frame holes using 6 springs.
STEP 11
Next, place 6 springs into the V-rings just left of the 6 remaining sockets, and stretch the springs until they reach the frame holes just left of the sockets.
You now have attached 12 V-rings to the frame holes using 12 springs. There should be 7 V-rings and 7 frame holes in between each spring.
STEP 12
Now, place one spring directly to the left of each spring already placed.
Continuing in a clock-wise direction, attach the remaining springs to the remaining V-rings and frame holes until all 96 springs have been placed.
STEP 13
Place the frame pad (6) on top of the springs. Adjust the frame pad so that the slits are directly above the T-sockets.
Important: Don’t use the trampoline without the frame pad. It’s designed to protect your little jumpers! Trust us on this one.
STEP 14
Look under the trampoline. Find the straps that are attached to the underside of the frame pad (6). Position the outer straps so that one strap is on each side of the frame. Position the inner straps so that one strap is threaded through a V-ring. Now tie all of the straps in bows. (Because if you tie them in knots, you’ll have a pretty hard time untying them ever again!)
STEP 15
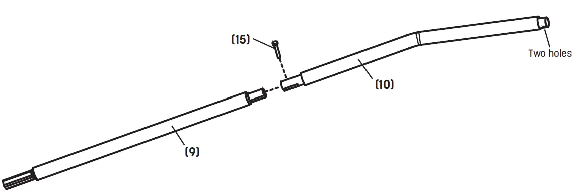
If you want, take a snack break because you’re MORE THAN HALFWAY DONE, and you deserve it. This next step is easy. Just slide all the straight tubes (9) and curved tubes (10) into foam (11). If you’re having trouble getting the foam over the tubes, try adding a small amount of water inside the foam!
STEP 16
Insert one straight tube (9) into one curved tube (10), and secure with one self-tapping screw (15). Important: On the curved tube there is one end that has two holes. Make sure that end is on top! Repeat this step to attach the 5 remaining straight tubes and curved tubes together.
STEP 17
Important: The pole cap (12) has two sides; one with a hexagon hole, and one with a regular hole.
Insert the pole cap into one strap ring found on the top of the enclosure net. Make sure the hexagon hole is facing the net, and the regular hole is facing you. 
STEP 18
Next insert a curved tube (10) into the pole cap (12). Make sure the bent side of the enclosure poles are facing towards the center of the trampoline. Make sure the holes on the curved tube, pole cap, and strap ring are all aligned. Then insert a M5x50mm bolt (14) to secure in place. Important: Make sure the bolt goes into the round hole (not the hexagon hole) or you could break the pole cap! Repeat steps 17-18 to assemble the remaining pole caps.
STEP 19
Take one end of the string (18) and tie a knot at the end. Begin threading the other end of the string through the left hole on the ring (16). Weave the string in and out of the holes on the ring and the net (17) to attach completely. Make sure to regularly tighten the string. Once you’ve made it all the way around the ring, tie a knot at the end of the string to secure.
STEP 20
Attach the 2 support blocks (19) to the backboard (20) using the provided velcro.
Attach the ring with net to the backboard.
STEP 21
Using a ladder, tie one end of the tightening cord (21) to a pole cap. Pull the cord tight, and then attach the other end of the cord to the nearest pole cap. Now attach the 4 straps at the top of the backboard to the tightening cord, and tie knots to secure. Thread the 2 straps on the back of the backboard through the enclosure net and tie knots to secure. If any cord is left over, tie another knot 6 inches below the pole cap and cut off the excess. 
STEP 22
Starting from the enclosure door, lift one of the assembled poles and insert the straight tube (9) into the socket. Repeat this process to assemble the 5 remaining poles.
Helpful tip: When inserting the enclosure poles, pull back on the middle of the poles!
STEP 23
Insert the end caps (13) into the bottom of the sockets.
Using the included plastic tie, attach the safety placard to the trampoline frame close to the enclosure door.
STEP 24
Congratulations on completing your new trampoline! (See… we knew you could do it!) So here comes the real question… are you satisfied with this completed product? If you are, go ahead and write a review on the retailer’s site you bought it from. We’d really appreciate it… and if we could, we’d give you a gold star. Are you completely frustrated and have some choice words for us? Contact us directly! We’re not trying to ruin your life, we promise. And we’ll do everything we can to make it right again. See contact info on page 2-3.
MAINTENANCE & CARE INFORMATION
Congratulations and high five on successfully assembling your new Skywalker Trampolines 15′ Round Trampoline with Enclosure! Now, the best way to keep your new trampoline in tip top shape, is to periodically check for:
- Missing, improperly positioned, or insecurely attached frame padding, netting, enclosure tubes, or foam sleeves
- Punctures, frays, tears, or holes worn in the mat, frame padding, netting or foam sleeves
- Deterioration in the stitching or fabric of the mat, frame padding or netting
- Ruptured or missing springs
- Bent or broken frame, leg or enclosure tubes
- Sagging bed or netting
- Sharp protrusions on the frame, suspension system or enclosure tubes
If you notice any of the above conditions, please disassemble the trampoline and/or the enclosure net until new parts are ordered!
Moving the Trampoline and Enclosure
If the trampoline and enclosure needs to be moved, it should be moved by two persons, kept horizontal, and lifted slightly. If necessary, the trampoline and enclosure can be taken apart for moving. To take the trampoline apart, follow the assembly steps in reverse order. Do not attempt to take the frame sections, legs, or bases apart before the mat and springs have been removed.
Don’t forget to check us out online! We’d love to hear from you.
Website: skywalkertrampolines.com
Facebook: facebook.com/skywalkertrampolines
YouTube: youtube.com/channel/UCUty7EqwIGouK5ovzGpHGrw/feed
Pinterest: pinterest.com/swtrampolines
Twitter: twitter.com/swtrampolines?lang=en
Instagram: instagram.com/skywalker_trampolines/?hl=en
INSTRUCTIONS FOR USE
To reduce the risk of serious injury, read and follow all of the warnings, precautions, and instructions in this manual before you use the trampoline enclosure. Warnings and instructions for care, maintenance, and use of this trampoline and enclosure are included to promote safe enjoyable use of this equipment.
- It is the responsibility of the owner and supervisors of the trampoline and enclosure to make sure all users obey the safety instructions given in this manual. The trampoline should only be used with mature, knowledgeable supervision.
- Secure the trampoline and trampoline enclosure against unauthorized and unsupervised use. If you use a ladder to get on and off the trampoline, be sure to remove it when the trampoline and enclosure are not being used.
- Be sure there is enough clear space above the trampoline and enclosure before use. It is best to have at least 24 feet (7.3 meters) of clear space above the ground. This space must be clear of wires, tree limbs, and any other possible hazards.
- Lateral (sideways) clearance is very important. Do not place the trampoline and enclosure near walls, buildings, fences, sidewalks, and other play areas. Always keep a clear space on all sides of the trampoline and enclosure.
- Remove any objects that could interfere with the performer. Maintain a clear area around and under the trampoline.
- Be sure the trampoline and enclosure are on a level surface before use.
- Always inspect the trampoline and enclosure before each use. Make sure that the frame, padding, netting, enclosure tubes, and foam sleeves are correctly and securely positioned. Replace any worn, defective, or missing parts. (Jumpers may be hurt if the trampoline and enclosure are used when they are in poor condition.)
- Bounce only when the surface of the mat (bed) is dry. There should be very little or no wind or air movement. The trampoline and enclosure must not be used in gusty or severe winds.
- The trampoline and enclosure frames are made of metal. They are not grounded and will conduct electricity. For this reason, an electrocution hazard exists. No lights, electric heaters, extension cords, or household electrical appliances are to be permitted on the trampoline or in enclosure at any time.
- Use the trampoline and enclosure in an area with lots of light. If the trampoline and enclosure are indoors or in shady areas, you may need to us artificial (electrical) lighting in the area.
- During the winter months, the trampoline soft materials will need to be removed and stored in a dry place. If left up in the winter months, it may cause damage to the springs, jump mat, spring pad, and enclosure. The warranty will be void.
- This trampoline and enclosure is made for users who weigh less than 200 lbs.
- Trampoline over 20 in. (51 cm) tall are not recommended for use by children under 6 years of age.
- The trampoline enclosure is to be used only with the size of trampoline for which the enclosure is designed.
- Misuse and abuse of the trampoline enclosure is dangerous and can cause serious injury.
- Do not attach anything to the enclosure barrier that is not a manufacturer-approved accessory or part of the enclosure system.
- Please remove any jewelry before jumping begins. Jewelry may get caught in the enclosure netting.
- Wear clothing free of drawstrings, hooks, loops, or anything that could be caught while using the trampoline/enclosure and result in entanglement, strangulation, or both.
- DO NOT let more than one person inside the trampoline enclosure at the same time. Two or more people jumping at the same time can cause serious injury.
- DO NOT jump on the trampoline while you have or are holding any objects, especially something sharp or breakable.
- DO NOT use the trampoline and enclosure if you have been using alcohol or drugs.
- DO NOT attempt or allow somersaults (flips) on the trampoline. Landing on the head or neck can cause serious injury, paralysis, or death, even when landing in the middle of the jumping mat.
- Always climb on to and off of the trampoline. It is a dangerous practice to jump from the trampoline to the floor or ground when dismounting, or to jump onto the trampoline when mounting.
- DO NOT use the trampoline as a springboard to other objects. Enter and exit the enclosure only at the enclosure door or barrier made for that purpose.
- DO NOT attempt to crawl under, jump over, intentionally bounce off of, hang from, climb on, kick, or cut the barrier netting.
- While keeping head erect, focus eyes on the trampoline toward the perimeter. This will help control bounce.
- Stop bouncing by flexing knees as feet come in contact with the trampoline bed. Learn this skill before attempting others.
- Avoid bouncing too high. Stay low until bounce control and repeated landings in the center of the trampoline can be accomplished. Control is more important than height.
- Avoid bouncing when tired. Keep turns short.
- Learn fundamental bounces and body positions thoroughly before trying more advanced skills. A variety of trampoline activities can be carried out performing the basic fundamentals in various series and combinations, performing one fundamental after another, with feet bounces between them.
- For additional information concerning the trampoline equipment contact the manufacturer. For information concerning skill training, contact a certified trampoline instructor.
- Do not use or stand near the trampoline in windy or gusty conditions. A trampoline can become airborne when exposed to sustained wind or gusting wind conditions. This can result in serious injury, paralysis, or death, as well as property damage. To reduce these risks, disassemble the trampoline and enclosure and store them until weather conditions improve. Anchoring a trampoline frame may prevent the trampoline from moving as a result of the wind, but even anchored trampolines can become airborne or damaged. Consult a qualified contractor to determine what type of anchor works best in your location.
WARNING LABEL PLACEMENT


The placard shown above was sewn to the trampoline enclosure netting.
Note: The labels and placard shown are not the actual size.
The labels shown on this page have been attached to the trampoline in the indicated locations. The safety instructions placard will need to be attached by the owner. If one of the labels or the placard is missing or illegible, call our Customer Care Hot Line toll-free at 1-866-603-JUMP (5867), Monday through Friday, 8 a.m. until 5 p.m. Mountain Time, to order a free replacement label or placard.
INSTRUCTIONS & MODEL LESSONS
The following lessons are examples of the instructional program. They should follow a complete discussion and demonstration of body mechanics between the supervision and the student(s).
- Mounting and dismounting: Demonstration and practice of proper techniques.
- Fundamental bounce: Demonstration and practice.
- Breaking: Demonstration and practice. Breaking on command.
- Hand and knee drop: Demonstration and practice, stressing four-point landing and alignment.
Lesson 1: Fundamental Bounce
- Start from a standing position with your head erect and your eyes on the frame pad.
- Swing your arms forward and up in a circular motion.
- Bring your feet together and point your toes downward while in the air.
- Keep your feet about 15 inches apart when landing on the mat.

Lesson 2: Knee Drop
- Start bouncing from a standing position, keeping your eyes on the frame pad.
- Land on your knees, keeping your back straight and your body erect.
- Come back up to an erect position.

Lesson 3: Hand and Knee Drop
- Start bouncing from a standing position, keeping your eyes on the frame pad.
- Land on the mat on your hands and knees.
- Push with your hands and come back up to an erect position.

Lesson 4: BackDrop
- Start from a low bounce and land on your back.
- Keep your chin forward on your chest as you land.
- Kick forward and up with your legs to return to an erect position.

Lesson 5: Seat Drop
- Land in a sitting position with your legs parallel to the mat.
- Place your hands on the mat beside your hips.
- Push with your hands to return to an erect position.

Lesson 6: Front Drop
- Start from a low bounce and land on the mat in a prone position.
- Keep your head up and your arms extended forward on the mat.
- Push with your arms to return to an erect position.

Lesson 7: Half Turntable
- Start from the front drop position and push to the left or right with your arms turning your body in the opposite direction.
- Turn your head and shoulders toward the direction that your body is turning.
- Keep your back parallel to the mat and your head up.
- After completing a half turn, land in the front drop position.

Lesson 8: Swivel Hips
- Start with a seat drop.
- Turn your head to the left or right and swing your arms up in the same direction.
- Turn your hips in the same direction as your head and arms, completing a twist.
- Land in the seat drop position.
- Keep your back parallel to the mat and your head up.
- After completing a half turn, land in the front drop position.

Once each of lessons are learned, the student should now be encouraged to design and organize routines, with emphasis on good form. The instructor may judge or grade students and arrange groupings for further instruction accordingly.
To stimulate interest in competition, the game of “Trampoline Horse” can be introduced. Before the game begins, students must count off. To start the game, student number 1 performs a stunt. Student number 2 then mounts the trampoline, performs the same stunt and adds a second stunt. Student number 3 mounts and performs stunts 1 and 2 and adds a third stunt. Thus the series of stunts is continuously lengthened. The first person to miss a stunt in the series assumes the letter “H” and starts a new series with a stunt. If a person misses again, he assumes the letter “O.” When a person accumulates “H-O-R-S-E,” he or she is eliminated from the game. The last remaining contestant is the winner. Lesson planning from this point on should be facilitated by contacting a certified trampoline instructor.
TRAMPOLINE SAFETY INFORMATION
In trampoline use, as in all active recreational sports, participants can be injured. However, there are steps that can be taken to reduce risk of injury. In this section, primary accident patterns are identified and the responsibilities of supervisors and jumpers in accident prevention are described.
ACCIDENT CLASSIFICATION
Somersaults (flips): Landing on your head or neck, even in the middle of the trampoline mat, increases the risk of
a broken back or neck, which can result in paralysis or death. Such events can occur when a jumper makes an error trying to perform a forward or backward somersault (flip). Do not perform somersaults(flips) on this backyard trampoline.
Multiple Jumpers: More than one jumper at a time on the trampoline increases the chance of a jumper becoming injured by losing control of his or her jump. Jumpers may collide with one another, fall off of the trampoline, fall onto or through the springs, or land incorrectly on the mat. The jumper weighing the least is the jumper most likely to be injured.
Mounting and Dismounting (Getting on and off): The trampoline mat is several feet above ground level. Jumping from the trampoline to the ground or any other surface may result in injury. Jumping onto the trampoline from a roof, deck, or other objects also presents a risk of injury. Smaller children may need assistance getting onto or down from the trampoline. Climb carefully onto and off of the trampoline. Do not step onto the springs or the fame pad. Do not grasp the frame pad to pull yourself onto the trampoline.
Striking the Frame or the Springs: Injury may result from hitting the frame or falling through the springs while jumping or getting onto or off of the trampoline. Stay in the center of the mat when jumping. Be sure to keep the frame pad in place to cover the fame. The frame pad is not made or intended to support the weight of trampoline user. Do not step or jump directly on the frame pad.
Loss of Control: Jumpers who lose control of their jumps may land on the mat incorrectly, land on the frame or springs, or fall off of the trampoline. A controlled jump is one where the landing is in the same spot as the takeoff. Before learning a more difficult stunt, you should be able to do one over an over with control. Attempting a stunt beyond present skill levels increases the chance of loss of control. To regain control and stop your jump bend your knees sharply when you land.
Alcohol or Drug Use: The chance of injury increases when a jumper has consumed alcohol or taken drugs. These substances impair a person’s reaction time, judgment, and physical coordination.
Encountering Objects: Jumping on a trampoline while other people, pets, or objects are underneath it will increase the chance of getting hurt. Jumping while holding or having an object on the trampoline, particularly one that is sharp or breakable, will increase the chance of injury. Placing a trampoline too close to overhead electrical wires, tree limbs, or other objects can increase the chance of injury.
Poor Maintenance of The Trampoline: Jumpers may be injured if a trampoline is in poor condition. A torn mat, bent frame, broken spring, or missing frame pad, for example, should be replaced before anyone is allowed to jump. Inspect the trampoline before each use.
Weather Conditions: A wet trampoline is too slippery for safe jumping. Gusty or high winds can cause jumpers to lose control. To reduce the chance of injury, use the trampoline only when the weather is good.
Access: To prevent access to the trampoline by unsupervised smaller children, the optional access ladder should always be taken away and stored in a safe place when the trampoline is not in use.
ENCLOSURE SAFETY INFORMATION
NEED FOR TRAMPOLINE ENCLOSURE SAFETY
A trampoline enclosure is a recreational product. The information on this page identifies important safety precautions. The precautions are not all-inclusive, because an enclosure can be used in ways that this manual cannot cover completely.
To prevent pinches and cuts during enclosure use, a frame pad must be installed on the trampoline (see the trampoline manufacturer’s instructions). The frame pad must be placed on the trampoline before the enclosure is erected. The frame pad reduces the chance of injury from accidental contact with the springs and frame.
USING THE ENCLOSURE SAFELY
Adult Supervision of Children
Children using a trampoline with a trampoline enclosure must be supervised by adults. Young children must be supervised constantly. Adults must pay particular attention to:
- Things that children bring into the enclosure
- Children’s activities inside the enclosure
- Conditions inside the enclosure while children are using it
- The way children enter and exit the enclosure
Additional details of safety enclosure use are described below:
Electrocution Hazard Associated with the Metal Frame of the Trampoline and Enclosure
The trampoline and enclosure frames are made of galvanized steel. They are not grounded and will conduct electricity. For this reason, an electrocution hazard exists. No lights, electric heaters, extension cords, or household electrical appliances are to be permitted on the trampoline or in the enclosure at any time.
Hazards Associated with Entering and Exiting the Trampoline Enclosure
A trampoline enclosure installed on a trampoline is raised off the ground. The height of the enclosure increases the risk of a fall when a jumper is entering or leaving the enclosure. Young children especially may have difficulty entering and exiting the enclosure. To reduce the risk of falling, always help young children to get into and out of the enclosure.
Enter and exit the trampoline enclosure only through the door of the enclosure (the opening in the netting walls). The trampoline mat (bed) and the netting walls of the enclosure are separate pieces. No jumper, especially young children, should ever leave the enclosure by going out between the mat and the netting walls. Trying to get out this way creates a risk of choking from being caught between the trampoline frame and the netting walls.
Darkness increases the chances of a fall when a jumper is entering or leaving the enclosure. Do not use the trampoline unless there is plenty of lighting provided.
Hazards Associated with Animals, Sharp or Breakable Objects
To avoid damage to the trampoline enclosure and the trampoline, do not allow pets or other animals inside of the enclosure. The claws and teeth of animals can damage the netting. Do not jump on the trampoline while holding or wearing a sharp or breakable object.
METHODS OF ACCIDENT PREVENTION
THE SUPERVISOR’S ROLE IN PREVENTING ACCIDENTS
It is the responsibility of the supervisors of trampoline users to provide knowledgeable and mature supervision. They need to know and enforce all of the rules and warnings printed in this manual to minimize the likelihood of accidents and injuries. They also need to inform users of these rules. During periods of time when supervision is unavailable or inadequate, this may require that the trampoline is taken down, placed in a secure area, or otherwise secured against unauthorized use. Another option that may be considered is covering the trampoline with a heavy tarp that can be secured with locks and chains. It is the responsibility of the supervisor to make sure that the placard with trampoline safety instructions is kept posted on the trampoline and that jumpers are informed about these instructions.
THE JUMPER’S ROLE IN PREVENTING ACCIDENTS
Education on the part of the user is a must for safety. Users must first learn a low, controlled bounce and then learn the basic landing positions and combinations before proceeding to intermediate skills. Jumpers must understand why they have to master “control” before they can start thinking about other moves. Understanding the proper progression of skills in jumping on a trampoline must be the first lesson. Review this manual to learn about the basic techniques for using the trampoline. Follow the rules on the placard with trampoline safety instructions (see step [25] in assembly instructions). For further information or additional instructional materials, contact a certified trampoline instructor.
TRAMPOLINE SAFETY INSTRUCTIONS
For the Supervisor
Read the instructions before using the trampoline. Enforce all of the safety rules. Become familiar with the information in this manual so you can help new users learn basic jumps and all users follow trampoline safety. All trampoline users must have mature, knowledgeable supervision, regardless of their skill or age. This trampoline is not recommended for use by children under 6 years of age. Inspect the trampoline before using it. Do not use the trampoline without the frame pad securely in place to cover the frame. Do not use the trampoline in wet or windy conditions. A worn or damaged mat, spring, or frame piece should be replaced immediately.
Jumping
Learn fundamental jumps and body positions thoroughly before trying more advanced skills. Know your own limits in performing each of the trampoline jumps. Study this manual to learn how to do basic jumps. Stop your bounce by flexing your knees as your feet come in contact with the trampoline mat. Learn this skill before attempting any others.
HAZARDS ASSOCIATED WITH HIGH WINDS
A trampoline with an enclosure can be moved or blown over by high winds. Anyone in its path, or inside of the enclosure, may be injured if this happens. If you expect high winds, take down the enclosure netting and stake the trampoline frame to the ground, or move the trampoline and enclosure to a sheltered location. The only sure method to protect your trampoline and the surrounding environment during high winds is to completely disassemble the unit and store indoors. Damage due to wind or weather is not warranted.
Download PDF: SKYWALKER SWJD15 TRAMPOLINES User Manual
SKYWALKER SWJD15 TRAMPOLINES





















