SOLIGHT RNP255 Cordless Hand Saw
The RNP255 handheld cordless saw uses a high quality, new generation carbon-free motor for propulsion, which has a significantly longer service life than the carbon motors used previously. Please read the following instructions carefully and follow them to ensure that the product serves you safely and to your full satisfaction. Avoid unprofessional handling of this tool, and always observe the electrical appliance use policy. Keep the instruction manual carefully. Never expose to environments with high humidity, avoid contact of the product with liquids.
TECHNICAL PARAMETERS
| Model | RNP255 |
| Operating voltage | 21V |
| Chain speed | 5 m/s | 1800rpm |
| Length of guide rail | 10” | 25.5 cm |
| Number of accumulators | 1 |
Engine Battery type | Carbonless engine Li-Ion battery |
Part of the package
- 1pc hand-held cordless chainsaw
- 1pc 21V 4Ah Li-Ion battery
- 1pc charger
- 1pc instructions
- 1pc key
- 1pc screwdriver
SAFETY MEASURES
Wear appropriate clothing, work gloves and eye protection when using this equipment. Before each use, make sure the equipment is working properly by running it briefly “on empty”.
USING
- When the saw is put into operation, make sure to keep your hands at least 15 cm away from the cutting area.
- Do not use this saw to cut large branches or it may jam or destroy the motor.
- When cutting, always keep the object to be cut firmly attached to prevent the saw from “jumping”.
- Do not apply pressure to the saw when cutting.
- Do not use the saw in the rain.
- Remove the battery when you are not using the saw.
- If the power of the saw decreases, check the battery charge or recharge it.
- It is possible to buy batteries with a capacity of (6 Ah), the Solight RN-B6 battery designation.
- In case of damage, a replacement chain can be purchased with Solight RNP255-R, and a replacement guide bar with Solight RNP255-L.
CLEANING AND MAINTENANCE
- Remove the battery before performing any service or maintenance.
- Wear gloves when handling the chain.
- Clean and oil the chain after each use.
- After about 10 hours of use, the cover should be disassembled and the saw cleaned of dust and dirt.
- Store in a dry and clean environment at room temperature.
- In case of damage to non-replaceable parts (motor, switch, plastic parts) contact the service centre of Solight holding s.r.o.
- More complex repairs may only be carried out by experts at the Solight holding s.r.o. service centre.
COMMISSIONING
Fully charge the battery before first use. Then connect it to the saw.
ASSEMBLY OF THE CHAIN
Remove the battery before any service work.
- Loosen the locking screw and remove the side cover.
- Then remove the guide rail.
- First put the chain on the sprocket and then put the chain on the guide rail.
- The teeth of the chain must point in the right direction!
- The saw is equipped with a function for adjusting the chain tension. When installing the guide bar, the adjusting element must be clamped in the positioning hole at the end of the guide bar!

- SOLIGHT RNP255 Cordless Hand Saw 02
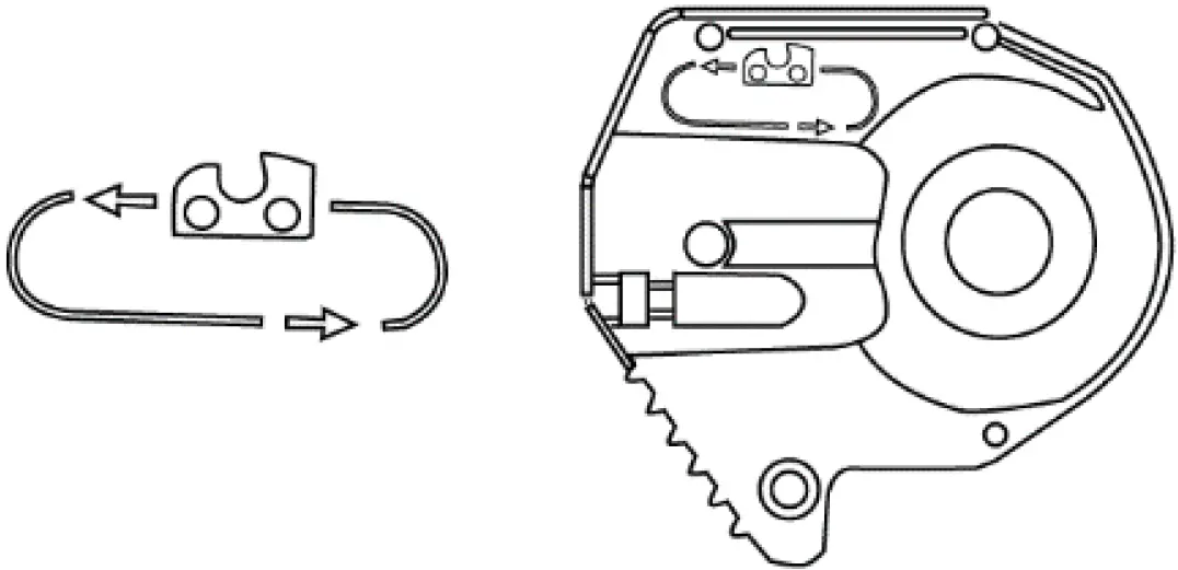
Pay attention
to the direction of the teeth of the chain – they must point in the direction shown in the picture:
- Replace the side cover and tighten the locking screw.
CHAIN TENSION
The new chain pulls out very quickly from initial use. Therefore, check and adjust the tension frequently. A loose chain causes rapid wear to itself, as does a guide bar.
Grasp the tooth in the middle of the guide bar and pull it downwards. If a total of 3 teeth are exposed, the chain is correctly tensioned. Depending on the situation, either tighten or loosen the chain.
- Loosen the locking screw
- Tighten the chain with a screwdriver (by turning to the right) or loosen the chain (by turning to the left).
- Tighten the locking screw

- Screwdriver
CHARGE
- Insert the battery into the charger or connect the charger connector to the battery.
- Plug the charger into the power supply using the power cord provided.
- Charging is indicated by a red LED.
- A green LED indicates a full charge.
- Average charging time is about 2-4 hours, depending on battery capacity.

The product has been issued with a CE declaration of conformity in accordance with the applicable regulations. On request from the manufacturer: [email protected], or downloadable from www.solight.cz.























