makita XML03 Cordless Lawn Mower

SPECIFICATIONS
| Model: | XML03 | |
| Mowing width (blade diameter) | 460 mm (18″) | |
| No load speed | 2,500 /min | |
| Maximum speed | 3,300 /min | |
| Part number of replacement mower blade | 199367-2 | |
| Dimensions (L x W x H) | during operation | L: 1,455 mm to 1,680 mm (57-1/4″ to 66″) W: 532 mm (21″) H: 960 mm to 1,265 mm (37-3/4″ to 49-3/4″) |
| when stored (without grass basket) | L: 1,010 mm to 1,125 mm (39-3/4″ to 44-1/4″) W: 532 mm (21″) H: 535 mm to 715 mm (21″ to 28-1/8″) | |
| Rated voltage | D.C. 36 V | |
| Net weight | 26.1 – 28.6 kg (57.6 – 63.1 lbs) | |
| Protection degree | IPX4 | |
- Due to our continuing program of research and development, the specifications herein are subject to change without notice.
- Specifications and battery cartridge may differ from country to country.
- The weight may differ depending on the attachment(s), including the battery cartridge. The lightest and heavi-est combinations, according to EPTA-Procedure 01/2014, are shown in the table.
Applicable battery cartridge and charger
| Battery cartridge | BL1815N / BL1820B / BL1830 / BL1830B / BL1840B / BL1850B / BL1860B |
| Charger | DC18RC / DC18RD / DC18RE / DC18SD / DC18SE / DC18SF |
WARNING:
Only use the battery cartridges and chargers listed above. Use of any other battery cartridges and chargers may cause injury and/or fire.
SAFETY WARNINGS
Lawn Mower Safety Instructions
WARNING:
When using electric lawn mow-ers, basic safety precautions should always be followed to reduce the risk of fire, electric shock, and personal injury; including the following.
Read All Instructions
Read, understand, and follow all instructions on the mower and in the instruction manuals. Be thoroughly familiar with the controls and the proper use of the mower before starting.
WARNING!
- Avoid Dangerous Environment – Never operate the mower in damp or wet locations. Always be sure of your footing: keep a firm hold on the han-dle and walk; never run.
- Don’t Use In Rain.
- Keep Children Away – All visitors should be kept a safe distance from work area. Be alert and turn mower off if a child enters the area. Use extra care when approaching blind corners, shrubs, trees, or other objects that may block your view of a child.
- Dress Properly – Do not wear loose clothing or jewelry. They can be caught in moving parts. Use of rubber gloves and substantial footwear is recommended when working outdoors. Do not operate the mower when barefoot or wearing open sandals.
- Use Safety Glasses- Always use face or dust mask if operation is dusty.
- Use Right Appliance – Do not use lawn mower for any job except that for which it is intended.
- Don’t Force Lawn Mower – It will do the job better and safer at the rate for which it was designed.
- Don’t Overreach – Keep proper footing and balance at all times. Do not mow near drop offs, ditches, or embankments. You could lose your footing or balance.
- Stay Alert – Watch what you are doing. Use com-mon sense. Do not operate lawn mower when you are tired. Do not operate machine while under the influence of alcohol or drugs. A moment of inattention while operating the mower may result in serious personal injury.
- Disconnect Lawn Mower – Disconnect the lawn mower from the power supply or remove the bat-tery when not in use, before servicing, cleaning, removing material from the lawn mower, or chang-ing accessories such as blades, and the like.
- Store Idle Lawn Mower Indoors – When not in use, lawn mower should be stored in an indoor dry and locked-up place – out of reach of children.
- Maintain Lawn Mower With Care – Keep cutting edges sharp and clean for best and safest per-formance. Follow instructions for lubricating and changing accessories. Inspect lawn mower cord periodically and if damaged, have it repaired by an authorized service facility. Keep handles dry, clean, and free from oil and grease.
- Keep machine free of grass, leaves, or other debris build up. Keep guards in place and in working order.
- Keep blades sharp.
- Keep hands and feet away from cutting area. Keep clear of the discharge opening at all times.
- Objects struck by the lawn mower blade can cause severe injuries to persons. The lawn should always be carefully examined and cleared of all objects prior to each mowing. Stay behind the handle when the engine (motor) is running.
- If the mower strikes a foreign object, follow these steps:
- Stop the mower. Release the switch. Wait until the blade comes to a complete stop.
- Remove the lock key and the battery cartridge.
- Inspect the mower for any damage.
- Repair any damage before restarting and operating the mower. Replace the blade if it is damaged in any way.
- Use identical replacement blades only.
- This cutting machine is capable of amputating hands and feet and throwing objects. Failure to observe the following safety instructions could result in serious injury or death.
- Only allow responsible adults, who are familiar with the instruction, to operate the mower.
- Be sure the area is clear of other people before mowing. Stop mower if anyone enters the area.
- Never direct discharged material toward anyone. Avoid discharging material against a wall or obstruction. Material may ricochet back toward the operator. Stop the blade when crossing gravel surfaces.
- Do not pull the mower backward unless absolutely necessary. When you are compelled to back the mower from a fence or other similar obstruction, look down and behind before and while moving backward.
- Release switch lever and wait for blade rota-tion to stop before crossing driveways, walks, roads and any gravel-covered areas. Also remove the lock key if you leave it, reach to pick up or remove something out of your way, or for any other reason that may distract you from what you are doing.
- Do not operate machine without the entire grass catcher, discharge guard, rear guard, or other safety protective devices in place and working.
- Stop the motor and remove the lock key whenever you leave the equipment, before cleaning the mower or unclogging the chute and mak-ing any repairs or inspections.
- Shut the motor off and wait until the blade comes to a complete stop before removing the grass catcher. Beware that the blades coast after turn off.
- Mow only in daylight or good artificial light.
- If the equipment should start to vibrate unusually, stop the motor and check immediately for the cause. Vibration is generally a warning of trouble.
- Do not insert the lock key into mower until it is ready to be used.
- Don’t grasp the exposed cutting blades or cutting edges when picking up or holding the appliance.
- Check the blades or blade bolts carefully for cracks or damage before operation. Replace cracked or damaged blades or blade bolts immediately.
- Never attempt to make wheel height adjustments while mower is running.
- Check the grass basket frequently for wear or deterioration. For storage, always make sure the grass basket is empty. Replace a worn grass bas-ket with a new factory replacement one for safety.
- Check grass basket components and the discharge guard frequently and replace with the manufacturer’s recommended parts, when necessary.
- Mow across the face of slopes, never up and down. Exercise extreme caution when changing direction on slopes. Do not mow excessively steep slopes. Poor footing could cause a slip and fall accident.
- Watch for holes, ruts, bumps, rocks, or other hidden objects. Uneven terrain could cause a slip and fall accident. Tall grass can hide obstacles.
- Do not mow on wet grass or excessively steep slopes. Poor footing could cause a slip and fall accident.
- Check the blade mounting bolt at frequent intervals for proper tightness.
- Keep all nuts, bolts, and screws tight to be sure the equipment is in safe working condition.
- Never remove or tamper with safety devices. Check their proper operation regularly. Never do anything to interfere with the intended function of a safety device or to reduce the protection provided by a safety device.
- Maintain or replace safety and instruction labels, as necessary.
- Battery tool use and care
- Prevent unintentional starting. Ensure the switch is in the off-position before connecting to battery pack, picking up or carrying the machine. Carrying the machine with your finger on the switch or energizing machine that have the switch on invites accidents.
- Disconnect the battery pack from the machine before making any adjustments, changing accessories, or storing machine. Such preventive safety measures reduce the risk of starting the machine accidentally.
- Recharge only with the charger specified by the manufacturer. A charger that is suitable for one type of battery pack may create a risk of fire when used with another battery pack.
- Use machines only with specifically designed battery packs. Use of any other battery packs may create a risk of injury and fire.
- When battery pack is not in use, keep it away from other metal objects, like paper clips, coins, keys, nails, screws or other small metal objects, that can make a connection from one terminal to another. Shorting the battery terminals together may cause burns or a fire.
- Under abusive conditions, liquid may be ejected from the battery; avoid contact. If contact accidentally occurs, flush with water. If liquid contacts eyes, seek medical help. Liquid ejected from the battery may cause irritation or burns.
- Do not use a battery pack or machine that is damaged or modified. Damaged or modified batteries may exhibit unpredictable behavior resulting in fire, explosion or risk of injury.
- Do not expose a battery pack or machine to fire or excessive temperature. Exposure to fire or temperature above 130°C (265°F) may cause explosion.
- Follow all charging instructions and do not charge the battery pack or machine outside of the temperature range specified in the instructions. Charging improperly or at temperatures outside of the specified range may damage the battery and increase the risk of fire.
- Have servicing performed by a qualified repair person using only identical replacement parts. This will ensure that the safety of the product is maintained.
- Do not modify or attempt to repair the machine or the battery pack except as indicated in the instructions for use and care.
- Do not charge lawn mower in rain, or in wet locations.
- When replacing batteries, all batteries should be replaced at the same time. Mixing fresh and discharged batteries could increase internal cell pressure and rupture the discharged battery.
- Do not dispose of the battery(ies) in a fire. The cell may explode. Check with local codes for possible special disposal instructions.
- Do not open or mutilate the battery(ies). Released electrolyte is corrosive and may cause damage to the eyes or skin. It may be toxic if swallowed.
- Do not charge battery in rain, or in wet locations.
- Do not use the machine when there is a risk of lightning.
- When you use the machine on muddy ground, wet slope, or slippery place, pay attention to your footing.
- Avoid working in poor environment where increased user fatigue is expected.
- Do not use the machine in bad weather where visibility is limited. Failure to do so may cause fall or incorrect operation due to low visibility.
- Do not replace the battery in the rain.
- Do not submerge the machine into a puddle.
- Do not leave the machine unattended outdoors in the rain.
- Do not insert or remove the lock key in the rain.
- When wet leaves or dirt adhere to the suc-tion mouth (ventilation window) due to rain, remove them.
- Do not wash the machine with high-pressure water.
- When washing the machine, be sure to remove the battery and lock key and close the battery cover, and pour water toward the bottom of the machine to which the blade is attached.
- When storing the machine, avoid direct sun-light and rain, and store it in a place where it does not get hot or humid.
- Perform inspection or maintenance in a place where rain can be avoided.
- After using the machine, remove the adhered dirt and dry the machine completely before storing. Depending on the season or the area, there is a risk of malfunction due to freezing.
- Do not wet the terminal of the battery with liquid such as water, or submerge the battery. Do not leave the battery in the rain, nor charge, use, or store the battery in a damp or wet place. If the terminal get wet or liquid enters inside of battery, the battery may be short-circuited and there is a risk of overheating, fire, or explosion.
- After removing the battery from the machine or charger, be sure to attach the battery cover to the battery and store it in a dry place.
- Do not replace the battery with wet hands.
- Do not use the machine in the snow.
- If the cut-off grass is wet, it is likely to be clogged inside of the machine. Check the condition of the machine regularly, and remove the adhered grass as necessary.
WARNING:
Use of this product can create dust-containing chemicals that may cause respiratory or other illnesses. Some examples of these chemicals are compounds found in pesticides, insecticides, fertilizers and herbicides.
Your risk from these exposures varies, depending on how often you do this type of work. To reduce your exposure to these chemicals: work in a well-ventilated area, and work with approved safety equipment, such as those dust masks that are specially designed to filter out microscopic particles.
Symbols
The followings show the symbols used for tool.
- volts
- direct current
- no load speed
- revolutions or reciprocation per minute
Important safety instructions for battery cartridge
- Before using battery cartridge, read all instructions and cautionary markings on (1) battery charger, (2) battery, and (3) product using battery.
- Do not disassemble battery cartridge.
- If operating time has become excessively shorter, stop operating immediately. It may result in a risk of overheating, possible burns and even an explosion.
- If electrolyte gets into your eyes, rinse them out with clear water and seek medical attention right away. It may result in loss of your eyesight.
- Do not short the battery cartridge:
- Do not touch the terminals with any conductive material.
- Avoid storing battery cartridges in a container with other metal objects such as nails, coins, etc.
- Do not expose battery cartridge to water or rain.
A battery short can cause a large current flow, overheating, possible burns and even a breakdown.
- Do not store the tool and battery cartridge in locations where the temperature may reach or exceed 50 °C (122 °F).
- Do not incinerate the battery cartridge even if it is severely damaged or is completely worn out. The battery cartridge can explode in a fire.
- Be careful not to drop or strike battery.
- Do not use a damaged battery.
- The contained lithium-ion batteries are subject to the Dangerous Goods Legislation requirements.
- For commercial transports e.g. by third parties, and forwarding agents, special requirements on pack-aging and labeling must be observed.
- For the preparation of the item being shipped, consulting an expert for hazardous material is required. Please also observe possibly more detailed national regulations.
- Tape or mask off open contacts and pack up the battery in such a manner that it cannot move around in the packaging.
- Follow your local regulations relating to disposal of battery.
- Use the batteries only with the products specified by Makita. Installing the batteries to non-compliant products may result in a fire, exces-sive heat, explosion, or leak of electrolyte. SAVE THESE INSTRUCTIONS.
CAUTION:
Only use genuine Makita batteries. Use of non-genuine Makita batteries, or batteries that have been altered, may result in the battery bursting causing fires, personal injury and damage. It will also void the Makita warranty for the Makita tool and charger.
Tips for maintaining maximum battery life
- Charge the battery cartridge before completely discharged. Always stop tool operation and charge the battery cartridge when you notice less tool power.
- Never recharge a fully charged battery cartridge. Overcharging shortens the battery service life.
- Charge the battery cartridge with room temperature at 10 °C – 40 °C (50 °F – 104 °F). Let a hot battery cartridge cool down before charging it.
- Charge the battery cartridge if you do not use it for a long period (more than six months).
ASSEMBLY
WARNING:
- Always be sure that the lock key and battery cartridge are removed before carrying out any work on the mower. Failure to remove the lock key and the battery cartridge may result in seri-ous personal injury from accidental start-up.
- Never start the mower unless it is completely assembled. Operation of the tools in a partially assembled state may result in serious per-sonal injury from accidental start-up.
Installing the handle
NOTICE:
When installing handles, position the cords so that they are not caught by anything between the handles. If the cord is damaged, the mower switch may not work.
- Attach the lower handle so that the holes in the handle fit in the protrusions on the mower body. Insert the bolts from inside, then attach washer A from outside, and then tighten the thumb nuts.

- Lower handle 2. Washer A 3. Thumb nut
- Protrusion 5. Hole 6. Bolt
- Align the hole in the lower handle with the hole in the upper handle, then insert the bolts from inside, then attach washer B from outside, and then tighten the thumb nuts.

- Upper handle 2. Hole 3. Washer B 4. Thumb nut
- Lower handle 6. Bolt
CAUTION: Hold the upper handle firmly so that it does not drop off your hand. Otherwise, the handle may fall and cause an injury.
- Attach holder A and holder B to the handle. Position the cords as shown in the figure.

- Cord 2. Holder A 3. Holder B
NOTE:
When attaching holder A, be sure to fix the cord with the holder as shown in the figure.
Removing the mulching attachment
- Open the rear cover.

- Rear cover
- Remove the mulching attachment while holding down the lever.

- Lever 2. Mulching attachment
Installing the grass basket
- Open the rear cover.

- Rear cover
- Hook the grass basket on the rod of the mower body as shown in the figure.

- Rod 2. Guard 3. Grass basket
NOTICE: Make sure that the guard on the grass basket is facing downward. Otherwise, the grass basket may not catch all of cut-off grass.
Attaching the mulching attachment
- Open the rear cover, and then remove the grass basket.

- Rear cover 2. Grass basket
- Attach the mulching attachment while holding down the lever, and then release the lever to lock the mulching attachment.

- Lever 2. Mulching attachment
FUNCTIONAL DESCRIPTION
Installing or removing battery cartridge
CAUTION:
- Always switch off the tool before installing or removing of the battery cartridge.
- Hold the tool and the battery car-tridge firmly when installing or removing battery cartridge. Failure to hold the tool and the battery cartridge firmly may cause them to slip off your hands and result in damage to the tool and battery cartridge and a personal injury.
- Make sure that you lock the battery cover before use. Otherwise, mud, dirt, or water may cause damage to the product or the battery cartridge.
- Always install the battery cartridge fully until the red indicator cannot be seen. If not, it may accidentally fall out of the tool, causing injury to you or someone around you.
- Do not install the battery cartridge forcibly. If the cartridge does not slide in easily, it is not being inserted correctly.
NOTE: The tool does not work with only one battery cartridge.
To install the battery cartridge;
- Pull up the locking lever, and then open the battery cover.

- Battery cover 2. Locking lever
- Align the tongue on the battery cartridge with the slot on the mower then slide the cartridge until it locks in place with a little click.

- Battery cartridge
- Insert the lock key in the place shown in the figure as far as it will go.

- Lock key
- Close the battery cover and push it until it is latched with the locking lever.
To remove the battery cartridge from the mower;
- Pull up the battery cover locking lever and open the battery cover.
- Pull out the battery cartridge from the mower while sliding the button on the front of the cartridge.
- Pull out the lock key.
- Close the battery cover.
Tool/battery protection system
The tool is equipped with a tool/battery protection system. This system automatically cuts off power to the motor to extend tool and battery life. The tool will automatically stop during operation if the tool or battery is placed under one of the following conditions:
Overload protection
When the battery is operated in a manner that causes it to draw an abnormally high current, the tool automatically stops and the main power lamp blinks in green. In this situation, turn the tool off and stop the application that caused the tool to become overloaded. Then turn the tool on to restart.
Overheat protection
When the tool or battery is overheated, the tool stops automatically and the main power lamp lights up in red. In this case, let the tool and battery cool before turning the tool on again.
Over-discharge protection
When the battery capacity is not enough, the tool stops automatically and the main power lamp blinks in red. In this case, remove the battery from the tool and charge the battery cartridges or change the battery cartridges to fully charged ones.
Indicating the remaining battery capacity
Only for battery cartridges with the indicator
Indicator lamps 2. Check button
Press the check button on the battery cartridge to indicate the remaining battery capacity. The indicator lamps light up for a few seconds.
NOTE: Depending on the conditions of use and the ambient temperature, the indication may differ slightly from the actual capacity.
Control panel
The control panel has the main power switch, the mode switching button, and the indicator of the remaining battery capacity.
Battery indicator 2. Mode switching lamp 3. Main power lamp 4. Check button 5. Mode switching button 6. Main power switch
Main power switch
WARNING:
Always turn off the main power switch when not in use.
To turn on the machine, press the main power switch. The main power lamp lights up in green. To turn off the machine, press the main power switch again.
NOTE:
- If the main power lamp lights up in red or blinks in red or green, refer to the instructions for tool/battery protection system.
- This machine employs the auto power-off function. To avoid unintentional start up, the main power switch will automatically shut down when the switch lever is not pulled for a certain period after the main power switch is turned on.
Mode switching button
You can switch the operating mode by pressing the mode switching button. When the machine is turned on, the machine starts up in normal mode. When you press the mode switching button, the machine shifts to the energy-saving mode and the mode switching lamp lights up in green. In the energy-saving mode, you can decrease the noise at mowing. When you press the mode switching button again, the machine returns to the normal mode.
Indicating the remaining battery capacity
Press the check button to indicate the remaining battery capacities. The battery indicators correspond to each battery.
Switch action
WARNING:
Before installing the battery cartridge, always check to see that the switch lever actuates properly and returns to the original position when released. Operating a tool with a switch that does not actuate properly can lead to loss of control and serious personal injury.
NOTE:
- The mower does not start without pressing the switch button even the switch lever is pulled.
- Mower may not start due to the overload when you try to mow long or dense grass at a time. Increase the mowing height in this case.
This mower is equipped with the interlock switch and han-dle switch. If you notice anything unusual with either of these switches, stop operation immediately and have them checked by your nearest Makita Authorized Service Center.
- Install the battery cartridges. Insert the lock key into the interlock switch and then close the battery cover.
- Press the main power switch.
- Press the switch button and hold it.
- Grab the upper handle and pull the switch lever.
Switch button 2. Upper handle 3. Switch lever
NOTE: If the lock key is not inserted, the power lamp blinks in green when you pull the switch lever. - Release the switch button as soon as the motor starts running. The mower will continue to run until you release the switch lever.
- Release the switch lever to stop the motor.
Adjusting the mowing height
- WARNING: Never put your hand or leg under the mower body when adjusting the mowing height.
- WARNING: Always make sure that the lever fits in the groove properly before operation.
The mowing height can be adjusted in the range of between 20 mm (13/16″) and 75 mm (2-15/16″).
Remove the lock key, and then pull the mowing height adjusting lever outward of the mower body and move it to your desired mowing height.
Mowing height adjusting lever
Hold the front grip with one hand, and then move the mowing height adjusting lever with the other hand.
Mowing height adjusting lever 2. Front grip
NOTE:
- The mowing height figures should be used just as a guideline. Depending on the conditions of the lawn or the ground, the actual lawn height may become slightly different from the set height.
- Try a test mowing of grass in a less conspicuous place to get your desired height.
Adjusting the handle height
CAUTION:
Before removing the bolts, hold the upper handle firmly. Otherwise, the handle may fall and cause an injury.
The handle height can be adjusted in three levels.
- Loosen the thumb nuts of the lower handle, and then remove the bolts, washer, and thumb nuts.

Thumb nut 2. Washer 3. Bolt - Adjust the handle height.
- Insert the bolts from inside, then attach washers from outside, and then tighten the thumb nuts.
Using mulching attachment
The mulching attachment allows you to return the cut grass to the ground without gathering the cut grass in the grass basket. When you operate the machine with the mulching attachment, be sure to remove the grass basket.
Electronic function
The machine is equipped with electronic functions for easy operation.
- Constant speed control
Electronic speed control for obtaining constant speed. Possible to get fine finish, because the rotating speed is kept constant even under load condition. - Soft start
The soft-start function minimizes start-up shock, and makes the machine start smoothly.
OPERATION
Mowing
- WARNING: Before mowing, clear away sticks and stones from mowing area. Furthermore, clear away any weeds from mowing area in advance.
- WARNING: Always wear the safety goggles or safety glasses with side shields when operating the mower.
CAUTION:
If the cut grass or foreign object blocks up inside of the mower body, be sure to remove the lock key and battery cartridge and wear gloves before removing the grass or foreign object.
NOTICE: Use this machine for mowing lawn only. Do not mow weeds with this machine.
Firmly hold the handle with both hands when mowing.
The mowing speed guideline is approximately 1 meter (3.3 ft.) per 4 seconds.
The center lines of the front wheels are guidelines to mowing width. Using the center lines as guidelines, mow in strips. Overlap by one-half to one-third the previous strip to mow the lawn evenly.
Mowing width 2. Overlapping area 3. Centerline
Change the mowing direction each time to prevent the grass grain pattern from forming in just one direction.
Periodically check the grass basket for mowed grass. Empty the grass before it becomes full. Before every periodical check, be sure to stop the mower then remove the lock key and the battery cartridge.
NOTE:
Using the mower with the grass basket full prevents smooth blade rotation and places an extra load on the motor, which may cause a breakdown.
Mowing a long-grass lawn
Do not try to cut long grass all at once. Instead, mow the lawn in steps. Leave a day or two between mowings until the lawn becomes evenly short.
NOTE:
Mowing long grass to a short length all at once may cause the grass to die. The cut grass may also block up inside of the mower body.
Emptying the grass basket
WARNING:
To reduce the risk of accident, regularly check the grass basket for any damage or weakened strength. Replace the grass basket if necessary.
- Release the switch lever.
- Remove the lock key.
- Open the rear cover and take out the grass basket by holding the handle.

Rear cover 2. Handle 3. Grass basket - Empty the grass basket.
MAINTENANCE
WARNING:
- Always be sure that the lock key and battery cartridge are removed from the mower before storing or carrying the mower or attempting to perform inspection or maintenance.
- Always remove the lock key when the mower is not in use. Store the lock key in a safe place out of reach of children.
- Wear gloves when performing inspection or maintenance.
- Always wear the safety goggles or safety glasses with side shields when performing inspection or maintenance.
NOTICE: Never use gasoline, benzine, thinner, alcohol or the like. Discoloration, deformation or cracks may result.
To maintain product SAFETY and RELIABILITY, repairs, any other maintenance or adjustment should be performed by Makita Authorized or Factory Service Centers, always using Makita replacement parts.
Maintenance
- Remove the lock key and battery cartridges, and then close the battery cover.
- Put the mower on its side and clean grass clippings accumulated on the underside of mower deck.
- Pour water toward the bottom of the machine to which the blade is attached.
NOTICE: Do not wash the machine with high-pressure water. - Check all nuts, bolts, knobs, screws, fasteners etc. for tightness.
- Inspect moving parts for damage, breakage, and wear. Damaged or missing parts should be repaired or replaced.
- Store the mower in a safe place out of the reach of children.
Carrying the mower
When carrying the mower, hold the front grip and lower handle with two people as shown in the figure.
Lower handle 2. Front grip
Storing
Store mower indoors in a cool, dry and locked place. Don’t store the mower and charger in locations where the temperature may reach or exceed 40 °C (104 °F).
- Open the rear cover and take out the grass basket by holding the handle.

Rear cover 2. Handle 3. Grass basket - Loosen the thumb nuts and fold the upper handle.

Upper handle 2. Thumb nut
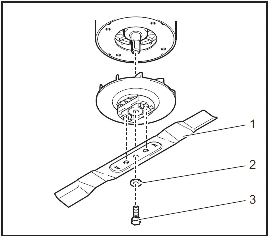
Removing or installing the mower blade
- WARNING: Always remove the lock key and battery cartridge when removing or installing the blade. Failure to remove the lock key and battery cartridge may cause a serious injury.
- WARNING: The blade coasts for a few seconds after releasing the switch. Do not start any operation until the blade comes to a complete stop.
- WARNING: Always wear gloves when handling the blade.
Removing the mower blade
- Put the mower on its side so that the mowing height adjusting lever comes to the upper side.
- To lock the blade, insert a lumber or similar into the mower.
- Turn the bolt counterclockwise with the wrench.

Mower blade 2. Wrench 3. Lumber - Remove the bolt, washer, mower blade in order.

Mower blade 2. Washer 3. Bolt
Installing the mower blade
To install the mower blade, take the removal procedure in reverse.
- WARNING: Install the blade carefully. It has a top/bottom face. Place the blade so that the rotational direction arrow faces outward.
- WARNING: Tighten the bolt clockwise firmly to secure the blade.
- WARNING: Make sure that the blade and all the fixing parts are installed correctly and tightened securely.
- WARNING: When you replace the blades, always follow the instructions provided in this manual.
TROUBLESHOOTING
Before asking for repairs, conduct your own inspection first. If you find a problem that is not explained in the manual, do not attempt to dismantle the tool. Instead, ask Makita Authorized Service Centers, always using Makita replacement parts for repairs.
| State of abnormality | Probable cause (malfunction) | Remedy |
| Mower does not start. | Two battery cartridges are not installed. | Install the charged battery cartridges. |
| Battery problem (under voltage) | Recharge the battery cartridge. If recharging is not effective, replace battery cartridge. | |
| The lock key is not inserted. | Insert the lock key. | |
| Motor stops running after a little use. | Battery’s charge level is low. | Recharge the battery cartridge. If recharging is not effective, replace battery cartridge. |
| Cutting height is too low. | Raise the cutting height. | |
| Motor does not reach maximum RPM. | Battery cartridge is installed improperly. | Install the battery cartridge as described in this manual. |
| Battery power is dropping. | Recharge the battery cartridge. If recharging is not effective, replace battery cartridge. | |
| The drive system does not work correctly. | Ask your local authorized service center for repair. | |
| Cutting tool does not rotate: stop the mower immediately! | Foreign object such as a branch is jammed near the blade. | Remove the foreign object. |
| The drive system does not work correctly. | Ask your local authorized service center for repair. | |
| Abnormal vibration: stop the mower immediately! | Blade is imbalanced, excessively or unevenly worn. | Replace the blade. |
OPTIONAL ACCESSORIES
CAUTION:
These accessories or attachments are recommended for use with your Makita tool specified in this manual. The use of any other accessories or attachments might present a risk of injury to persons. Only use accessory or attachment for its stated purpose.
If you need any assistance for more details regard-ing these accessories, ask your local Makita Service Center.
- Mower blade
- Makita genuine battery and charger
NOTE: Some items in the list may be included in the tool package as standard accessories. They may differ from country to country.
MAKITA LIMITED WARRANTY
Please refer to the annexed warranty sheet for the most current warranty terms applicable to this product. If the annexed warranty sheet is not available, refer to the warranty details set forth at below website for your respective country.
United States of America: www.makitatools.com Canada: www.makita.ca. Other countries: www.makita.com.













Switch button 2. Upper handle 3. Switch lever























