![]()

MINI TOWER FAN STVM 30 B2
Operating institutions and safety institutions

www.lidi-service.com

Congratulations!
By purchasing the SilverCrest STVM 30 B2 mini tower fan, hereinafter referred to as the fan, you have opted for a quality product.
Before first using it, familiarise yourself with the way the fan works and read these operating instructions carefully. Be careful to follow the safety instructions and only se the fan as described in the operating instructions and for the applications given. Keep these operating instructions in a safe place. If you pass the fan on to someone else, make sure to give them all the relevant documents with them.
Intended use
This fan has been designed for providing cool air circulation. This fan may not be used outdoors or in tropical climates. This fan has not been designed for corporate or commercial use. Use the fan in domestic environments for private applications only. Any other use does not correspond to the intended use. This fan fulfills all relevant norms and standards concerning CE conformity. Any modifications to the fan other than recommended changes by the manufacturer may result in these norms no longer being met. the manufacturer accepts no liability for any damage or malfunctions resulting from this. Only use accessories recommended by the manufacturer. Observe the regulations and laws in the country of use.
Package contents
- SilverCrest STVM 30 B2 mini tower fan
- These operating instructions
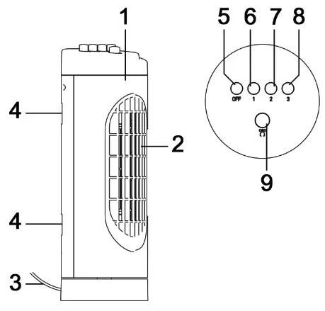
Overview
These operating instructions have a fold-out cover. On the inside of the cover is a diagram of the fan with the components numbered. The meanings of the numbers are as follows:
| 1 | Mini tower fan |
| 2 | Protective grille |
| 3 | Power cable |
| 4 | Ventilation grilles (back panel) |
| 5 | OFF button – switch off |
| 6 | Button 1 – low fan speed |
| 7 | Button 2 – medium fan speed |
| 8 | Button 3 – high fan speed |
| 9 | OSC button (oscillation movement) |
Technical specifications
| Input voltage | 220 V – 240 V~, 50 – 60 Hz |
| Power consumption | 30 W |
| Protection class | II / |
| Dimensions (W x H x D) | approx. 12 x 36 x 12 cm |
| Weight | approx. 1.1 kg |
| Information to identify the model(s) to which the information relates: SilverCrest STVM 30 B2 , IAN 384789_2107 | |||
| Name | Symbol | Value | Unit |
| Maximum fan flow rate | F | 10,60 | m3/ min |
| Fan power input | P | 23,6 | W |
| Service value | SV | 0,45 | (m3/ min) /W |
| Standby power consumption | PSB | – | W |
| Power consumption when switched off | Poff | 0 | W |
| Fan sound power level | Lwa | 53,02 | dB(A) |
| Maximum air velocity | c | 1,52 | m/s |
| Seasonal power consumption | Q | 7,55 | kWh/a |
| Measurement standard for service value | EN IEC 60879: 2019 | ||
| Contact address for further information | TARGA GmbH, Coesterweg 45, 59494 Soest, GERMANY | ||
Safety instructions
Before you use this fan for the first time, please read the following notes and heed all warnings, even if you are familiar with handling electronic devices. Keep these operating instructions in a safe place for future reference. If you sell the fan or give them away, pass on the operating instructions at the same time.
| DANGER! This signal word indicates a danger with a high risk, which will lead to death or major injuries if not avoided. | |
| WARNING! This signal word indicates a danger with a moderate risk, which can lead to death r major injuries if not avoided. | |
| CAUTION! This signal word indicates important instructions to protect against damage to property. | |
| This symbol denotes further information on the topic. | |
| AC voltage | |
| there is the risk of electric shock! | |
| Protection Class II |
DANGER! Personal safety
This fan may be used by children of 8 years or over or by persons with physical, sensory, or mental impairments or those with no knowledge or experience providing they are supervised or they have been given instructions on the proper use of the fan and they understand the associated risks. Do not allow children to play with the fan. The product must not be cleaned or maintained by unsupervised children. Keep the packaging materials out of the reach of children. There is a risk of suffocation.
DANGER! Risk of electric shock!
- Protect the product against moisture and humidity and drips or sprays of water. Never immerse in water or other liquids!
- If liquid does penetrate into the device, disconnect the power plug immediately. Get the product checked by an expert before using it again.
- Never operate the product with wet or damp hands.
- Do not touch the product if it is in water or another liquid, instead, pull the plug from the mains socket.
- Do not use the product if the power plug or the power cable is damaged, if it does not work properly, if it has fallen into the water, been dropped, or if it shows any other signs of damage. In this case, please consult an expert to repair the product.
- Only connect the power cable to a properly installed, easily accessible mains socket whose mains voltage corresponds to that in the ”Technical specifications” chapter. No action is required by the user to set the product to 50 or 60 Hz. The product automatically adjusts to 50 and to 60 Hz. The main socket must also be easily accessible after connecting.
- Make sure that the power cable cannot be damaged by sharp edges or hot spots.
- When using the product, make sure that the power cable is not jammed or squashed in any way.
- Even when switched off, the product is not entirely disconnected from the mains’ power. Pull the power plug to disconnect it completely. Always pull on the power plug, not the cable.
- Unplug the power plug from the mains socket
o if a problem occurs,
o if you are not using the product,
o for installation,o before cleaning the product and
o if there is a thunderstorm. - Never try to repair the product yourself. In the event of a problem, switch off the product, unplug the power plug and contact our customer service.
- If the power cable of this product is damaged, it must be replaced by the manufacturer, its customer service, or a similarly qualified person, in order to avoid any possible danger.
WARNING! Risk of injury!
- Do not insert any finger or any objects into the product while it is switched on.
- Do not use the product near explosive or flammable materials.
- Keep your hair, clothing, and other objects away from the protective grille (2) and the ventilation grilles (4) when switched on.
- Do not move the product while it is in use.
CAUTION! Damage to equipment!
- This product is not intended for operation with an external clock timer or separate remote control system.
- Never put the product on a hot surface (e.g. a hob) or near heat sources or open fires.
- Only use original accessories.
- Do not hang or wall-mount this product.
- Only operate the product on an even and stable surface.
- Never use the product near inflammable materials such as curtains. Maintain a clearance of at least 50 cm around the product to flammable and combustible materials.
Do not expose the fan to any direct heat sources (e.g. heaters), direct sunlight or artificial light. The device must not be exposed to spray or dripping water or abrasive liquids. Do ot use the product near water? It is especially important that the product is never immersed (do not place any containers containing liquids such as drinks, vases, etc. on the product). Make sure that the product is not subject to excessive shocks or vibrations. Do not introduce any foreign bodies into the device.
Copyright
All the contents of this user manual are protected by copyright and provided to the reader for information only. Copying data and information without the prior explicit written consent of the author is strictly forbidden. This also applies to any commercial use of the contents and information. All texts and diagrams are up to date as of the date of printing. Subject to change without notice.
Before you start
Unpacking
- Remove the product from the packaging.
- Remove all packing material.
- Check the packaging for any missing contents.
- Please contact Customer Service immediately if any items are missing
Getting started
Proceed as follows to get started using the fan:
- Select a location according to the safety instructions.
- Operate the fan on a flat, stable surface.
- Insert the mains plug into a properly installed mains socket.
- Low fan speed: Press button 1 (6) until it locks.
- Medium fan speed: Press button 2 (7) until it locks.
- High fan speed: Press button 3 (8) until it locks.
- To stop the air circulation, press the OFF button (5)
8.2 Oscillation
You can have the fan make horizontal movements (oscillations):
- Press the OSC button (9) to the lower position MOVE to switch oscillation on.
- Press the OSC button (9) again to switch the oscillation off. The OSC button (9) toggles back to the upper position STOP.
Maintenance/cleaning
DANGER! Risk of electric shock!
- Unplug the fan from the mains before cleaning it.
- Never immerse the fan in water for cleaning.
- Do not put water or detergent directly into the fan.
Repairs are required if the fan has been damaged in any way, for example, if the device housing is damaged, when liquids or objects have penetrated into the fan or when the product has been exposed to rain or moisture. Servicing is also necessary when the product does not perform normally or if it has been dropped. If smoke, unusual noises or smells are noticed, disconnect the fan from the mains immediately. If this occurs, the fan should no longer be used until it has been inspected by authorized service personnel. All servicing work must be carried out by qualified specialist personnel. Never open the housing of the fan.
- You can remove major dust portions with a vacuum cleaner.
- Only use a clean, slightly dampened cloth to clean the fan. Never use any aggressive liquids.
- For stubborn dirt, add a little detergent to the damp cloth.
- If necessary, you can also clean the protective grille (2) and the ventilation grilles (4) with a soft brush.
Storage when not in use
If you do not use the mini-tower fan (1) device for an extended period, clean it and store it in a dry and dust-free place.
Environmental regulations and disposal information
| Devices marked with this symbol are subject to the European Directive 2012/19/EU. All electrical and electronic devices must be disposed of separately from household waste at official disposal centres. Avoid damage to the environment and risks to your personal health by disposing of the device properly. For further information about proper disposal, contact your local government, disposal bodies or the shop where you bought the device. | |
| Respect the environment. Old batteries must not be disposed of with domestic waste. They must be anded in at a collection point for waste batteries. Please note that batteries must be disposed of fully discharged at appropriate collection points for old batteries. If disposing of batteries which are not fully discharged, take precautions to prevent short circuits. | |
| Dispose of all packaging in an environmentally friendly manner. Cardboard packaging can be taken to aper recycling centers or public collection points for recycling. Any film or plastic contained in the packaging should be taken to your public collection points for disposal. | |
| Only relevant for France: The product is recyclable but is subject to more restrictive manufacturer responsibility terms and must be collected separately. | |
| Please note the markings on the packaging material when disposing of it, it is labeled with abbreviations a) and numbers (b), the meanings of which are as follows: 1–7: plastic / 20–22: paper and cardboard / 80-98: composite materials. | |
| Symbol | Material | Contained in the following packaging elements for this product |
| Polyethylene terephthalate | _ | |
| High-density polyethylene | _ | |
| Polyvinyl chloride | _ | |
| Low-density polyethylene | _ |
| Polypropylene | _ | |
| Polystyrene | _ | |
| Other plastics | _ | |
| Corrugated cardboard | Sales packaging | |
| Other cardboard | _ | |
| Paper | Silk paper inside the sales packaging | |
| Paper/cardboard/ plastic | _ | |
| Paper/cardboard/ plastic/aluminium | _ |
Conformity notes
The product complies with the requirements of the applicable European and national directives. Evidence of conformity has been provided. The manufacturer has the relevant declarations and documentation.
The product complies with the requirements of the applicable national directives for Great Britain.
The complete EU Declaration of Conformity is available for download from this link: https://www.targa.gmbh/downloads/conformity/384789_2107.pdf
Warranty and service information
Warranty of TARGA GmbH
Dear Customer, This device is sold with three years warranty from the date of purchase. In the event of product defects, you have legal rights toward the seller. These statutory rights are not restricted by our warranty as described below.
Warranty conditions
The warranty period commences upon the date of purchase. Please keep the original receipt in a safe place as it is required as proof of purchase. If any material or manufacturing faults occur within three years of the purchase of this product, we will repair or replace the product free of charge as we deem appropriate.
The warranty period and legal warranty rights
The warranty period is not extended in the event of a warranty claim. This also applies to replaced and repaired parts. Any damage or defects discovered upon purchase must be reported immediately when the product has been unpacked. Any repairs required after the warranty period will be subject to charge.
Scope of warranty
The device was carefully manufactured in compliance with stringent quality guidelines and subjected to thorough testing before it left the works. The warranty applies to material and manufacturing faults. This warranty does not cover product components that are subject to normal wear and which can therefore be regarded as wearing parts, or damage o fragile components such as switches, rechargeable batteries or components made of glass. This warranty is void if the product is damaged, incorrectly used, or serviced. To ensure the correct use of the product, always comply fully with all instructions contained in the user manual. The warnings and recommendations in the user manual regarding correct and incorrect use and handling of the product must always be observed and complied with. The product is solely designed for private use and is not suitable for commercial applications. The warranty is rendered void in the event of incorrect handling and misuse if it is subjected to force, and also if any person other than our authorized service technicians interferes with the device. No new warranty period commences if the product is repaired or replaced.
Submitting warranty claims
To ensure speedy handling of your complaint, please note the following:
– Before using your product for the first time, please read the enclosed documentation carefully. Should any problems arise which cannot be solved in this way, please call our hotline.
– Always have your receipt, the product article number as well as the serial number (if available) to hand as proof of purchase.
-If it is not possible to solve the problem on the phone, our hotline support staff will initiate further servicing procedures depending on the fault.
Service
Phone: 0800 404 7657
E-Mail: [email protected]
IAN: 384789_2107
Manufacturer
Please note that the following address is not a service address.
First, contact the service point stated above.
TARGA GmbH
Coesterweg 45
59494 Soest
GERMANY
TARGA GMBH ComInn 45 59494 Soon GERMANY
tau Inlormarlon Updos 5rand der Inforrnotionen: 11/2021 !dart :No.: S1VM 30 82 112021-I

















