VANCE HINES 17339 Harley-Davidson Softail Big Shots Staggered

Congratulations, you have purchased the finest exhaust system available for your motorcycle. Your Vance & Hines exhaust is designed and crafted for performance, quality, and style. Please follow the instructions below, check exhaust system for missing or damaged parts and if you need any assistance please contact our technical support line (562) 921-7461.
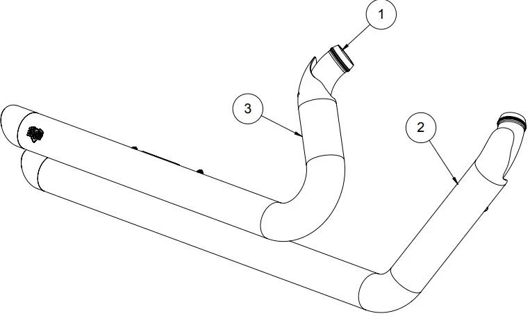
OVERVIEW

PARTS LIST
| NO. PART NO. Description Qty. 9 | A2 0HW | 3/8-16 x 3/4 F S | 2 |
| 1 D815FC eader Assembly 1 10 | A285HW | 1/2-20 x 3 SHCS | 1 |
| 2 D4 0HC/D4 2HP Front Heat Shield 1 11 | A240HW | 5/16-18 x 5/8 FHS | 4 |
| 3 D4 1HC/D4 3HP-S Rear Heat Shield 1 12 | A270HW | No. 20 Hose Clamp | 3 |
| 4 A644ST O2 Adaptor 2 13 | A272HW | No. 28 Hose Clamp | 4 |
| 5 D101ST-P 1.75×0.75 Spacer 1 14 | A195HW | Nut Plate | 2 |
| 6 D110ST-P 1.75×1. Spacer 1 15 | 330-P | Mount Bracket | 1 |
| 7 A101HW 3/8-1 x 2.5 SHCS 1 16 A1 7 Exhaust asket | 2 | ||
| 8 | A121HW | 18 x 24 mm washer | 2 | 17 | A288H | Cable Tie | 1 | |
| 18 | A213H | 18 x 10mm Plug | 2 |
HARDWARE

TOOLS REQUIRED

STOCK EXHAUST SYSTEM REMOVAL
- Rear O2 Sensor: Locate the O2 sensor connector. Unplug the connector from the main harness and feed the wire through the frame to free it from the motorcycle. Pay attention to wire routing for re-installation. NOTE: For 2007 to 2011 Models the connector is located under the oil tank, on the right side. For 2012 & Later Models the connector is located under the seat. Remove both the seat and battery for access.
- Front O2 sensor: Locate the O2 sensor connector at the front of the motorcycle. Unplug connector from the harness and free the sensor lead from the motorcycle. NOTE: For 2007 to 2011 Models, open the plastic cover above the rectifier to gain access to the sensor plug. Cut the cable ties holding the sensor wire to frame.
- On models with floor boards, loosen the right hand floor board mounting bolts to gain clearance for exhaust removal and installation.
- On FLSTF, FXS and FLSTN and FXSTD, you will need to remove the right side passenger foot peg and hanger, as this is attached to the exhaust mount bracket. Leave the foot peg and hanger off. Additional reinstallation instructions to follow.
- Unbolt the carriage bolt and clamp attached to the bracket located under the right side transmission cover.
- Loosen the heat shield clamps on both the front and rear exhaust pipes.
- Remove the two mounting nuts from each head pipe, located at the cylinder head.
- Remove the bolts attaching the mufflers to the mounting bracket.
- Remove the entire exhaust system and set it aside.
- Carefully remove the O2 sensors from the stock head pipes.
- Remove the stock mounting bars, brackets and/or studs.
- PRE 2000 Models: Remove the lower mounting bar. Remove the right side 1/4” bolt which holds the lower fender in place to allow removal of the right passenger foot peg. Place the motorcycle on its side stand and loosen the swing arm pivot bolt nut. Position a floor jack under the right hand frame tube just below the swing arm pivot bolt. Using assistance, carefully raise the jack just enough to take the weight off the swing arm bolt and remove the swing arm pivot bolt and the stock upper mounting bar. Replace the swing arm pivot bolt and torque to 135 FT/LB. Re-install the right passenger foot peg using the 1/2”x3” capscrew with the 1 5/8” spacer and 1/4” bolt to secure fender.
- 2000 & Later Models: Remove the two lower mounting studs from the frame
(Figure 4). Re-install the foot peg using the 3/8”x2 1/2” capscrew with the 3/4” spacer.
- Carefully remove exhaust port flanges and circlips from the stock exhaust system using snapring pliers. NOTE: Replace bent or damaged circlips.
- Replace the exhaust gaskets with the supplied gaskets.
VANCE & HINES EXHAUST INSTALLATION
- Remove heat shields from their protective packaging. Note: Removal of the end cap may be required. Place each heat shield on a non-abrasive surface such as a blanket or carpet. For chrome, use a felt tip pen and for black systems, use a pencil. Lightly mark the outside edge of each heat shield to show location of mounting clips where hose clamps will loop through. NOTE: Pencil marks can be erased if care is taken not to harm coating.
- Slide header into heat shields tail end first, engaging end caps.
- Install end caps (if removal was necessary) into tail end of each heat shield engaging head pipe and heat shield. Align mounting hole with end cap hole. Install and tighten 1/4”-20 button head screws. NOTE: Removable thread locking compound is recommended.
- Install each hose clamp by feeding tail end of clamps into heat shield clips. Use #20 hose clamps (supplied) on head pipes and #28 hose clamps (supplied) on muffler sections. Take note of location of clamp screw head direction. Screw heads must be accessible when system is installed on motorcycle for adjustment purposes.
- Apply a small amount of anti-seize compound to the threads of the oxygen sensors and install them into the new head pipe. NOTE: 2007 to 2011 models or models using 18mm wideband oxygen sensors install sensor directly into head pipe. 2012 to 2014 models install supplied 18mm to 12mm oxygen sensor adapter then install 12mm oxygen sensors (Grey connector into front head pipe, Black connector into rear head pipe.) All models not using oxygen sensors install 18mm plug with copper crush washer (supplied).
- Install circlips and flanges from stock system onto both new head pipes.
- Attach mounting bracket (Stamped 330-P) using four 5/16“x5/8” flange bolts and two nut plates (supplied). Slide nut plates inside brackets that are welded to the backside of each muffler (Figure 3). Leave them loose at this time. Use this procedure for both upper and lower muffler mounting positions.
- Install complete assembly into exhaust ports (rear port first). Use stock flange nuts, do not tighten at this time. Install exhaust bracket to motorcycle frame rail using two
3/8”x3/4” flange bolts (supplied). Do not tighten at this time. - Tighten cylinder port exhaust flange nuts on front and rear cylinders. Now tighten the 5/16”x5/8” flange bolts and the 3/8”x3/4” flange bolts attaching the bracket to the frame.
- Route O2 sensor wires away from hot areas of the motorcycle. Plug the O2 sensor wires back into the wiring harness: For 2012 & Later, feed wire for the rear O2 sensor (Black) around the frame and under the seat. Re-install battery. Plug the sensor into the stock wiring connector. Feed connector for the front oxygen sensor (Gray) around the frame and into the holder on the frame behind rectifier. Plug the sensor into the stock wiring connector. For 2007 to 2011 models, feed wire for the front oxygen sensor around and into the plastic holder on the frame. Plug the sensor into the stock wiring connector. Snap the plastic holder closed to hold the connector in place. Install a new nylon cable tie to hold the wires onto the frame in the original location. Feed connector for the rear oxygen sensor around the frame under the oil tank on the right hand side. Plug the sensor into the stock wiring connector.
- On floor board models, tighten the floor board mounting bolts.
- Be sure to tighten all hardware before starting your motorcycle.
- After installation and before starting the motorcycle, completely clean pipes and mufflers with soap and water and a clean soft cloth. NOTE: Any residue, oil, or fingerprints will stain the finish when the exhaust heats up



EXHAUST CARE
- When installing a new set of chrome pipes, make sure your hands are clean and free of oil. After installation, thoroughly clean pipes with a soft cloth and cleaning solvent that will leave no residue before starting the motorcycle.
- Avoid long periods of idling as this can cause discoloration.
- Intake leaks can cause the engine to run lean and overheat, this could lead to discoloration.
- Make sure there are no exhaust leaks at the junction of the exhaust pipes and cylinder head. We recommend replacing gaskets if they are worn.
EXHAUST CARE (BLACK)
- When installing a new set of black pipes, make sure your hands are clean and free of oil. After installation, thoroughly clean pipes with a warm soapy water and a soft cloth. Dry with a clean towel to remove any residue before starting the motorcycle. Do NOT use anything abrasive to clean the pipes.
- Avoid long periods of idling as this can cause discoloration.
- Intake leaks can cause the engine to run lean and overheat, this could lead to discoloration.
- Make sure there are no exhaust leaks at the junction of the exhaust pipes and cylinder head. We recommend replacing gaskets if they are worn.
Emissions Notice
In California, in order to meet Air Resources Board emissions requirements, certain aftermarket part applications have been identified as replacements, and others have received ARB Executive Orders. All other emissions related aftermarket parts are for competition use only. A list of replacement parts and EO parts, and corresponding fitment is provided at vanceandhines.com/California.
Warranty
- All Vance & Hines products are warranted against defects in material and workmanship for a period of 90 days. This warranty does not cover discoloration or rust. This warranty shall be limited to the repair or replacement of the product, which may be proven defective under normal use. Vance & Hines will not warranty any system that has been abused, misused, improperly installed or modified.
- Dealers or distributors are not authorized to make dispositions binding upon Vance & Hines. Vance & Hines will not be responsible for any labor charges incurred in removing or replacing any system under warranty. A return authorization number and a copy of the original purchase invoice must accompany all returns. Parts returned without a return authorization may be refused.























