LITHONIA LIGHTING OFL1 LED THK LED Flood Luminaire

LED Flood Luminaire
The LED Flood Luminaire comes in two models: OFL1 LED THK and OFL1 LED YK.
It is important to read and understand the installation instructions before installation. The product has been discontinued.
Important Safety Instructions
Before installing or servicing the product, disconnect or turn off the power. Ensure that the supply voltage is correct by comparing it with the luminaire label information. Make all electrical and grounded connections in accordance with the National Electrical Code (NEC) and any applicable local code requirements. Wear gloves and safety glasses when handling the product. Never connect components under load. Allow the fixture to cool before handling it.
Keep combustible materials away from the lamp/lens to avoid the risk of fire. Avoid direct eye exposure to the light source while it is on. Do not exceed the maximum wattage marked on the luminaire label. Follow all manufacturer’s warnings, recommendations, and restrictions including but not limited to; driver type, burning position, mounting locations/methods, replacement, and recycling.
Installation Instructions
- Thoroughly inspect the fixture upon receipt for any freight damage. Report any damage to the delivery carrier.
- Compare the catalog description listed on the packing slip with the fixture label on the inside of the housing to be sure you have received the correct merchandise.
- Disconnect or turn off the power source before installation.
- Make sure that the supply voltage is correct by comparing it with the luminaire label information.
- Follow NEC and local code requirements for electrical and connections.
- All wiring connections should be capped with UL approved wire connectors.
- Do not mount or support these fixtures in a manner that can cut the outer jacket or damage wire insulation.
- Use only lamps that comply with ANSI standards.
Product Warranty
The product comes with a 5-year limited warranty. Register your warranty at www.acuitybrands.com/resources/warranty to confirm your right to the protection available under the terms and conditions of your Lithonia Lighting warranty. Failure to follow any of the instructions could void product warranties. For a complete listing of product terms and conditions, please visit www.acuitybrands.com. Acuity Brands Lighting, Inc. assumes no responsibilities for claims arising out of improper or careless installation or handling of its products.
Protect yourself. Before installing, read the entire instructions carefully and save them for future reference.
Date installed:_____________
Failure to follow any of these instructions could void product warranties. For a complete list of product Terms and Conditions, visit www.acuitybrands.com. Acuity Brands Lighting, Inc. assumes no responsibilities for claims arising out of improper or careless installation or handling of its products.
If further technical assistance is required, contact: Technical Support at: (800) 279-8041.
SAFETY INSTRUCTIONS
READ AND FOLLOW THESE SAFETY INSTRUCTIONS!
- To reduce the risk of death, personal injury or property damage from fi re, electric shock, falling parts, cuts/abrasions, and other hazards please read all warnings and instructions included with and on the fixture box and all fixture labels.
- Before installing, servicing, or performing routine maintenance upon this equipment, follow these general precautions.
- Commercial installation, service and maintenance of luminaires should be performed by a qualified licensed electrician.
For Residential installation: If you are unsure about the installation or maintenance of the luminaires, consult a qualified licensed electrician and check your local electrical code. - Maintenance of the luminaires should be performed by person(s) familiar with the luminaires’ construction and operation and any hazards involved. Regular fixture maintenance programs are recommended.
- This fixture is intended to be connected to a properly installed and grounded UL listed junction box.
- It will occasionally be necessary to clean the outside of the refractor/lens. Refractor/lens should be washed in a solution of warm water and any mild, non-abrasive household detergent, rinsed with clean water and wiped dry. Should optical assembly become dirty on the inside, wipe refractor/lens and clean in above manner, replacing damaged gaskets as necessary.
- DO NOT INSTALL DAMAGED PRODUCT! This luminaire has been properly packed so that no parts should have been damaged during transit. Inspect to confirm. Any part damaged or broken during or after assembly should be replaced.
- Recycle: For information on how to recycle LED electronic products, please visit www.epa.gov.
- These instructions do not purport to cover all details or variations in equipment nor to provide every possible contingency to meet in connection with installation, operation, or maintenance. Should further information be desired or should particular problems arise which are not covered sufficiently for the purchaser’s or owner’s purposes, this matter should be referred to Acuity Brands Lighting, Inc.
WARNING
RISK OF ELECTRIC SHOCK
- Disconnect or turn off power before installation or servicing.
- Verify that supply voltage is correct by comparing it with the luminaire label information.
- Make all electrical and grounded connections in accordance with the National Electrical Code (NEC) and any applicable local code requirements.
- All wiring connections should be capped with UL approved wire connectors.
CAUTION RISK OF INJURY
- Wear gloves and safety glasses at all times when removing luminaire from carton, installing, servicing or performing maintenance.
- Avoid direct eye exposure to the light source while it is on.
WARNING RISK OF BURN
- Allow lamp/fixture to cool before handling. Do not touch enclosure, lens or light source.
- Do not exceed maximum wattage marked on luminaire label.
- Follow all manufacturer’s warnings, recommendations and restrictions including but not limited to: driver type, burning position, mounting locations/methods, replacement and recycling.
- Use only lamps that comply with ANSI standards.
CAUTION RISK OF FIRE
- Keep combustible and other materials that can burn, away from lamp/lens.
- Do not operate in close proximity to persons, combustible materials or substances affected by heat.
CAUTION
RISK OF PRODUCT DAMAGE
- Never connect components under load.
- Do not mount or support these fixtures in a manner that can cut the outer jacket or damage wire insulation.
- Unless individual product specifications deem otherwise: Never connect an LED product directly to a dimmer packs, occupancy sensor, timing device, or other related control devices. LED fixtures must be powered directly off a switched circuit.
- Unless individual product specifications deem otherwise: Do not restrict fixture ventilation. Allow for some volume of airspace around the fixture. Avoid covering LED fixtures with insulation, foam, or other material that will prevent convection or cooling.
- Unless individual product specifications deem otherwise: Do not exceed fixtures maximum ambient temperature.
- Only use fixture in its intended location.
- LED products are Polarity Sensitive. Ensure proper Polarity before installation.
- Electrostatic Discharge (ESD): ESD can damage LED fixtures. Personal grounding equipment must be worn during all installation or servicing of unit.
- Do not touch individual electrical components as this can cause ESD, shorten lamp life, or alter performance.
- Some components inside the fixture may not be serviceable. In the unlikely event your unit may require service, stop using the unit immediately and contact an ABL representative for assistance.
- Changes or modifications not expressly approved by Acuity Brands Lighting could void the authority to operate the equipment.
- Always read the fixtures complete installation instructions prior to installation for any additional fixture specific warnings.
This equipment has been tested and found to comply with the limits for a class B digital device, pursuant to part 15 of the FCC Rules. These limits are designed to provide reasonable protection against harmful interference when used in a residential installation. This equipment generates, uses and can radiate radio frequency energy and, if not installed and used in accordance with the instructions may cause harmful interference to radio communications. However, there is no guarantee that interference will not occur in a particular installation. If this equipment does cause harmful interference to radio or television reception, which can be determined by turning the equipment off and on, the user is encouraged to try to correct the interference by one or more of the following measures:
- Reorient or relocate the receiving antenna.
- Increase the separation between the equipment and receiver.
- Connect the equipment into an outlet on a circuit different from that to which the receiver is connected.
- Consult the dealer or an experienced radio/TV technician for help.
5- YEAR LIMITED WARRANTY
Register your warranty on www.acuitybrands.com/resources/warranty. Your prompt product registration confirms your right to the protection available under the terms and conditions of your Lithonia Lighting warranty.
Failure to follow any of these instructions could void product warranties. For a complete listing of product Terms and Conditions, please visit www.acuitybrands.com. Acuity Brands Lighting, Inc. assumes no responsibilities for claims arising out of improper or careless installation or handling of its products.
PRODUCT INSTALLATION INSTRUCTIONS
Upon receipt of fixture, thoroughly inspect for any freight damage. All damage should be reported to the delivery carrier. Compare the catalog description listed on the packing slip with the fixture label on the inside of the housing to be sure you have received the correct merchandise. Note: Account for small parts and destroy packing material, as these may be hazardous to children.
Turn OFF Power at circuit breaker box.
CAUTION: Do not rely on wall switch alone to turn off power.
OFL1 THK – Threaded Knuckle Mounting:
Required Tools: 1/4” hex socket driver
Remove locknut and thread knuckle into a 1/2” NPS hole in a compatible mounting apparatus. Note: Seal arm thread using Tefl on tape or silicone sealant. Reinstall locknut and tighten to secure. Refer to wiring instructions for power connection on next page.
To adjust the tilt angle of the fixture, loosen the 5/16” hex socket screw. Rotate fixture to the desired angle and re-tighten screw to 30ft-lbs.

OFL1&2 YK – Yoke Mounting:
Required Tools: Hex socket driver and regular screwdriver.
To adjust the tilt angel of the fixture, loosen but do not remove the 3/8” hex bolts on both sides of the yoke. While holding weight of fixture, remove 10-32” set screw, adjust to desired angle and reinstall set screw in appropriate matching hole. Re-tighten hex bolts to secure.

Mount fixture to the desired bracketry using the hole pattern provided on the yoke bracket (see template below) with a 5/8” bolt (if center hole is used) or 1/2” bolts (if outer holes are used), lock washer, and nut (not provided). Tighten to 30ft-lbs.

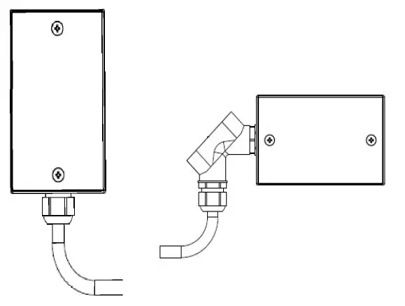
The Yoke Mounting option is provided with 16AWG power supply cord. The power supply cord has 0.4 inch outside diameter (O.D.). A UL LISTED water tight cord connector suitable for use on 0.4 inch diameter size wet location flexible cord shall be required in order to install onto an outdoor junction box. See image below.

When installing onto an outdoor junction box and in order to reduce risk of water entry, ensure that a Tefl on tape or silicone sealant is applied on the threaded portion of the fi tting when being installed. It is recommended that the water tight cord connector be installed so that power supply cord exits towards the ground. If existing wiring does not allow for installation of wires exiting towards the ground, the use of an elbow suitable for wet location use is recommended so that cord can exit towards the ground. See images below. Refer to wiring instructions on next page for power connection.
TROUBLE SHOOTING GUIDE
ACCESSORIES (sold separately)
Tenon Slipfitter (DSXF1/2TS) for use with OFL1 THK :
Attach the Tenon Slipfitter (sold separately) to fixture’s threaded 1/2” knuckle. Secure to the top end of a 1-1/4” to 2” pipe by tightening set screws to 12ft-lbs and secure with locknut.
Note: Seal arm thread using Teflon tape or silicone sealant.

Vandalguard (polycarbonate shield)
To install vandalguard, unscrew the (2) 10-24 socket head screws on the front face of the bezel and remove bezel. Replace glass lens with vandalguard and re-install bezel. Note: do not touch LED

Wireguard
To install wireguard, unscrew the (2) 10-24 socket head screws on the front face of the bezel and remove bezel. Insert Wireguard and re-install bezel.
Note: do not remove glass or touch LED

CAUTION: WIRING AND FIXTURE OPERATION
Make sure power is turned off.
To Ground fixture use Wire Nut to connect the (copper) house supply ground wire & the (green) fixture ground wire.
Note: If house wiring does not include a ground wire, consult your local electrical code for approved grounding methods.
For proper connection, place wire nut over wires and twist clockwise until tight.
To connect supply wires use Wire Nuts to connect the black fixture wire to the black power supply wire and the white fixture wire to the white (neutral) supply wire.
Trouble Shooing Guide
If this fixture fails to operate properly, use the guide below to diagnose and correct the problem.
- Verify that power is turned on at switch and breaker
- Verify that fixture is wired properly
- Verify that line voltage is correct
If further assistance is required, contact:
Technical Support at: (800) 279-8041
Cleaning and Maintenance
Caution: Be sure fixture temperature is cool enough to touch. Do not clean or maintain while fixture is energized.
This LED light provides low maintenance service with no bulbs to change. Clean surfaces with mild soap and water. Do not use abrasive materials such as scouring pads or powders, steel wool or abrasive paper.
Do not touch LED.
Driver Access
The driver is pre-wired so access to the driver during installation is unnecessary but in case of a driver failure the driver can be accessed
and replaced. To access the driver compartment, unscrew the (4) 8-32 socket head screws in the back of the housing and remove the bezel and heatsink assembly.

Acuity Brands Lighting, Inc.
One Lithonia Way, Conyers, GA 30012 www.AcuityBrands.com




















