
USER MANUAL
KRATOS CONVEYOR TOASTER 300 SLICES/HOUR
120V, 1750W
Model: 31M-006
Please read and keep these instructions.
SAFETY
IMPORTANT SAFETY INFORMATION
Save these instructions and always follow safety guidelines when operating electrical equipment.
- Read and understand all instructions before operating this equipment.
- This conveyor toaster oven is for commercial purposes only.
- Keep all cords, plugs, and other electrical components away from liquids to prevent electrical shock.
- Never touch the hot surfaces while in use.
- Unplug the toaster when not in use and before cleaning.
- Do not operate the toaster with any noticeable damage or malfunctions to the oven, cord and plug.
- Designed for indoor use only, do not use outdoors.
- Ensure your outlet and voltage is correct for the plug type
- Before unplugging the unit, turn the setting knobs both to the “OFF” position.
- Never place metal utensils or oversized foods inside the toaster slots that could lead to electrical shock or fire.
- Do not store anything on top of the toaster.
- Keep clear of all flammable materials during operation.
- Do not clean with metal scouring pads which will shorten the life of the unit and increase electrical shock risks.
- Do not place materials such as paper, cardboard, plastic, etc. in the toaster.
- Use of accessories not recommended by the manufacturer may result in injury or damage to the unit.
- Only trained adults should operate this unit and any children nearby need supervised.
- This appliance is not intended for use by anyone with reduced physical sensory or mental capabilities, or lack of experience and knowledge, unless they have been given supervision or instruction concerning use of the appliance by a person responsible for their safety.
- Ensure the conveyor toaster is on a flat surface that is well ventilated. The appliances should ALWAYS be supervised during operation. DO NOT leave the appliance unattended without powering off.
NOTE: Save these instructions for future reference.
SPECIFICATIONS
| MODEL NO. | VOLTAGE/POWER | DIMENSIONS | UNIT WEIGHT | SHIPPING WEIGHT |
| 31M-006 | 120V/60Hz/1750W | 19”W x 22”D x 17”H | 38Ibs | 40 Ibs |
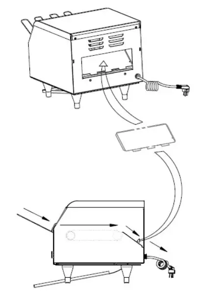
UNPACKING/INSTALLATION
- Unpack your toaster and remove protective packaging
- This unit includes a slide tray, back chute, guide wire, crumb tray and 4 adjustable
legs. - Install the 4 adjustable legs and hand tighten.
- Decide if you want the toaster to use the front or back chute. See images below
for instructions. - Do not use any sprays or abrasive cleaners
- Do not immerse or wash the toaster with water
- Preheat the toaster to the highest setting for 5 or more minutes.
- Allow the lubricant to burn off the heating elements. A light amount of smoke is
normal during this process.
OPERATION
If you need the toaster exit from the front, then: Slide-tray installation:
1. Hanging the Slide-tray to the hook in back open.

2. Put the back-cover-board to the hook in back open to block the heat outside.

IF you need the toaster exit from back, then: Back tray installation:
Hanging the back-cover-board to the hook in back open. You can put a pan on the table to collect the output.

BEFORE USING YOUR TOASTER
- Use a damp cloth to wipe exterior of the toaster
- Do not use any sprays or abrasive cleaners
- Do not immerse or wash the toaster with water
- Preheat the toaster to the highest setting for 5 or more minutes.
- Allow the lubricant to burn off the heating elements. A light amount of smoke is
normal during this process.
USING YOUR CONVEYOR TOASTER
- Plug in your toaster into the correct outlet and power light will come on.
- Decide if you want the bread to exit via front chute or back chute. See above
images for installation. - Turn the knob for toast control to desired position. Position “3” is recommended. You will notice the belt speed changes as you change this setting. The higher the number chosen, the slower the belt moves. This will adjust the darkness of the toast. Setting 6 is the darkest toast and slowest belt speed.
- Select either bread or buns on the control panel. Selecting bread means both top
and bottom elements are on. Selecting Buns will turn off the top element. - After the bread is finished toasting, remove it from the chute.
- Depending on the type of bread and freshness, it may be required to run the bread through the toaster more than once. Fresh, soft bread doesn’t toast as well as bread that has had time to settle.
- After finished, return the knob to off and unplug the unit.
- If any damage to the power cord is noticed, it must be serviced by an authorized
agency or returned to the manufacturer.
CLEANING
Cleaning & Maintaining your Toaster
- Unplug the unit and allow it to cool.
- Use a damp cloth to gently wipe the exterior with non-abrasive cleaners.
- Remove the chute trays and clean with a damp cloth.
- Never soak the unit or allow it to immerse in water. This will cause serious
damage and potential shock/injury.
TROUBLESHOOTING
PROBLEM: The toaster is not getting hot or toasting
- Check that the browning knob is set to desired setting
- Check power supply
- Check power cord for damage
PROBLEM: A metallic sound or buzzing is happening
- DO NOT attempt to disassemble the oven. Unplug immediately.
- Contact customer service for next steps
PROBLEM: Toast is often burnt or overcooked.
- Check that the browning knob is set to desired setting
- Contact customer service if problem continues

6 month Equipment Limited Warranty
WARRANTY
Kratos offers a 6 month warranty to the original purchaser of new equipment, the model of equipment will be free of defects in material and workmanship for a period of 6 months from the date of delivery. Warranty is not transferrable. Kratos, at its own discretion, will provide replacement components, replace the entire unit or refund the purchase price to satisfy the warranty obligation. Kratos makes no other warranties, express or implied, statutory or otherwise, and hereby disclaims all implied warranties, including the implied warranties of merchantability and of fitness for a particular purpose.
The limited warranty does not cover:
- Failure to install and/or use equipment within proper operating conditions as specified by Kratos.
- For commercial use only, residential use voids warranty.
- Outdoor use will void the warranty. The finish is not guaranteed in mobile applications where
the table can be damaged due to not being secured to the floor. - Products that have been modified, abused, or misused. Any products that have been exposed to corrosive or other cleaners not intended for use on stainless steel will void the warranty.
- Any products sold outside the contiguous United States.
- Any products where the original sale cannot be determined. No order #, invoice or receipt to provide proof of purchase will result in no warranty coverage.
- Labor or service not authorized by Kratos is not covered under this warranty.
- Freight damage must be made at time of delivery and addressed with the carrier for compensation.
- Kratos will not be liable for any parties that experience loss of product, consequential damage, lost business, or any other expenses.
- Defects or damage due to improper maintenance, wear and tear, abuse, misuse,
vandalism, or Act of God
For Warranty Inquiries To obtain warranty information or make a claim against this warranty, please contact the location where you purchased the product. If purchased on www.centralrestaurant.com, call 800-215-9293 or email [email protected]
Central Products LLC
7750 Georgetown Road
Indianapolis, IN 46268 USA


















