ROROSHETTA 251-12 Cooker Hood Edge

GENERAL INFORMATION
The product features LED lighting (6.5 W), aluminum filters, and the Easy Clean system.
FUNCTIONS
Fig. 1
- A. Lighting.
B. Damper function. Open/close. - C. Extension of timer (30 minutes).
- Filter guard. If the filter guard is activated (see Programming below), the LED will flash when the filter needs to be cleaned. After cleaning, press button C for 2 seconds to reset the system.
The damper will close automatically after 60 minutes or if you press button B again. It is a good idea to have the damper open a short while before and after cooking to prevent cooking smells from spreading into the room. The product is fitted with a filter guard. To activate/deactivate the filter guard, see below.
Programming
- Start programming: Depress buttons A and B for 3 seconds so that they both flash 3 times. The programming mode will then be active for 30 seconds.
- Select function: Press the button for the selected function to activate/deactivate the function.
| Button | Functions |
| C | Filter guard |
- To save a program: Keep buttons A and B depressed for 3 seconds. Buttons A and B will flash twice to show that the program has been saved.
Attention! If the product has a stove alarm or stove guard, see separate instructions.
CARE AND MAINTENANCE
Cleaning the filter
The cooker hood should be cleaned with a damp cloth and washing-up liquid. With nor-mal usage, the filters must be cleaned at least every other month. Clean more often after intensive use.
- Remove the grease filter by opening the snap retainer, Fig. 2.
- Handle the filter carefully, taking care not to bend it.
- Soak the filter in a solution of warm water and washing-up liquid. The filter can also be washed in a dishwasher.
- Refit the grease filter after cleaning, making sure it snaps firmly into place.
- Cleaning other parts
- The inside of the cooker hood and the damper must be cleaned at least twice a year.
- The damper must be thoroughly cleaned in both its open and closed position using a damp cloth and washing-up liquid. Handle the damper carefully.
SERVICING AND WARRANTY
TROUBLESHOOTING
Check that the fuse is intact. Go through all the functions to check what is not working. Start by disconnecting the product from the power supply and switching it on again.
Check that the connector is not bent or twisted at the connection point.
Attention! If the product has a stove alarm or stove guard, use the separate instructions for troubleshooting.
SERVICING
- Before contacting servicing, check the product label and note down the FUN number, S/N number, and manufacturing date of the product.
- The product label is located on the left side, underneath the filter/bottom plate.
- Contact RØROS Metall tel. 7240 9400
- They can help you fix the problem or refer you to the nearest service agent for fast and effective service.
- The product is covered by applicable industry regulations.
ENVIRONMENTAL INFORMATION
The main raw materials used in the product are:
- Metals: stainless sheet metal, galvanized sheet metal, zinc, aluminum
- Plastics: polypropylene, polyamide, polycarbonate, polybutylene terephthalate (PBT)
- Glass All components comply with the RoHS Directive.
PACKAGING AND PRODUCT RECYCLING
The packaging should be deposited at your nearest recycling point. The symbol means that the product must not be treated as household waste. It should instead be taken to a collection point for the recycling of electrical and electronic components. By ensuring that the product is dealt with in the correct manner, you are helping to prevent the adverse environmental and health effects that could arise if the product was disposed of as regular waste. For further information on recycling, contact your local authority or waste disposal service, or the store where you purchased your product.
ELECTRICAL INSTALLATION
- Electrical connection for 230 V~ earthed.
- Max connection power for control cable, 900 W at 230 V.
- The product is supplied with a cable and earthed plug for connection to an earthed socket samt styrledare för anslutning till extern enhet alternativt aggregat.
- The socket should be accessible after installation is complete. The junction box or wall socket must be accessible after installation is complete.
- If the connector is damaged, it must be replaced with an equivalent special cable from the manufacturer or their service agent.
INSTALLATION

ADJUSTING AIR FLOW
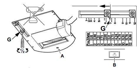
Note! Damper adjustment must be carried out by a qualified professional. Adjusting damper: Basic ventilation is set by moving the sliding damper. The damper becomes accessible for adjustment by removing the grease filter.
Basic ventilation Open the damper by pressing button B. Loosen stop lug G by rotating it 180° (Torx/star screwdriver 10). Set the stop lug to the desired position. The markings on the damper correspond to the values in the “Basic fl ow” diagram – see the following pages. The marking in the picture corresponds to position G4 in the diagram. Lock the stop lug. N.B. Make sure the lug is fully locked. Close the damper by pressing button B on the circuit breaker. re the pressure (Pm) at test point A to check that the fl ow is as required.
Forced ventilation
Loosen stop lug F by rotating it 180° (Torx/star screwdriver 10). Set the stop lug to the desired position. The markings on the damper correspond to the values in the “Forcing fl ow” diagram – see the following pages. The marking in the picture corresponds to position F8 in the diagram. Lock the stop lug. N.B. Make sure the lug is fully locked. Open the damper by pressing button B on the circuit breaker. Measure the pressure (Pm) at test point A to check that the
fl ow is as required.
BASIC VENTILATION
Adjusting diagram
- LPW: The A-measured sound pressure level relatively 1pW
- The A-measured sound pressure level at 10 m² Sabin

Dimensioning diagram

FORCED VENTILATION
Adjusting diagram

LPW: The A-measured sound pressure level relatively 1pW
LPA: The A-measured sound pressure level at 10 m² Sabin

Dimensioning diagram





















