EP-0655 IM Amplify True Wireless Earbuds
Instruction Manual

Thank you for purchasing the Amplify True Wireless Earbuds.
This manual provides more information about the wireless earbuds, please read the instructions before using them.
Product Overview
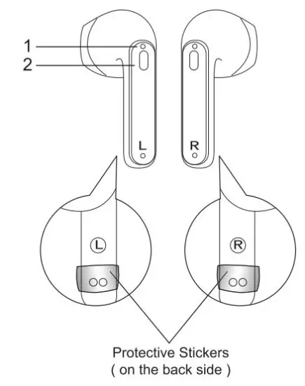
Earbuds

Portable Charging Case / Wireless Speaker

| 1. LED Indicator (Earbuds) 2. On/Off Button/ Play/Pause Music Answer/End Call (Earbuds) 3. Micro USB Charging Port | 4. Charging Indicator (Portable Charging Case/Wireless Speaker) 5. On/Off Switch (Portable Charging Case/Wireless Speaker) 6. Bluetooth Operation Indicator (Portable Charging Case/Wireless Speaker) |
Instruction Manual

Micro USB Charging Cable

Package Contents
Includes
1(One) Pair Earbuds /0.7in. x 1.5in. x 0.7in. (1.8cm x 3.8cm x 1.8cm) each
1(One) Portable Charging Case / Wireless Speaker 1.9in. x 5.4in. x 1.1in.
(4.8cm x 13.8cm x 2.9cm)
1(One) Charging Cable 9.8in. (25cm)
1(One) Instruction Manual
Specifications
Earbuds / Wireless Speaker Driver Diameter 10 mm / 36mm
Earbuds / Wireless Speaker Impedance 32 Ohms / 4 Ohms
Frequency Response 20 Hz- 20K Hz
Sensitivity 98 +/- 3 dB
Earbuds Battery Capacity: Li-ion 3.7V 35 mAh Per Earbud
Portable Charging Case / Wireless Speaker Battery Capacity
Li-ion 3.7V 500mAh
Playtime 1.5 Hours Per Charge
Total Playtime 10 Hours
Charging Time. 2 Hours
Charging Method Magnetic Charging Case (Earbuds)
Power On/Off (Earbuds)
Power On
The protective stickers must be removed from the earbuds and put the earbuds back into the charging case before use. Take out the earbuds and it will automatically turn on and the LED indicator will flash.
The Earbud can be powered on manually by holding the On/Off button of the earbud for more than 3 seconds.
Power Off
Put back the earbuds into the charging case it will automatically turn off.
The Earbuds will be powered off by holding the control area for more than 5 seconds.
The Earbuds will be powered off automatically if no Bluetooth connection is made within 5 minutes.
Pair the wireless earbuds with your mobile device
- Keep the distance between the earbuds and mobile device within 32.8 feet.
- De-activate the Bluetooth function on your mobile device.
- Take both Earbuds out from Charing case and wait for 3 to 5 seconds for auto-pairing. The earbud has an indicator blinking alternatively in Red and Blue.
One of the earbuds will be blinking in Blue slowly when auto-pairing is done successfully on L/R earbuds. - Activate the Bluetooth function on your mobile device and select AMPLIFY TWS” from the list shown.
- After pairing is successful, both earbuds will start blinking slowly in blue.
Attention. If the auto-pairing is not successful, manual pairing between earbuds is essential by following the below procedures
1. Make sure the earbuds are charged.
2. De-activate the Bluetooth function on your mobile device. (if you had been paired the earbuds to some other mobile device(s) nearby please be sure to de-activate those device(s) too).
3. Power on both earbuds simultaneously by pressing the touch control area for
3 seconds and wait for 3 to 5 seconds for auto-pairing. (Keep the Bluetooth function off on your mobile device before this operation,)
4. Activate the Bluetooth function on your mobile device and select “AMPLIFY TWS” from the list shown.
5. After pairing successfully, both earbuds will start blinking slowly in blue.
Reconnect the wireless earbuds to your mobile device
When powered on the wireless earbuds will automatically connect with the last successfully paired device.
Disconnect the wireless earbuds from your mobile device
Switch off the Bluetooth on your mobile phone. or Leave the earbuds 60 ft away from your mobile phone or further.
Answer/ Reject a call (Earbuds)
When receiving a call, click the On/Off button once (on either earbud) to accept the call, or answer the call normally via your mobile phone.
Click the On/Off button hold the touch control area for 2 seconds to reject it.
End a call (Earbuds)
To end the call, just click the On/Off button once at any side of the earbud with a Beep sound to end it.
Functions (Earbuds)
Pause / Play Music: Short press the ON/OIf button.
Go back to the previous song Press the Left ON/OFF button for 1 second.
Advance to the next song Press the Right ON/OFF button for 1 second.
Volume up: Double click the Right ON/OFF button to increase.
Volume down Double click the Left ON/OFF button to reduce.
Charging your Earbuds
- Open the charging case cover.
- Insert the earbuds into the charging case
- The earbuds will start to charge automatically
- LED indicator of the earbud will be turned to red when charging
- Once fully charged all LEDs will be off.
Recharge Portable Charging Case / Wireless Speaker
For your safety, please always use the appropriate 5V input charger/Adapter to charge the product.
DO NOT USE Quick Charging USB Adapter to charge the product, as it might damage the product.
- Use the Micro USB charging cable provided with the packaging.
- Connect the Micro USB plug to the Micro USB charging port on the charging case, then connect the USB plug to a USB port on a computer or wall adapter to begin charging.
- The Red LED on the charging case will be on during charge.
- Once fully charged, the Red LED will be off.
NOTE:
- You must select a qualified charger from a regular manufacturer.
- You must charge the charging case and earbuds if it has been not used for more than 6 months.

Power On/Off (Portable Charging Case/ Wireless Speaker)
Power On
Slide the ON/OFF switch to the ON” position.
Power On
Slide the ON/OFF switch to the OFF position.
Note. Always power off the speaker when not in use
Pair Wireless speaker with your mobile device
- Keep the distance between your wireless speaker and mobile phone (or other devices) within 32.8 Feet.
- Power on the wireless speaker.
- Activate the Bluetooth function on your phone within range and select AMPLIFY SPEAKER” from the list shown.
- You will hear a beep sound when pairing is successful.
Reconnect Wireless speaker to your mobile device
When powered on, the wireless speaker will automatically connect with the last successfully paired device,
FAQ (Earbuds)
If the wireless earbuds cannot be paired with your device, please try the following:
Ensure that your earbuds are in pairing mode or reconnection mode Ensure that the Bluetooth search function of your mobile device is activated.
If the wireless earbuds will not turn on:
Make sure the earbuds are fully charged.
Can I change the battery for the earbuds and the charging case?
The wireless earbuds and the charging case use a built-in non-detachable battery which cannot be removed.
FAQ (Wireless Speaker)
If the Wireless speaker cannot be paired with your device, please try the following:
Ensure that your speaker is in pairing mode or reconnection mode.
Ensure that the Bluetooth search function of your mobile device is activated.
If the Wireless speaker cannot be recharged:
lf you use a power outlet, ensure that the power supply is connected securely and the outlet works. If you use a computer ensure that it is connected and the USB port is powered.
Safety instructions for the lithium battery and charging the product
- The input voltage to the product is 5V 1A.
- In order to charge the product in a safe manner and reliable conditions, please only adopt a certified appropriate charger/ adapter for charging the product.
- Only charge the product at ambient temperatures between 10 deg C/ 50 deg F and 40 deg C/104 deg F.
- Do not heat above 70 deg C/158 deg F, eg. Do not expose to sunlight or throw into fire.
- Switch off the product after use.
- Please note that we won’t take any responsibility for any wrong operation (eg. Voltage higher than 5V) as this may result in severe injury or loss of property, and we cannot control the operating process during the time the user using this product.
- In extreme cases, abuse or misuse of the Lithium battery packs can lead to an explosion, heat generation, fire development, or smoke development.
FCC STATEMENT
- This device complies with Part 15 of the FCC Rules. Operation is subject to the following two conditions:
(1) This device may not cause harmful interference.
(2) This device must accept any interference received, including interference that may cause undesired operation. - Changes or modifications not expressly approved by the party responsible for compliance could void the user’s authority to operate the equipment.
NOTE: This equipment has been tested and found to comply with the limits for a Class B digital device, pursuant to Part 15 of the FCC Rules. These limits are designed to provide reasonable protection against harmful interference in a residential installation. This equipment generates uses and can radiate radio frequency energy and, if not installed and used in accordance with the instructions, may cause harmful interference to radio communications. However, there is no guarantee that interference will not occur in a particular installation, If this equipment does cause harmful interference to radio or television reception, which can be determined by turning the equipment off and on, the user is encouraged to try to correct the interference by one or more of the following measures:
- Reorient or relocate the receiving antenna.
- Increase the separation between the equipment and receiver,
- Connect the equipment into an outlet on a circuit different from that to which the receiver is connected.
- Consult the dealer or an experienced radio/TV technician for help.
RF warning statement
The device has been evaluated to meet general RF exposure requirements. The device can be used in portable exposure conditions without restriction.

Earbuds -FCC ID: 2ADM5-EP-0655
Speaker – FCC ID: 2ADM5-EP-0655-SPK
ITEM# EP-0655
Keep All Relevant Information For
Future Reference
Distributed by 1616 Holdings, Inc.
701 Market Street, Suite 200
Philadelphia, PA 19106
Made in China



















