JAXX EP-0680 Stardust True Wireless Earbuds
Instruction Manual
Thank you for purchasing the STARDUST True Wireless Earbuds.
This manual provides more information about the wireless earbuds, please read the instructions before using.
Product Overview
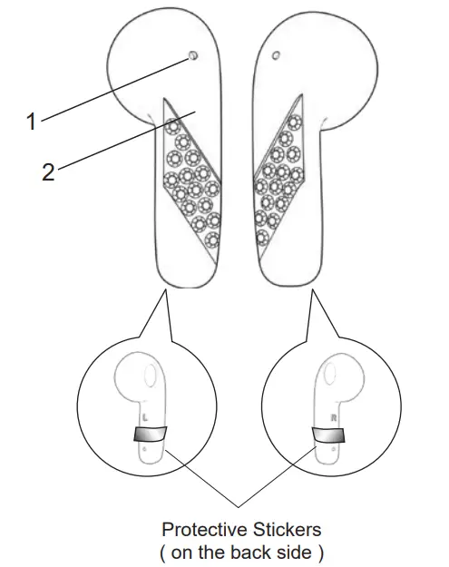
STARDUST True Wireless Earbuds
Portable Charging Case

Package Contents
1(One) Pair Earbuds / 0.74 in. x 0.67 in. x 1.46 in. (1.7 cm x 1.89 cm x 3.7 cm) each
1(One) Portable Charging Case 2.60 in. x 2.60 in. x 1.08 in. (6.6 cm x 6.6 cm x 2.74 cm)
1(One) Charging Cable 11.8in. (30cm)
1(One) Instruction Manual
Specifications
Driver Diameter: 10 mm
Impedance: 32 Ohms
Frequency Response: 20 Hz – 20 KHz
Sensitivity: 98 dB +/- 3 dB
Power Supply: Li-ion Battery 3.7V 35 mAh Per Earbud
Playtime: 10 Hours
Charging Time: <2 Hours
Bluetooth Range: 32.8 Feet
Charging Case Battery Capacity: 500 mAh
Micro USB Charging Cable Included
Power On/Off
Power On
Touch and hold the touch control area of earbuds for 3 seconds and the LED will flash.
Power Off
Touch and hold the touch control area of earbuds for 5 seconds and the LED will be off.
Pair the wireless earbuds with your mobile device
- Keep the distance between the earbuds and mobile device within 32.8 feet.
- De-activate the Bluetooth function on your mobile device.
- The protective stickers must be removed from the earbuds and put the earbuds back to charging case before use. Take both earbuds out from charging case and wait for 3 to 5 seconds for auto pairing. The earbud has indicator blinking in Red/Blue quickly. Another earbud will stop blinking when auto pairing is done successfully.
- Activate the Bluetooth function on your mobile device and select “STARDUST TWS” from the list shown.
- After pairing is successful, both earbuds LED will be off.
*Attention: If the auto pairing is not successful, manual pairing between earbuds is essential by following below procedures:
- Make sure the earbuds are charged.
- De-activate the Bluetooth function on your mobile device. (if you had been paired the earbuds to some other mobile device(s) nearby, please sure to de-activate those device(s) too).
- Power on both earbuds simultaneously by touch and hold the Touch control area for 3 seconds and wait for 3 to 5 seconds for auto pairing. (Keep the Bluetooth function off on your mobile device before this operation.)
- Activate the Bluetooth function on your mobile device and select “STARDUST TWS” from the list shown.
- After pairing successfully, both earbuds LED will be off.
Answer/Reject a call
When receive a call, press the touch control area once (on either earbud) to accept the call, or answer the call normally via your moblie phone.
Press and hold the touch control area 2 seconds to reject it.
End a call
To end the call, just press the touch control area at any side of earbud with Beep sound to end it.
Functions
Pause / Play Music: Short Press on touch control area Go back to previous song: Double tap Left touch control area.
Advance to next song: Double tap Right touch control area.
Charging your Earbuds
- Open the charging case cover.
- Remove the protective stickers between earbuds and charging case.
- Insert the Earbuds into the charging case.
- The earbuds will start the charge automatically.
- LED indicator light of the Earbuds will be turned on when charging.
- Once fully charged, the LED will be off.
Recharge Charging Case
For your safety, please always use appropriate 5V output charger/Adapter to charge the product.
DO NOT USE Quick Charging USB Adapter to charge the product, as it might damage the product.
- Use the Micro USB charging cable provided with the packaging.
- Connect the Micro USB plug to Micro USB charging port on the charging case, then connect the USB plug to a USB port on a computer or wall adapter to begin charging.
- The Red LED on the charging case will be on during charge.
- Once fully charged, the Red LED will be off.
- The Blue LED will be on during earbuds is charging and will be off after fully charged.
NOTE:
- You must select a qualified charger from a regular manufacturer.
- You must charge the charging case and earbuds if it has been not used for more than 6 months.

FAQ
If the wireless earbuds cannot be paired with your device, please try the following:
Ensure that your earbuds are in pairing mode or reconnection mode Ensure that Bluetooth search function of your mobile device is activated.
If the wireless earbuds will not turn on:
Make sure the earbuds are fully charged.
Make sure the protective stickers are removed from the Earbuds
Can I change the battery for the earbuds and the charging case?
The wireless earbuds and the charging case use a built-in non-detachable battery which cannot be removed.
If the charging case cannot be recharged:
If you use a power outlet, ensure that the power supply is connected securely and the outlet works. If you use a computer, ensure that it is connected and the USB port is powered.
Safety instructions for the lithium battery and charging the product
- The input voltage to the product is 5V 1A.
- In order to charge the product in safe manner and reliable conditions, please only adopt certified appropriate charger/ adapter for charging the product.
- Only charge the product at ambient temperatures between 10 deg °C/ 50 deg °F and 40 deg °C/104 deg °F.
- Do not heat above 70 deg °C/158 deg °F, eg. Do not expose to sunlight or throw into fire.
- Switch off the product after use.
- Please note that we won’t take any responsibility for any wrong operation (eg. Voltage higher than 5V) as this may result in severe injury or loss of property, and we cannot control the operating process during the time the user using this product.
- In extreme cases, abuse or misuse of Lithium battery pack can lead to explosion, heat generation, fire development or smoke development.
WARNING: This product can expose you to chemicals including Bisphenol A (BPA), which is known to the State of California to cause birth defects or other reproductive harm. For more information, go to www.P65Warnings.ca.gov.
FCC STATEMENT
- This device complies with Part 15 of the FCC Rules. Operation is subject to the following two conditions:
(1) This device may not cause harmful interference.
(2) This device must accept any interference received, including interference that may cause undesired operation. - Changes or modifications not expressly approved by the party responsible for compliance could void the user’s authority to operate the equipment.
NOTE: This equipment has been tested and found to comply with the limits for a Class B digital device, pursuant to Part 15 of the FCC Rules. These limits are designed to provide reasonable protection against harmful interference in a residential installation. This equipment generates uses and can radiate radio frequency energy and, if not installed and used in accordance with the instructions, may cause harmful interference to radio communications. However, there is no guarantee that interference will not occur in a particular installation. If this equipment does cause harmful interference to radio or television reception, which can be determined by turning the equipment off and on, the user is encouraged to try to correct the interference by one or more of the following measures:
- Reorient or relocate the receiving antenna.
- Increase the separation between the equipment and receiver.
- Connect the equipment into an outlet on a circuit different from that to which the receiver is connected.
- Consult the dealer or an experienced radio/TV technician for help.
RF warning statement:
The device has been evaluated to meet general RF exposure requirement. The device can be used in portable exposure condition without restriction.
![]()
FCC ID :2ADM5-EP-0680
Keep all relevant information for future reference
ITEM# EP-0680
Distributed by 1616 Holdings, Inc.
701 Market Street, Suite 200
Philadelphia, PA 19106
Made in China



















