User Guide
Combination Photoelectric
Smoke & Carbon Monoxide Alarm
Model 900-CUDR

COMBINATION ALARM
• AA BATTERY
• SELF-TESTING (SEE SECTION 10)
P/N: 900-7202-04 Rev. B
Thank You for Purchasing this Kidde Alarm
This model is powered by two replaceable AA batteries. It also contains HUSH™ to temporarily silence nuisance alarms, and “self-testing” features (see section 10).
Teach children how to respond to the alarm and that they should never play with the unit. This alarm is a multi-criteria device designed to detect both smoke and carbon monoxide from any source of combustion in a residential environment. It is not designed for use in a recreational vehicle (RV) or boat.
NOTE: Please thoroughly read this user guide and save the document for future reference and to pass on to any subsequent owner. Images are representative only. Actual product may vary slightly.
The National Fire Protection Association (NFPA) and the manufacturer recommend replacing this alarm ten years from the date code on back of alarm.
Product Support: 1-800-880-6788
Please write down the below information and have this at hand when you call.
Date Code (on back): ___________________
Date of Purchase: ___________________
Where Purchased: ___________________
Date to Replace: ___________________
1. Smoke Alarm: What To Do When The Alarm Sounds
The smoke alarm pattern is three long beeps, a 1.5 second pause, and three long beeps repeating. The red LED blinks in time with the alarm pattern.
The smoke alarm takes precedence when both smoke and carbon monoxide are present.
- Alert small children in the home as well as anyone else that might have difficulty recognizing the importance of the alarm sounding or that might have difficulty leaving the area without help.
- Plan two ways out! Leave immediately by your escape plan. Don’t waste time getting dressed or picking up valuables.
- While leaving, don’t open any inside door without first feeling its surface. If hot, or if you see smoke seeping through cracks, don’t open that door! Instead, use your alternate exit. If the inside of the door is cool, place your shoulder against it, open it slightly and be ready to slam it shut if heat and smoke rush in.
- If the escape route requires you to go through smoke, stay close to the floor where the air is cleaner. Crawl if necessary, and breathe shallowly through a cloth, wet if possible.
- Once outside, go to your selected meeting place and make sure everyone is there.
- Call the fire department or 911 from your cell phone outside, or from your neighbor’s home-not from yours!
- Don’t return to your home until the fire officials say that it is all right to do so.
NOTE: See Section RECOGNIZING NUISANCE ALARMS, for nuisance alarm situations.
2. Carbon Monoxide Alarm: What To Do When The Alarm Sounds
The carbon monoxide (CO) alarm pattern is four quick beeps repeating every 5 seconds. The red LED blinks in time with the alarm pattern. After 4 minutes in CO alarm the alarm pattern will only occur every 60s.
WARNING: ACTUATION Of YOUR CO ALARM INDICATES THE PRESENCE OF CARBON MONOXIDE (CO) WHICH CAN KILL YOU. IF ALARM SIGNAL SOUNDS:
1) Operate the Test/Hush™ button. NOTE: pressing the button on the alarming unit will silence the alarm notification. if the unit goes into alarm mode again within six minutes, it is sensing high levels of CO which can quickly become a dangerous situation.
2) Call your emergency services (fire Department or 911). EMERGENCY PHONE #:___________
3) Immediately move to fresh air — outdoors or by an open door / window. Do a head count to check that all persons are accounted for. Alert small children in the home as well as anyone else that might have difficulty recognizing the importance of the alarm sounding or that might have difficulty leaving the area without help. Do not reenter the premises or move away from the open door/window until the emergency services responders have arrived, the premises have been aired out, and your alarm remains in its normal condition.
4) After following steps 1-3, if the alarm reactivates within a 24 hour period, repeat steps 1-3 and call a qualified appliance technician to investigate sources of CO from fuel burning equipment and appliances, and to inspect for proper operation of equipment.
If problems are identified during this inspection, have the equipment serviced immediately. note any combustion equipment not inspected by the technician and consult the manufacturer’s instructions, or contact the manufacturer directly for more information about CO safety and the equipment. make sure that motor vehicles are not, or have not been, operating in a garage attached or adjacent to the residence. never restart the source of a CO problem until it has been corrected. never ignore the sound of the alarm!
NOTE: See Section RECOGNIZING NUISANCE ALARMS, for nuisance alarm situations.
3. Other Alarm Visual And Audible Indicators
| Operational Mode | Visual Indications | Audible Indications | Action/Note |
| Normal (standby) | Green LED blinks approx every 60 sec. | ||
| Test (button press when no alarm condition is present) (Note: Test is very loud, stand a few feet away.) | Red LED blinks in time with alarm pattern. | • Single beep. • 3 long beeps, pause, 3 long beeps, 4 quick beeps, pause, 4 quick beeps. | Perform button press once a week to verify proper alarm operation. |
| Smoke or CO Alarm Memory (unit has experienced a smoke or CO alarm event, or has detected 100ppm CO or greater.) | Smoke: Red LED blinks every 15 sec. CO: 2 red LED blinks every 15 sec. | NOTE: Alarm memory is only retained for 24 hrs. Push button to clear Alarm Memory. | |
| Smoke Alarm Hush™ Mode | Red LED blinks every 2 sec. | After button push, smoke alarm pattern stops. (If there is too much smoke to allow Hush™, smoke alarm pattern continues.) | This feature is to be used only when a known alarm condition, such as smoke from cooking, activates the alarm. Push button during Hush™ to clear Hush™ and perform a test. |
| CO Alarm Reset | None. | After button push: CO alarm pattern stops. | Unit is confirming if CO is present or if it experienced a nuisance situation. Re-alarm means danger. Move to fresh air and call 911. |
4. Troubleshooting Guide
If you require further information please contact Product Support at 1-800-880-6788 or write us at: Kidde, 1016 Corporate Park Drive, Mebane, NC 27302. Our internet address is www.kidde.com.
| Trouble Condition | Visual Indications | Audible Indications | Action |
| Low Battery | Amber LED blinks every 60 sec. | Chirp every 60 sec. | * Push button once to silence for 24 hrs. (Pushbutton again to clear Hush™ and perform a test.) Note: 7 days after Low Battery begins, the notifications cannot be silenced. * Replace batteries as soon as possible. |
| Photo Fault | Amber LED blinks every 60 sec. | 3 chirps every 60 sec. | * See Cleaning Your Alarm section. * Push button once to attempt to reset the unit. * If error continues, remove alarm, dispose unit, and replace as soon as possible. |
| CO Fault | Amber LED blinks 2 times every 60 sec. | 3 chirps every 60 sec. | * Push button once to attempt to reset the unit. * If error continues, remove alarm, dispose unit, and replace as soon as possible. |
| Memory Fault | Amber LED blinks 3 times every 60 sec. | 3 chirps every 60 sec. | * Push button once to attempt to reset the unit. * If error continues, remove alarm, dispose unit, and replace as soon as possible. |
| End of Unit Life | Amber LED blinks 2 times every 60 sec. | 2 chirps every 60 sec. | * Push button once to silence for 24 hrs. (Push button again to clear Hush™ and perform a test.) Note: 7 days after End of Unit Life begins, the notifications cannot be silenced. * Remove alarm, dispose unit, and replace as soon as possible. |
| MCU Failure | None | Constant Tone | * Remove alarm, dispose unit, and replace as soon as possible. |
| Stuck Button | Amber LED blinks 4 times every 60 sec. | 3 chirps every 60 sec. | * Push button to dislodge it from being stuck. If button cannot be unstuck, remove alarm, dispose unit, and replace as soon as possible. |
5. Introduction, Product Features And Specifications
Introduction
This alarm detects products of combustion using a photoelectric sensor and carbon monoxide using an electrochemical cell. Many times throughout this User Guide, we will refer to Carbon Monoxide as “CO.”
Ten (10) years after the unit was installed, this unit will automatically alert you that it is time to replace the unit. This is called “End of Unit Life” mode. See Troubleshooting Guide. To help identify the date to replace the unit, a label has been affixed to the side of the alarm. Write the “Install date” in the space provided, and then write in the “Replace by” date (10 years from initial power up) in permanent marker on the label prior to installing the unit. Two labels have been provided that have important information on what to do in case of a CO alarm. Place one label at eye level on a wall near the alarm after it is mounted, and one near a fresh air source such as a door or window.
Product Features and Specifications:
- Temperature Operating Range: 40°F (4.4°C) to 100°F (37.8°C)
- Humidity Operating range: 10-95% RH non-condensing
- Audible Alarm: 85+ dB at 10′, 3.0 to 3.5 KHz pulsing alarm
- Smoke Sensor: Photoelectric
- CO Sensor: Electrochemical
- Smoke Alarm Hush™
- Powered by two AA batteries.
- Self-testing (see section 10)
6. Limitations Of Smoke And Carbon Monoxide Alarms
WARNING: PLEASE READ CAREFULLY AND THOROUGHLY
- Life safety from fire in residential occupancies is based primarily on early notification to occupants of the need to escape, followed by the appropriate egress actions by those occupants.
- There are situations where a smoke alarm may not be effective to protect against fire as stated in the NFPA Standard 72. For instance:
a) smoking in bed
b) leaving children home alone
c) cleaning with flammable liquids, such as gasoline - Fire warning systems for dwelling units are capable of protecting about half of the occupants in potentially fatal fires. A smoke alarm may not be effective in some situations, such as during incendiary fires where the fire grows so rapidly that an occupant’s egress is blocked even with properly located smoke alarms, or when victims are intimate with the fire (for example, when a person’s clothes catch fire while cooking), too old or young, or physically or mentally impaired such that they cannot escape even when warned early enough that escape should be possible. For these people, additional strategies such as protection-in-place or assisted escape or rescue are necessary. *
- Leading authorities recommend that both ionization and photoelectric smoke alarms be installed to help ensure optimal detection of the various types of fires that can occur within the home. Ionization sensing alarms may detect invisible fire particles (associated with fast flaming fires) sooner than photoelectric alarms. Photoelectric sensing alarms may detect visible fire particles (associated with slow smoldering fires) sooner than ionization alarms.
- A battery powered alarm must have a battery of the specified type, in good condition and installed properly (this model includes two AA replaceable batteries.)
- Smoke alarms must be tested regularly to make sure the battery and the alarm circuits are in good operating condition.
- Smoke alarms cannot provide an alarm if smoke does not reach the alarm. Therefore, smoke alarms may not sense fires starting in chimneys, within walls, on roofs, on the other side of a closed door or other obstruction.
- If the alarm is located outside the bedroom or on a different floor, it may not wake up a sound sleeper.
- The use of alcohol or drugs may also impair one’s ability to hear the smoke alarm. For optimal detection, a smoke alarm should be installed in each sleeping area on every level of a home.
This alarm is not intended to alert hearing impaired individuals.
* Reference National Fire Protection Association (NFPA) standard 72
WARNING: PLEASE READ CAREFULLY AND THOROUGHLY
- IMPORTANT: This alarm is designed to detect carbon monoxide gas from ANY source of combustion. It is NOT designed to detect any other gas.
CAUTION: This alarm will only indicate the presence of carbon monoxide gas at the sensor. Carbon monoxide gas may be present in other areas. Never restart the source of a CO problem until it has been fixed. NEVER IGNORE THE ALARM!
WARNING: THIS PRODUCT IS INTENDED FOR USE IN ORDINARY INDOOR LOCATIONS OF FAMILY LIVING UNITS. IT IS NOT DESIGNED TO MEASURE COMPLIANCE WITH OCCUPATIONAL SAFETY AND HEALTH ADMINISTRATION (OSHA) COMMERCIAL OR INDUSTRIAL STANDARDS. IT IS NOT SUITABLE FOR INSTALLATION IN HAZARDOUS LOCATIONS AS DEFINED IN THE NATIONAL ELECTRIC CODE. IT IS NOT DESIGNED FOR USE IN A RECREATIONAL VEHICLE (RV) OR BOAT.
- The installation of this device should not be used as a substitute for proper installation, use, and maintenance of fuel burning appliances, including appropriate ventilation and exhaust systems.
- This alarm does not prevent CO from occurring, nor can it solve any existing CO problem.
WARNING: THIS DEVICE IS DESIGNED TO HELP PROTECT INDIVIDUALS FROM ACUTE EFFECTS OF CARBON MONOXIDE EXPOSURE. IT WILL NOT FULLY SAFEGUARD INDIVIDUALS WITH SPECIFIC MEDICAL CONDITIONS. IF IN DOUBT, CONSULT A MEDICAL PRACTITIONER. INDIVIDUALS WITH MEDICAL PROBLEMS MAY CONSIDER USING WARNING dEVICES WHICH PROVIDE AUDIBLE AND VISUAL SIGNALS FOR CARBON MONOXIDE CONCENTRATIONS UNDER 30 PPM. *
- This alarm has not been investigated for carbon monoxide detection below 70 PPM.
- This device requires a continuous supply of electrical power from a healthy battery or AC connection, depending on the model. It will not work without power.
* Reference Underwriters Laboratories (UL) standard 2034
7. Recommended Locations For Smoke And Carbon Monoxide Alarms
- Locate smoke alarms in all sleeping areas. Try to monitor the exit path as the bedrooms are usually farthest from the exit. If more than one sleeping area exists, locate additional alarms in each sleeping area.
- Locate additional alarms in stairways, because stairways act like chimneys for smoke and heat.
- Locate at least one alarm on every floor level.
- Locate an alarm in every bedroom.
- Locate an alarm in every room where electrical appliances are operated (i.e. portable heaters or humidifiers).
- Locate an alarm in every room where someone sleeps with the door closed. The closed door may prevent an alarm not located in that room from waking the sleeper.
- Smoke, heat, and combustion products rise to the ceiling and spread horizontally. Mounting the smoke alarm on the ceiling in the center of the room places it closest to all points in the room. Ceiling mounting is preferred in ordinary residential construction.
- For all alarm locations, be sure to choose a flat, solid surface for mounting, with no holes or gaps under the mounting bracket.
Figure 7-A
Note: measurements shown are to the closest edge of the alarm.
- ACCEPTABLE
- TOP OF ALARM ACCEPTABLE HERE
- ANYWHERE ALONG THIS BOLD SURFACE
- Locations permitted for smoke alarms and smoke detectors on tray-shaped ceilings.
NFPA 72 states: “Smoke alarms in rooms with ceiling slopes greater than 1 ft in 8 ft (0.3m in 2.4 m) horizontally shall be located on the high side of the room.” NFPA 72 states: “A row of detectors shall be spaced and located within 3 ft (0.9m) of the peak of the ceiling measured horizontally.”
SINGLE FLOOR PLAN

Smoke Alarms for Required Detection
Ο Smoke Alarms for Additional Detection
Δ Not within 6 feet of appliances
MULTIPLE FLOOR PLAN
Figure 7-B


Figure 7-C
- NOT IN THIS AREA
- ANYWHERE IN THIS AREA
- For mobile home installation, select locations carefully to avoid thermal barriers that may form at the ceiling. For more details, see MOBILE HOME INSTALLATION section.
- When mounting the alarm on the wall, use an inside wall with the top edge of the alarm at a maximum of 12″ (30.5 cm) below the ceiling.
- Put smoke alarms at both ends of a bedroom hallway or large room if the hallway or room is more than 30 feet (9.1 m) long.
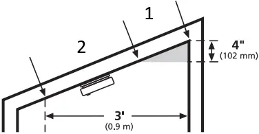
- Install Smoke Alarms on sloped, peaked or cathedral ceilings at or within 3ft (0.9m) of the highest point (measured horizontally).
- Industry experts recommend a CO alarm be installed on each level of the home-ideally on any level with fuel burning appliances and outside of sleeping areas.
This equipment should be installed in accordance with the National Fire Protection Association’s 72 (National Fire Protection Association, Batterymarch Park, Quincy, MA 02269).
Mobile Home Installation
Modern mobile homes have been designed and built to be energy efficient. Install smoke alarms as recommended above. In older mobile homes that are not well insulated compared to present standards, extreme heat or cold can be transferred from the outside to the inside through poorly insulated walls and roof. This may create a thermal barrier which can prevent the smoke from reaching an alarm mounted on the ceiling. In such units, install the smoke alarm on an inside wall with the top edge of the alarm a maximum of 12″ (30.5 cm) below the ceiling.
If you are not sure about the insulation in your mobile home, or if you notice that the outer walls and ceiling are either hot or cold compared to the room air temperature, install the alarm on an inside wall. NFPA 72 (National Fire Protection Association) requires smoke alarms be installed in each sleeping area.
WARNING: TEST YOUR ALARM OPERATION AFTER MOBILE HOME HAS BEEN IN STORAGE OR UNOCCUPIED, AND AT LEAST ONCE A WEEK DURING USE.
8. Locations To Avoid
(See Figures 7-A, 7-B, & 7-C for recommended locations)
- In the garage. Products of combustion are present when you start your automobile.
- Normal cooking may cause nuisance alarms. If a kitchen alarm is desired, it should have an alarm silence feature and should not be installed within 6 ft of cooking appliances.
- Do not install within 6 ft of heating appliances.
- Less than 4″ (10cm) from the peak of an “A” frame type ceiling.
- In an area where the temperature may fall below 40ºF or rise above 100ºF, such as garages and unfinished attics.
- In dusty areas. Dust particles may cause nuisance alarms or a failure to alarm.
- In very humid areas (above 95% RH, non-condensing) as moisture or steam can cause nuisance alarms.
- In insect-infested areas.
- Smoke alarms should not be installed within 3 ft (0.9m) of the door to a bathroom containing a tub or shower, forced air supply ducts used for heating or cooling, ceiling or whole house ventilating fans, or other high air flow areas.
- Near lights. Electronic “noise” generated by the lights may cause nuisance alarms.
- Do not install near vents, flues, or chimneys.
- Do not install near fans, doors, windows or areas directly exposed to the weather.
- Do not install DC (battery only) alarms on top of AC electrical junction boxes.
- Avoid installing where the unit will be exposed to direct sunlight.
9. Installation and Activation
NOTE: A dust cover has been provided with this alarm. Install the dust cover over the alarm if construction projects are ongoing. Do not remove the dust cover until all construction has been completed for at least 24 hours (drywall, painting, varnishing, mounting plate install, etc). Construction dust and chemicals can cause contamination and false alarms.

Figure 9 -A
WARNING: DUST COVER MUST BE REMOVED FOR ALARM TO OPERATE.
NOTE: Pull out the battery pull tab first to activate the batteries (see Figure 9-A). Battery activation is confirmed with a beep. If the beep does not occur when the battery pull tab is removed, remove the batteries and reinstall them. Confirm the battery activation beep.
- Kidde alarms are not designed, agency tested or certified for recessed mounting and should not be installed in this manner. Recessed mounting impedes smoke entry into the smoke chamber, which may prevent the alarm from sounding in a timely manner. This could endanger the lives of occupants in the residence. Kidde alarms are designed, tested and certified for wall (if applicable) and ceiling surface mount only.
- After selecting the proper location for your alarm, attach the mounting bracket to the wall or ceiling. To ensure aesthetic alignment of the alarm with the hallway, or wall, the “A” line on the mounting bracket should be parallel with the hallway when ceiling mounted, or horizontal when wall mounted (Figures 9-B and 9-C)
- Install the alarm fully on the mounting bracket by rotating the alarm in a clockwise direction(Figure 9-D).
When mounting in a hallway, the “A” line should be parallel with the hallway. When wall mounting, the “A” line should be horizontal.

Figure 9-B
Figure 9-C
- Alignment Marks (“A” Line) on Mounting Bracket
- Mark and drill two 3/16″ (5mm) holes for wall anchors.
Figure 9-D
- Remove
- Install
NOTE: The alarm will mount to the bracket in 4 positions (every 90 degrees).
The alarm is now activated! After installation/activation, test your alarm as described in Operation and Testing section.
WARNING: FAILURE TO PROPERLY INSTALL AND ACTIVATE THIS ALARM WILL PREVENT PROPER OPERATION OF THIS ALARM AND WILL PREVENT ITS RESPONSE TO FIRE HAZARDS.
10. Operation And Testing
Operation
The alarm is operating once it is activated and testing is complete (see “TESTING” below). When products of combustion (smoke or CO) are sensed, the unit sounds a loud alarm. See Sections 1 and 2 for alarm signal descriptions. In high levels of CO, the unit will go into alarm in a shorter period of time than at low levels of CO.
Testing
IMPORTANT: Retail canned smoke products vary by manufacturer and produce inconsistent results. If the unit does not alarm when canned smoke is applied conduct a push-to-test to verify proper operation. Over-application of canned smoke can permanently damage the alarm.
Self-Testing
This model is equipped with internal, self-testing components that are always checking to ensure the device is operating as expected. (Weekly manual testing is still required. See below.) If the device is not operating as expected, a fault signal will be generated. (see troubleshooting guide)
Manual Testing
Test your alarm weekly by pressing and releasing the button quickly. A quick beep will confirm the button has been pushed followed by the test sequence. See Other Alarm Visual and Audible Indicators table. The alarm will sound if the electronic circuitry, horn, and batteries are working. If the alarm does not sound, or gives erratic or low volume sound, the unit must be replaced.
WARNING: DUE TO THE LOUDNESS OF THE ALARM, ALWAYS STAND ABOUT 2.5 FEET AWAY FROM THE UNIT OR USE EAR PROTECTION WHEN TESTING.
WARNING: DO NOT USE AN OPEN FLAME TO TEST YOUR ALARM, YOU COULD DAMAGE THE ALARM OR IGNITE COMBUSTIBLE MATERIALS AND START A STRUCTURE FIRE.
Chirping
When End of Unit Life or Low Battery chirping begins, you can temporarily silence these chirps by pressing the button.
WARNING: REPLACE UNIT AS SOON AS POSSIBLE WHEN IN ENd OF UNIT LIFE.
11. Recognizing Nuisance Alarms
Smoke Nuisance
HUSH™ : If you know why the alarm is sounding, and you can verify that it is not a life threatening situation, you can push the button on the initiating unit to silence the alarm for 8-10 minutes. If the smoke is not too dense, that unit will silence. After the Hush™ period, the smoke alarm will automatically reset and sound the alarm if particles of combustion are still present. You can use Hush™ repeatedly until the air has been cleared of the condition causing the alarm.
NOTE: Dense smoke will override Hush™ and sound a continuous alarm. If no fire is present, check to see if one of the reasons listed in “Locations to avoid” may have caused the alarm. If a fire is discovered, get out and call the fire department or 911.
This alarm is designed to minimize nuisance alarms. Cigarette smoke will not normally cause the unit to alarm, unless the smoke is blown directly into the alarm. Combustion particles from cooking may set off the alarm if it is located too close to a cooking appliance. Large quantities of combustible particles are generated from spills or when broiling. Using the fan on a range hood which vents to the outside (non-recirculating type) will also help prevent nuisance alarms from occurring by removing these combustible products from the kitchen.
Carbon Monoxide (CO) Nuisance
RESET: Pushing the button during CO alarm allows the unit to reset calculations and double check for the presence of CO. If the unit re-alarms within 6 minutes, it is sensing high levels of CO which can quickly become a dangerous situation. Move to fresh air and call 911.
WARNING : Although RESET can be used for CO alarm events, it is impossible to determine the source of a CO alarm using sight or smell. Always consider a CO alarm event as dangerous.
12. Batteries
This alarm is powered by two replaceable AA batteries.
NOTE: Constant exposure to high or low humidity or temperatures may reduce battery life.
WARNING: THE ALARM IS SEALED AND THE COVER IS NOT REMOVABLE!
Low Battery
This alarm is equipped with a low battery monitor circuit. If the battery capacity is nearing the point where it can no longer provide adequate power for all alarm functions, the low battery condition will occur. See Troubleshooting Guide. The batteries must be replaced within 7 days of the first occurrence of the “Low Battery Warning” to provide continuous alarm detection.
Replace batteries with one of the following approved brands:
Energizer E91, Gold Peak 15A or Golden Power GLR6A.
These batteries can be purchased at your local retailer.
WARNING: Use only the batteries specified. Use of different batteries may have a detrimental effect on the alarm. Do not mix old and new batteries. Do not mix alkaline, standard, or rechargeable batteries.
NOTE: Do not use lithium batteries in this unit. A good safety measure is to replace the batteries at least once a year, or at the same time you change your clocks for daylight saving time. A missing or improperly installed battery will render the unit inoperable.
13. General Carbon Monoxide (CO) Information
Carbon monoxide (CO) is a colorless, odorless, and tasteless poison gas that can be fatal when inhaled. CO inhibits the blood’s capacity to carry oxygen.
Possible Sources of CO
Inside your home, appliances used for heating and cooking are the most likely sources of CO. Vehicles and other combustion engines running in an attached garage and using a charcoal/gas grill or hibachi in an enclosed area are all possible sources of CO. CO can be produced when burning any fossil fuel: gasoline, diesel, propane, natural gas, oil and wood. It can be produced by any fuel-burning appliance that is malfunctioning, improperly installed, or not ventilated correctly, such as: Furnaces/boilers, gas ranges/stoves, gas clothes dryers, water heaters, portable fuel burning space heaters, fireplaces, wood-burning stoves and certain swimming pool heaters. Blocked chimneys or flues, back drafting and changes in air pressure, corroded or disconnected vent pipes, or a loose or cracked furnace heat exchanger can also release CO into your building.
The following conditions can result in transient CO situations:
Excessive spillage or reverse venting of fuel-burning appliances caused by outdoor ambient conditions such as: Wind direction and/or velocity, including high gusts of wind, heavy air in the vent pipes (cold/humid air with extended periods between cycles), negative pressure differential resulting from the use of exhaust fans, simultaneous operation of several fuel-burning appliances competing for limited internal air, vent pipe connections vibrating loose from clothes dryers, furnaces/boilers, or water heaters, obstructions in, or unconventional, vent pipe designs which can amplify the above situations, extended operation of unvented fuel-burning devices (range, oven, fireplace, etc.), temperature inversions which can trap exhaust gases near the ground, car idling in an open or closed attached garage, or near a home.
CO Safety Tips
Every year, have the heating system, vents, chimney and flue inspected and cleaned by a qualified technician. Always install appliances according to manufacturer’s instructions and adhere to local building codes. Most appliances should be installed by professionals and inspected after installation. Regularly examine vents and chimneys for improper connections, visible rust, or stains, and check for cracks in furnace heat exchangers. Verify that the color of flame is blue on pilot lights and burners. An amber or orange flame is a sign that the fuel is not burning completely and may be releasing CO. Teach all household members what the alarm sounds like and how to respond. Fire Departments, most utility companies and HVAC contractors will perform CO inspections. Some contractors may charge for this service. It’s advisable to inquire about any applicable fees prior to having the service performed. Kidde will not pay for, or reimburse the owner or user of this product, for any repair or dispatch calls related to the alarm sounding.
Symptoms of CO Poisoning
Initial carbon monoxide poisoning symptoms are similar to the flu with no fever and can include dizziness, severe headaches, nausea, vomiting and disorientation. Everyone is susceptible but experts agree that unborn babies, pregnant women, senior citizens and people with heart or respiratory problems are especially vulnerable. If symptoms of carbon monoxide poisoning are experienced seek medical attention immediately. CO poisoning can be determined by a carboxyhemoglobin test.
The following symptoms are related to CARBON MONOXIDE POISONING and should be discussed with ALL members of the household:
- MILD EXPOSURE: Slight headache, nausea, vomiting, fatigue (often described as “Flu-like” symptoms).
- MEDIUM EXPOSURE: Severe throbbing headache, drowsiness, confusion, fast heart rate.
- EXTREME EXPOSURE: Unconsciousness, convulsions, cardio respiratory failure and death.
The above levels of exposure relate to healthy adults. Levels differ for those at high risk. Exposure to high levels of carbon monoxide can be fatal or cause permanent damage and disabilities. Many cases of reported carbon monoxide poisoning indicate that while victims are aware they are not feeling well, they become so disoriented they are unable to save themselves by either exiting the building, or calling for assistance. Also, young children and household pets may be the first affected. Familiarization with the effects of each level is important.
14. Cleaning Your Alarm
Your Alarm Should be Cleaned at Least Once a Year
You can clean the interior of your alarm (sensing chamber) by using compressed air or a vacuum cleaner hose and blowing or vacuuming through the openings around the perimeter of the alarm. The outside of the alarm can be wiped with a damp cloth. Use only water to dampen the cloth, use of detergents or cleaners could damage the alarm.
If the alarm is in Fault mode, the alarm may be in need of cleaning. After cleaning, press the button. If the fault does not clear, the alarm needs to be replaced.
- Never use detergent or other solvents to clean the unit.
- Avoid spraying air freshener, hair spray, or other aerosols near the alarm.
- Do not use a hair dryer to clean the alarm, as it may damage the alarm and impact performance.
- Do not paint the unit. Paint will seal the vents and interfere with the sensor’s ability to detect smoke and CO.
- Never attempt to disassemble the unit to clean inside. This action will void your warranty.
- The following substances can affect the CO sensor and may cause false readings and damage to the sensor:
Methane, propane, isobutane, iso-propanol, ethyl acetate, hydrogen sulfide, sulfide dioxides, alcohol based products, paints, thinner, solvents, adhesives, hair spray, aftershave, perfume, and some cleaning agents. - Move the Alarm and place in another location prior to performing any of the following:
Staining or stripping wood floors or furniture
Painting
Wall papering
Using adhesives
Storing the unit in a plastic bag during any of the above projects will protect the sensors from damage. When household cleaning supplies or similar contaminants are used, the area must be well ventilated.
WARNING: REINSTALL THE ALARM AS SOON AS POSSIBLE TO ENSURE CONTINUOUS DETECTION.
15. Good Safety Habits
Develop and Practice a Plan of Escape
Prepare and practice a home escape plan twice a year, including drills at night. Know two ways out of every room (door & window) and identify a meeting place outside the home where everyone will gather once they have exited the residence. When two people have reached the meeting place, one should leave to call 911 while the second person stays to account for additional family members. Establish a rule that once you’re out, you never re-enter under any circumstance!
- Make a floor plan indicating all doors and windows and at least two (2) escape routes from each room. Stories above ground level may need a rope or chain ladder.
- Have a family meeting and discuss your escape plan, showing everyone what to do in case of fire and where to meet after they leave the house.
- Ensure that small children hear the alarm and wake when it sounds. They must wake up in order to execute the escape plan. Practice allows all occupants to test your plan before an emergency. You may not be able to reach your children. It is important they know what to do.
- Familiarize everyone with the sounds of the smoke/CO alarm and train them to leave your home when they hear it.
- Current studies have shown smoke/CO alarms may not awaken all sleeping individuals, and that it is the responsibility of individuals in the household that are capable of assisting others to provide assistance to those who may not be awakened by the alarm sound, or to those who may be incapable of safely evacuating the area unassisted.
- Install and maintain fire extinguishers on every level of the home and in the kitchen, basement and garage. Know how to use a fire extinguisher prior to an emergency.
Fire Prevention
Never smoke in bed or leave cooking food unattended. Teach children never to play with matches or lighters! Train everyone in the home to recognize the smoke alarm pattern and to leave the home using their escape plan when it’s heard. Know how to do “Stop, Drop and Roll” if clothes catch on fire, and how to crawl low under smoke. Install and maintain fire extinguishers on every level of the home and in the kitchen, basement and garage.
NFPA (National Fire Protection Association)
Fire Safety in the Home: NFPA 72 is intended to provide reasonable safety for persons in family living units. Reasonable fire safety can be produced through the following three point program: (1) Minimizing fire hazards (2) Providing fire-warning equipment (3) Having and practicing an escape plan.
Smoke detection - Are More Alarms desirable?
The required number of smoke alarms might not provide reliable early warning protection for those areas separated by a door from the areas protected by the required smoke alarms. For this reason, it is recommended that the resident consider the use of additional smoke alarms for those areas for increased protection. The additional areas include the basement, bedrooms, dining room, furnace room, utility room, and hallways not protected by the required smoke alarms. The installation of smoke alarms in attics (finished or unfinished), garages, or within 6′ of a heating or cooking appliance is not normally recommended, as these locations occasionally experience conditions that can result in improper operation. *
* Reference National Fire Protection Association (NFPA) standard 72
For your information, the National Fire Protection Association’s Standard 72 reads: Where required by other governing laws, codes, or standards for a specific type of occupancy, approved single and multiple-station smoke alarms shall be installed as follows:
- In all sleeping rooms and guest rooms
- Outside of each separate dwelling unit sleeping area, within 21 ft (6.4 m) of any door to a sleeping room, with the distance measured along a path of travel
- On every level of a dwelling unit, including basements
- On every level of a residential board and care occupancy (small facility), including basements and excluding crawl spaces and unfinished attics
- In the living area(s) of a guest suite
- In the living area(s) of a residential board and care occupancy (small facility)
California State Fire Marshal
Early warning fire detection is best achieved by the installation of fire detection equipment in all rooms and areas of the household as follows: A smoke alarm installed in each separate sleeping area (in the vicinity, but outside the bedrooms), heat or smoke detectors in the living rooms, dining rooms, bedrooms, kitchens, hallways, attics, furnace rooms, closets, utility and storage rooms, basements and attached garages.
FCC
This device complies with part 15 of the FCC Rules. Operation is subject to the following two conditions:
(1) This device may not cause harmful interference, and (2) this device must accept any interference received, including interference that may cause undesired operation.
WARNING! Changes or modifications not expressly approved by the party responsible for compliance could void the user’s authority to operate this device.
NOTE: This equipment has been tested and found to comply with the limits for a Class B digital device, pursuant to part 15 of the FCC Rules. These limits are designed to provide reasonable protection against harmful interference in a residential installation. This equipment generates, uses, and can radiate radio frequency energy and, if not installed and used in accordance with the instructions, may cause harmful interference to radio communications. However, there is no guarantee that interference will not occur in a particular installation. If this equipment does cause harmful interference to radio or television reception, which can be determined by turning the equipment off and on, the user is encouraged to try to correct the interference by one or more of the following measures:
-Reorient or relocate the receiving antenna.
-Increase the separation between the equipment and receiver.
-Connect the equipment into an outlet on a circuit different from that to which the receiver is connected.
-Consult the dealer or an experienced radio/TV technician for help.
16. Service And Warranty
Ten-Year Limited Warranty
Kidde warrants that the enclosed alarm (but not the batteries) will be free from defects in material and workmanship or design under normal use and service for a period of ten years from the date of purchase. The obligation of Kidde under this warranty is limited to repairing or replacing the alarm or any part which we find to be defective in material, workmanship or design (part replacement only, no installation), free of charge, upon receiving the alarm with proof of date of purchase, postage and return postage prepaid, to Warranty Service Department, Kidde, 1016 Corporate Park Drive, Mebane, NC 27302. Before shipping the product, please remove the batteries from the battery compartment.
This warranty shall not apply to the alarm if it has been damaged, modified, abused or altered after the date of purchase or if it fails to operate due to improper maintenance or inadequate power. Any implied warranties arising out of this sale, including but not limited to the implied warranties of description, merchantability and fitness for a particular purpose, are limited in duration to the above warranty period. In no event shall the Manufacturer be liable for loss of use of this product or for any indirect, special, incidental or consequential damages, or costs, or expenses incurred by the consumer or any other user of this product, whether due to a breach of contract, negligence, strict liability in tort or otherwise.
The Manufacturer shall have no liability for any personal injury, property damage or any special, incidental, contingent or consequential damage of any kind resulting from gas leakage, smoke, fire or explosion. Since some states do not allow limitations of the duration of an implied warranty or do not allow the exclusion or limitation of incidental or consequential damages, the above limitations or exclusions may not apply to you. While this warranty gives you specific legal rights, you may also have other rights which vary from state to state.
The above warranty may not be altered except in writing signed by both parties hereto. Your Kidde Alarm is not a substitute for property, fire, disability, life or other insurance of any kind. Appropriate insurance coverage is your responsibility. Consult your insurance agent. Opening the unit will void the warranty.

QUESTIONS OR FOR MORE INFORMATION
Call Kidde Product Support line at 1-800-880-6788
or contact us at www.kidde.com
Kidde
1016 Corporate Park Drive, Mebane, NC 27302

A Carrier Company
©2022 Carrier. All Rights Reserved.

















