MALLOCA Plana K3444 Deodorizer Smoke Extractor Hood

MALLOCA VIET NAM COMPANY LIMITED
Showroom: 279 nguyen Van Troi St. Ward 10, Phu Nhuan Dist, HCM City
Telephone: (+84) 28 39975 893 / 94 – (+84) 28 39975 294 / 95
Fax: (+84) 28 38447 102 – (+84) 28 38447 633
E-mail: [email protected]
TECHNICAL DRAWING
WARNING AND SAFETY PRECAUTIONS
WARNING AND SAFETY PRECAU-TIONS
- This appliance can be used by children of 8 years and older, people with physical, sensory or mental capability deficiency or people with lack of experience or knowledge; as long as they are provided supervision or instructions for the safe use of the appliance and they comprehend the dangers.
- Children should not tamper with the appliance. Cleaning and user maintenance operations must not be performed by chil-dren unless supervised.
- This product is designed for home use.
- Usage voltage of your product is 220-240 Volt~50-60 Hz.
- Power cord of your product is fitted with a grounded plug. This cord must be plugged into a grounded outlet.
- A qualified electrician must install the whole electrical wiring.
- Installation by unauthorized persons could lead to poor opera-tion performance, damage to the product, and accidents.
- Feeder cable of the appliance mustn’t be exposed to jamming or crashing during assembly. Feeder cable mustn’t be placed near the cooker. In such cases, it might melt down and lead to fire.
- Do not plug in the appliance before the installation.
- Make sure that the installation place allows the user to easily unplug the power cable in case of any danger.
- Do not touch your product’s lamps when they work for a long time. The lamps may burn your hand as they will be hot.
- Kitchen hoods are manufactured for household use in normal home cooking. There is a risk of malfunction in other types of use, and the product guarantee will be void.
- Comply with the rules and instructions regarding discharge of outgoing air, stipulated by the relevant authorities. (This warning does not apply to uses without flue.)
- Flammable foods must not be cooked under the appliance.
- Start your product after you place pot, pan etc. on the stoves. Otherwise, high temperature may cause same parts of your products to deform.
- Turn off the cooker’s burner before taking the saucepan, pan, etc. off the cooker.
- Do not leave boiling oil on the stove. Pots that contain boiling oil may catch fire by itself.
- Since oils could catch fire when you cook fried foods in partic-ular, be careful about your curtains and tablecloths.
- Ensure timely replacement of the filters. Filters not replaced in a timely manner pose risk of fire due to accumulated grease deposits on them.
- Do not use non-fire-resistant filtering materials instead of the filter.
- Do not operate your product without filter, and do not remove the filters when the product is in operation.
- In case of any fire, de-energize the hood and any other cooking devices. (Plug off the appliance or turn off the main switch.)
- If your product’s periodic cleaning is not made in a timely manner, it could pose risk of fire.
- De-energize the appliance before any maintenance operations.(Plug off the appliance or turn off the main switch.)
- When electric cooker hood and devices fed with energies other than electricity operate simultaneously, the negative pressure in the room must not exceed 4 Pa (4 X 10 bar ).
- Gas or fuel oil burning appliances, such as room heaters, which share the same environment with your product, must be fully insulated from the exhaust of this product or they must be hermetical.
- When you make a flue connection for your product, use pipes with a diameter of 150mm or 120 mm. The length of the duct connection as well as the number of elbows must be as minimum as possible.
- Children must not play with the appliance.
- For your safety, use ”MAX 6 A” fuse in the hood system.
- Since the packing materials could be dangerous, keep them away from children.
- If the feeder cable is damaged, it must be replaced by its manufacturer or its authorized technical service or any other personnel qualified at the same level, in order to avoid any dangerous situation.
- In case of any deflagration, de-energize the cooker hood and cooking appliances, and cover the flame. Never use water to extinguish a fire.
- When cooking appliances are in operation, their accessible parts could be hot.
- This appliance is not intended to be used by people with physical, sensory and mental disabilities (including children) or those who have not adequate experience and knowledge regarding its use, unless they are under the supervision of a person responsible for the safety of the appliance.
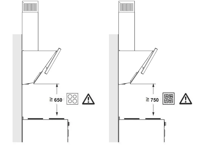
- After the installation of the hood, the minimum distance must be 65 cm between the product and any electric cooker; and 75 cm between it and any gas ranges or cookers burning other fuels.
- The output of the hood must not be connected to air ducts, where other smoke exists.
- You must be careful when using the appliance spontaneously with other appliances (e.g. gas, diesel fuels, coal, wood, etc. burning heaters, shower heaters), which use the same air in the same environment. Attention must be paid when using them simultaneously. It is because the hood could adversely affect the combustion, by discharging the ambient air.
- This warning does not apply to uses without a flue.
- When an electric cooker hood is used simultaneously with devices that use gas or other fuels, there must be sufficient ventilation in the room (might not apply to devices that discharge the air back into the room).
Warning – Choking Hazard
The packaging materials are dangerous for chil-dren. Never allow children to play with packaging materials.
Warning – Death Hazard
There are life-threatening danger and poisoning danger due to reabsorbed combustion gases. During the air discharge outlet use, unless suffi-cient air supply is provided, do not use the appli-ance simultaneously with devices that discharge toxic gases through flue such as ventilated, gas, oil, wood or coal burning heaters, shower heaters, water heaters, etc.Fig. 2
Ventilated goods (e.g. gas, oil, wood or coal burning heaters, shower heaters, water heaters) take combustion air from the instal-lation location, and discharge the waste gas through a waste gas system (e.g. flue). When the cooker hood is active, it absorbs air from the kitchen and neighbouring rooms. If adequate air entry is not provided, vacuum emerges. In such a case, the toxic gases are absorbed from the flue and waste gas channel, and are taken into to door again. Fig. 2
- Therefore, adequate fresh air ingress must always be ensured.Fig. 3

LETHAL RISK, DANGER OF POISONING
- The oil residue in the oil filter may catch
fire.Clean the oil filter at least once every 3 months.Never operate the device without the oil filter. - The oil residue in the oil filter may catch fire. Never work with open flame (ex. flambe) near the device. The apparatus is allowed to be installed near a solid fuel (e.g. wood or coal) heater only if it has a non-removable cover. No sparks should be scattered.
- Hot oils and fats catch fire easily. Hot oils and fats should never be left unattended. Never try to put out the fire with water. Turn off the cooker. Kill the flames carefully using a cover, fire blanket or a similar material.
- Gas-operated cookers that do not have a cooking pot on create high heat during opera-tion. A ventilation device placed over the cookers can be damaged or burned for this reason. Operate gas cookers only when there is a cooking pot on them.
- Operating multiple gas cookers simultaneously creates high heat. A ventilation device placed over the cookers can be damaged or burned for this reason. Never operate two gas cookers longer than 15 minutes on a high flame setting. A large burner over 5kW (Wok) has the power of two gas burners.
Electrocution hazard!
- A malfunctioning device may cause electric shock. Never turn on a malfunctioning device. Pull the power plug and switch off the circuit breaker. Call customer service.
- Unsuitable repairs pose hazards. Repairs and replacement of damaged power cords must be performed only by a customer services technician trained by us. If the device is malfunctioning pull the power plug and switch off the circuit breaker. Call customer service.
- Water leaking into the device may cause electric shock. High-pressure or steam cleaners must not be used.
The danger of physical injury!
- During the installation, there is a danger of physical injury due to the sharp edges. Use protective gloves throughout the installation process of the appliance.
- Due to the risk of dropping the appliance, assembly of all safety bolts and covers must be performed as specified in the user manual.
- Objects placed on the appliance may fall over. Do not place any objects on the device.
- LED lights are very bright and may damage eyes (Risk group 1). You must not look directly at running LED lights for longer than 100 seconds.
Risk of burn, risk of electric shock!
- Allow the appliance to cool before the cleaning or maintenance process. Switch off the fuse or pull out the mains plug from the socket.
- There is a risk of damage due to the ingress of moisture in the electronics. Do not clean the control components with a wet cloth.
- The surface could be damaged due to a wrong cleaning process. Clean stainless steel surfaces only in their brushing direction. Do not use a stainless steel cleaner for the control elements.
- The surface could be damaged due to aggressive and abrasive cleaning agents. Never use aggressive and abrasive cleaning agents.
Dangers of fire and physical injury!
In case of repairing that is not performed according to the rules or as required, turn off the fuse or unplug the feeder cable of your appliance. Repairing must be performed only by the authorized technical service or authorized experts.
NOTICE!
If the appliance is faulty or damaged, turn off the fuse or unplug the feeder cable of your appliance and call the authorized service.
NOTICE!
If the feeder cable is damaged, it must be replaced by its manufacturer or its authorized technical service or any other personnel qualified at the same level, in order to avoid any dangerous situations.
NOTICE!
When the bulbs of the device malfunction, switch off the circuit breaker and unplug the device’s power plug from the socket. Replace the defective bulbs immediately (leave bulbs to cool down first), in order to protect the remaining bulbs against overloading.
CAUTION!
Accessible components might be heated when used with cooking devices.
DANGER!
Air outlet pipe of this appliance mustn’t be connected in the flue used to discharge the fume generated by devices that use gas or other fuels.
Damage reasons
- Damage hazard due to corrosion. Always run the appliance to prevent condensate formation while cooking. Condensates may cause corrosion damage. Replace the malfunctioning lamp right away to prevent the overloading of other lamps.
- Moisture intrusion in electronic parts poses a risk of damage. Never clean the control elements with a wet cloth. The surface could be damaged due to a wrong cleaning process. Clean stainless steel surfaces only in their brushing direction.
- Do not use a stainless steel cleaner for the control elements. The surface could be damaged due to aggressive and abrasive cleaning agents. Never use aggressive and abrasive cleaning agents. There is a risk of damage due to condensate liquid backflow.
- Install the air exit canal with a small downward inclination (1° inclination) from the appliance.
USAGE WITH AND WITHOUT CARBON FILTER
You can use this appliance in exhaust air mode and ventilated air mode.
Exhaust air mode
The absorbed air is cleaned by the grease filters and is discharged through a piping system.Fig. 4
NOTICE!
Exhaust air must not be transferred to an active smoke or waste gas flue; or a flue used for ventilation of the places, where heat sources are installed.
- If you want to transfer exhaust air to an inactive smoke or waste gas flue, you need to obtain permission from an authorized chimney sweep.
- If exhaust air is discharged through the external wall, a telescopic wall safe must be used.

Ventilated air mode
- Absorbed air is cleaned by the grease filters and an active carbon filter, and then it is transferred back to the kitchen.Fig. 5
- You need to install an active carbon filter, in order to catch the substances, which cause a stink in the circulating air. Consult your authorized dealer to know the different opportunities available for enabling the appliance to function in circulating air mode. You can buy the accessories required for this process from the relevant outlets, authorized technical service or online sales center.

AF 100 Carbon Filter Replacement
AF 100 CARBON FILTER
The device you have bought is suitable for use with an AF 100 carbon filter.
- 1-Place the carbon filter in its housing. Fig. 6
- 2-Rotate the carbon filter clockwise and make sure that it is seated completely. Fig. 6
If not seated completely, the carbon filter can fall and damage your product.
DANGER!
Never wash the carbon filters. Keep carbon filters away from children.
CLEANING AND PREVENTIVE MAINTENANCE
CAUTION!
Cleaning and user maintenance of the appliance shall not be performed by unattended children.
- The surface could be damaged due to aggressive and abrasive cleaning agents. Never use aggressive and abrasive cleaning agents. Supply your cleaning and protective substances that are appropriate for your appliance from the authorized technical service. The surface of the appliance and control units are sensitive to scratching.
- Clean the surfaces with a soft and damp cloth, dish-washing liquid or mild glass cleaning agent. Soften the dry, sticky dirt with a damp cloth. Do not scrape!
- It is not appropriate to use dry cloths, sponges that may scratch, materials that require rubbing, and other aggressive cleaning agents containing sand, soda, acid or chlorine.
- Clean the stainless steel surfaces in their brushing direction only.
- Do not use stainless steel cleaning agents and wet clothes for control units. Cleaning of metal grease filters Used metal grease filters retain the greasy particles in the moisture and vapor generated in the kitchen. Clean the metal grease filters about every three months, under normal use conditions (1 to 2 hours a day).
- Do not use excessively effective, acidic or alkaline cleaning agents.
- For cleaning the metal grease filters, clean the holder parts of the metal grease filters in the appliance, with a damp cloth as well.
- You can clean the metal grease filters in the dishwasher or by hand.
- Do not apply spray cleaning supplies directly to the product.
- Do not keep flammable and/or heavy decorative items on the product.
- Cleaning and user maintenance of the appliance shall not be performed by unattended children.
Washing in Dishwasher
In the case of washing in the dishwasher, a slight change might occur in color. This has no effect on the function of the metal grease filter.
- Do not clean too dirty metal grease filters together with utensils in the dishwasher.
- Place the metal grease filters loosely and freely in the dishwasher. Metal grease filters must be placed in the dishwasher without jamming.
CLEANING AND PREVENTIVE MAINTENANCE
Hand Wash
For stubborn dirts, you can use a special grease solvent. You can buy such an agent from the authorized sales centre.
- Soften the metal grease filters in a hot water with dish-washing liquid.
- Use a brush for cleaning and wait for the liquid in metal grease filters to flow off completely.
- Rinse the filters thoroughly after cleaning.
APPLIANCE POSITION
After completing the installation of the hood, the minimum distance must be 650 mm between the product and any electric cooker; and 750 mm between it and any gas ranges or cookers burning other fuels (Fig. 7).
Installation and Unpacking of the Appliance
- Check that your appliance is not deformed.
- Report the transport issues immediately to the transport operator.
- Any faults encountered shall be reported to the dealer, too.
- Do not allow children to play the with packaging materials!
Recommendations for Energy Saving
Your new appliance is exclusively energy-saving. Here, you can find some recommendations on how you can save more energy while using your appli-ance and some advice required to dispose of your appliance properly.
Save energy
- Ensure there is adequate air inlet to enable your good to work efficiently with low operating noise.
- Adjust the fan speed according to the intensity of kitchen vapor. Use the intense setting only in cases of need. A lower fan setting means less energy consumption.
- If high amounts of kitchen smoke shall be present, select a higher fan speed beforehand. The Hood has to run for a much longer duration in order to clear kitchen smoke that is already spread in the kitchen.
- Turn off the hood when not needed.
- Clean or replace the filter in the specified time intervals, this way you can increase ventilation efficiency and avoid a fire hazard.
Disposal in an environmentally compliant way
Dispose of the packaging material in an environmentally compliant way.
This appliance is marked in accordance with European directive 2012/19/EG (waste electrical and electronic equipment – WEEE) This directive sets the framework for the recovery and recycling of old appliances and the related EU-wide applications.
CONTENT OF PACKAGE
- Product
- Inner Flue
- Outer Flue
- Ø150/120mm Flue Adapter (Option)
- Flue Connection Plate
- Ø150/120mm Flue Adapter (Option)
- User Manual
- Installation Template
- Ø6mm Plastic Dowel
- Ø10mm Plastic Dowel
- 5.5×60 Wall Mount Screw
- 3.9×22 Flue Connection Plate Screw
- 3,5×9,5 Rysb Vida
OVERVIEW OF hood
- Inner Flue
- Outer Flue
- Body
- Side Suction Plate / Glass
- Control Panel
- Cooker Lighting
ASSEMBLY OF PRODUCT
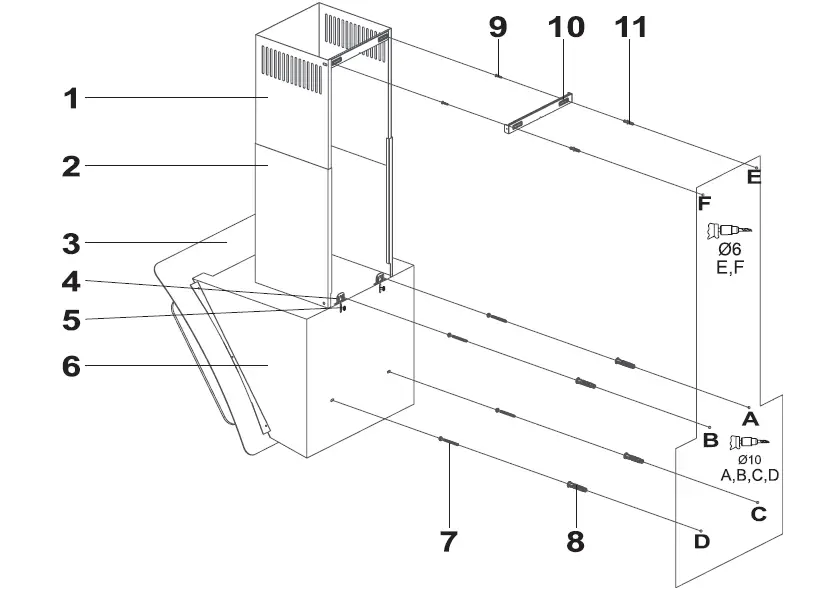
- Inner Flue
- Outer Flue
- Rear Panel
- Hanging Plate of Cooker Hood
- Hanging Plate of Cooker Hood Fixing Screw
- Body
- 4x 5.5×60 Wall Mount Screw
- 4x Ø10mm Plastic Dowel
- 2x 3.9×22 Flue Connection Plate Screw
- Flue Connection Plate
- 2x Ø6mm Plastic Dowel
- Assemble the cooker hood with the help of the assembly scheme (Fig. 10).
- Affix the assembly pattern on the wall, at the specified height (See the minimum and maximum distances intended for the worktop, in the assembly pattern). Perforate points A, B, C, and D (Fig. 10).
- Insert Ø10mm wall plugs into the holes drilled as A, B, C, and D and screw down the screws at the points A + B, in such a way as to remain 5mm space between the screw head and the wall (Fig. 10).
- Hang it on the wall with the hanging plate of the cooker hood.
- Tighten A + B (2) fixing a screw on the wall, and completely secure the product from its points D and C (Fig. 10).
ASSEMBLY OF SHEET METAL FLUES
This section is for models that don’t feature self-flue exhaust.
- Ø150/120 mm Flue Adapter (Option)
- 3.5×9.5 Screw
- Ø120/150 mm Plastic Flue (Option.)
- Body
- Mount the plastic flue to the product body using 2 3.5×9.5 screws (Fig. 11).
- Connect the flue adapter to the plastic flue when required (Fig. 11).
- Mount the air outlet pipe of the product.
ASSEMBLY OF SHEET METAL FLUES
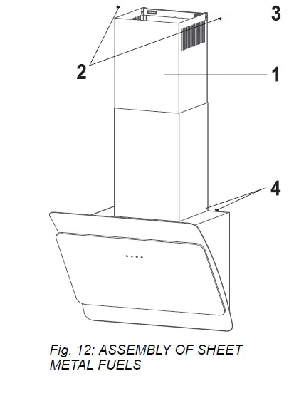
- Inner Flue
- Flue Connection Plate Fixing Screws
- Flue Connection Plate
- Outer Flue Fixing Screws
The outer and inner sheet metal flues are assembled one within the other (Fig. 12).
- The cooker hood is set in the midst, and then the flue con-necting plate (3) is directly affixed to the wall, under the cover or points E and F are marked after performing a measurement ().
- Drill points E and F with Ø6mm drill bit, and insert Ø6mm and plastic dowels. Insert the flue connection plate with 3.9×22 screws ().
- Inner Flue use 1 screw to 2 pull upper left and screw onto the flue connection plate (3) from left and right. (Fig. 12)
- Fix the inner flue to the flue connection plate (2) with screws (3) (Fig. 12).
- Fix the outer funnel to the product body from its lower section using 2 screws (4).
USE OF PRODUCT
3 Spd Digital Product Use
When this button is pressed, the product will operate at speed level 1.
When this button is pressed, the product will operate at speed level 2.
When this button is pressed, the product will operate at speed level 3.
Press this button to turn the on or off the lamp.
To activate the timer function, press and hold any of the
buttons, and for
3 seconds. When the timer function is activated the relevant button symbol will flash for 15 mins. Then, the 15-minute timer function will be activated and the product will turn off automatically after 15 minutes.
- After the activation of the timer function, pressing any button will deactivate the timer function.
- All active functions operated prior to activation of the timer function will be deactivated after 15 minutes.
- All active functions operated after activation of the timer function will be reactivated after 15 minutes.
REPLACING THE LAMPS
LED Lamp Replacement
- Disconnect the electrical supply of the hood. Leave the lamps to cool down first because they could burn your hands when they are hot.
- It indicates the maximum power consumption of the lamp. A lamp with the same power rating should be used when replacing the lamp.

- To find out the power rating used in the product, see the declaration label in the product.
- Only a self-protection LED lamp or self-protection metal halide lamp must be used.

- For replacing the LED lamps, push downwards on the lamp holder from its behind, turn it a little bit counter-clockwise, and take it out downwards.Fig. 15

If Lighting is Not Functioning:
- Make sure that the plug is plugged in, and that the fuses are intact.
- Check the bulbs. Make sure you unplugged the device before performing this check. Tighten the bulbs if they are loose; you can replace the bulbs if they still don’t work.
Possible Faults and Things that You can do Before Calling Technical Service:
If the device does not run in any way:
- Check to see if the hood is plugged in or if the plug is fit properly into the socket.
- Check the fuse, to which the appliance is connected, as well as the main fuse of your house.
If the device performance is not enough and it creates high noise while running
- Is the outlet diameter of the appliance’s flue adequate? (min. 120 mm).
- Are the metal filters clean? Please check.
- If you use the hood without a flue, make sure that the carbon filters are not older than 6 months.
- Be attentive to ventilating your kitchen adequately, in order to provide airflow. If you are still not satisfied with the performance of the appliance, consult the authorized technical service
Troubleshooting
| Fault description | Cause | Remedy |
| The product Does Not Work | Check the power connection. | Mains voltage must be 220-240 V, and the product must be plugged into a grounded socket. |
| The illumination lamp does not operate | Check the power connection. | Mains voltage must be 220-240 V, and the product must be plugged into a grounded socket. |
| The illumination lamp does not operate | Check the lamp press. | Lamp press must be operative. |
| The illumination lamp does not operate | Check the bulbs. | Bulbs must be operative. |
| The product’s Air Intake is Weak | Check The Aluminum Filter. | The aluminum cartridge filter should be washed once a month under normal conditions. |
| The product’s Air Intake is Weak | Check The Air Outlet Flue. | Air Outlet Flue Must Be Open. |
| The product’s Air Intake is Weak | Check The Carbon Filter. | In products that work with carbon filters, the carbon filter must be replaced once in every 3 months under normal conditions. |
| Fault description | Cause | Remedy |
| It Does Not Discharge Air (in flueless use) | Check The Aluminum Filter. | The aluminum cartridge filter should be washed once a month under normal conditions. |
| It Does Not Discharge Air (in flueless use) | Check The Carbon Filter. | In products that work with carbon filters, the carbon filters must be replaced once in every 3 months under normal conditions. |
TECHNICAL TABLE
- Supply Voltage 220 – 240 V 50Hz
- Insulation Class of Motor F
- Insulation Class CLASS I
This product complies with the 2014/30/EC (Regulation on Electromagnetic Compliance) and 2014/35/EC (Regulation on Low Voltage Devices (LVD)) Directives.
This device complies with the Directive on the Control of Waste Electrical and Electronic Equipment.
Specifications of the device and this manual may be modified without prior notification
MALLOCA VIETNAM COMPANY LIMITED Showroom:
279 Nguyen Van Troi Street, Ward 10, Phu Nhuan District, HCM City
Tel: (84) 28 39975 893 / 94
Fax: (84) 28 38447 102 – (84) 28 38633 882
Email: [email protected]
Customer Care:
Hotline: 1800 12 12
Email: [email protected]










When this button is pressed, the product will operate at speed level 1.
When this button is pressed, the product will operate at speed level 2.
When this button is pressed, the product will operate at speed level 3.
Press this button to turn the on or off the lamp.




















