Better Wall Mounted Led Mirrored Cabinet With Shaver Socket and Demister User Manual
CONGRATULATIONS ON YOUR PURCHASE
Our aim at Better Bathrooms is to bring you extraordinary bathroom products, for less. If you’re after a modern, traditional, or a totally unique style bathroom, we have the fittings and fixtures to bring your ideas to life, so you can fall in love with your space every day. We hope you’re happy with your new product. But if you experience any problems, we’re always here to help.
- Call our friendly UK call centre on 0871 244 0935 (Lines open 9am-4.30pm Monday to Friday, or 9am-2pm Saturday).
- Send us a message via betterbathrooms.com.
SAFETY
- This cabinet should be installed by a qualified electrician.
- This fitting is only suitable for connection to a 220-240V earthed supply in accordance with current IEE wiring regulations, and should be installed in accordance with local Building Regulations.
- This is for domestic, indoor use only.
- The cabinet should be connected to a dedicated lighting circuit which must be protected by a 5-amp fuse (or a 6 amp miniature circuit breaker).
- The electrical connection must be an adequate distance from the rear of the cabinet to prevent the risk of shorting with the cabinet’s casing.
- Before installing the fitting ensure that the mains supply is switched off, and that the appropriate fuse is removed (or appropriate circuit breaker is switched off) before commencing installation. Ensure that measures are taken to prevent the supply from being inadvertently reconnected.
- If there is a “Minimum Distance” label, please do not allow flammable materials to rest within that distance from the unit.
- This product may contain delicate parts – be careful during handling and maintenance to avoid breakage.
- Ensure the cover for the shaver socket is closed when not in use to prevent moisture from entering it.
- Only connect items designed to be used with a shaver socket (Such as shavers or electric toothbrushes).
- The shaver socket is not earthed and provides 230V at a maximum current of 80mA. Do not connect devices which require a higher current, different voltage, or an earth connection.
- If any modification is made to the fitting it will invalidate the warranty and may render the product unsafe.
- A defective appliance may cause electric shock. Never switch on a defective or damaged appliance. Disconnect the appliance from the mains before seeking assistance.
- This product is IP44 rated, and no part of the installation is allowed to be within bathroom Zones 0 or 1. Installation is permitted within Zone 2.
- This product must be earthed. Before commencing installation, ensure that there are no pipes or wires located behind the wall that may be damaged during drilling.
- Ensure that the hanging location has been decided upon and marked clearly to avoid unwanted damage to the wall due to incorrect positioning.
- Inspect the cabinet to ensure there are no signs of damage prior to installation.
- Take care unpacking, do not use a sharp blade to open as this may damage the product and void your warranty.
- Once installed a bead of silicon can be applied between the cabinet and the wall across the top and sides of the unit. Never seal the bottom of the cabinet to the wall, as this may allow water to accumulate behind the unit.
BATHROOM ZONES

| Zone 0: | The interior of the bathtub or shower basin. |
| Zone 1: | The area around the bathtub or shower basin up to a height of 2.25m above the floor |
| Zone 2: | The area stretching to 0.6m outside the bath or shower and above the bath or shower if over 2.25m |
PARTS SUPPLIED
- WALL PLUGS (X4)

- SCREWS M4 (X4)

- ALUMINIUM BAR (X1)

PLEASE NOTE: It is the installers responsibility to ensure that the fittings are suitable for the type of wall. Alternative fittings may be required (Not Supplied). If unsure professional advice should be sought.
TOOLS REQUIRED
- TAPE MEASURE

- SPIRIT LEVEL

- ELECTRIC DRILL

- SCREWDRIVER

- HAMMER

- mm DRILL BIT

- PENCIL

INSTALLATION
The cabinet is supplied with a hanging bar to mount the cabinet onto the wall. At the back of the cabinet there is a corresponding bar which is designed to slot onto the hanging bar.
- Choose the desired position of the cabinet, and from that determine the required position of the hanging bar.
- Hold the hanging bar in position, using a spirit level to ensure it is level.
- Use a pencil to mark the position of the 3 holes on the wall.
- Place the hanging bar to one side, and drill the holes with a suitable drill bit.
- Insert wall plugs into the holes, ensuring they are flush to the wall.
- Place the hanging bar onto the wall, lining up the 3 holes with the wall plugs.
- Secure the hanging bar to the wall using the supplied screws.

- You will now be able to hang the cabinet. Carefully lower the cabinet onto the hanging bar, ensuring that is secure and will not slide.
- Open the cabinet door and mark the wall with a pencil through the security hole on the back panel.
- Remove the cabinet, drill the hole then place a wall plug into the hole you have just drilled.
- Hang your cabinet back up onto the hanging bar and ensure that the in the cabinet is lined up with the wall plug.
- The cabinet should now be connected to a suitable fused spur following current regulations and guidance. We would advise for this to be situated directly behind the cabinet below the hanging bar. When connecting ensure that enough cable is left to allow the cabinet to be safely removed from the hanging bar.
- Secure the cabinet to the wall using a screw through the security hole and into the wall plug you previously installed.

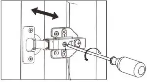
DOOR ADJUSTMENT
If the door is not level, you can adjust it using the hinge screw. Turning the screw clockwise will push the door right, and turning anticlockwise will pull it right

SHELF ADJUSTMENT
Loosen the snap screw on the shelf to adjust the shelf position. Once the shelf is in the correct position and level the screw should then be re tightened.
OPERATION
Your mirror comes with an infrared sensor located on the right-hand side. To activate the light and the demister, move our hand across the sensor once at a distance of around 5cm. To turn the light and demister off, move your hand across the sensor again.

SHAVER SOCKET
Your mirror comes with an inbuilt shaver socket located on the underside of the mirror next to the speakers. This socket is only designed for use with shavers. Once the mirror is connected to the mains, the shaver socket should be ready to use. Do not leave shavers plugged in when unattended and ensure that the socket cover is in place when not in use.
CLEANING AND MAINTENANCE
Never use products containing bleach or abrasive cleaners, as these will have a detrimental effect on the appearance and lifespan of the product. Use a clean micro fiber cloth to clean the mirror.
DISPOSAL
Recycling facilities are now available for all customers at which you can deposit your old electrical products. Customers will be able to take any old electrical equipment to participating sites run by their local councils. Please remember that this equipment will be further handled during the recycling process, so please be considerate when depositing your equipment. Please contact the local council for details of your local household waste recycling centers. At the time of printing the product contains no substances listed within Annex XIV of the Reach Regulations (EC) 1907/2006. In accordance with Article 59 of the same regulation the following substances are contained within the product at permitted levels: Cadmium. As a responsible manufacturer the regulations are monitored to ensure continued compliance. Further information can be provided upon request
TECHNICAL SPECIFICATION
| Model | BeBa_26153 |
| WxHxD (mm) | 500x700x130 |
| Net Weight (Kg) | 14.5 |
| Power Cord length (cm) | 50 |
| Rated Power (W) | 30 |
| IP Rating | IP44 |
| Input | 220 – 240V, 50 Hz |
| Shaver Socket Output | 230V, 50Hz, 80mA |





























