Realink PoE Bullet Camera Instruction Manual
What’s in the Box



Camera Introduction


NOTE
- Different types of cameras are introduced in this section. Please check out the camera included in the package and check out the details from the correpsonding introduction above.
- The actual appearance and components may vary with different model of product.
Connection Diagram
Before using the camera, please connect your camera as instructed below to finish initial setup.
- Connect the camera to a PoE injector with an Ethernet cable.
- Connect the PoE injector to your router, and then power on the PoE injector.

- You may also connect the camera to a PoE switch or Reolink PoE NVR.
NOTE: The camera should be powered with a 12V DC adapter or a PoE powering device such as PoE injector, PoE switch or Reolink NVR (not included in the package).
Set up the Camera
Download and Launch the Reolink App or Client software, and follow the onscreen instructions to finish initial setup.
- On Smartphone
Scan to download the Reolink App.

- On PC
Download path of the Reolink Client: Go to https://reolink.com > Support > App & Client.
NOTE: If you are connecting the camera to a Reolink PoE NVR, please set up the camera via the NVR interface.
Mount the Camera
Installation Tips
- Do not face the camera towards any light sources.
- Do not point the camera towards a glass window. Or, it may result in poor image quality because of the window glare by infrared LEDs, ambient lights or status lights.
- Do not place the camera in a shaded area and point it towards a well-lit area. Or, it may result in poor image quality. To ensure best image quality, the lighting condition for both the camera and the capture object shall be the same.
- To ensure better image quality, it’s recommended to clean the lens with a soft cloth from time to time.
- Make sure the power ports are not directly exposed to water or moisture and not blocked by dirt or other elements.
- With IP waterproof ratings, the camera can work properly under conditions like rain and snow. However, it doesn’t mean the camera can work underwater.
- Do not install the camera at places where rain and snow can hit the lens directly.
- The camera may work in extreme cold conditions as low as -25°C. Because when it is powered on, the camera will produce heat. You may power on the camera indoors for a few minutes before installing it outdoors.
NOTE: There are two different types of mounts for bullet cameras.
Please check out the mount included in the package and follow the corresponding instruction to install the camera properly.
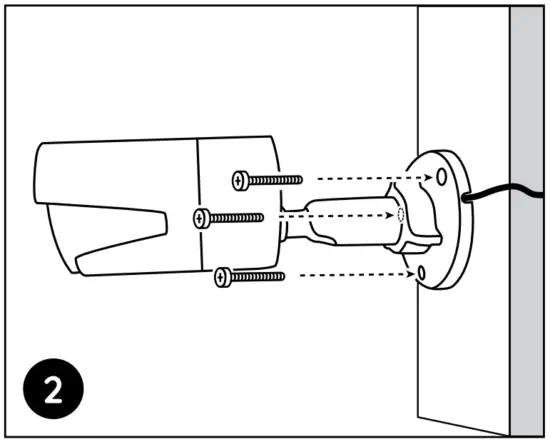
Install the Camera
Drill holes in accordance with the mounting hole template.
NOTE: Use the drywall anchors included in the package if needed.
Install the mount base with the mounting screws included in the package.
NOTE: Run the cable through the cable notch on the mount base.
To get the best field of view, loosen the adjustment knob on security mount and turn the camera.
Stiffen the adjustment knob to lock the camera.
NOTE: If your camera has another mount without the adjusting knob, please loosen the adjusting screw with the provided hex key and turn the camera as shown below to adjust the angle.
Troubleshooting
Camera is Not Powering On
If your camera is not powering on, please try the following solutions:
- Make sure your camera is powered properly. The PoE camera should be powered by a PoE switch/injector, the Reolink NVR or a 12V power adapter.
- If the camera is connected to a PoE device as listed above, connect the camera to another PoE port and see if the camera will power on.
- Try again with another Ethernet cable.
If these won’t work, contact Reolink Support https://support.reolink.com/.
Infrared LEDs Stop Working
If the Infrared LEDs of your camera stop working, please try the following solutions:
- Enable infrared lights on Device Settings page via Reolink App/Client.
- Check if the Day/Night mode is enabled and set up auto infrared lights at night on Live View page via Reolink App/Client.
- Upgrade the firmware of your camera to the latest version.
- Restore the camera to factory settings and check out the infrared light settings again.
If these won’t work, contact Reolink Support https://support.reolink.com/.
Failed to Upgrade the Firmware
If you fail to upgrade the firmware for the camera, try the following solutions:
- Check out the current camera firmware and see if it is the latest one.
- Make sure that you download the correct firmware from Download Center.
- Make sure that your PC is working on a stable network.
If these won’t work, contact Reolink Support https://support.reolink.com/.
Specifications
Hardware Features
Night Vision: 30 Meters (100ft)
Day/Night Mode: Auto Switchover
General
Operating Temperature: -10°C to 55°C (14°F to 131°F)
Operating Humidity: 10%-90%
Ingress Protection: IP66
For more specifications, visit https://reolink.com/
Notification of Compliance
FCC Compliance Statement
This device complies with Part 15 of FCC Rules. Operation is subject to the following two conditions:
- this device may not cause harmful interference, and
- this device must accept any interference received, including interference that may cause undesired operation.
For more information, visit: https://reolink.com/fcc-compliance-notice/.
NOTE: This equipment has been tested and found to comply with the limits for a Class B digital device, pursuant to Part 15 of the FCC Rules.
These limits are designed to provide reasonable protection against harmful interference in a residential installation.
Simplified EU Declaration of Conformity
Reolink declares that this device is in compliance with the essential requirements and other relevant provisions of Directive 2014/53/EU.
Correct Disposal of This Product
This marking indicates that this product should not be disposed with other household wastes.throughout the EU. To prevent possible harm to the environment or human health from uncontrolled waste disposal, recycle it responsibly to promote the sustainable reuse of material resources. To return your used device, please use the return and collection systems or contact the retailer where the product was purchased. They can take this product for environmentally safe recycling.
Limited Warranty
This product comes with a 2-year limited warranty that is valid only if purchased from Reolink Official Store or a Reolink authorized reseller.
Learn more: https://reolink.com/warranty-and-return/.
NOTE: We hope that you enjoy the new purchase. But if you are not satisfied with the product and plan to return, we strongly suggest that you reset the camera to factory default settings before returning.
Terms and Privacy
Use of the product is subject to your agreement to the Terms of Service and Privacy Policy at reolink.com. Keep out of reach of children.
End User License Agreement
By using the Product Software that is embedded on the Reolink product, you agree to the terms of this End User License Agreement (“EULA”) between you and Reolink. Learn more: https://reolink.com/eula/.
Technical Support
If you need any technical help, please visit our official support site and contact our support team before returning the products, https://support.reolink.com.
@ReolinkTech https://reolink.com

References
Reolink: Global Innovator in Smart Home Security and Camera Solutions
Reolink: Global Innovator in Smart Home Security and Camera Solutions
Reolink: Global Innovator in Smart Home Security and Camera Solutions
Reolink® Deutschland: Zuverlässige Sicherheitslösungen im DIY-Stil
Warranty & Return – Reolink
Reolink Support
Reolink Support


















