
M-336

M-336 Twin Pack Wireless Dynamic Professional Microphone
CAUTION
Must confirm power voltage and correct terminals used before installing and using. Avoid using in a dirty and dusty surrounding. Avoid using in a over humid surrounding.
Thank You for purchasing our products. This system contains a receiver and two wireless microphones. Please read the below instructions before operating the unit.
OPERATING
Adjust the amplifier or karaoke system volume control to the minimum.
Connect the receiver unit to the amplifier or karaoke system MIC input.
Raise the two telescopic antennas on the receiver unit to the highest level.
Plug the unit into any 110-120V AC jack. Turn ON/OFF switch to ON. The red power LED will ligh up.

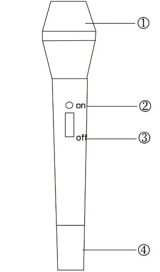
Unscrew the bottom piece of the microphones (#4) and install the 9 volt batteries and screw back on the bottom piece. Please follow the battery polarity directions marked on the microphones. Turn ON/OFF switch on each microphone to ON position and the LED A or B on the receiver should light at the moment. Now, adjust the system volume control at the desired level.

Note:
- Remove the battery from the microphone and unplug the receiver from power if they have not been used for a period of time. If the reception is
bad, please change the batteries.
Specifications:
| Frequency Range: | FM 76.2-87.8MHz |
| Frequency Response: | 100~1000Hz (± 3db) |
| Mobile Range: | 80dB |
| S/N Ratio: | > 80dB |
| T.H.D. : | < % |
| Working Temperature: | 0˚C~45˚C |
| Working Range: | 30M in good position |
| Radio sender: Sending type: | FM |
| Frequency Output Power: | 8mW (maximum 50mw) |
| Deviation Range: | 30KHz |
| Antenna: | Staff Antenna |
| Battery: | One 9V |
| Battery Time: | 10~30 hours |
| Length: | 190mm |
| Weight: | |
| Receiver: | Receiving Type FM |
| Receiving Way: | Out-of-range discrepancy |
| Audio out frequency power: | 25mV |
| Output resistance: | 600Ω (unbalance) |
| Receiving rensitivity: | 30dBuV |
| Antenna: | Staff antenna or telescopic antenna |
| Size: | 300 x 42 x 110mm |
| Working Voltage: | AC 120 60Hz |

















