Tamarack Solar UNI-TL10 Tilt Leg Kit

product introduction
The Tilt Leg Kit is a simple and universal rail mounting solution for adding a tilt to a roof or ground installation using the Tamarack solar 1.6 or 2.3 rails.
product Customer Support
If you need assistance at any point in your installation or have suggestions on how we can improve your experience, call customer support at 1-800-819-7236 ext 556 or email us at [email protected]
product Tools Required
Tools that support the following size Hex heads: Torque values are dry, add 15% if using anti-seize lubricant on Stainless hardware (Recommended).
- 1/2 socket = Torque to 132 inch Lbs (12 Ft Lbs)
product Components List
| ITEM | PART NUMBER | DESCRIPTION | QTY. |
|---|---|---|---|
| 1 | 51-0510-000 | CHANNEL, 10.5 REAR LEG | 1 |
| 2 | 51-0503-000 | CHANNEL, 3.5 FRONT LEG | 1 |
| 3 | 51-6000-003 | U-Foot, Ground Mount | 2 |
| 4 | 89570 | Mount Adapter Bolt, 5/16-18 x 3/4 SST | 2 |
| 5 | 23-3118-021 | Washer, flat 5/16 SS | 4 |
| 6 | 25-3102-000 | Nut, flange 5/16 SST | 4 |
Product Usage Instructions
Step 1: Determine Foot Spacing Front to Rear
The top down clamping areas on panels generally need to correspond with their mounting hole locations. The following is a general location and angle reference guideline. C (HOLE CENTERS) sets A & B dimensions.
Step 2: Determine Foot Spacing Side to Side
Spacing is determined by site loading conditions and maximum rail spans for the 1.6 or 2.3 rails and the quantity of panels being installed.
Step 3: Install the U-Feet
The U-foot can be bolted to uni-strut, standoffs, 3/8 J-bolts in piers, or lagged to wooden structures. U-feet must be kept in line with each other (eastwest).
Step 4: Attach Front and Rear Legs to the U-Foot
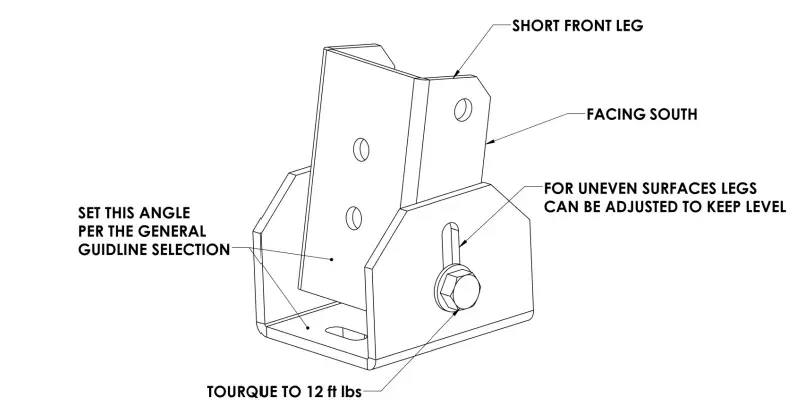
With the channel open side facing the front (south) loosely assemble the front and rear legs to the U-foot. (the short leg in front and the long leg on the rear) the flange nuts to be on the inside as shown.
Step 5: Set Front and Rear Leg Angle
- Cut a template from a stiff material to set the angle of the front leg to the mounting surface.
- Adjust the front leg up or down for leveling with adjacent legs and set the angle of the front leg, torque bolts to 12ft lbs.
- Repeat with the rear leg.
Step 6: Install Mount Adapters and Rails
(Rails, channel clamps, 5050 clamps, splices, lead-clips, endcaps etc. purchased separately)
- Loosely install the mount adapters to the top hole on the front and rear legs, leaving about a 1/4 space between the leg and adapter as shown.
- Lay the rails on top of the adapters as shown.
- Torque the adapter bolts to 12Ft Lbs making sure the locking tabs are fully engaged.
Step 7: Install Solar Panels
- Lay the first panel centered across the rails and attach the outer edge with the Channel end clamps.
- Insert the 5050 clamps into the rail and slide up to the first panel.
- Lay in the next panel, slide up to the 5050 clamps and torque the 5050 clamps to 12 Ft Lbs.
- Repeat with the rest of the panels and use the channel clamps on the last end panel on the outer edge.
Introduction
The Tilt Leg Kit is a simple and universal rail mounting solution for adding a tilt to a roof or ground installation using the Tamarack solar 1.6 or 2.3 rails.
Customer Support
Tamarack Solar makes every effort to ensure your mounting kit is easy to install. If you need assistance at any point in your installation or have suggestions on how we can improve your experience, call customer support at 1-800-819-7236 ext 556 or email us at [email protected]
Tools Required
Tools that support the following size Hex heads: Torque values are “dry”, add 15% if using anti-seize lubricant on Stainless hardware (Recommended).
- 1. 1/2” socket = Torque to 132 inch Lbs (12 Ft Lbs)
Components List
| ITEM | PART NUMBER | DESCRIPTION | QTY. |
| 1 | 51-0510-000 | CHANNEL, 10.5″ REAR LEG | 1 |
| 2 | 51-0503-000 | CHANNEL, 3.5″ FRONT LEG | 1 |
| 3 | 51-6000-003 | U-Foot , Ground Mount s | 2 |
| 4 | 89570 | Mount Adapter | 2 |
| 5 | 23-3118-021 | Bolt, 5/16-18 x 3/4 SST | 4 |
| 6 | 25-3102-000 | Washer, flat 5/16″ SS | 4 |
| 7 | 25-2501-015 | Nut, flange 5/16 SST | 4 |
Structural Components Views
Determine foot spacing front to rear
The top down clamping areas on panels generally need to correspond with their mounting hole locations. The following is a general location and angle reference guideline. “C” (HOLE CENTERS) sets “A” & “B” dimensions.

Determine foot spacing side to side
Spacing is determined by site loading conditions and maximum rail spans for the 1.6 or 2.3 rails and the quantity of panels being installed.
Install the u-feet
The U-foot can be bolted to uni-strut, standoffs, 3/8 J-bolts in piers, or lagged to wooden structures. U-feet must be kept in line with each other (east\west)
Attach front and rear legs to the U-foot
With the channel open side facing the front (south) loosely assemble the front and rear legs to the U-foot. (the short leg in front and the long leg on the rear) the flange nuts to be on the inside as shown.
Set front and rear leg angle
- Cut a template from a stiff material to set the angle of the front leg to the mounting surface.
- djust the front leg up or down for leveling with adjacent legs and set the angle of the front leg, torque bolts to 12ft lbs.
- Repeat with the rear leg.

Install mount adapters and rails
(Rails, channel clamps, 5050 clamps, splices, lead-clips, endcaps etc. purchased separately)
- Loosely install the mount adapters to the top hole on the front and rear legs, leaving about a 1/4″ space between the leg and adapter as shown.
- Lay the rails on top of the adapters as shown.
- Torque the adapter bolts to 12Ft Lbs making sure the locking tabs are fully engaged.

Install Solar panels
- Lay the first panel centered across the rails and attach the outer edge with the Channel end clamps.
- Insert the 5050 clamps into the rail and slide up to the first panel.
- Lay in the next panel, slide up to the 5050 clamps and torque the 5050 clamps to 12 Ft Lbs.
- Repeat with the rest of the panels and use the channel clamps on the last end panel on the outer edge.

Installer Responsibility
The installer is solely responsible for:
- Complying with all applicable local or national building codes, including any that may supersede this manual;
- Ensuring that Tamarack Solar and other products are appropriate for the particular installation and the installation environment;
- Using only Tamarack Solar parts and installer-supplied parts as specified by Tamarack Solar. Substitution parts may void the warranty;
- Ensuring safe installation of all electrical aspects of the PV array; and
- Ensuring correct and appropriate design parameters are used in determining the design loading used for the specific installation. Parameters, such as snow loading, wind speed, exposure and topographic factor should be confirmed with the local building official or a licensed professional engineer.
Warranty Information
Tamarack Solar warrants each Mounting Structure to be free from defects in materials and workmanship for ten (10) years from the date of first purchase (“Warranty Period”), when installed properly and used for the purpose for which it is designed, except for the finish, which shall be free from visible peeling, or cracking or chalking under normal atmospheric conditions for a period of three (3) years, from the earlier of 1) the date the installation of the Product is completed, or 2) 30 days after the purchase of the Product by the original Purchaser (“Finish Warranty”). The Finish Warranty does not apply to any foreign residue deposited on the finish. Galvanized coated sheet steel components will show rust on cut edges and is normal and will not affect the structure and function of the mount. All installations in corrosive atmospheric conditions are excluded. The Finish Warranty is VOID if the practices specified by AAMA 609 & 610-02 – “Cleaning and Maintenance for Architecturally Finished Aluminum” (www.aamanet.org) are not followed by Purchaser for Tamarack Solar’s aluminum-based products.
The warranty covers the replacement cost of parts to repair the product to proper working condition. Transportation and incidental costs associated with warranty items are not reimbursable. The warranty does not cover normal wear, or damage resulting from misuse, abuse, improper installation, negligence, or accident, or typographical errors in instruction manuals. The Warranty does not cover any defect that has not been reported in writing to Tamarack Solar within ten (10) days after the discovery of such defect. Furthermore, it does not cover units that have been altered, modified or repaired without written authorization from the manufacturer or its authorized representative, or units used in a manner or for a purpose other than that specified by the manufacturer. Tamarack Solar’s entire liability and Purchaser’s exclusive remedy, whether in contract, tort or otherwise, for any claim related to or arising out of breach of the warranty covering the Mounting Structures shall be correction of defects by repair, replacement, or credit, at Tamarack Solar’s discretion. Refurbished Mounting Structures may be used to repair or replace the Mounting Structures
Tamarack Solar shall have no liability for any injuries or damages to persons or property resulting from any cause, whatsoever, or any claims or demands brought against Tamarack Solar by Purchaser, any employee of Purchaser, client of Purchaser, end-user of the Product or other party, even if Tamarack Solar has been advised of the possibility of such claims or demands (collectively, “Third Party Claims”). This limitation applies to all materials provided by Tamarack Solar during and after the Warranty Period.
- [email protected]
- 1-800-819-7236 Ext 556






















