MSI Summit MS321UP Productivity LCD Monitor

Getting Started
This chapter provides you with information on hardware setup procedures. While connecting devices, be careful in holding the devices and use a grounded wrist strap to avoid static electricity.
Package Contents
| Monitor | Summit MS321UP |
| Documentation | Quick Start Guide |
| Registration Card | |
| Warranty Card (Optional) | |
|
Accessories | Stand with Screw(s) |
| Stand Base with Screw(s) | |
| Stand Cover | |
| Screw(s) for Wall Mount Bracket(s) | |
| Cord Sleeve | |
| Monitor Hood (Optional) | |
| Power Cord | |
|
Cables | HDMI Cable (Optional) |
| DisplayPort Cable (Optional) | |
| USB Type-C Cable (Optional) | |
| USB Upstream Cable (for USB Type-B Upstream Port) (Optional) | |
| Y-type Audio Cable (for Combo Audio Jack) (Optional) |
⚠ Important
- Contact your place of purchase or local distributor if any of the items are damaged or missing.
- Package contents may vary by country.
- The included power cord is exclusively for this monitor and should not be used with other products.
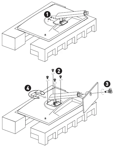
Installing the Monitor Stand
⚠ Important
- Place the monitor on a soft, protected surface to avoid scratching the display panel.
- Avoid pressing the monitor when installing the monitor stand.
- Do not use any sharp objects on the panel.
- The screw holes for installing the stand bracket can also be used for a wall mount. Please contact your dealer for a proper wall-mount kit.

- Leave the monitor in its protective foam packaging. Align and place the tabs on the top edge of the stand bracket into the slots on the back of the monitor.
- Tighten the stand bracket with screws.
- Connect the base to the stand and tighten the base screw to secure the base.
- Align and push the stand cover towards the stand bracket until it locks in place.
- Make sure the stand assembly is properly installed before setting the monitor upright.

Installing the Monitor Hood (Optional)
- Unfold and align the hood to the monitor.
- The magnetic hood will be attached to the monitor automatically.

Adjusting the Monitor
This monitor is designed to maximize your viewing comfort with its adjustment capabilities.
⚠ Important
Avoid touching the display panel when adjusting the monitor.

Monitor Overview

| 1 | Macro Key To activate MSI Productivity Intelligence OSD. | |
| 2 | Power Button | |
| 3 | Light Sensor | |
| 4 | Microphone | |
| 5 | Navi Key | |
| 6 | Kensington Lock | |
| 7 | Power Jack | |
| 8 | HDMI Port | |
| 9 | DisplayPort | |
| 10 | USB Type-C Port This port supports DisplayPort Alternate (DP Alt) Mode and up to 5V/3A power delivery. | |
| 11 | USB 3.2 Gen 1 Type B Upstream Port For USB Upstream Cable. ⚠ Important Check the package for USB Upstream Cable and connect it to the PC and monitor. Once this cable is connected, the USB Type-A Downstream Ports on the monitor will be ready for use. | |
|
| ||
| 12 | USB 3.2 Gen 1 Type-A Port | |
| 13 | Combo Audio Jack For Y-type Audio Cable. ⚠ Important The optional Y-type Audio Cable can connect the PC and monitor. Once this cable is connected, and the audio jacks on the monitor will be ready for use. | |
| 14 | Card Reader |
| 15 | Microphone Jack |
| 16 | Headphone Jack |
| 17 | Cord Sleeve |
⚠ Important
All USB ports do not support the recharging function under power-saving modes.
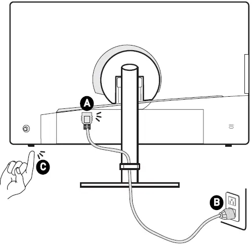
Connecting the Monitor to the PC
- Turn off your computer.
- Connect the video cable from the monitor to your computer.
- Connect the power cord to the monitor power jack. (Figure A)
- Plug the power cord into the electrical outlet. (Figure B)
- Turn on the monitor. (Figure C)
- Power on the computer and the monitor will auto-detect the signal source.

OSD Setup
This chapter provides you with essential information on OSD Setup.
⚠ Important
All information is subject to change without prior notice.
The monitor comes with a Navi Key, a multi-directional control that helps navigate the On-Screen Display (OSD) menu.

Up/Down/Left/Right
- selecting function menus and items
- adjusting function values
- entering into/exiting from function menus
Middle
- launching the On-Screen Display (OSD)
- entering submenus
- confirming a selection or setting
Hot Key
- Users may enter into preset function menus by moving the Navi Key up, down, left, or right when the OSD menu is inactive.
- Users may customize their own Hot Keys to enter into different function menus.

Important
The following settings will be grayed out when HDR signals are received:
- Low Blue Light
- Brightness
- Contrast
- Color Temperature
- Auto Brightness Control
- Ambient RGB Light
- PIP/PBP
- Gray Level
- Local Dimming
- Gamma
- Saturation
- Hue
- Zoom In
- Mode
P.I. (Productivity Intelligence)
| 1st Level Menu | 2nd/3rd Level Menu | Description | |
| Auto Brightness Control | OFF | ∙ Through the internal Light Sensor and AI (Artificial Intelligence) algorithm, this function detects the ambient light and automatically sets the monitor to optimal brightness for users. ∙ When Auto Brightness Control is set to Auto or Customize, the Brightness of OSD will be grayed out. ∙ Customize allows users to adjust the auto brightness curve. | |
| Auto | |||
| Customize | 0-100 | ||
| Ambient RGB Light | OFF | ∙ Through the internal RGB Sensor and AI algorithm, this function detects the ambient color temperature and presents the best light effects synced to the environment. ∙ The Contrast and Color Temperature of OSD will be grayed out while this function is enabled. | |
| ON | |||
| Sound Tune | OFF | ∙ Through the internal digital array microphone and AI algorithm, this function enables Active Noise Cancellation (ANC) technology. ∙ For Sound Tune to properly work, the computer needs to be connected to the USB Upstream port of the monitor. | |
| ON | |||
| KVM | Auto | ∙ Auto allows the monitor to automatically switch between USB input sources, such as keyboards, mice or other USB devices. ∙ Users can also designate Upstream port or USB Type-C as the only USB signal source. | |
| Upstream | |||
| Type C | |||
Professional
| 1st Level Menu | 2nd/3rd Level Menu | Description | |
| Alarm Clock | Location | Left Top | ∙ Users can adjust Alarm Clock in any mode. ∙ After setting the time, press the Middle Button to activate the timer. ∙ Users have to manually restore their preset Alarm Clock after any AC power loss and reconnection. |
| Right Top | |||
| Left Bottom | |||
| Right Bottom | |||
| Customize | |||
| OFF | |||
| 15:00 | 00:01 ~ 99:59 | ||
| 30:00 | |||
| 45:00 | |||
| 60:00 | |||
| Design Assistance | OFF | ∙ Design Assistance provides settings that facilitate your design work. | |
| Assistance Color | Black | ||
| Blue | |||
| White | |||
| Ruler: Center | Inch | ||
| Centimeter | |||
| Customize | |||
| Reset | |||
| Ruler: Edge | Inch | ||
| Centimeter | |||
| Scale | Vertical | ||
| Horizontal | |||
| Reference Line | Vertical | ||
| Horizontal | |||
| Grid | Line | ||
| Point | |||
| Rule of Thirds | |||
| 3D Motion Sickness Aid | |||
| 1st Level Menu | 2nd/3rd Level Menu | Description | |
| Zoom In | Location | Center | ∙ The center point will zoom in when this setting is enabled. Users can select their Location for Zoom In. ∙ Design Assistance and Zoom In can be enabled at the same time. ∙ PIP/PBP and FreeSync should be set to OFF while Zoom In is enabled. ∙ Screen Size 1:1 should be set to Auto while Zoom In is enabled. |
| Up-Left | |||
| Up-Right | |||
| Down-Left | |||
| Down- Right | |||
| ON | |||
| OFF | |||
| Screen Size | Auto | ∙ Users can adjust Screen Size in any mode, any resolution and any screen refresh rate. ∙ If 1:1 is selected then PIP or PBP is enabled, Screen Size should be reset to Auto. | |
| 4:3 | |||
| 16:9 | |||
| 1:1 | |||
| FreeSync | OFF | ∙ FreeSync prevents screen tearing. ∙ Enabling FreeSync will affect PIP/ PBP, Screen Size 1:1 and Zoom In. | |
| ON | |||
Image
| 1st Level Menu | 2nd/3rd Level Menu | Description |
| Brightness | 0-100 | ∙ Default is 70. |
| Contrast | 0-100 | ∙ Default is 70. |
| Sharpness | 0-5 | ∙ Sharpness improves clarity and details of images. ∙ Default is 0. |
| Gray Level | 0-20 | ∙ Default is 10. |
| Image Enhancement | OFF | ∙ Image Enhancement enhances image edges to improve their acutance. |
| Weak | ||
| Medium | ||
| Strong | ||
| Strongest |
| 1st Level Menu | 2nd/3rd Level Menu | Description | |
| Low Blue Light | OFF | ∙ Low Blue Light protects your eyes against blue light. When enabled, Low Blue Light adjusts the screen color temperature to a more yellow glow. ∙ When Mode is set to Anti-Blue, it is mandatory to enable Low Blue Light. | |
| ON | |||
| Local Dimming | OFF | ∙ This setting helps enhance the overall picture quality of dark scenes by dimming backlight zones to improve the contrast ratio in dark scenes. ∙ When this setting is set to ON, Brightness will be grayed out and Auto Brightness Control will be set to OFF. ∙ Enabling Local Dimming will affect visibility of mini OSD, such as Info. On Screen, Refresh Rate, Alarm Clock, Design Assistance, etc. | |
| ON | |||
| Color Temperature | 5000K | ∙ Use Up or Down Button to select and preview effects. ∙ Press the Middle Button to confirm and apply your selection. | |
| 5500K | |||
| 6500K | |||
| 7500K | |||
| 9300K | |||
| 10000K | |||
| Customization | R (0-100) | ||
| G (0-100) | |||
| B (0-100) | |||
| Gamma | 1.8 | ∙ Adjust this setting when the coloration of an original item is not accurately reflected in the monitor. | |
| 2.0 | |||
| 2.2 | |||
| 2.4 | |||
| 2.6 | |||
| 1st Level Menu | 2nd/3rd Level Menu | Description |
| Saturation | R (0-100) | ∙ Default is 50. |
| G (0-100) | ||
| B (0-100) | ||
| C (0-100) | ||
| M (0-100) | ||
| Y (0-100) | ||
| Hue | R (0-100) | ∙ Default is 50. |
| G (0-100) | ||
| B (0-100) | ||
| C (0-100) | ||
| M (0-100) | ||
| Y (0-100) |
Input Source
| 1st Level Menu | 2nd Level Menu | Description |
| HDMI1 | ∙ Users can adjust Input Source in any mode. | |
| HDMI2 | ||
| DP | ||
| Type C | ||
| Auto Scan | OFF | ∙ Users can use the Navi Key to select Input Source at below status: • While “Auto Scan” is set to “OFF” with the monitor at power saving mode; • While “No Signal” message box is shown on the monitor. |
| ON | ||
PIP/PBP
| 1st Level Menu | 2nd/3rd Level Menu | Description | |
| OFF | ∙ Enabling PIP (Picture in Picture) or PBP (Picture by Picture) will affect FreeSync, Response Time, Screen Size 1:1 and Zoom In. ∙ Display Switch allows users to switch between primary and secondary input sources. ∙ While users choose Audio Switch, the Audio Source will be changed to Digital. ∙ If there is only one signal input, the Display Switch and Audio Switch will be grayed out. | ||
| PIP | Source | HDMI1 | |
| HDMI2 | |||
| DP | |||
| Type C | |||
| PIP Size | Small | ||
| Medium | |||
| Large | |||
| Location | Left Top | ||
| Right Top | |||
| Left Bottom | |||
| Right Bottom | |||
| Customize | |||
| Display Switch | |||
| Audio Switch | |||
| PBP | Mode 1 | ||
| Mode 2 | |||
| Source 1 | HDMI1 | ||
| HDMI2 | |||
| DP | |||
| Type C | |||
| Source 2 | HDMI1 | ||
| HDMI2 | |||
| DP | |||
| Type C | |||
| Display Switch | |||
| Audio Switch | |||
| 1st Level Menu | 2nd Level Menu | Description |
| Up / Down / Left / Right | OFF | ∙ Up Button default is Mode. ∙ Down Button default is Design Assistance. ∙ Left Button default is KVM. ∙ Right Button default is Input Source. ∙ All Navi Key items can be adjusted via OSD Menus. |
| Brightness | ||
| Mode | ||
| Design Assistance | ||
| Alarm Clock | ||
| Input Source | ||
| PIP/PBP Mode | ||
| Refresh Rate | ||
| Info. On Screen | ||
| KVM |
Setting
| 1st Level Menu | 2nd Level Menu | Description |
| Language | 繁體中文 | ∙ Users have to press the Middle Button to confirm and apply the Language setting. ∙ Language is an independent setting. Users’ own language setting will override the factory default. When users set Reset to Yes, Language will not be changed. |
| English | ||
| Français | ||
| Deutsch | ||
| Italiano | ||
| Español | ||
| 한국어 | ||
| 日本語 | ||
| Русский | ||
| Português | ||
| 简体中文 | ||
| ไทย | ||
| Bahasa Indonesia | ||
| Türkçe | ||
| (More languages coming soon) | ||
| Transparency | 0~5 | ∙ Default is 0. |
| OSD Time Out | 5~30s | ∙ Default is 20s. |
| Audio Source | Analog | ∙ Users can adjust Audio Source in any Mode. |
| Digital |
| 1st Level Menu | 2nd Level Menu | Description |
| Power Button | OFF | ∙ When set to OFF, users can press the power button to turn off the monitor. |
| Standby | ∙ When set to Standby, users can press the power button to turn off the panel and backlight. | |
| Info. On Screen | OFF | ∙ The information of the monitor status will be shown on the right side of the screen. |
| ON | ||
| HDMI CEC | OFF | ∙ HDMI CEC (Consumer Electronics Control) supports Sony PlayStation®, Nintendo® Switch™, Xbox Series X|S consoles and various audio-visual devices that are CEC- capable. ∙ If HDMI CEC is set to ON: • The monitor will automatically power on when the CEC device is turned on. • The CEC device will enter power saving mode when the monitor is turned off. • When Sony PlayStation®, Nintendo® Switch™, or Xbox Series X|S console is connected, Pro Mode will be automatically set to Eco (Default) and can be adjusted to users’ preferred modes later. |
| ON | ||
| Reset | YES | ∙ Users can Reset and restore settings to original OSD Default in any mode. |
| NO |
Specifications
| Monitor | Summit MS321UP |
| Size | 32 inch |
| Panel Type | IPS |
| Resolution | 3840 x 2160 @60Hz |
| Aspect Ratio | 16:9 |
| Brightness (nits) | 400 |
| Contrast Ratio | 1000:1 |
| Refresh Rate | 60 Hz |
| Response Time | GTG 4ms |
| I/O | ∙ HDMI Port x2 ∙ DisplayPort x1 ∙ USB Type-C (DP Alt Mode) x1 (Up to 5V/3A power delivery) ∙ USB 3.2 Gen 1 Type A Port x3 ∙ USB 3.2 Gen 1 Type B Upstream Port x1 ∙ Microphone Jack x1 ∙ Headphone Jack x1 ∙ Combo Audio Jack x1 ∙ Card Reader x1 |
| Local Dimming | 8 Zones |
| View Angles | 178°(H) , 178°(V) |
| DCI-P3*/ sRGB | 95% / 136% |
| Surface Treatment | Anti-glare |
| Display Colors | 1.07B (8 bit + FRC) |
| Monitor Power Options | 100~240Vac, 50~60Hz, 2A |
| Power Consumption (Typical) | Power On < 42W Standby < 0.5W Power Off < 0.5W |
| Adjustment (Tilt) | -5° ~ 20° |
| Adjustment (Swivel) | -35° ~ 35° |
| Monitor | Summit MS321UP | |
| Adjustment (Height) | 0 ~ 100 mm | |
| Kensington Lock | Yes | |
| VESA Mounting | Plate Type: 100 x 100 mm ∙ Screw Type: M4 x 10 mm • Thread Diameter: 4 mm • Thread Pitch: 0.7 mm • Thread Length: 10 mm | |
| Dimension (W x H x D) | 727.1 x 460.78 x 235 mm | |
| Weight | 9.7Kg (Net) 13.8Kg (Gross) | |
| Environment | Operating | ∙ Temperature: 0℃ ~ 40℃ ∙ Humidity: 20% ~ 90%, non-condensing ∙ Altitude: 0 ~ 5000 m |
| Storage | ∙ Temperature: -20℃ ~ 60℃ ∙ Humidity: 10% ~ 90%, non-condensing | |
Preset Display Modes
| Standard | Resolution | HDMI | DP/Type-C | |
| VGA | 640×480 | @60Hz | V | V |
| Dos-Mode | 720×480 | @60Hz | V | V |
| 720×576 | @50Hz | V | V | |
| SVGA | 800×600 | @56Hz | V | V |
| @60Hz | V | V | ||
| XGA | 1024×768 | @60Hz | V | V |
| SXGA | 1280×1024 | @60Hz | V | V |
| WXGA+ | 1440×900 | @60Hz | V | V |
| WSXGA+ | 1680×1050 | @60Hz | V | V |
| Full HD | 1920×1080 | @60Hz | V | V |
| QHD | 2560×1440 | @60Hz | V | V |
| UHD | 3840x 2160 | @60Hz | V | V |
| Video Timing Resolution | 480P | V | V | |
| 576P | V | V | ||
| 720P | V | V | ||
| 1080P | V | V | ||
| 2160P | V | V | ||
| PBP | Resolution | HDMI | DP/Type-C | |
| Mode 1 | 2560×2160 | @60Hz | X | V |
| 1280×2160 | @60Hz | X | V | |
| Mode 2 | 1920×2160 | @60Hz | V | V |
Troubleshooting
The power LED is off.
- Press the monitor power button again.
- Check if the monitor power cable is properly connected.
No image.
- Check if the computer graphics card is properly installed.
- Check if the computer and monitor are connected to electrical outlets and are turned on.
- Check if the monitor signal cable is properly connected.
- The computer may be in Standby mode. Press any key to activate the monitor.
The screen image is not properly sized or centered.
- Refer to Preset Display Modes to set the computer to a setting suitable for the monitor to display.
No Plug & Play.
- Check if the monitor power cable is properly connected.
- Check if the monitor signal cable is properly connected.
- Check if the computer and graphics card are Plug & Play compatible.
The icons, font, or screen are fuzzy, blurry, or have color problems.
- Avoid using any video extension cables.
- Adjust brightness and contrast.
- Adjust RGB color or tune color temperature.
- Check if the monitor signal cable is properly connected.
- Check for bent pins on the signal cable connector.
The monitor starts flickering or shows waves.
- Change the refresh rate to match the capabilities of your monitor.
- Update your graphics card drivers.
- Keep the monitor away from electrical devices that may cause electromagnetic interference (EMI).
Safety Instructions
- Read the safety instructions carefully and thoroughly.
- All cautions and warnings on the device or User Guide should be noted.
- Refer servicing to qualified personnel only.
Power
- Make sure that the power voltage is within its safety range and has been adjusted properly to the value of 100~240V before connecting the device to the power outlet.
- If the power cord comes with a 3-pin plug, do not disable the protective earth pin from the plug. The device must be connected to an earthed mains socket outlet.
- Please confirm the power distribution system in the installation site shall provide the circuit breaker rated 120/240V, 20A (maximum).
- Always disconnect the power cord or switch the wall socket off if the device would be left unused for a certain time to achieve zero energy consumption.
- Place the power cord in a way that people are unlikely to step on it. Do not place anything on the power cord.
- If this device comes with an adapter, use only the MSI-provided AC adapter approved for use with this device.
Battery
Please take special precautions if this device comes with a battery.
- The danger of explosion if the battery is incorrectly replaced. Replace only with the same or equivalent type recommended by the manufacturer.
- Avoid disposal of a battery in a fire or a hot oven, or mechanically crushing or cutting of a battery, which can result in an explosion.
- Avoid leaving a battery in an extremely high temperature or extremely low air pressure environment that can result in an explosion or the leakage of flammable liquid or gas.
- Do not ingest the battery. If the coin/button cell battery is swallowed, it can cause severe internal burns and can lead to death. Keep new and used batteries away from children.
European Union
Batteries, battery packs, and accumulators should not be disposed of as unsorted household waste. Please use the public collection system to return, recycle, or treat them in compliance with the local regulations.
Taiwan
For better environmental protection, waste batteries should be collected separately for recycling or special disposal.
California, USA
The button cell battery may contain perchlorate material and requires special handling when recycled or disposed of in California.
For further information please visit: https://dtsc.ca.gov/perchlorate/
Environment
- To reduce the possibility of heat-related injuries or overheating the device, do not place the device on a soft, unsteady surface or obstruct its air ventilators.
- Use this device only on a hard, flat, and steady surface.
- To prevent the device from tipping over, secure the device to a desk, wall, or fixed object with an anti-tip fastener that helps to properly support the device and keep it safe in place.
- To prevent fire or shock hazards, keep this device away from humidity and high temperature.
- Do not leave the device in an unconditioned environment with a storage temperature above 60℃ or below -20℃, which may damage the device.
- The maximum operating temperature is around 40℃.
- When cleaning the device, be sure to remove the power plug. Use a piece of soft cloth rather than industrial chemicals to clean the device. Never pour any liquid into the opening; that could damage the device or cause electric shock.
- Always keep strong magnetic or electrical objects away from the device.
If any of the following situations arises, get the device checked by service personnel:
- The power cord or plug is damaged.
- Liquid has penetrated into the device.
- The device has been exposed to moisture.
- The device does not work well or you can not get it working according to the User Guide.
- The device has dropped and is damaged.
- The device has obvious signs of breakage.
TÜV Rheinland Certification
TÜV Rheinland Low Blue Light Certification
Blue light has been shown to cause eye fatigue and discomfort. MSI now offers monitors with TÜV Rheinland Low Blue Light certification to ensure users’ eye comfort and well-being. Please follow the instructions below to reduce the symptoms from extended exposure to the screen and blue light.
- Place the screen 20 – 28 inches (50 – 70 cm) away from your eyes and a little below eye level.
- Consciously blinking the eyes every now and then will help to reduce eye strain after extended screen time.
- Take breaks for 20 minutes every 2 hours.
- Look away from the screen and gaze at a distant object for at least 20 seconds during breaks.
- Make stretches to relieve body fatigue or pain during breaks.
- Use the Reader/Anti-Blue mode or turn on the optional Low Blue Light function.
TÜV Rheinland Flicker Free Certification
- TÜV Rheinland has tested this product to ascertain whether the display produces visible and invisible flicker for the human eye and therefore strains the eyes of users.
- TÜV Rheinland has defined a catalog of tests, which sets out minimum standards at various frequency ranges. The test catalog is based on internationally applicable standards or standards common within the industry and exceeds these requirements.
- The product has been tested in the laboratory according to these criteria.
- The keyword “Flicker Free” confirms that the device has no visible and invisible flicker defined in this standard within the range of 0 – 3000 Hz under various brightness settings.
- The display will not support Flicker-Free when Anti Motion Blur/MPRT is enabled. (The availability of Anti Motion Blur/MPRT varies by product.)
Regulatory Notices
CE Conformity
This device complies with the requirements set out in the Council Directive on the Approximation of the Laws of the Member States relating to Electromagnetic Compatibility (2014/30/EU), Low-voltage Directive (2014/35/EU), ErP Directive (2009/125/EC) and RoHS directive (2011/65/EU). This product has been tested and found to comply with the harmonized standards for Information Technology Equipment published under Directives of the Official Journal of the European Union.
FCC-B Radio Frequency Interference Statement
This equipment has been tested and found to comply with the limits for a Class B digital device, pursuant to Part 15 of the FCC Rules. These limits are designed to provide reasonable protection against harmful interference in a residential installation. This equipment generates, uses and can radiate radio frequency energy and, if not installed and used in accordance with the instruction manual, may cause harmful interference to radio communications. However, there is no guarantee that interference will not occur in a particular installation. If this equipment does cause harmful interference to radio or television reception, which can be determined by turning the equipment off and on, the user is encouraged to try to correct the interference by one or more of the measures listed below:
- Reorient or relocate the receiving antenna.
- Increase the separation between the equipment and the receiver.
- Connect the equipment to an outlet on a circuit different from that to which the receiver is connected.
- Consult the dealer or an experienced radio/television technician for help.
Notice 1
The changes or modifications not expressly approved by the party responsible for compliance could void the user’s authority to operate the equipment.
Notice 2
Shielded interface cables and AC power cords, if any, must be used in order to comply with the emission limits.
This device complies with Part 15 of the FCC Rules. Operation is subject to the following two conditions:
- This device may not cause harmful interference, and
- This device must accept any interference received, including interference that may cause undesired operation.
MSI Computer Corp. 901 Canada Court, City of Industry, CA 91748, USA (626) 913-0828 www.msi.com
WEEE Statement
Under the European Union (“EU”) Directive on Waste Electrical and Electronic Equipment, Directive 2012/19/EU, products of “electrical and electronic equipment” cannot be discarded as municipal waste anymore and manufacturers of covered electronic equipment will be obligated to take back such products at the end of their useful life.
Chemical Substances Information
In compliance with chemical substances regulations, such as the EU REACH Regulation (Regulation EC No. 1907/2006 of the European Parliament and the Council), MSI provides the information of chemical substances in products at:
https://storage-asset.msi.com/html/popup/csr/evmtprtt_pcm.html
RoHS Statement
Japan JIS C 0950 Material Declaration
A Japanese regulatory requirement, defined by specification JIS C 0950, mandates that manufacturers provide material declarations for certain categories of electronic products offered for sale after July 1, 2006.
https://storage-asset.msi.com/html/popup/csr/cemm_jp.html
India RoHS
This product complies with the “India E-waste (Management and Handling) Rule 2011” and prohibits the use of lead, mercury, hexavalent chromium, polybrominated biphenyls or polybrominated diphenyl ethers in concentrations exceeding 0.1 weight % and 0.01 weight % for cadmium, except for the exemptions set in Schedule 2 of the Rule.
Turkey EEE Regulation
Conforms to the EEE Regulations of the Republic Of Turkey.
Ukraine Restriction of Hazardous Substances
The equipment complies with requirements of the Technical Regulation, approved by the Resolution of Cabinet of the Ministry of Ukraine as of December 3, 2008, № 1057, in terms of restrictions for the use of certain dangerous substances in electrical and electronic equipment.
Vietnam RoHS
As of December 1, 2012, all products manufactured by MSI comply with Circular 30/2011/TT-BCT temporarily regulating the permitted limits for a number of hazardous substances in electronic and electric products.
Green Product Features
- Reduced energy consumption during use and stand-by
- Limited use of substances harmful to the environment and health
- Easily dismantled and recycled
- Reduced use of natural resources by encouraging recycling
- Extended product lifetime through easy upgrades
- Reduced solid waste production through a take-back policy
Environmental Policy
- The product has been designed to enable proper reuse of parts and recycling and should not be thrown away at its end of life.
- Users should contact the local authorized point of collection for recycling and dispose of their end-of-life products.
- Visit the MSI website and locate a nearby distributor for further recycling information.
- Users may also reach us at [email protected] for information regarding the proper disposal, take-back, recycling, and disassembly of MSI products.
Warning!
Overuse of screens is likely to affect eyesight.
Recommendations:
- Take a 10-minute break for every 30 minutes of screen time.
- Children under 2 years of age should have no screen time. For children aged 2 years and over, screen time should be limited to less than one hour per day.
Copyright and Trademarks Notice
Copyright © Micro-Star Int’l Co., Ltd. All rights reserved. The MSI logo used is a registered trademark of Micro-Star Int’l Co., Ltd. All other marks and names mentioned may be trademarks of their respective owners. No warranty as to accuracy or completeness is expressed or implied. MSI reserves the right to make changes to this document without prior notice.
Technical Support
If a problem arises with your product and no solution can be obtained from the user’s manual, please contact your place of purchase or local distributor. Alternatively, please visit https://www.msi.com/support/ for further guidance.
FAQ’s
What is the screen size of the MSI Summit MS321UP Productivity LCD Monitor?
The screen size of the MSI Summit MS321UP Productivity LCD Monitor is 32 inches.
What is the resolution of the MSI Summit MS321UP Productivity LCD Monitor?
The MSI Summit MS321UP Productivity LCD Monitor has a resolution of 3840 x 2160 pixels (4K UHD).
Does the MSI Summit MS321UP Productivity LCD Monitor support HDR?
Yes, the MSI Summit MS321UP Productivity LCD Monitor supports HDR (High Dynamic Range) for enhanced color and contrast.
What is the refresh rate of the MSI Summit MS321UP Productivity LCD Monitor?
The MSI Summit MS321UP Productivity LCD Monitor has a refresh rate of 60Hz.
Does the MSI Summit MS321UP Productivity LCD Monitor have an adjustable stand?
Yes, the MSI Summit MS321UP Productivity LCD Monitor comes with an adjustable stand that allows for height, tilt, and swivel adjustments.
What is the color gamut coverage of the MSI Summit MS321UP Productivity LCD Monitor?
The MSI Summit MS321UP Productivity LCD Monitor has a 95% DCI-P3 color gamut coverage, providing rich and vibrant colors.
Does the MSI Summit MS321UP Productivity LCD Monitor have built-in speakers?
Yes, the MSI Summit MS321UP Productivity LCD Monitor is equipped with built-in speakers.
What connectivity options are available on the MSI Summit MS321UP Productivity LCD Monitor?
The MSI Summit MS321UP Productivity LCD Monitor features a variety of connectivity options, including DisplayPort, HDMI, USB-C, and USB ports.
Does the MSI Summit MS321UP Productivity LCD Monitor support USB-C power delivery?
Yes, the MSI Summit MS321UP Productivity LCD Monitor supports USB-C power delivery, allowing you to charge your laptop or other devices through the monitor.
Does the MSI Summit MS321UP Productivity LCD Monitor have a VESA mount compatibility?
Yes, the MSI Summit MS321UP Productivity LCD Monitor is VESA mount compatible, allowing you to mount it on a compatible stand or wall mount.
What is the viewing angle of the MSI Summit MS321UP Productivity LCD Monitor?
The MSI Summit MS321UP Productivity LCD Monitor offers a wide viewing angle of 178 degrees, both horizontally and vertically.
Does the MSI Summit MS321UP Productivity LCD Monitor come with any software features for enhanced productivity?
Yes, the MSI Summit MS321UP Productivity LCD Monitor includes MSI's exclusive software features, such as Picture-in-Picture (PiP) and Picture-by-Picture (PbP), to enhance multitasking capabilities.
Download this PDF Link:



















