wavlink WN570HP2 High Power Outdoor Wireless AP/Range Extender

Hardware Overview
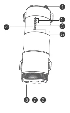
Primary Extender

- RP-SMA Antenna Connectors
- 3x Wi-Fi Signal LEDs
- W-Fi LED
- WAN/LAN LED
- POWER LED
- Reset Button
- WAN/LAN Port (POE)
- Grounding Terminal
Default Parameters
Web: http://wifi.wavlink.com Default IP: 192.168.10.1 Login Password: admin
Ws-WN570HP2
2.4G SSID: WAVLINK-N Wireless Key: no
Led Indicators

WI-FI Signal
ASSEMBLY

OPTION ONE LAN to Wi-Fi Extension Quick Setup
Recommend for big yard

Installation Options
Option I. Fasten the holder to the wall with screws.
Option II. Fasten the holder to the post.
Installation Instruction
A1. Fasten the main body holder.
A2. Screw the connecting cable into the antenna connector and screw up the connector.
A3. Connect one end of an Ethernet cable to “POE” port of POE converter
A4. Connect one end of an Ethernet cable to “LAN DATA IN” port of POE converter, and connect the other end to a “LAN” port of your router.
A5. Plug in the power connector to the “DC24V” port of POE converter, then plug the power adapter into an electrical outlet.
A6. Push the “ON/OFF” button on the POE converter to power on.

ATTENTION:
- Make sure to use a certified CAT5e/CAT6 Ethernet cable with RJ45 connectors.
- Make sure the length of the Ethernet cable is less than 80 meters (262 ft.).
- Please make sure the diameter of the post is between 0.025m and 0.1m.

A7. Connect to the Device
For Windows User
- Unplug the Ethernet cable from your computer (if any).
- Click the Wireless Network Connection icon on your taskbar.
Wi-Fi: On Turn Wi-Fi Off - Click the refresh icon and connect to the device’s network: WAVLINK-N. WAVLINK-N

For Mac oS X User 
- Unplug the Ethernet cable from your computer (if any).
- Click the Wi-Fi icon in the top right corner of the screen, and connect to the device’ s network: WAVLINK-N.

A8. Launch a web browser and type http://wifi.wavlink.com in the address field. Enter admin(all lowercase) to login. .
If the login window does not pop up, please refer to the FAQ>Q1.
A9. Launch a web browser and type http://wifi.wavlink.com in the address field, then create a new password and click “Next”
A10. Click “Wizard”.
A11. Click “AP (LAN Bridge) “.
For Signal Band (2.4G) User
A12. Choose a Security Type.
A13. Enter your password for your extended network.
Change Login Password
NOTE: The default login password of the device is “admin”, We strongly recommend you change the default login password.
- Launch a web browser and type http://wifi, wavlink.com in the address field. Enter admin(all lowercase) to login.
If the login window does not pop up, please refer to the FAQ>Q1. Engish Login
- Click “Setup-> Login Password”.
- Enter the old password, then enter the new password and click “Apply”.
























