GoodBoy GB808V Training Collar User Guide
Thanks for choosing the Rechargeable and Waterproof Remote Dog Training Collar!
Our mission is to provide you with the safe tools to train your pet and we hope that this will fulfill your expecta-tions!
This collar is a safe, comfortable and effective training system for all dog that weigh over 5 lbs or 2.5 kg with a maximum neck circumference of 18 inches (46 cm).
This system allows you to control your dog within a range of up to 2700 feet (800 rn). The actual range may vary depending on terrain, weather, vegetation, battery capacity and radio signal interference. The remote sends a signal to the collar and activates a beep, vibration or both at the press of a button. By using the training collar properly, you can correct a lot of your dog’s undesired behaviour and teach basic and advanced obedience commands.
Features
- Rechargeable and weatherproof remote (can control up to two collars)
- Rechargeable and waterproof receiver collar with a Nylon strop with reflective stitching.
- Up to 2700 feet (800 m) of remote control range
- Beep Mode, Vibration Mode or Beep + Vibration mode
- Safety Mode: if the Launch button is held down for more than 8 seconds, the remote will enter Safety Mode to prevent potential harm to your dog. The buttons on the remote will become unresponsive and the screen will blink for 30 seconds.
- Power saving mode: the receiver collar will go into Standby Mode if it sits idle for more than 5 minutes. Moving the collar will reactivate It. Do not worry about the sound of rattling plastic. It’s the standby sensor which works by moving around inside.
- On/Off function for the remote: to avoid accidental button presses and to save battery, the remote can be turned on and off at will.
NOTE: This collar Is meant for active training of dogs by their owners and it does not activate automatically.
Precautions
DO NOT use this product on aggressive dogs!
DO NOT let your dog wear the collar unsupervised.
CAUTION: RISK OF SKIN DAMAGE FOR THE DOG
- Do not let your dog wear the collar for more than 8 hours per day.
- Gently reposition the collar on your dog’s neck every 1 or 2 hours.
- Never attach a lead to the collar. This would cause excess pressure on the neck!
- When using a separate collar to connect the leash, please ensure that it does not put excess pressure on the remote collar.
- Examine your dog’s neck doily for signs of chafing or soreness and regularly wash your dog’s neck.
- If a rash or sore is found, stop using the collar until the injured skin has healed.
- If the condition persists for more than 48 hours, consult your local veterinarian.
Components GB808V



How to install the Nylon Belt to the Receiving collar
- Remove the faceplate with your fingernail
- Insert and lead the Nylon strap through the holes

The receiver can be moved on the nylon strop to make it even tighter.
Excess strop can be cut if needed, heat the end with a lighter
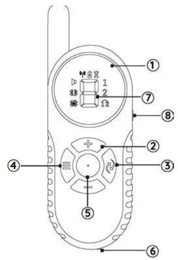
Remote Overview
- LED screen
- Intensity Up/Down button
- Dog button
- Mode button
- Launch button
- Charging port
- Intensity level (1-9)
- On/Off switch

Beepmode
Vibration mode
Beep +Vibration mode
Correction
1 Dog 1 2 Dog 2
Dog 1 & 2
- LED screen.
Beep Mode: when this symbol is displayed, press the Launch button to activate a Beep tone on the Collar.
Vibration Mode: when this symbol is displayed, press the Launch button to activate vibration.
Beep + Vibration mode: When this symbol is displayed, press the Launch button to activate both functions at the same time.
Correction: will turn on if the correction button is pressed and the remote is sending a signal to the collar. If the collar is paired, then the light will be active for the duration of the correction.
- Intensity Up/Down: these are used to adjust the intensityof the beep and vibration from levels 1 to 9.
- Dog button: press this button to change between the 1st and 2nd Receiving collar.
- Mode button: use this button to select the appropriate mode: beep, vibration or beep + vibration .
- Launch button: activates the receiving collar in the selected mode.
- Charging port
- Intensity level (1 to 9)
- On/Off switch: can be used to turn the remote on and off at will. Push the switch up to turn the remote on and push down to turn it off.
- Lithium battery: 3.7V 500mAh for the remote and 3.7V 480mAh for the collar to.
- Operating frequency: 433 MHz

How To use your GoodBoy remote training collar
STEP 1 – Setting up the remote:
Charge both the collar and the remote before use! Please charge the product once a month if you are not actively using it to extend battery life.
Charging the Remote
- Plug the USB charging cable into the charging port
- Plug the Adapter into a standard outlet.
- When charging, the number 0 on the screen will be circulating.
- Once the remote is fully charged, the screen will display a green battery sign. You can then remove the USB Charging Cable and close the charging port cover properly so that the remote is weatherproof.
It mou take tin to 2.5 hours for a full charge.
Low battery indicator:
The screen will display a red crossed out low-battery sign if there is 20 minutes of battery charge left in the device. The remote will turn off once the battery has emptied.
How to use the Remote
- Push the On/Off switch up to turn the remote on.
- Use the Mode button to cycle through different modes. The LCD screen will display which mode is currently active (toot
- Press the Intensity Up or Down (+ or -) buttons to set the intensity of the beep, vibration or both.
- Select the appropriate channel (corresponding to collar 1, collar 2 or both at the some time).
- Hold the remote horizontally and away from your body to achieve the optimal range. (The range may be affected by terrain features. weather. vegetation, transmission from other radio devices and other factors.)
- Press the middle Launch button to activate the chosen mode. The correction lasts as long as the button Is held down or until 8 seconds has passed.
STEP 2 – Setting up the collar.
Charging the Collar
- Remove the rubber cover and plug the USB cable into the charging port.
- Plug the adapter Into a standard outlet
- The collar is fully charged when the red LED turns green. It may take up to 2 hours for a full charge of the collar
- Remove the cable and close the charging port cover. Make sure that the cover Is closed properly so that the collar is waterproof.
- Press the ON/OFF button to turn the collar on. The green LED will indicate that the receiving collar is ON and the green.
Low battery Indicator. The red LED will start blinking if there is 20 minutes of battery charge left in the device. The receiver will turn off once the battery has emptied.
STEP 3 – Pairing the remote and the collar
- Push the On/Off switch up to turn the remote on.
- and red LED lights on the collar will start blinking. This indicates that the collar is ready for pairing. Then on the remote, choose the desired for pairing (1 or 2.
Warning: To avoid assigning two collars to the same channel, wait at least 10 seconds before testing (see previous step).
STEP4 – Testing the collar:
Note: make sure you hove paired the collar(s) before testing (see previous step)
Testing the Beep, Vibration and Beep + Vibration functions
- Press the Mode button on the remote to select Beep, Vibration or the Beep + Vibration mode.
- Select the beep volume, vibration intensity or both of the same time (depending on mode) from the + or – buttons.
- If the receiver beeps on the Beep mode, vibrates on the Vibrate mode or does both on the Beep + Vibrate mode then it is working properly.
Step 5 – Fitting the collar on your dog.
The correct fitting and placement of the collar is important for the effective functioning of the system and the successful training of your pet.
Please tighten the collar properly and place the receiver device on your dog’s windpipe as that is the area most sensitive to stimulation so that you can be sure that your dog feels the vibration. The device can also be placed elsewhere on the neck if your dog reacts properly to the vibration.
Frequently Asked Questions
How old does my pet have to be before I start using the remote collar?
Your pet should be able to recognize basic commands such as “Sit!” and °Stay!” It is definitely not recommended to use the collar on puppies.
Once my dog is trained and has learned to obey my commands, will he have to continue wearing the collar?
Probably not. Although from time to time you might need to reinforce the training with the help of the collar.
Can I use two remotes with one collar?
No, a collar can be paired to only one remote at a time.
Can I use the collar with more than one pet?
Yes, you can easily pair a second remote controlled collar to the system. The second collar can be paired to the second channel on the remote.
Will I get exactly 2700 feet (800 m) of range between the remote and the collar?
The effective range is up to 2700 feet (800 m) without obstacles and other Interference. The actual range may vary depending on terrain, weather, vegetation, battery capacity and radio signal interference.
Is the collar waterproof?
Yes! In fact, your pet can swim with the collar on. However, make sure that you carefully re-seal the charging Dort cap after charging the collar’ I have found that pressing on the rover with my fingernail works well. The remote however is only weatherproof. It con handle light roin but do not submerge It In water
What should I do if my pet’s neck becomes red and irritated?
Remove the collar and do not use It on your pet for a few days. if the irritation persists for more than 4R hex IN consult your lacnt veterinarian.
Once the skin returns to normal, you can use the collar again, but you should loosen the collar a bit (not too loose or it will not work) and give your pet more breaks from wearing It. Monitor your pets skin closely: stop using the rollar if the irritation persists
Can I attach a leash to the collar?
No! This will result in the device being pulled too tightly against the pet’s neck. If you need to keen your oet on a leash then use a separate collar.
How will I know when to charge the Remote or Collar?
The screen of the remote will display a red crossed out low-bat-tery sign if there is 20 minutes of battery charge left in the device. The remote will turn off once the battery has emptied.
The red LED will start blinking on the collar if there is 20 minutes of battery charge left in the device. The receiver will turn off once the battery has emptied.
What is the lifespan of the lithium batteries?
The lithium batteries in the remote and the collar can be charged for up to 400 times. The average duration of a charge is, depending on use, about a week.
For how long can I leave the collar on my pet?
No more than 8 hours per day, because the collar was not designed to be kept on for longer than that.
How long should the pet training sessions be?
The training sessions should be kept short to achieve maximum effectiveness. It is not advised to train your pet for more than 10-15 minutes of a time.
What kind of pets are the collars suitable for?
This product is not suitable for pets with necks larger than 18 inches (46 cm) or for pets that weigh less than 5 lbs or 2.5 kg. The collar’s length is adjustable to 18 inches (46 cm). If your pet’s neck is smaller than 18 inches (46 cm). you can cut the excess collar strap and heat the end of the remaining strap with a lighter so that it does not fray.
Why does the collar make a rattling sound as if something is loose inside?
That is the standby sensor which moves around inside the collar and when it stops moving, the 5-minute countdown to Standby Mode begins.
Troubleshooting
I have fitted the collar correctly, but my pet is not responding.
- Ensure that the batteries ore fully charged. You need to charge both the remote and the collar fully before first use.
- Make sure the collar you ore trying to activate is paired with the remote. See page 9 for instructions.
- Make sure the correct channel is selected on the remote.
- Increase the impulse intensity. If necessary, try going up a mode (Beep to Vibration to Beep + Vibration).
- Restart the collar by pressing the On/Off button.
- Perform the test sequence as described on page 11
- If none of the above works. contact us at [email protected] and we will provide further assistance.
The Remote Transmitter does not work
- Charge the remote before first use. The charging time is typically 2.5 hours.
- After a full charge disconnect the charging cable and turn the remote on from the On/Off switch. If it does not turn on then it is broken.
Contact us and if troubleshooting does not help then we will send you a free replacement if:
- The battery charge less than a day.
- The collar unpairs all the time.
- The sound or vibration functions do not work.
- The remote or collar do not turn on even after charging.
- The collar does not come out of standby mode when the dog moves.
- Anything is missing from the package.
- Other technical difficulties arise.
Please feel free to contact us at
[email protected]
FCC Caution
This device complies with part 15 of the FCC Rules. Operation is subject to the following two conditions: (1) This device may not cause harmful interference, and (2) this device must accept any interference received, including interference that may cause undesired operation.
Any Changes or modifications not expressly approved by the party responsible for compliance could void the user’s authority to operate the equipment.
Note: This equipment has been tested and found to comply with the limits for a Class B digital device, pursuant to part 15 of the FCC Rules. These limits are designed to provide reasonable protection against harmful interference in a residential installation. This equipment generates uses and can radiate radio frequency energy and, if not installed and used in accordance with the instructions, may cause harmful interference to radio communications. However, there is no guarantee that interference will not occur in a particular installation. If this equipment does cause harmful interference to radio or television reception, which can be determined by turning the equipment off and on, the user is encouraged to try to correct the interference by one or more of the following measures:
- Reorient or relocate the receiving antenna.
- Increase the separation between the equipment and receiver.
- Connect the equipment into an outlet on a circuit different from that to which the receiver is connected.
- Consult the dealer or an experienced radio/TV technician for help.
This equipment complies with FCC radiation exposure limits set forth for an uncontrolled environment.

























