
SKU# 1005843365
Model# 22333NKIT-WH
USE AND CARE GUIDE
3 LIGHT LED AC PUCK LIGHT KIT (WHITE FINISH)

Safety Information
- Read all instructions carefully before you begin this installation.
- This equipment has been tested and found to comply with the limits for a Class B digital device, pursuant to part 15 of the FCC Rules. These limits are designed to provide reasonable protection against harmful interference in a residential installation. This equipment generates, uses and can radiate radio frequency energy and, if not installed and used in accordance with the instructions, may cause harmful interference to radio communications.
- There is no guarantee that interference will not occur in a particular installation, if this equipment does cause harmful interference to radio and television reception, which can be determined by turning the equipment off and on, the user is encouraged to try to correct the interference by one or more of the following measures: a) Reorient or relocate the receiving antenna, b) Increase the separation between the equipment and the receiver, c) Connect the equipment into a different outlet and circuit from the receiver outlet and circuit, d) Consult the dealer or an experienced radio/TV technician for help.
- Change or modification to this unit not expressly approved by the party responsible for compliance could void the user’s authority to operate the equipment.
- Rated at 120V/60Hz, 3.02W x 3, Max. 3.02W x 30
- Linkable, add up to 30 units.
- The product is dimmable and can be used with a dimmer switch. See compatible dimmer list this manual.
- Suitable for surface mounting only inside a cabinet.
- Compatible with Direct Wire Junction Box (SKU1006126385), sold separately.
![]()
Supplier’s Declaration of Conformity
47 CFR § 2.1077 Compliance
Information
Unique Identifier: 22333NKIT-WH
Responsible Party: Buckingham
7390 McGinnis Ferry, Road Suite 200, Suwanee, GA 30024
Tel: 678-765-2995
WARNING: Deviation from the assembly instructions may result in a risk of fire or electric shock.
CAUTION: The National Electrical Code (NEC) does not permit cords to be concealed where damage to insulation may go unnoticed. To prevent fire danger, do not run the cord behind walls, ceilings, soffits, or cabinets where it may be inaccessible for examination. Cords should be visually examined periodically and immediately replaced when any damage is noted.
CAUTION: For indoor and dry location use only.
CAUTION: To reduce the risk of fire, electric shock, or injury to persons use only insulated staples or plastic ties to secure cords. Route and secure cords so that they will not ’ be pinched or damaged when the cabinet is pushed to the wall.
CAUTION: Do not operate the fixture with a missing or damaged cover or housing.
CAUTION: To prevent the risk of fire, do not install each puck LED lamp in a compartment smaller than 12 in. x 12 y in. x12 in.
CAUTION: Not intended for recessed installation in Ceilings, or soffits.
CAUTION: The LED source cannot be replaced.
CAUTION: Do not mount this fixture near heat sources which may damage this fixture.
CAUTION: Do not stare directly into the LED source.
CAUTION: Do not dismantle or alter this fixture.
CAUTION: To prevent electric shock, match wide blade of plug to wide slot.
CAUTION: Use only with portable cabinet light accessory providing ten foot total cord length.
Warranty
LIMITED WARRANTY
The manufacturer warrants this product to be free from defects in materials and workmanship for a period of five (5) years from date of purchase. This warranty applies only to the original consumer purchaser and only to products used in normal use and service. If this product is found to be defective, the manufacturer’s only obligation, and your exclusive remedy, is the repair or replacement of the product at the manufacturer’s discretion, provided that the product has not been damaged through misuse, abuse, accident, modifications, alterations, neglect or mishandling. This warranty shall not apply to any product that is found to have been improperly installed, set-up, or used in any way not in accordance with the instructions supplied with the product. This warranty shall not apply to a failure of the product as a result of an accident, misuse, abuse, negligence, alteration, or faulty installation, or any other failure not relating to faulty material workmanship. The manufacturer specifically disclaims any liability and shall not be liable for any consequential or incidental loss or damage, including labor/expense costs involved in the replacement or repair of said product.
Contact the Customer Service Team at 1-877-527-0313 or visit HOMEDEPOT.COM.
Pre-installation
PLANNING INSTALLATION
Read all instructions completely before you begin installation.
TOOLS REQUIRED
HARDWARE INCLUDED
Note: Hardware not shown to actual size.

| Part | Description | Quantity |
| AA | Mounting screw | 10 |
| BB | Fastener | 12 |
PACKAGE CONTENTS

| Part | Description | Quantity |
| A | LED puck assembly | 3 |
| B | Mounting cap (preassembled to LED puck assemblies (A)) | 3 |
| C | End cap (preassembled to one LED puck assembly (A)) | 1 |
| D | Power cord | 1 |
DIMMER COMPATIBILITY
This fixture is dimmable and compatible with these dimmers sold at The Home Depot.
Make sure the lights are in a single pole with the dimmers, and the total wattage of the lights do not exceed the dimmer wattage capacity.
Please refer to wattage capacity on the dimmer packaging.
Please contact customer service if you have further questions on the lights or dimmers.
Lutron Brand:
- DVCL-153PR-WH/ 396508
- CTCL-153PDH-WH/ 267858
- TGCL-153PH-WH/ 527401
- MACL-153MH-WH/ 739664
- DVWCL-153PH-WH/530826
Leviton Brand:
- R62-06674-POW/ 125569
- R12-06672-1LW/ 1000024040
- R50-IPLO6-10M/ 976708
Eaton Brand:
- AALO6-C1/ 206469427
- SALO6P-LA-K/ 205462307
Installation- Option#1 – Starting installation from the left side of your cabinet
*Right side cabinet installation refer to option 2 page 6*
- Preparing the lights for the first time
• Separate the mounting cap (B) that is attached to the LED puck assembly (A) by rotating the mounting cap (B) counterclockwise. Repeat this step for the remaining LED puck assemblies (A).
- Installing the mounting caps
• Install the mounnting cap (B) to the underside of the cabinet by inserting mounting screws (AA) into the mounting holes on the mounting cap (B). Line up the screw holes at the 12 and 6 o’clock position. Working from left to right the red mark on the mounting brackets should face the front of the cabinet.
NOTE: Measure puck light distance before installation.
- Installing the LED assemblies
• Once the mounting cap (B) is secure, bring the puck light (A) to the mounting cap (B), make sure each long wire is on the left side, then turn clockwise to make the wire parallel with the cabinet;
NOTE: Ensure last puck light assembly has end cap (C) inserted.
- Connectin the LED puck lights
• Connect the LED puck assemblies to each other. Connect the power cord (D) to the first puck light.
- Securing the cords
• Use nail-on fasteners (BB) to attach the wire to the cabinet.
NOTE: Be sure to use fastener on last puck light end wire/connector.
Installation – Option #2- Starting installation from the right side of your cabinet
- Preparing the lights for the first time
• Separate the mounting cap (B) that is attached to the LED puck assembly (A) by rotating the mounting cap (B) counterclockwise. Repeat this step for the remaining LED puck assemblies (A).
- Installing the mounting caps
• Install the mounnting cap (B) to the underside of the cabinet by inserting mounting screws (AA) into the mounting holes on the mounting cap (B). Line up the screw holes at the 12 and 6 o’clock position. Working from right to left the red mark on the mounting brackets should face the back of the cabinet.
NOTE: Measure puck light distance before installation.
- Installing the LED assemblies
• Once the mounting cap (B) is secure, bring the puck light (A) to the mounting cap (B), make sure each long wire is on the right side, then turn clockwise to make the wire parallel with the cabinet;
NOTE: Ensure last puck light assembly has end cap (C) inserted.
- Connecting the LED puck lights
• Connect the LED puck assemblies to each other. Connect the power cord (D) to the first puck light.
- Securing the cords
• Use nail-on fasteners (BB) to attach the wire to the cabinet.
NOTE: Be sure to use fastener on last puck light end wire/connector.
Direct Wire Installation (optional)
Convert to Direct Wire:
• Directly wire this fixture to a wall switch using Direct Wire junction Box (SKU1006126385), sold separately.
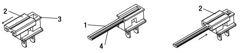
Installing the Quick Connector Plug (optional)
- The fixture wire (1) can be cut to the desired length if necessary. This helps to minimize the amount of wire underneath the cabinets.
- Remove the plug cover (2) from the plug (3).
- Press the fixture wire (1), with grooved side (4) to the right (neutral side) down and into the front of the plug (3).
- Press the fixture wire (1) down onto the metal prongs.
- Slide the plug cover (2) back onto the plug over the fixture wire (1).

Luminous Intensity Distribution

Questions, problems, missing parts?
Before returning to the store, call Customer Service
8 a.m. — 7 p.m., EST, Monday – Friday, 9 a.m. – 6 p.m., EST, Saturday
1-877-527-0313
HOMEDEPOT.COM
Retain this manual for future use.


























