Touchstone Home 90000 Encase Fireplace Mantel Instruction Manual
IMPORTANT SAFETY INFORMATION WARNING!
- Before assembly, carefully use scissors or utility knife to cut and unwrap all parts. DO NOT DISCARD ANY HARDWARE!
- Use care assembling your new mantel. Take your time and use the hardware provided. Never overtighten bolts.
- All panels are labeled left and right as viewed from the front of the unit.
- Serious or fatal crushing injuries can occur from furniture tip-over. Always secure this furniture to the wall using the tip-over restraints provided.
- DO NOT place TV or other HEAVY objects on top of this product.
- NEVER let children climb or hang on this product.
- DO NOT use this product outdoors.
- Please READ and UNDERSTAND the manual for the electric fireplace that is used in conjunction with this mantel. FOLLOW INSTRUCTIONS for the electric fireplace as outlined in the electric fireplace manual.
- Front of fireplace and mantel should not be blocked when in use.
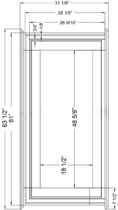
Dimensional Drawings




Unpacking Your Mantel
Parts and Hardware
Tools Required
- Phillips screwdriver
- Scissors or utility knife






Assembly Instructions

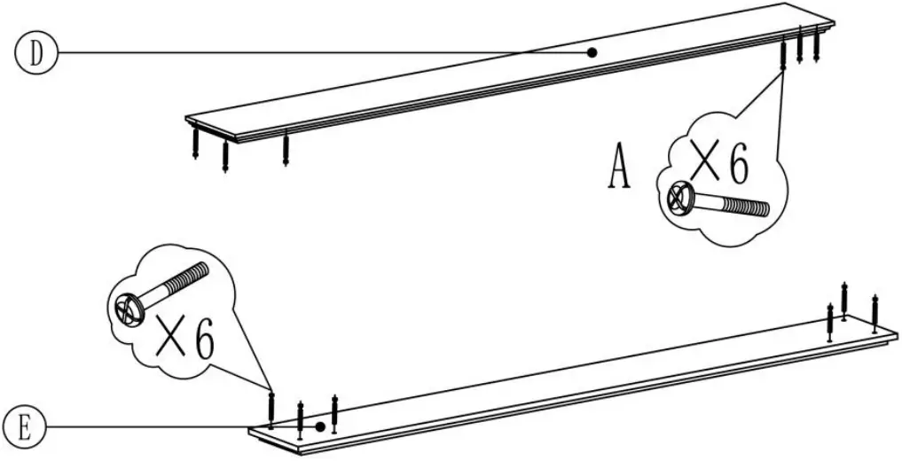
- Locate long panels D (top of mantel) and E (bottom of mantel), and set down on a scratch free surface. Insert and tighten screw A into the holes on panel D and panel E. There will be 6 of screw A inserted into each panel as shown.

- Mount end pieces F and G on the 3 screws on each side of base piece E. The screws in base E will fit into the holes in end pieces F and G.

- Turn the unit around so that you are facing the back of the mantel and install top piece D on end pieces F and G. The screws on piece D will insert into the holes in pieces F and G. Use the metal cam lock B to lock each screw into place. 6 metal cam lock B will be used on both end pieces F and G.

- Fasten flat piece J in each corner of the mantel as shown to the right. Use 3 screws for each flat piece J to fasten the flat piece to the upright pieces on the mantel.

- Place horizontal piece H and I against flat piece J and fasten horizontal piece H and I to flat piece J using 3 screws each.

- Place piece L in the bottom of the mantel so that the 3 vertical pieces of piece L sit on the base of the mantel. Use 2 screw C to fasten piece L to mantel frame.

- Fasten vertical pieces K as shown with 2 screws C.

- The mantel is now assembled are ready to mount the fireplace to the mantel.

Securing Mantel to Wall
WARNING – Please read before completing installation
- Serious or fatal crushing injuries can occur from furniture tip-over. Always secure this furniture to the wall using the tip-over restraints provided.
- DO NOT place TV or other HEAVY objects on top of this product.
- NEVER let children climb or hang on this product.
- DO NOT use this product outdoors.
Instructions
- Fasten bracket P to the mantel as shown to the right. Use screw O to fasten bracket to mantel.

- Place fireplace and mantel in final location and secure to wall. Mark and drill 2 10mm holes in wall to line up with wall brackets on fireplace. Once holes are made, install dry wall anchor N in holes. Line brackets up with drywall anchors and use screw M to secure bracket to drywall anchors.

Warranty
Touchstone Home Products Limited Warranty
Touchstone Home Products®, Inc offers a one (1) year limited warranty on all our electric fireplaces. The one (1)year warranty starts on the date of purchase and expires 1 calendar year from the original date of purchase. Electrical components, such as fan motor, heater motor (if included), control board, remote control, LED lights and control panel are covered under warranty for one year from date of purchase. Touchstone Home Products® will provide replacement parts free of charge during the first year of the warranty. Touchstone Home Products® will not be responsible for installation, labor, or any other expenses related to the reinstallation of a warranted part, and such expenses are not covered under warranty.
Conditions and Limitations
Touchstone Home Products®, Inc warrants our electric fireplaces to be free of defects in material and workmanship to the original purchaser only. Registering your warranty is not necessary. Just provide your proof of purchase along with the model fireplace to make a warranty claim. Warranty coverage begins on the date of purchase. The factory warranty is non-transferrable. Touchstone Home Products®, Inc does not cover damages caused by abuse, accident, alterations, lack of maintenance, misuse, or neglect. Parts installed from other manufacturers will void the warranty. Touchstone will repair or replace any fireplace or fireplace part that is deemed defective or becomes defective during normal use within one (1) year after the date of purchase. Replacement parts and replacement fireplace units are covered under a 90-day warranty or the remainder of the original one (1) year manufacturer’s warranty from original date of purchase, whichever is greater. Touchstone Home Products®, Inc does not warrant its products against damage caused by third parties. The warranty does not cover paint scratches, cosmetic blemishes, dents, corrosion, or other normal wear and tear associated with the fireplace. Damage to fireplace or other components due to water, weather damage, long periodsof dampness, condensation, damaging chemicals or cleaners are not covered under warranty. Touchstone Home Products limited warranty does not cover accidental breakage of fireplace glass panel.Extended warranty coverage for the fireplace is available by contacting Touchstone Home Products® directly at 1- 800-215-1990.





























![Touchstone Valueline Series Electric Fireplace Heater User Manual [model: 80018, 80019, 80030, 80031] Touchstone Valueline Series Electric Fireplace Heater User Manual [model: 80018, 80019, 80030, 80031]](https://static-data1.manualsee.com/1/img/232/72463/2021/02/Touchstone-Valueline-Series-Electric-Fireplace-Heater-User-Manual-Model-80018-80019-80030-80031.jpg)