REVOX Mini G50 Smallest Speaker
INTRODUCTION
Dear Music Friend
Congratulations on the purchase of your new Revox speakers, and thank you for your trust in our high-quality products. Your Revox speakers have been developed according to state-of-the-art electro-acoustic technology and built with utmost care. To enjoy an excellent sound quality in your home, carefully read the following instructions before first-time operation. With the conception of these speakers we have invested a lot of effort in their tonal balance.
Unpacking
We recommend that you keep the packing material for a possible later transportation.
Positioning
Your speakers are set up correctly if your favorite listening position and the speakers form an approximately equilateral triangle. The speakers should radiate from an acoustically hard environment with good reverberation characteristics into the more damped part of the listening area. No objects should be placed in front of or too near to the speakers. The listener should be able to see both speakers completely. Please make sure that you do not put things too close to the rear side of the loudspeaker, since part of the sound comes out of the bass tubes on the rear of your speakers. Therefore, we recommend you to leave about one inch of space behind it. For best sound quality, position the speakers at ear level (± 12 in. / ± 30 cm). The low-frequency behavior may be controlled by the distance of the speakers to the walls. Depending on the acoustic actualities of your room, very serious changes of the bass volume can occur between the possibilities “larger distance” (slim bass) and “in the angle of the room” (beefy bass)’’.
Wall-mount with ball joint brackets
Revox provides ball joint wall brackets with a wide swivelling range. The brackets are designed for screw(s) wall-mounting and attach to the speakers by means of three screws. For detailed information on wall-mounting, refer to the instructions that come with the wall brackets.
Ball joint wall bracket:
- Mini G50
- Piccolo S60
Article. no.: 1.084.606.00 
Mounting Mini near wall
Revox offers a special bracket system for mounting near the wall of the Mini G50 and Shelf G70. This guarantees a secure fixing and centering of the speaker and at the same time, it allows for the correct spacing between the rear of the speaker and the wall.
This guarantees a simple connection of the speaker cable to the connection terminal. The wall-mounting consists of two elements, a wall and a speaker fixing.
Wall bracket
- Mini G50
- Shelf G70
Article. no.: 1.084.207.00
Step 1
Fit the wall mounting bracket using the screws provided. Always use wall plugs if mounting on concrete or brickwork walls. You do not need to use wall plugs if installing on a stable wooden wall. Make sure that the mounting bracket is lined up horizontally. It is not possible to adjust the speaker afterward. The lower part of the mounting bracket should lie flush to the wall. Also see Step 3 The distance between the lower edge of the mounting bracket and the cable exit point should be between 2 and 7 cm / 1 and 3 inches.
Step 2
Fit the wall mounting bracket for the back wall of the speaker, also using the screws provided. There are already three holes on the back of the speaker for this purpose. Make sure that the upper part of the mounting bracket lies flush against the back wall of the speaker. The middle screw should only be hand-tightened. Also see Step 3 Close off the bass tube with the supplied foam plug, in order to avoid ventilation sounds. – Mount the rubber feet –
Step 3
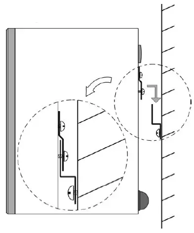
The last step is to connect the two connection cables to the connection terminal. Please take note of the polarity! Bring the speaker into position, as shown in the graphic on the left, and slide the two elements of the mounting bracket into each other. If the two elements are seated correctly, the Mini G50/ Shelf G70 now “floats” on the wall and has a space around it of about 10 mm/ 0.4 inches.
Connecting the speakers
Important
Before cabling, disconnect your hi-fi system (amplifier, receiver, power amplifier etc.) from the mains. Connect the speaker outputs A or B on the back of your amplifier to the corresponding terminal screws on the speakers, using speaker cables with bared ends. You must be careful to keep the correct polarity in order to ensure perfect sound reproduction. Connect the positive pole of the amplifier to the positive pole of the speaker. Crossed polarity doesn’t cause any damage to the speaker or the amplifier, but it leads to an imprecise bass and a somewhat diffused sound picture.
Cable lengths & cross sections

Power handling capacity
Disposal of your old product
Your product is designed and manufactured with high-quality materials and components, which can be recycled and reused. When this crossed-out wheeled bin symbol is attached to a product, it means the product is covered by the European Directive 2002/96/EC. Please inform yourself about the local separate collection system for electrical and electronic products. Please act according to your local rules and do not dispose of your old products with your normal household waste. The correct disposal of your old product will help prevent potential negative consequences for the environment and human health.
Technical data
| Shelf G70 | Mini G50 | Piccolo S60 | |
| Principle | 2 way BR | 2 way BR | 2 way BR |
| Frequency range (IEC) | 45 Hz -30 kHz | 55 Hz -30 kHz | 65 Hz – 20 kHz |
| Power Capacity | 70 / 100 watts | 50 / 70 watts | 60 / 100 watts |
| Impedance | 4 ohms | 4 ohms | 4 ohms |
| Sensivity 2,83V/ 1m | 90 dB | 89 dB | 88,5 dB |
| Rec. amplifier power: | 60 – 100 W | 60 – 100 W | 60 – 100 W |
| Dimensions | |||
| Height | 320 mm | 180 mm | 140 mm |
| Width | 104 mm | 104 mm | 140 mm |
| Depth [without terminal screw] | 218 mm | 130 mm | 140 mm |
| Weight | 4,0 kg / 8.9 lb | 1,8 kg / 4 lb. | 1,8 kg/ 4 lb. |
Warranty
The warranty covers a period of 60 months from the purchasing date. First contact your dealer or any service requirements. If he is unable to assist, send your unit without accessories to your national sales organization. In all cases, include a detailed description.
Maintenance
The glass front can be cleaned with a mild glass cleaner. The lacquered surface of the housing on the other hand, should just be cleaned using a damp cloth and then wiped dry with a soft cloth. Do not use any scouring powder.



















