
User Manual Oscar
Please find the following languages inside
EN, NL, DE, DK, ES, Fl, FR, HU, IT, NO, SE, SK, PL, PT
1755027 LED Night Light Owl Oscar
| Article number | Name | Material |
| 1755027 | Oscar | PVC |
Designed in the Netherlands by Flow Amsterdam
How does the night light work?
Buttons
Press the button on the night light to switch ON/OPP.
Auto OFF function
The light will shut off automatically after being inactive for 15 minutes.
Color modes
When the device is ON, tap the night light to change the color mode.
- White (low intensity)
- White (high intensity)
- Red
- Yellow
- Green
- Blue
- Color changing mode
- OFF
Charging
Connect the night light with the micro-USB cable to a 5V USB port:
-When charging: a green indication LED is blinking.
– When charging is done: the green indication LED will turn ON.
– When battery is low 00%), red LED is blinking.
-When is being charged while having a low battery (50%): red LED is blinking.
Auto OFF function:
- The light will shut off automatically after being inactive for 15 minutes.
- Hold the button 5 seconds until the light blinks twice: Auto OPP function is now de-activated.
- Hold the button again for 5 seconds until the light blinks 4 times: Auto OPP function is now activated.
Note: The settings will reset when the lights is shut OPP.
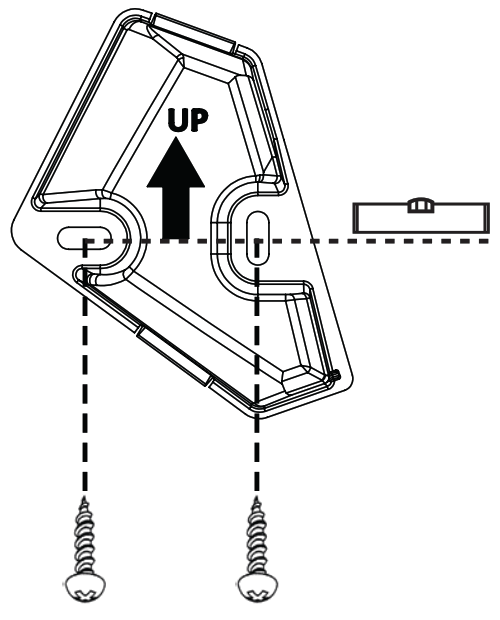
Installing the bracket
- Install the bracket with screws to the wall

- Snap the branch on the bracket

General information
Power source Rechargeable battery (800 mAh)
Input DC 5V
500 mA
USB cable included
Light 7 color LED
Charging time 2 hours
Operating time 10-20 hours
Made in China
Safety information
-Read these user-instructions before using the night light. Store this manual for future reference.
– Do not disassemble the product.
– Keer the product away from water. It is intended for indoor use only.
– Clean the nightlight with a soft wet cloth, do not use chemical, corrosion or detergent products.
– Not for use by children under 3 years.
WARNING! ATENCOAO
AMSTERDAM
Manufactured and distributed by: Flow Amsterdam BV
Madridstraat 10
1175 RK Lijnden, the Netherlands
www.flowamsterdam.com
WWW.FLOWAMSTERDAM.COM
Flow Amsterdam BV Madridstraat 10 1175 RK Lijnden, the Netherlands
www.flowamsterdam.com
[email protected]





















