PHILIPS TAPB603 Soundbar Speaker User Manual
Important
Read and understand all instructions before you use your product. If damage is caused by failure to follow instructions, the warranty does not apply
Help and support
For extensive online support, visit www.philips.com/welcome to:
- download the user manual and the quick start guide
- watch video tutorials (available only for selected models)
- find answers to frequently answered questions (FAQs)
- email us a question
- chat with our support representative.
Follow the instructions on the website to select your language, and then enter your product model number.
Alternatively, you can contact Consumer Care in your country. Before you contact, note down the model number and serial number of your product.You can find this information on the back or bottom of your product.
Safety
Risk of electric shock or fire!
- Before you make or change any connections, make sure that all devices are disconnected from the power outlet.
- Never expose the product and accessories to rain or water. Never place liquid containers, such as vases, near the product. If liquids are spilt on or into the product, disconnect it from the power outlet immediately. Contact Consumer Care to have the product checked before use.
- Never place the product and accessories near naked flames or other heat sources, including direct sunlight.
- Never insert objects into the ventilation slots or other openings on the product.
- Where the mains plug or an appliance coupler is used as the disconnect device, the disconnect device shall remain readily operable.
- Battery (battery pack or batteries installed) shall not be exposed to excessive heat such as sunshine, fire or the like.
- Disconnect the product from the power outlet before lightning storms.
- When you disconnect the power cord, always pull the plug, never the cable.
Risk of short circuit or fire!
- For identification and supply ratings, see the type plate at the back or bottom of the product.
- Before you connect the product to the power outlet, ensure that the power voltage matches the value printed on the back or bottom of the product. Never connect the product to the power outlet if the voltage is different.
Risk of injury or damage to this product!
- For wall mounting, this product must be securely attached to the wall in accordance with the installation instructions. Use only the supplied wall mount bracket (if available). Improper wall mounting may result in accident, injury or damage. If you have any query, contact Consumer Care in your country.
- Never place the product or any objects on power cords or on other electrical equipment.
- If the product is transported in temperatures below 5°C, unpack the product and wait until its temperature matches room temperature before connecting it to the power outlet.
- Parts of this product can be made of glass. Handle with care to avoid injury and damage.
Risk of overheating!
- Never install this product in a confined space. Always leave a space of at least four inches around the product for ventilation.
Ensure curtains or other objects never
Care for your product
Use only microfiber cloth to clean the product. cover the ventilation slots on the product.
Risk of contamination!
- Do not mix batteries (old and new or carbon and alkaine, etc.).
- CAUTION: Danger of explosion if batteries are incorrectly replaced. Replace only with the same or equivalent type.
- Remove batteries if they are exhausted or if the remote control is not to be used for a long time.
- Batteries contain chemical substances, they should be disposed of properly.
Risk of swallowing batteries!
- The product/remote control may contain a coin/button type battery, which can be swallowed. Keep the battery out of reach of children at all times! If swallowed, the battery can cause serious injury or death.
Severe internal burns can occur within two hours of ingestion. - If you suspect that a battery has been swallowed or placed inside any part of the body, seek immediate medical attention.
- When you change the batteries, always keep all new and used batteries out of reach of children. Ensure that the battery compartment is completely secure after you replace the battery.
- If the battery compartment cannot be completely secured, discontinue use of the product. Keep out of reach of children and contact the manufacturer.
This is CLASS II apparatus with double insulation, and no protective earth provided. Care for your product
Use only microfiber cloth to clean the product.
Care of the environment
Disposal of your old product and battery
Your product is designed and manufactured with high quality materials and components, which can be recycled and reused.
This symbol on a product means that the product is covered by European Directive 2012/19/EU.
vThis symbol means that the product contains batteries covered by European Directive 2013/56/EU which cannot be disposed of with normal household waste.
Inform yourself about the local separate collection system for electrical and electronic products and batteries. Follow local rules and never dispose of the product and batteries with normal household waste. Correct disposal of old products and batteries helps prevent negative consequences for the environment and human health.
Removing the disposable batteries
To remove the disposable batteries, see battery installation section.
Caution FCC and IC statement for Users (USA and Canada only)
FCC INFORMATION
Warning
- This equipment should be installed an operated with minimum distance 20cm between the radiator & your body.
- Changes or modifications to this unit not expressly approved by the party responsible for compliance could void the user’s authority to operate the equipment. ”
NOTE: This equipment has been tested and found to comply with the limits for a Class B digital device, pursuant to Part 15 of the FCC Rules.These limits are designed to provide reasonable protection against harmful interference in a residential installation.This equipment generates, uses and can radiate radio frequency energy and, if not installed and used in accordance with the instructions, may cause harmful interference to radio communications.
However, there is no guarantee that interference will not occur in a particular installation. If this equipment does cause harmful interference to radio or television reception, which can be determined by turning the equipment off and on, the user is encouraged to try to correct the interference by one or more of the following measures:
- Reorient or relocate the receiving antenna.
- Increase the separation between the equipment and receiver.
- Connect the equipment into an outlet on a circuit different from that to which the receiver is connected.
- Consult the dealer or an experienced radio / TV technician for help.
This device contains licence-exempt transmitter(s)/receiver(s) that comply with Innovation, Science and Economic Development Canada’s licence-exempt RSS(s). Operation is subject to the following two conditions:
- This device may not cause interference.
- This device must accept any interference, including interference that may cause undesired operation of the device.
Compliance
This product complies with the radio interference requirements of the European Community.
Hereby, MMD Hong Kong Holding Limited declares that this product is in compliance with the essential requirements and other relevant provisions of Directive 2014/53/EU.
You can find the Declaration of Conformity on www.p4c.philips.com.
Your Soundbar
Congratulations on your purchase, and welcome to Philips! To fully benefit from the support that Philips offers, register your Soundbar at www.philips.com/welcome.
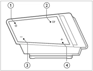
Main unit
This section includes an overview of the main unit.

(Standby-On)
Switch the Soundbar On or to standby.
(Source)
Select an input source for the Soundbar.- – (Volume)
Decrease the volume. - + (Volume)
Increase the volume. - Remote Control Sensor
- Display panel
Wireless subwoofer
This section includes an overview of the Wireless subwoofer
- AC~ Socket
Connect to the power supply. - PAIR button
Press to to enter the pairing mode for the
subwoofer. - Subwoofer indicator
- When the power is turned on, the indicator lights up.
- During wireless pairing between the subwoofer and the main unit, the indicator blinks orange quickly.
- When the pairing succeeds, the indicator lights up orange.
- When the pairing fails, the indicator blinks orange slowly
Remote control
This section includes an overview of the remote control.
(Standby-On)
Switch the Soundbar on or to standby.- Source
Select an input source for the Soundbar
(Previous/Next)
Skip to the previous or next track in USB/ BT mode.
/Pair (Play/Pause)
Start, pause or resume play in USB/BT mode.
Press and hold to activate the pairing function in Bluetooth mode or disconnect the existing paired Bluetooth device.- +/- (Volume)
Increase or decrease volume. - Mute
Mute or restore volume. - Dimmer
Set the brightness of SoundBar display panel.
(Dolby)
Turn the Dolby ON/OFF.- EQ
Select Equalizer (EQ) effect. - Bass
Activate bass setup. - Treble
Activate treble setup.
Connectors
This section includes an overview of the connectors available on your Soundbar.
- AC~
Connect to the power supply. - OPTICAL
Connect to an optical audio output on the
TV or a digital device.
USB- Audio input from a USB storage device.
- Upgrade software of this product.
- AUX
Audio input from, for example, an
MP3 player (3.5mm jack). - HDMI OUT (ARC)
Connect to the HDMI input on the TV. - HDMI 1/ HDMI 2
Connect to the HDMI input on the TV. - Wall bracket slot
Prepare the Remote Control
- The provided Remote Control allows the unit to be operated from a distance.
- Even if the Remote Control is operated within the effective range 19.7 feet (6m), remote control operation may be impossible if there are any obstacles between the unit and the remote control.
- If the Remote Control is operated near other products which generate infrared rays, or if other remote control devices using infra-red rays are used near the unit, it may operate incorrectly. Conversely, the other products may operate incorrectly
First-time use
The unit has a pre-installed lithium CR2025 battery.
Remove the protective tab to activate the remote control battery
Replace the Remote Control Battery
- The remote control requires a CR2025, 3V Lithium battery.
- Push the tab on the side of the battery tray towards the tray.
- Now slide the battery tray out of the remote control.
- Remove the old battery. Place a new
CR2025 battery into the battery tray with the correct polarity (+/-) as indicated. - Slide the battery tray back into the slot in the remote control

Precautions Concerning Batteries
- When the Remote Control is not to be used for a long time (more than a month), remove the battery from the Remote Control to prevent it from leaking.
If the batteries leak, wipe away the leakage inside the battery compartment and replace the batteries with new ones. - Do not use any batteries other than those specified.
- Do not heat or disassemble batteries.
- Never throw them in fire or water.
Do not carry or store batteries with other metallic objects. Doing so could cause batteries to short circuit, leak or explode. - Never recharge a battery unless it is confirmed to be a rechargeable type.
Placement
Place the subwoofer at least 1 meter (3 feet) away from your Soundbar, and ten centimeters away from the wall.
For best results, place your subwoofer as shown below.
Connect
This section helps you connect your Soundbar to aTV and other devices, and then set it up. For information about the basic connections of your Soundbar and accessories, see the quick start guide.
Note
- For identification and supply ratings, see the type plate at the back or bottom of the product.
- Before you make or change any connections, make sure that all devices are disconnected from the power outlet.
Dolby Atmos®
Dolby Atmos gives you amazing experience you have never heard before by overhead sound, and all the richness, clarity, and power of Dolby sound.
For using DolbyAtmos®
Dolby Atmos® is available only in HDMI mode. For the details of the connection, please refer to “HDMI Connection”.
- To use Dolby Atmos® in HDMI 1 /HDMI 2 / HDMI ARC mode, your TV has to support Dolby Atmos®.
- Make sure that “No Encoding” is selected for bitstream in the digital audio output of the connected external device (e.g. Blu-ray DVD player,TV etc.).
- While entering Dolby Atmos / Dolby Digital / PCM format, the soundbar will show DOLBY ATMOS / DOLBY AUDIO / PCM AUDIO.
Note
- The full Dolby Atmos experience is only available when the Soundbar is connected to the source via a HDMI 2.0 cable.
- The Soundbar will still function when connected via other methods (such as a Digital Optical cable) but these are unable to support all of the Dolby features. Given this, our recommendation is to connect via HDMI, in order to ensure full Dolby support.
Connect to HDMI (ARC) Socket
Some 4K HDRTVs require the HDMI input or picture settings to be set for HDR content reception. For further setup details on HDR display, please refer to the instruction manual of yourTV.
Option 1:ARC (Audio Return Channel)
Your Soundbar supports HDMI with Audio Return Channel (ARC). If your TV is HDMI ARC compliant, you can hear the TV audio through your Soundbar by using a single HDMI cable.
- Using a High Speed HDMI cable, connect the HDMI OUT (ARC)-TO TV connector on your Soundbar to the HDMI ARC connector on theTV.
- The HDMI ARC connector on the TV might be labeled differently. For details, see theTV user manual.
- On yourTV, turn on HDMI-CEC operations.
For details,see theTV user manual.
Note
- Your TV must support the HDMI-CEC and ARC function. HDMI-CEC and ARC must be set to On.
- The setting method of HDMI-CEC and ARC may differ depending on the TV. For details about ARC function, please refer to your TV owner’s manual.
- Only HDMI 1.4 compatible cables can support the ARC function.
Option 2: Standard HDMI
If yourTV is not HDMI ARC-compliant, connect your soundbar to theTV through a standard HDMI connection.
- Use an HDMI cable (included) to connect the soundbar’s HDMI OUT socket to the TV’s HDMI IN socket.
- Use an HDMI cable (included) to connect the soundbar’s HDMI IN (1 or 2) socket to your external devices (e.g. games consoles, DVD players and blu ray).
Connect to Optical Socket
- Using an optical cable, connect the OPTICAL connector on your Soundbar to the OPTICAL OUT connector on the TV or other device.
- The digital optical connector might be labeled SPDIF or SPDIF OUT.
Connect to AUX Socket
- Use a 3.5mm to 3.5mm audio cable (included) to connect the TV’s headphone socket to the AUX socket on the unit.


- Use a RCA to 3.5mm audio cable (not included) to connect theTV’s audio output sockets to the AUX socket on the unit.
Connect to Power
- Before connecting the AC power cord, ensure you have completed all other connections.
- Risk of product damage! Ensure that the power supply voltage corresponds to the voltage printed on the back or the underside of the unit.
- Connect the mains cable to the AC~ Socket of the unit and then into a mains socket
- Connect the mains cable to the AC~ Socket of the subwoofer and then into a mains socket.
* Power cord quantity and plug type vary by regions.
Pair up with the subwoofer
Automatic Pairing
Plug the Soundbar and the subwoofer into the mains sockets and then press on the unit or remote control to switch the unit to On mode.
The subwoofer and Soundbar will automatically pair.
- When the subwoofer is pairing with the Soundbar, the Pair indicator on the subwoofer will flash fast.
- When the subwoofer is paired with the Soundbar, the Pair indicator on the subwoofer will light up steadily.
- Do not press Pair on the rear of the subwoofer, except for manual pairing

Manual Pairing
If no audio from the wireless subwoofer can be heard, manually pair up the subwoofer.
- Unplug both units from the mains sockets again,then plug them in again after 3 minutes.
- Press and hold the PAIR button on the rear of the subwoofer for a few seconds.
» The Pair indicator on the subwoofer will rapidly blink. - Then press on the unit or remote control to switch the unit ON.
» The Pair indicator on the subwoofer will become solid when successful. - If the Pair indicator still keeps blinking, repeat step 1-3.
Tips
- The subwoofer should be within 6 m of the Soundbar in an open area (the closer the better).
- Remove any objects between the subwoofer and the Soundbar.
- If the wireless connection fails again, check if there is a conflict or strong interference (e. g. interference from an electronic device) around the location. Remove these conflicts or strong interferences and repeat the above procedures.
- If the main unit is not connected with the subwoofer and it is in ON mode, the word “CHECK SUBWOOFER” will show on the display and the Pair Indicator on the subwoofer will blink slowly
Use your Soundbar
This section helps you use the Soundbar to play audio from connected devices.
Before you start
- Make the necessary connections described in the quick start guide and the user manual.
- Switch the Soundbar to the correct source for other devices.
Turn ON and OFF
- When you first connect the unit to the main socket, the unit will be in STANDBY mode.The STANDBY indicator will light up white.
- Press the button on the remote control to switch the main unit ON or OFF.
- Disconnect the main plug from the main socket if you want to switch the unit off completely.
- If aTV or an external device (Only for AUX socket) is connected, the unit will switch on automatically when theTV or the external device is switched on.
Auto Standby
The unit automatically turns to Standby mode after about 15 minutes if theTV or the external unit is disconnected, switched off.
- To switch the unit off completely, remove the mains plug from the mains socket.
- Please turn the unit off completely to save energy when not in use.
Select Modes
- Press the button repeatedly on the unit or press the Source button on the remote control to select the AUX, OPTICAL, HDMI ARC, HDMI 1, HDMI 2, BT, USB mode.
» The selected mode will show on the display
Adjust theVolume
Press Vol+/Vol- (Volume) to increase or decrease a volume level.
- To mute sound, press Mute.
- To restore the sound, press Mute again or press Vol+/Vol- (Volume).
Select Equalizer (EQ) Effect
Select predefined sound modes to suit your video or music.
- Press the EQ button on the remote control to select your desired preset equalizer effects: Movie/Music/News:
- Movie – for viewing movies
- Music – for listening to music
- News – for listening to news
Adjust the Bass/Treble Level
Adjust the Bass Level
- Press the Bass button on the remote control to activate bass level setting.
» The display will show BASS. - Press the Vol+/Vol– button repeatedly to adjust the bass level.
» bass + 5 / bass – 5
Adjust the Treble Level
- Press the Treble button on the remote control to activate treble level setting.
» The display will show TREB. - Press the Vol+/Vol– button repeatedly to adjust the treble level.
» treble +5 / treble –5
Adjust the Center Sound
- Press and hold the Treble button on the remote control to activate center sound level setting.
» The display will show CEN . - Press the Vol+/Vol– button repeatedly to adjust the center sound level.
Tip
After about 5 seconds, the unit will exit from bass/Center/treble setting.
- The display will show the current selected mode.
- You may now press the Vol+/Vol– button to adjust volume.
Dolby sound mode
Experience an immersive audio experience with Dolby sound modes.
- Press
button on the remote control to turn Dolby mode on or off.- On: Create a Dolby listening experience.
- Off: Two-channel stereo sound. Ideal for listening to music.
In the non-HDMI1, HDMI2, ARC state, press
this button, the unit‘s display will scroll to display the “NOT SUPPORTED IN THIS SOURCE”.
Set display brightness
You can press Dimmer repeatedly to select a different brightness level of the display panel on this product.
Bluetooth Operation
Through Bluetooth, connect the Soundbar with your Bluetooth device (such as an iPad, iPhone, iPod touch, Android phone, or laptop), and then you can listen to the audio files stored on the device through your Soundbar speakers.
What you need
- A Bluetooth device which supports Bluetooth profile A2DP,AVRCP and with Bluetooth version as 4.2 + EDR.
- The maximum operational range between the Soundbar and a Bluetooth device is approximately 10 meters (30 feet).
- Press the
button repeatedly on the unit or press the Source button on the remote control to switch the Soundbar to Bluetooth mode.
» NO BT is displayed on the display panel. - On the Bluetooth device, switch on Bluetooth, search for and select PHILIPS TAPB603 to start connection (see the user manual of the Bluetooth device on how to enable Bluetooth).
- Wait until you hear the voice prompt from the Soundbar.
» If the successfully connected, BT is displayed on the display panel. - Select and play audio files or music on your Bluetooth device.
- During play, if a call is coming, music play is paused. Play resumes when the call ends.
- If your Bluetooth device supports AVRCP profile, on the remote control you can press
to skip to a track, or press
Pair to pause/ resume play.
- To exit Bluetooth, select other source.
When your switch back to Bluetooth mode, Bluetooth connection remains active.
Note
- The music streaming may be interrupted by obstacles between the device and Soundbar, such as wall, metallic casing that covers the device, or other devices nearby that operate in the same frequency.
- If you want to connect your Soundbar with another Bluetooth device, press and hold
Pair on the remote control to disconnect the currently connected Bluetooth device
AUX / OPTICAL / HDMI
Operation
Ensure that the unit is connected to theTV or audio device.
- Press the
button repeatedly on the unit or press the Source button on the remote control to select the AUX, OPTICAL, HDMI ARC, HDMI 1, HDMI 2 mode. - Operate your audio device directly for playback features.
- Press the VOL +/– buttons to adjust the volume to your desired level.
Tip
- While in OPTICAL/HDMI ARC mode, if there’s no sound output from the unit and the status Indicator flashes, you may need to activate PCM or Dolby Digital Signal output on your source device (e.g.TV, DVD or Blu-ray player).
- The unit may not be able to decode all digital audio formats from the input source. In this case, the unit will mute.This is NOT a defect. Ensure that the audio setting of the input source (e.g.TV, game console, DVD player, etc.) is set to PCM or Dolby Digital (Refer to the user manual of the input source device for its audio setting details) with HDMI 1 / HDMI 2 / HDMI ARC / optical input.
- In HDMI mode, when the DOLBY ATMOS audio format is entered, the Soundbar display shows DOLBY ATMOS.
- When the DOLBY DIGITAL audio format is entered, the Soundbar display shows DOLBY AUDIO.
- When the PCM audio format is entered, the Soundbar display shows PCM AUDIO.
- When entering non-PCM or DOLBY DIGITAL audio formats, if there’s no sound output from the unit and the display show NO SUPPORT.
USB Operation
Enjoy audio on a USB storage device, such as an MP3 player and USB flash memory, etc.
- Insert the USB device.
- Press the button repeatedly on the unit or press the Source button on the remote control to select the USB mode.
- During playback:
Start, pause or resume play.
/ Skip to the previous or next track.
Tips
- The unit can support USB devices with up to 32 GB of memory.
- This unit can play MP3.
- Support a USB port: 5V , 500mA.
Wall mount
Note
- Improper wall mounting may result in accident, injury or damage. If you have any query, contact Consumer Care in your country.
- Before wall mounting, make sure the wall can support the weight of your Soundbar.
- Before wall mount, you need not remove the four rubber feet at the bottom of the Soundbar, otherwise the rubber feet cannot be fixed back.
Screw length/diameter
Depending on the type of wall mounting your Soundbar, make sure that you use screws of a suitable length and diameter.
See the illustration in the quick start guide on how to wall mount the Soundbar.
- Drill two holes on the wall.
- Secure the dowels and screws in the holes.
- Hang the Soundbar on the fastening screws.
Product specifications
Note
- Specifications and design are subject to change without notice.
Bluetooth /Wireless
- Bluetooth profiles: A2DP, AVRCP
- Bluetooth version: 4.2 + EDR
- Frequency band/Output power: 2402 MHz ~ 2480 MHz / ≤ 2dBm
- 5.8G wireless frequency range: 5730 MHz ~ 5845 MHz
- 5.8G wireless maximum power: 6dBm
Main unit
- Power Supply: 100-240V~ 50/60Hz
- MAX Output Power by speaker: 25W x 4 + 50W x 2
- Power Consumption: 25W
- Standby Consumption: < 0.5W
- USB: 5V 500mA
- Frequency Response: 120Hz – 20KHz
- Audio input Sensitivity (AUX): 500mV
- Speakers Impedance: 8Ω x 2 + 4Ω
- Dimension (W x H x D ): 950 x 75 x 134 mm
- Weight: 3.2 kg
- Operating temperature: 0°C – 45°C
Subwoofer
- Power Supply: 100-240V~, 50-60 Hz
- Output Power: 120W
- Power Consumption: 20W
- Standby power consumption: < 0.5W
- Frequency Response: 40Hz – 120Hz
- Impedance: 3 Ω
- Dimensions (W x H x D): 150 x 412 x 310 mm
- Weight: 5.7 kg
- Operating temperature: 0°C – 45°C
Remote control
- Distance/Angle: 6m/30°
- BatteryType: CR2025
SupportedAudio formats
- HDMI ARC
Dolby Digital, Dolby Digital plus, LPCM 2ch, Dolby Atmos® - HDMI IN1/ HDMI IN2
Dolby Digital, Dolby Digital plus, Dolby True HD, Dolby Atmos®
, LPCM 2ch - OPTICAL
Dolby Digital, Dolby Digital plus, LPCM 2ch - BLUETOOTH
SBC - USB
MP3, WAV, WMA
Troubleshooting
Warning
Risk of electric shock. Never remove the casing of the product.
To keep the warranty valid, never try to repair the product yourself.
If you have problems using this product, check the following points before you request service.
If you still have a problem, get support at www.philips.com/welcome.
No power
- Ensure that the AC cord is properly connected.
- Ensure that there is power at the AC outlet
- Press standby button on the remote control or Soundbar to turn the Soundbar on.
No sound
- Increase the volume. Press Volume Up on the remote control or on the Soundbar.
- Press MUTE on the remote control to ensure the Soundbar is not muted.
- Press source buttons to select a different input source.
- When using either of the Digital input, if there is no audio:
- Try setting theTV output to PCM or
- Connect directly to your Blu-ray/other source, some TVs do not pass through digital audio.
- Your TV may be set to variable audio output. Confirm that the audio output setting is set to FIXED or STANDARD, not VARIABLE. Consult your TV’s user manual for more detailed information.
- If using Bluetooth, ensure that the volume on your source device is turned up and that the device is not muted.
Remote control does not work
- Before you press any playback control button, first select the correct source.
- Reduce the distance between the remote control and the unit.
- Insert the battery with its polarities (+/-) aligned as indicated.
- Replace the battery.
- Aim the remote control directly at the sensor on the front of the unit.
I can’t find the Bluetooth name of this
unit on my Bluetooth device
- Ensure the Bluetooth function is activated on your Bluetooth device.
- Re-pair the unit with your Bluetooth device.
This is a 15 mins power off function, one of the ERPII standard requirement for saving power
- When the unit’s external input signal level is too low, the unit will be turned off automatically in 15 minutes. Please increase the volume level of your external device.
The subwoofer is idle or the indicator of subwoofer do not light up
- Please unplug power cord from the mains sockect, and plug it in again after 3 minutes to resent the subwoofer.
The Bluetooth® word mark and logos are registered trademarks owned by Bluetooth SIG, Inc.

The terms HDMI, HDMI High-Definition Multimedia Interface, and the HDMI Logo are trademarks or registered trademarks of HDMI Licensing Administrator, Inc.
Manufactured under license from Dolby Laboratories. Dolby, Dolby Atmos, Dolby Audio and the double-D symbol are trademarks of Dolby Laboratories.
Specifications are subject to change without notice.
Philips and Philips Shield Emblem are registered trademarks of Koninklijke Philips N.V. and are used under license.This product has been manufactured by and is sold under the responsibility of MMD Hong Kong Holding Limited. or one of its affiliates, and MMD Hong Kong Holding Limited. is the warrantor in relation to this product.























